青岛垚鑫智能科技有限公司
宣传

位置:中冶有色 >

有色技术频道 >

> 加工技术

分类:
全部
矿山技术
冶金技术
材料制备及加工技术
环境保护技术
分析检测技术
 
全部
功能材料技术
复合材料技术
新能源材料技术
合金材料技术
加工技术
地区:
全部
北京
天津
上海
重庆
河北
山西
辽宁
吉林
黑龙江
江苏
浙江
安徽
福建
江西
山东
河南
湖北
湖南
广东
海南
四川
贵州
云南
陕西
甘肃
青海
内蒙
广西
西藏
宁夏
新疆
其他
其他
展开
 
全部
南京
无锡
徐州
常州
苏州
南通
连云港
淮安
盐城
扬州
镇江
泰州
宿迁

江苏泰州有色金属加工技术理论与应用

免费发布技术信息>>
双草酸硼酸锂的生产工艺

本发明公开了一种双草酸硼酸锂的生产工艺,包括以下步骤:步骤S101:准备原料,备料,准备适当的草酸和硼酸,有机溶剂A配料,准备制备容器;步骤S102:制备有机溶剂A,将一定量氢氧化锂溶于水制成饱和溶液;步骤S103:在制备容器中将一定量草酸和硼酸溶于步骤S102制备的有机溶剂A;步骤S104:将含草酸和硼酸的有机溶剂A回流带水2小时;步骤S105:对步骤S104中形成的混合液然后加入氢氧化锂溶液,回流带水3小时;步骤S106:向步骤S105中反应溶液中加入有机溶剂B。本发明将滤液精馏分离,将产生的溶剂回用,从而便于工业化生产,经济环保;本发明过程简单,周期短,只需一次提纯即可得到纯度为95%‑98.5%的产品,且产率高,对设备无特殊要求,适合工业化生产,经济环保。

标签:
加工技术
江苏 - 泰州 来源:中冶有色网 2023-03-18
锂电池隔膜涂覆用芳纶组合物

本发明公开了:一种锂电池隔膜涂覆用芳纶组合物及其制备方法,主要包括如下组分:芳纶纤维、粘接剂、溶剂、乳化剂,所述粘接剂的质量用量为芳纶纤维质量的2‑10%;所述粘接剂的质量用量为所述溶剂质量的4‑30%;所述粘接剂的质量用量为所述乳化剂的2‑10%;所述芳纶纤维为对位芳纶与间位芳纶中的至少一种;所述粘接剂为PVDF或PTFE中的至少一种;所述溶剂为NMP、DMAC或丙酮中的至少一种;所述乳化剂为聚丙烯酸钠或聚丙烯酸酯中的至少一种。本发明提供一种新的锂电池隔膜涂覆用芳纶组合物,使用该组合物涂覆于隔膜上时具有降低成本、增强透气性的优点。

标签:
加工技术
江苏 - 泰州 来源:中冶有色网 2023-03-18
锂电池材料的除铁设备

本实用新型公开了一种锂电池材料的除铁设备,涉及锂电池材料处理技术领域,本实用新型包括移动装置、支撑装置、进出装置、上部装置以及下部装置,移动装置包括移动轴承,支撑装置包括移动柱以及箱体,移动轴承与移动柱焊接,进出装置包括进料口,箱体上表面设有圆形安装槽,进料口安装于圆形安装槽内,上部装置包括螺旋杆,箱体两侧表面均设有旋转孔,螺旋杆与旋转孔旋转配合,下部装置包括震动筛,箱体内部设有矩形安装槽,震动筛安装于矩形安装槽内。本实用新型一种锂电池材料的除铁设备,车轮的转动能够带动整个装置移动,移动轴承的转动能够改变整个装置的移动方向,上部装置能够进行一次除铁,下部装置能够进行二次除铁。

标签:
加工技术
江苏 - 泰州 来源:中冶有色网 2023-03-18
锂电池高效散热装置
锂电池高效散热装置 1208     
 0

本实用新型涉及一种锂电池高效散热装置,包括:电池机箱,电池BMS,还包括:复合材料装置,金属材料装置;所述电池BMS在电池机箱上方,所述复合材料装置在金属材料装置上方。与现有技术相比,保证了电池内部锂电芯、BMS元器件较低的工作温度,降低析锂风险,改善电池性能一致性、循环寿命和安全性能。

标签:
加工技术
江苏 - 泰州 来源:中冶有色网 2023-03-18
散碎锂颗粒整合装置
散碎锂颗粒整合装置 835     
 0

本实用新型公开一种散碎锂颗粒整合装置,包括液化装置、盖板装置和收集装置,所述液化装置上设置有装置主体、液化罐、注液口、托板、控制器、圆弧顶、收集通道和感应电路;盖板装置上设置有盖板、连杆、长圆槽、第一固定销、支撑座、推杆连接销、电子推杆、推杆旋转销和推杆固定座;收集装置上设置有收集皿、细长管道、冷却装置、冷却管道和成品收集皿。本实用新型结构简单,方便使用,造价低廉,通过设置在细长管道上的冷却装置可以使得液态锂在进入成品收集皿之前能够有效的降温,从而保证收集完成的锂为合适的状态。

标签:
加工技术
江苏 - 泰州 来源:中冶有色网 2023-03-18
铁锂电池一体化电源系统

本实用新型涉及一种电源,具体涉及一种铁锂电池一体化电源系统,包括开关电源和与其连接的铁锂电池组,所述开关电源内设有充电模块,所述铁锂电池组连接有逆变器。本实用新型可以满足直流和交流两种方式为负载不间断供电,且采用模块化结构,结构简单,便于安装和维护。

标签:
加工技术
江苏 - 泰州 来源:中冶有色网 2023-03-18
锂离子电池化成方法
锂离子电池化成方法 811     
 0

本发明提供了一种锂离子电池化成方法,所述锂离子电池经过本发明提供的化成方法后能够在高温环境下存储较长时间,并且高温循环性较好,所述方法包括注入第一电解液,然后在较高电位的范围内进行预化成,排气后注入第二电解液,然后再进行全电压范围内的充放电循环,能够有效的缓解电极极化导致的电解液的分解情况,形成较好的SEI膜,并且多次恒压稳定充电有利于SEI膜密度的提高,增强电池的稳定性。

标签:
加工技术
江苏 - 泰州 来源:中冶有色网 2023-03-18
锂电池双极组极耳折弯装置及折弯方法

本发明公开一种锂离子电池双极组极耳折弯装置,它限位折弯挡板通过滑轨在轨道内滑行来调节极组放置空间的距离,限位折弯挡板根据极耳折弯处到极组底部的长度来移动限位折弯挡板,从而使极耳折弯处到极组底部的长度与极耳放置空间的距离相对应。本发明还公开了一种锂离子电池双极组极耳折弯装置的折弯方法,调至与极耳折弯处到极组底部的距离相同;然后微调极耳与上折弯钢片(4)与下折弯钢片(5)的位置,使上下折弯钢片处于极耳折弯处;将盖板内限位折弯钢片(12)插入上盖与连接片之间,使钢片与极柱卡紧;沿着水平方向向内推电池上盖,使极耳与盖板连接片成S形。

标签:
加工技术
江苏 - 泰州 来源:中冶有色网 2023-03-18
热固性塑料及其制造方法及由该塑料制成的动力锂电池组壳体

本发明涉及热固性塑料及其制造方法及由该塑料制成的动力锂电池组壳体,热固性塑料包括基体、填料、增强材料和助剂,基体采用热固性树脂,包括不饱和聚酯树脂、乙烯基酯树脂;填料采用无机非金属填料,包括硅灰石、重晶石。制造方法包括:(1)高速分散;(2)搅拌混合、捏合、浸渍;(3)固化成型。壳体包括盖板和底座,底座由底板和侧边框构成,底板和侧边框连接成整体结构,盖板与底座之间设为分体结构,盖板与底座连接。本发明特性:1、热变形温度超过250℃,高于锂化物的反应温度;2、阻燃耐高温,过火不坍塌;3、有效抵抗电池短路的火花放电;4、通过不同填料搭配,兼具绝缘性和导热性,方便电池组设计;使用安全、可靠。

标签:
加工技术
江苏 - 泰州 来源:中冶有色网 2023-03-18
功率型锂离子电池电芯制作方法

本发明公开了一种功率型锂离子电池电芯制作方法,将正负极活性物质分别涂覆在正负极集流体单面形成正负极极卷,极卷经辊压分切后,制成正负极极片,正负极极片留有多个极耳。正负极极片覆有活性物质的一面相对,中间夹一层隔膜,S形折叠后正负极多极耳分别重合,最后用胶纸将折叠而成的半成品电池四角固定。该方法工艺性好、生产效率高,生产的电芯一致性高,内阻低,尤其适用于功率型锂离子电池生产制作。

标签:
加工技术
江苏 - 泰州 来源:中冶有色网 2023-03-18
聚合物锂离子动力电池制作方法

本发明公开了一种聚合物锂离子动力电池制作方法,采用铝腐蚀箔作为正极集流体,铜箔作为负极集流体,正、负极集流体的两面预先分别喷涂一层正、负极导电碳层浆料,再分别涂敷正、负极活性浆料,电解质注入后采用电磁感应加热引发现场聚合。本发明用于制作作为电动汽车动力电池的聚合物锂离子动力电池,能提高原材料利用率,降低电池成本,减小活性物质与集流体间的内阻,降低电池温升,提高电池寿命和安全性,而且电磁感应聚合方式加热均匀,速度快,使电池性能和一致性得到很大提高。

标签:
加工技术
江苏 - 泰州 来源:中冶有色网 2023-03-18
微电阻圆柱锂离子电池防爆盖帽

本发明涉及一种微电阻圆柱锂离子电池防爆盖帽,包括上盖帽、垫片、带墙体的防爆膜、孔板和密封圈,上盖帽上设有多个气孔,防爆膜的墙体折弯将垫片和上盖帽包裹在防爆膜腔体内,上述包裹后的防爆膜嵌入涂有胶的密封圈内,密封圈的底面嵌上孔板,孔板与防爆膜激光点焊,所述防爆膜的底面上设有向下凸起的圆形焊接平台,圆形焊接平台与防爆膜底面之间形成预应泄压环;配合垫片内沿尖锐刺状翻边切割预应泄压环、上盖帽帽沿翻边和帽沿上凸起焊点与防爆膜折弯墙体紧密焊接,实现防爆膜翻转爆开和盖帽整体内阻的降低,其结构简单、紧凑、稳定,不易变形、错位,盖帽内阻低,电池性能高,防爆膜翻转后能正常爆开泄压,防爆性能稳定,使用寿命长。

标签:
加工技术
江苏 - 泰州 来源:中冶有色网 2023-03-18
基于锂电池的分体式止转自紧极柱

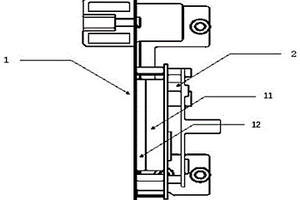
本实用新型公开了一种基于锂电池的分体式止转自紧极柱,具体涉及锂电池极柱技术领域,包括止转自紧槽导电平台,所述止转自紧槽导电平台的中部开设有过渡槽,所述过渡槽的内壁底部开设有多个止转自紧槽,止转自紧齿柱主体,所述止转自紧齿柱主体的底部设置有与过渡槽相匹配的圆形承台。本实用新型通过各个结构的相应配合,止转止转自紧槽导电平台通过过渡槽与圆形承台贴合在一起时,能够通过止转自紧齿与止转自紧槽形成均匀咬合力以达到极柱止转、防松动效果,同时经过止转自紧齿与止转自紧槽的圆周分布设计的,封装过程齿槽契合度高,能促进铆合压力的均匀分布,在均匀铆合力的作用下,提升了材料密封性能,极大的降低了漏液风险。

标签:
加工技术
江苏 - 泰州 来源:中冶有色网 2023-03-18
锂电池原料加工设备用可拆卸式楼梯

本实用新型公开了一种锂电池原料加工设备用可拆卸式楼梯,包括固定杆和连接杆,所述连接杆的底端贯穿有固定杆,并且连接杆延伸至固定杆内腔的表面开设有圆孔,所述固定杆的一侧贯穿有与圆孔相配合使用的螺钉,并且螺钉的一端贯穿固定杆并延伸至固定杆的外部,本实用新型涉及锂电池加工设备技术领域。该锂电池原料加工设备用可拆卸式楼梯,安全可靠,大大的方便了使用者的使用,适用于更多的地方,节约了使用者的时间,使得该装置具有很好的调节功能,大大的提高了该装置的效率,实用可靠,使得该装置具有很好的拆卸效果,保证了使用者的安全,方便快捷,使得该装置具有很好的稳定性和具有很好的便捷性。

标签:
加工技术
江苏 - 泰州 来源:中冶有色网 2023-03-18
可均匀加热的锂电池模组加热膜组件

本实用新型属于锂电池模组技术领域,公开了一种可均匀加热的锂电池模组加热膜组件,包括机体,所述机体的一侧表壁安装有开关,所述机体的内壁一侧对称安装有两个滑轨,所述机体的内部设置有两个齿条,两个所述齿条的底部均开设有滑槽,所述滑槽与滑轨滑动连接,两个所述齿条的一侧表壁均安装有固定件,本实用新型设置了电动机,通过电动机的带动可以实现将装载有风扇和加热块的齿条进行切换,满足锂电池模组的使用需要,设置的加热块内部设置有可以发热的电热丝,通过电热丝的热量传递给导热硅胶膜,可以实现对电池组两侧的加热,满足等待中的电池组对热量的需求。

标签:
加工技术
江苏 - 泰州 来源:中冶有色网 2023-03-18
锂电池注液及化成抽真空一体化装置

本实用新型公开了一种锂电池注液及化成抽真空一体化装置,主要由双排式注液和抽真空管路、双开活塞、导管和程控部分构成,所述双开活塞有4~8只,并连在相互独立的注液管路和抽真空管路上。本实用新型用于软包装锂离子电池注液及化成抽真空,可自动操作,能简化工序,避免电解液直接接触空气,减少水分对电池性能的影响,同时化成抽真空,可彻底排出电池内部充电过程产生的气体,消除绝缘区域,提高电池的容量及提升电池的循环寿命。

标签:
加工技术
江苏 - 泰州 来源:中冶有色网 2023-03-18
锂电池电池盒耐高温结构

本实用新型公开了一种锂电池电池盒耐高温结构,包括安装盒,所述安装盒的上方铰接有封盖,所述安装盒上设置有散热结构,所述散热结构包括微型风机、通风管、进气孔和第一散热孔,所述微型风机固定连接在安装盒的外侧壁上,所述安装盒的正面开设有凹槽,所述通风管固定安装在凹槽的内部,所述通风管与微型风机固定连接,所述凹槽均布有连通所述通风管与安装盒内部的所述进气孔,所述第一散热孔设置有多个,多个所述第一散热孔均匀的开设在安装盒内部的底端,本实用新型通过设置散热结构,能够对锂电池进行散热降温处理。

标签:
加工技术
江苏 - 泰州 来源:中冶有色网 2023-03-18
便携式集成锂电及UPS系统的箱体

本实用新型公开了一种便携式集成锂电及UPS系统的箱体,它包括盖、铰链、底箱、内衬和箱体。所述底箱面板上设有竖置的伸缩拉杆,两底角处设有滚轮,两侧板外壁由上而下依次对称配置折叠把手和贯穿箱壁的散热窗,底箱的底板上仅设贯穿箱壁的散热窗。本实用新型的箱体用于安置锂电及UPS系统,由于箱体设置了伸缩拉杆和滚轮,箱体滚动结构可直接改善移动状态,手牵伸缩拉杆可便捷地实现箱体内装的备用电源按需移动。

标签:
加工技术
江苏 - 泰州 来源:中冶有色网 2023-03-18
锂电池预封装快速定位装置

本实用新型公开了一种锂电池预封装快速定位装置,包含一固定底板,所述的固定底板上设有一对平行设置的贯穿的调节槽口,所述的固定底板的头部两侧分别设有一调节螺孔,所述的固定底板的头部两侧分别设有一调节脚条,所述的调节脚条的顶部分别设有一脚条圆孔,所述的脚条圆孔与所述的调节螺孔分别通过一调节螺钉相连接,所述的固定底板上设有一可分离的定位横条,所述的定位横条上设有一对定位圆孔,所述的固定底板上设有一可分离的固定模架。使用者直接将需要封装的锂电池包整齐地摆放到模架主体上,然后将整个固定模架放置到固定底板上并紧靠定位横条。然后,启动封装机,快速对固定模架上的锂电池进行封装,一次性完成多个锂电池的封装作业。

标签:
加工技术
江苏 - 泰州 来源:中冶有色网 2023-03-18
高倍率钴酸锂的制备方法

本发明公开了一种高倍率钴酸锂的制备方法,包括以下步骤:合成钴酸锂一次品,一次烧结,粉碎并控制目标粒径为D50:4um‑6um;将粉碎产物采用包覆材料进行包覆,二次烧结,烧结后的材料经粉碎、分级、除磁得到目标产物。本发明公开的方法通过控制单晶颗粒尺寸加以金属元素痕量掺杂来提高材料的倍率性能。利用磷酸盐对材料颗粒表面进行改性,一方面中和材料表面的残余锂,降低了材料的表面残碱含量;另一方面隔绝活性颗粒与电解液直接接触,提高了全电池的安全性能。同时本方法与产线传统方法相比改动较小,适合于快速产业化。

标签:
加工技术
江苏 - 泰州 来源:中冶有色网 2023-03-18
硬壳锂离子电池组串并联切换的PACK方法

本发明公开了一种硬壳锂离子电池组串并联切换的PACK方法,它按下列步骤进行:a、一组为偶数同规格的硬壳锂离子电池分两行排列;b、电池组运行前,将两行排列的硬壳锂离子池用带绝缘把手的导线板作并联连接,便于组内各单体电池主动均衡调节电压及荷电状态;c、运行前,先切断外部电路;d、将原并联的电池组切换成串联连接,电池组在串联状态下正常运行。本方法应用刀闸式开关作切换,切换操作容易、快捷。电池组经过并连阶段,有利于电压偏高的单体电池主动给电压偏低的单体电池充电,从而实现组内各单体电池均衡的目的。

标签:
加工技术
江苏 - 泰州 来源:中冶有色网 2023-03-18
锂电池极片与隔膜波浪边检测装置

本实用新型属于锂电池生产制造领域,具体涉及锂电池极片与隔膜波浪边检测装置。包括底座,检测台,待测样品,张力调节部,波幅检测部和波长检测部。张力调节部包括夹板,导辊,阔口夹和砝码。波幅检测部包括第一检测部和镜像对称的第二检测部,所述第一检测部包括横导轨,竖支架,微距镜头和透明竖尺。波长检测部包括标尺,L形板和广角镜头。通过挂各类砝码,调节待测样品的张力,然后利用波幅检测部和波长检测部分别检测波浪边的波幅与波长,并通过多种优选方案提高检测的精确度。通过以上技术方案,解决了极片与隔膜波浪边超出工艺范围会影响锂电池性能,需要简易可靠检测装置及时检测波浪边波长与波幅的问题。

标签:
加工技术
江苏 - 泰州 来源:中冶有色网 2023-03-18
电动自行车锂电池组防雨底座

本实用新型公开了一种电动自行车锂电池组防雨底座,由锂电池组外壳底板和设在安装用导轨下端的导轨底板构成,所述导轨底板设在外壳底板下端面的凹腔内,并且两底板相邻面的周边分别设有相互靠紧的条状凸起。当锂电池组通过导轨安装在电动自行车上后,本实用新型提供的防雨底座能对雨水起到双重阻隔防渗作用,保护电池外壳内部的电子元器件不受损坏,以提高锂电池组的安全可靠性和使用寿命。

标签:
加工技术
江苏 - 泰州 来源:中冶有色网 2023-03-18
高安全储能锂离子电池预制舱系统

本实用新型涉及一种高安全储能锂离子电池预制舱系统,包括:预制舱、若干电池簇、机架、BMS系统、温度传感器;所述预制舱设置有故障电池排出口;所述电池簇由若干电池模块组成;所述电池模块内集成有电动控制装置;所述电池簇安装于所述机架内;所述电池模块尾部与所述机架通过快插连接;所述快插与BMS系统相连接;所述温度传感器与所述BMS系统连接;所述机架安装于所述预制舱内;所述机架与所述电池簇的接触面为倾斜面并设置有滚轮。本实用新型所述的一种高安全储能锂离子电池预制舱系统,可提升储能锂离子电池预制舱整体安全性能,大大降低预制舱整体发生火灾的可能性。

标签:
加工技术
江苏 - 泰州 来源:中冶有色网 2023-03-18
锂电池糊状电解液注入装置

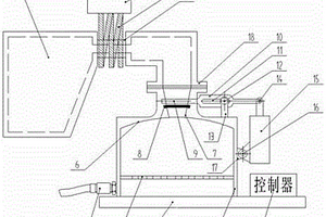
本实用新型公开了一种锂电池糊状电解液注入装置,包括一底座、一立杆和一电机,所述的锂电池糊状电解液注入装置还包括一漏斗、一转盘和一个以上的周转盘;所述的立杆与所述的底座相互垂直连接,所述的漏斗与所述的立杆的中部相连接,所述的电机与所述的立杆的上端相连接,所述的电机包括一转轴,所述的转轴竖直布置且与所述的漏斗同轴布置;所述的转轴的端部安装有两个刮板,所述的刮板贴近所述的漏斗的内表面布置;所述的转盘为盘形结构,其底部的中心设置有一连接轴。本实用新型的锂电池糊状电解液注入装置的优点是:带有转盘和周转盘,能够较为方便的向电池内注入糊状电解液,能够实现周转加工,尺寸较小,占地面积较小,成本较低。

标签:
加工技术
江苏 - 泰州 来源:中冶有色网 2023-03-18
锂电池组结构
锂电池组结构 762     
 0

本实用新型公开了一种锂电池组结构,包括壳体、保护板放置区和电池放置区,所述壳体内顶部和内底部分别通过螺栓安装有保护板放置区和电池放置区,所述电池放置区内通过导热隔板分隔有多个电池仓,所述电池仓内通过安装槽放置有单串锂电池,所述电池仓底部设置有连接板,所述连接板两端位于壳体内壁两侧,所述连接板两端设置有散热硅脂,所述散热硅脂外侧设置有散热鳍片,所述保护板放置区内底部通过夹具夹持固定有BMS电池保护板,所述保护板放置区内顶部一端通过安装座安装有单片机。本实用新型能在检测到锂电池工作温度过高时提示人员知晓,散热性能优良,具备稳流功能,适合广泛推广和使用。

标签:
加工技术
江苏 - 泰州 来源:中冶有色网 2023-03-18
圆柱形锂电池卷芯外形整理装置

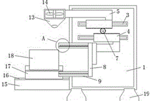
本实用新型属于圆柱形锂电池生产制造领域,具体涉及圆柱形锂电池卷芯外形整理装置。包括底座、传送带和卷芯,还依次包括复位夹、定位夹、烫孔针、抬升夹和整圆夹。定位夹包括定位座、定位气缸和定位夹弧。烫孔针包括壳体、针头、电热器和烫孔气缸。抬升夹包括抬升座、抬升气缸、抬升导轨、夹爪气缸和夹爪。整圆夹包括固定座、定夹弧、八字形槽、整圆气缸、活塞、活动座、倒八斜槽和两个对夹弧。卷芯经复位夹定位,经定位夹固定、烫孔针对卷芯中心烫孔定型,经抬升夹抬升固定、整圆夹整理外部形状,将外形不良品整理至合格形状,解决了圆柱形锂电池卷绕工序产出的卷芯存在外形不良的问题,使其中一部分经处理后仍能再利用,避免浪费。

标签:
加工技术
江苏 - 泰州 来源:中冶有色网 2023-03-18
软包锂电池方壳化模组
软包锂电池方壳化模组 1088     
 0

本实用新型公开了锂电池模组技术领域的一种软包锂电池方壳化模组,包括方通壳体,所述方通壳体设置为两头方通,且内部设有容纳软包电芯堆叠体的矩形容纳腔,所述软包电芯堆叠体的两端均设置电芯封口极片保护支架,在所述电芯封口极片保护支架与方通壳体的接触面上设置支架外注胶槽,用于灌胶将软包电芯堆叠体固定在方通壳体端口内;所述电芯封口极片保护支架设有两个结构功能端面,本实用新型提升软包电池的机械荷载刚性,促进方壳化的软包锂电池,运用CTP技术进行电池包的列阵排布,从而提高动力电池包的空间利用率、提升动力电池包的能量密度,增加新能源车的续航能力,实现降低软包电池模组的PACK成本、提升软包电池成组率。

标签:
加工技术
江苏 - 泰州 来源:中冶有色网 2023-03-18
锂离子极片极耳焊接间距定位装置

本实用新型公开了一种锂离子极片极耳焊接间距定位装置,包含一压刀,所述的压刀包含一刀片和一驱动轴杆,所述的刀片的边缘设有若干压齿,所述的压刀的下方设有一垫块,所述的垫块的一侧设有一定位台阶,所述的定位台阶上设有一可分离的定位垫片,所述的定位垫片的顶部设有一下沉的定位槽口。使用者可以根据锂离子极片的尺寸自由调节定位垫片的数量,灵活性好,通用性强。该锂离子极片极耳焊接间距定位装置结构简单,效果明显,成本低廉,实用性强。

标签:
加工技术
江苏 - 泰州 来源:中冶有色网 2023-03-18
锂离子电池性能提升方法

本发明属于锂离子电池技术领域,具体涉及一种锂离子电池性能提升方法,包括以下步骤:1)取注液后的磷酸铁锂电池装入含有加压装置的化成托盘;2)电池经过常温静置3‑5h后,进入40℃高温老化库经含有加压装置的化成托盘自动实现三次加压、两次释放后出库;3)电池经过常温静置3‑5h后开始预充电;4)预充电阶段采用两次加压进行充电;5)预充后电池按常规方法完成电池制作;6)对电池进行容量和循环性能测试。本发明操作简单、可实现批量生产,通过托盘装置改进、注液后搁置及预充电工序工艺优化,保证了电解液的充分浸润,平整的电极界面充分保证稳定的SEI膜形成,从而实现电池容量及循环等性能的大幅提升。

标签:
加工技术
江苏 - 泰州 来源:中冶有色网 2023-03-18
上一页 22 23 24 25 26 ... 35 下一页
共35页    到第

中冶有色为您提供最新的江苏泰州有色金属加工技术理论与应用信息,涵盖发明专利、权利要求、说明书、技术领域、背景技术、实用新型内容及具体实施方式等有色技术内容。打造最具专业性的有色金属技术理论与应用平台!

全国热门有色金属设备推荐
展开更多 +
全国热门有色金属技术推荐
展开更多 +

 

江西省隆恩特环保设备有限公司
宣传

报名参会
更多+

报告下载

有色专家
更多+

矿冶科技集团有限公司
党委书记 / 董事长
中南大学
中国工程院院士
郑州大学
校长/党委书记
矿冶科技集团有限公司工程公司
副总经理
赣州江钨钨合金有限公司
工程师
赤泥综合利用研究报告2025
推广

热门技术
更多+

推荐企业
更多+

福建省金龙稀土股份有限公司
宣传

发布

在线客服

公众号

电话

顶部
咨询电话:
010-88793500-807