青岛垚鑫智能科技有限公司
宣传

位置:中冶有色 >

有色技术频道 >

> 加工技术

分类:
全部
矿山技术
冶金技术
材料制备及加工技术
环境保护技术
分析检测技术
 
全部
功能材料技术
复合材料技术
新能源材料技术
合金材料技术
加工技术
地区:
全部
北京
天津
上海
重庆
河北
山西
辽宁
吉林
黑龙江
江苏
浙江
安徽
福建
江西
山东
河南
湖北
湖南
广东
海南
四川
贵州
云南
陕西
甘肃
青海
内蒙
广西
西藏
宁夏
新疆
其他
其他
展开
 
全部
南京
无锡
徐州
常州
苏州
南通
连云港
淮安
盐城
扬州
镇江
泰州
宿迁

江苏泰州有色金属加工技术理论与应用

免费发布技术信息>>
自放电大锂离子电池的筛选方法

本发明提供一种自放电大锂离子电池的筛选方法,涉及锂电池制造技术领域。将电池放电至空电态,在所需环境中搁置数天,监测其电压情况,通过电压值及电压差筛选出自放电大的电池。该方法时间短、成本低,筛选效果好,从根本上解决成组电池中因单体落后而导致电池循环寿命提前终结的技术难题。

标签:
加工技术
江苏 - 泰州 来源:中冶有色网 2023-03-18
特种车锂电池电气控制系统

本实用新型公开了一种特种车锂电池电气控制系统,包括锂电池模组(7)、BMS管理系统(5)、加热单元(6)、直流接触器(3)、分流器(2)、熔断器(1)、预充电阻(10)、DC/DC(4)、分励脱扣器(9)、直流断路器(8);所述锂电池模组(7)通过所述DC/DC(4)转换电压,所述分励脱扣器(9)通过所述BMS管理系统(5)监控到总压或单体电压低于控制阀值后,断开所述DC/DC(4)线路上的所述直流断路器(8),使所述DC/DC(4)处于开路模式停止工作。本实用新型通过DC/DC(4)与含分励脱扣器(9)的直流断路器(8)配套使用,可代替铅酸蓄电池的用途,达到降低制造成本,体现车辆紧凑性、轻量化的优点。

标签:
加工技术
江苏 - 泰州 来源:中冶有色网 2023-03-18
锂电池盖帽电磁卸料装置

本实用新型涉及一种锂电池盖帽电磁卸料装置,其特征在于:包括电磁盘、旋转轴、旋转电机、卸料挡板和卸料轨道,所述旋转电机经旋转轴旋转驱动连接电磁盘,电磁盘一侧设置于锂电池盖帽工作台上方,电磁盘另一侧下方设有卸料轨道,卸料轨道上方设有与电磁盘下端面对应设置的卸料挡板,卸料挡板与电磁盘下端面间隙小于锂电池盖帽厚度。

标签:
加工技术
江苏 - 泰州 来源:中冶有色网 2023-03-18
锂电池中羧甲基纤维素用存放装置

本实用新型公开了一种锂电池中羧甲基纤维素用存放装置,涉及羧甲基纤维素技术领域,为解决现有锂电池中使用的羧甲基纤维素在存放搬运的时候,因体积量较大,所以导致存放搬运过程中易损坏的问题。所述物料存放搬运推车上方的内部设置有存放腔体,且存放腔体设置有两个,两个所述存放腔体之间设置有拆卸挡板,所述拆卸挡板通过滑动拆卸槽与物料存放搬运推车滑动拆卸连接,所述物料存放搬运推车内壁的两侧和拆卸挡板的外壁两侧均设置有第一滑动轨道槽,且第一滑动轨道槽设置有四个,两个所述存放腔体的下方均设置有基座板,且基座板设置有两个,两个所述基座板通过第二缓冲弹簧机构与物料存放搬运推车和拆卸挡板弹性连接。

标签:
加工技术
江苏 - 泰州 来源:中冶有色网 2023-03-18
锂熔化炉
锂熔化炉 1095     
 0

本实用新型涉及一种锂熔化炉,锂熔化炉包括内炉、外炉壁以及炉盖,内炉与外炉壁之间设有至少十二根圆管和保温层,圆管上设有加热丝,外炉壁上设有盒体,盒体上设有开始按钮、暂停按钮、打开按钮以及电源按钮,内炉的下方连接有管道,管道上设有卡片和流量控制器,炉盖上设有气孔。本实用新型具有结构简单,操作方便,操作安全可靠,能够有效地节约资源,减少环境污染,大大的提高了工作效率的优点。

标签:
加工技术
江苏 - 泰州 来源:中冶有色网 2023-03-18
用于软包锂电池串并联成组焊接的伸入式电阻压焊装置

本实用新型公开了一种用于软包锂电池串并联成组焊接的伸入式电阻压焊装置,包括杆状第一电阻焊焊棒、第二电阻焊焊棒;第一电阻焊焊棒、第二电阻焊焊棒中心轴线平行、间隔并排排列,第一电阻焊焊棒、第二电阻焊焊棒的同一端的前端面均为与第一电阻焊焊棒、第二电阻焊焊棒中心轴线所在平面成锐角、朝向同一方向的平面,前端面上设有电极头;设有与电极头间隔相对的支撑板;进一步改进在于:第一电阻焊焊棒、第二电阻焊焊棒前端面与第一电阻焊焊棒、第二电阻焊焊棒中心轴线所在平面的夹角均大于0°小于60°。在使用本实用新型进行电阻焊时,所需空间小,能满足用于软包锂电池串并联成组焊接需要。

标签:
加工技术
江苏 - 泰州 来源:中冶有色网 2023-03-18
锂离子电池正极制浆方法

本发明涉及一种锂离子电池正极制浆方法,所述方法具有以下制备步骤,干粉搅拌、固含量调整、CNT导电剂分散、粘度和固含量调整。在减少制浆时间的前提下应用新的干混工艺方法,使固态粉料均匀、稳定的分散在NMP溶剂中,解决了浆料的团聚和沉降问题。该工艺大大缩短制浆工艺时间,对制浆设备要求较低,适用于锂离子电池工业化生产。

标签:
加工技术
江苏 - 泰州 来源:中冶有色网 2023-03-18
锂电池隔膜涂覆用芳纶组合物及其制备方法

本发明公开了一种锂电池隔膜涂覆用芳纶组合物及其制备方法,主要包括如下组分:芳纶纤维、胶黏剂、溶剂、乳化剂,所述胶黏剂的质量用量为芳纶纤维质量的2‑10%;所述胶黏剂的质量用量为所述溶剂质量的4‑30%;所述胶黏剂的质量用量为所述乳化剂的2‑10%;所述芳纶纤维为对位芳纶与间位芳纶中的至少一种;所述胶黏剂为SBR或聚丙烯酸;所述溶剂为水;所述乳化剂为CMC或聚丙烯酸钠中的至少一种。本发明提供一种新的锂电池隔膜涂覆用芳纶组合物,使用该组合物涂覆于隔膜上时具有降低成本、增强透气性的优点。

标签:
加工技术
江苏 - 泰州 来源:中冶有色网 2023-03-18
磷酸铁锂电池正负极涂料

本发明公开了一种磷酸铁锂电池正负极涂料,该涂料中添加磷酸盐MPO4和/或偏磷酸盐MPO3的正负极添加剂,M为Na和/或K,添加量占正负极涂料总量的重量百分比为0.01%~2.5%。所述添加剂的粒径为0.01~20μm。由该涂料制作正负极极片制得的磷酸铁锂电池能有效提高在高温条件下的充放电循环寿命,适合于电动车和储能领域作为大容量动力电池。

标签:
加工技术
江苏 - 泰州 来源:中冶有色网 2023-03-18
锂离子电池电芯的制作方法

本发明公开一种锂离子电池电芯的制作方法,涉及锂离子动力电池技术领域。该方法的改进之处是负极片长度大于正极片长度、负极片末端留有跳涂区,将隔膜包裹后的负极片与焊上正极耳的正极片重叠后卷绕成卷芯,再将2~10个卷芯叠放后,正极耳焊在一起,负极片跳涂区共同与镍极耳焊成一体,制成电芯。本发明方法为单层卷绕,多卷芯叠放,多个正极耳并联,单个镍极耳与多片负极片焊接,不仅制作简单,避免多个镍极耳焊接时易产生的虚焊,能减小电池内阻,而且节省贵金属材料,降低生产成本。

标签:
加工技术
江苏 - 泰州 来源:中冶有色网 2023-03-18
可改变落差的锂电池生产用推送连接装置

本实用新型公开了一种可改变落差的锂电池生产用推送连接装置,包括箱体,箱体的左侧固定连接有底箱,底箱内壁的底部固定连接有电机,所述电机的输出轴上固定连接有第一皮带轮,第一皮带轮的表面通过皮带传动连接有第二皮带轮,所述螺纹杆的左端与底箱内壁的左侧转动连接,所述螺纹杆的右端依次贯穿底箱和箱体且延伸至箱体的内部,所述箱体的顶部转动连接有箱盖,所述箱体的右侧开设有通孔,本实用新型涉及锂电池技术领域。该可改变落差的锂电池生产用推送连接装置,使得出料十分便捷,同时防止在运输的过程中材料发生泄漏的情况发生,使得连接处的物料运输十分简便,减轻了操作人员的负担,同时装置结构简单,便于操作。

标签:
加工技术
江苏 - 泰州 来源:中冶有色网 2023-03-18
金属壳锂电池扩容升压用壳体

本实用新型公开了一种金属壳锂电池扩容升压用壳体,主要由塑料壳和位于其顶部的滑块及位于其正面的固定板构成,塑料壳和固定板的两侧均有相应的连接孔和卡子,塑料壳背面和固定板上有散热孔和垂直方向的散热通道,使用时将电池装入塑料壳内腔,组装连接后,将滑块插入,用固定板压紧。本实用新型尤其适用于大型锂电池集成系统,具有组装操作方便,绝缘散热性能好的突出优点。

标签:
加工技术
江苏 - 泰州 来源:中冶有色网 2023-03-18
锂离子电池的活化装置

本实用新型公开了一种锂离子电池的活化装置,包括进料流水线、一对结构相同的倍速链装置、四个结构相同的升降移载机、一对结构相同的过渡流水线、出料流水线、线体和维修通道,一对所述倍速链装置水平对称设置,且中间留有间距,一对所述过渡流水线设置在一对所述倍速链装置之间的左右两侧,一对所述倍速链装置之间设置有维修通道,四个所述升降移载机分别设置在一对所述倍速链装置的侧壁,所述进料流水线和出料流水线成对角线设置在升降移载机的侧面,所述线体设置在倍速链装置的顶端。本实用新型具有较强的承重能力,解决了现有技术的承重能力不够的问题,且占地面积小,制造成本更加低廉,可以大大提高锂离子电池的活化效率。

标签:
加工技术
江苏 - 泰州 来源:中冶有色网 2023-03-18
锂电池化成装置
锂电池化成装置 819     
 0

本实用新型公开了一种锂电池化成装置,包括底座、基座、驱动机构和夹持机构,所述基座可固定安装在底座的一侧,所述驱动机构装配在基座的内腔,所述夹持机构固定安装在驱动机构的顶端。该锂电池化成装置,通过电动推杆、滑块、连接板和连接杆之间的配合,从而可以带动一个夹板向左或向右移动,通过转杆、套筒、第一齿牙和第二齿牙之间的配合,从而可以促使两个夹板可同时向内侧或向外侧移动,进而可自动对电池进行夹持固定,该装置无需人工夹持固定电池,不仅减少了人力,降低了工人的劳动强度,而且还提高了整体的工作效率,自动夹持固定也会保证在操作过程中不会出现失误,安全性高,使用灵活,实用性强,满足现有市场上的使用需求。

标签:
加工技术
江苏 - 泰州 来源:中冶有色网 2023-03-18
积木式电动汽车锂电池
积木式电动汽车锂电池 1140     
 0

本实用新型公开了一种积木式电动汽车锂电池,是由单电池组、模组正级、模组负极、导热矽胶片、铝压铸外壳、油冷进口、油冷出口、拉伸外壳、水冷进口、水冷出口、冷凝器进口、冷凝器出口、温度采集器、电压采集器、积木电源正极、积木电源负极、熔断丝和硅胶紧管器组成,由于采用的把层层放置的连接结构,使用的内循环和外循环的冷却方式,又由于使用积木形式的连接方式,提高了电池组的实用性。该实用新型由于在结构上采用的油冷和水冷的冷却的内循环和外循环,保证了电池单体的高效散热性,同时由于使用的积木式的连接方式,使得锂电池能够适用不同场合的需求,同时由于电池组内部的变压器散热油的加入,更能够提高了高效的散热功能。

标签:
加工技术
江苏 - 泰州 来源:中冶有色网 2023-03-18
由热固性塑料制成的动力锂电池组安全支架

本实用新型涉及由热固性塑料制成的动力锂电池组安全支架,属于动力电池组技术领域,安全支架包括软包锂电池支架和18650锂电池支架,软包支架包括插入式支架和螺栓固定式支架,插入式支架的框体上设有凸台和凹槽,螺栓固定式支架框体上设有凸片,凸片上设有连接孔。18650支架设有若干与锂电池相配合的定位孔,定位孔呈矩阵式排列分布。本实用新型的主要特性:1、热变形温度超过250℃,高于锂化物和粘结剂的反应温度;2、阻燃耐高温,过火不坍塌;3、有效抵抗电池短路的火花放电;4、通过不同填料搭配,兼具绝缘性和导热性,方便电池组设计;使用安全、可靠。

标签:
加工技术
江苏 - 泰州 来源:中冶有色网 2023-03-18
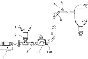
用于锂电池行业气力输送的程序控制系统

本发明公开了一种用于锂电池行业气力输送的程序控制系统,涉及锂电池加工技术领域,包括供料器和疏通组件,所述供料器的底部通过调节阀连接有输料管道,所述输料管道的左端连接有气力泵,所述输料管道的转向处为倾斜管,所述单向阀的顶部设置有插接管,所述输料管道的顶面中部均匀开设有定位气孔,所述疏通组件设置于输料管道的外壁,所述滑动箱的两侧固定有驱动电机,所述波纹管的底部连接有连接管。该用于锂电池行业气力输送的程序控制系统,本系统在发生石墨管道堵塞的第一时间即可快速定位堵塞部位的所在位置,且在定位后可以在近距离利用注入气体的方式冲开堵塞部位,以解决石墨堵塞的问题,且无需长时间停止系统进行处理。

标签:
加工技术
江苏 - 泰州 来源:中冶有色网 2023-03-18
废旧光刻胶制备锂离子电池电极材料的方法

本发明提供一种制备锂离子电池电极材料的方法,通过将废旧光刻胶与硅藻土混合、固化并烧结得到锂离子电池的碳电极。可对废旧光刻胶进行再利用降低半导体厂商的生产成本,同时得到结构稳定、导电性能良好的锂离子电池的碳/导电材料复合电极。

标签:
加工技术
江苏 - 泰州 来源:中冶有色网 2023-03-18
锂离子电池正负极极卷外置陶瓷层组分及应用方法

本发明公开了一种锂离子电池正负极极卷外置陶瓷层组分,组分按以下质量百分比计量并经混合配制浆料:PVP3.0%~5.0%、H2O45%~85%、AL2O310%~40%、SiO21.0%~5.0%、ZrO21.0%~5.0%。本发明还公开了实施锂离子电池正负极极卷外置陶瓷的应用方法,具体工艺步骤如下:①首先在正、负极极卷集流体单面涂胶;②接着将涂胶的正、负极极卷送入烘箱烘干;③在已固化的胶层上涂覆陶瓷浆料;④将涂覆陶瓷浆料的正、负极极卷送入烘箱烘干;⑤分别将外置陶瓷层的正、负极极卷展开,按配套尺寸冲切成正、负极极片。应用本发明制成的锂离子电池在极卷叠合层之间不用隔膜,此结构既能简化电池极卷层叠结构,又能显著提高电池组装工效,最重要的是从结构上消除安全隐患。

标签:
加工技术
江苏 - 泰州 来源:中冶有色网 2023-03-18
耐高温锂离子电池
耐高温锂离子电池 866     
 0

本发明涉及一种耐高温锂离子电池,极组的外层包覆活性碳固态胺纤维薄膜,其具有以下制作步骤:将聚丙烯腈纤维放入氢氧化钠反应后,再放入盐酸浸泡,得到的PAN‑COOH型纤维放入氯化亚砜和无水N,N‑二甲基酰胺中,反应烘干得到的PAN‑COOI型纤维放入聚乙烯亚胺和吡啶中,烘干得到PAN‑PEI固态胺纤维;将活性炭和粘结剂加入到溶剂中制成浆料,涂覆到PAN‑PEI固态胺纤维上,得到的涂炭固态胺纤维薄膜包覆在极组的外层,进行封装、注液、化成、老化。本发明通过在电池内部卷芯或叠片极组外层包覆活性碳固态胺纤维薄膜,用于吸附水、二氧化碳和甲烷气体,即锂离子高温存储过程中副反应产生的气体吸附在纤维薄膜上,可避免电池在高温下产气导致电池失效。

标签:
加工技术
江苏 - 泰州 来源:中冶有色网 2023-03-18
磷酸铁锂电池保护板
磷酸铁锂电池保护板 764     
 0

本实用新型公开了一种磷酸铁锂电池保护板,涉及锂电池技术领域,包括防护装置、减震装置、功能装置、扣合装置以及散热装置,防护装置包括防护箱、电池本体、控制芯片以及温度检测器,减震装置包括弹簧、海绵板、固定孔以及固定螺钉,功能装置包括安装框、显示屏以及除湿器,扣合装置包括扣合框、开槽以及箱盖以及支撑块,散热装置包括散热孔、通风孔以及电机。本实用新型,通过海绵板和弹簧使得电池两端被固定支撑,防止电池本体在一端过程剧烈晃动而受到损坏,电池工作时,通过可视玻璃可以让操作者观察箱内的情况,散热孔和通风孔使得箱内温度快速散去。

标签:
加工技术
江苏 - 泰州 来源:中冶有色网 2023-03-18
圆柱型安全性能高的锂电池钢壳

本实用新型涉及锂电池相关技术领域,具体为一种圆柱型安全性能高的锂电池钢壳,包括外钢壳,外钢壳的内部卡接有加强壳,加强壳的表面焊接有外卡环,外钢壳的内部设有外卡槽,加强壳设置有两组,连接套的内壁上焊接有安装板,一组安装板的表面焊接有对接板,对接板卡接在对接槽的内部,有益效果为:在安装加强壳时,因外卡环的弹性作用,外卡环挤压在外钢壳的内壁上并最终卡接在外卡槽内,同时内卡环挤压在内钢壳的表面并最终卡接在内卡槽内,定位板上的弹性卡块挤压在内钢壳的内壁上并最终卡接在卡接槽内,形成了多重密封结构,密封性好,进而保证了电池的使用质量和使用寿命,适合推广。

标签:
加工技术
江苏 - 泰州 来源:中冶有色网 2023-03-18
锂液管路保温装置
锂液管路保温装置 726     
 0

本实用新型涉及一种锂液管路保温装置,与液态锂的输送管路连接,包括导热软管、容器、加热电阻以及支架,所述容器可摆动地设置在支架上,该容器内装有保温液体,所述导热软管中部缠绕在输送管路上且两端分别与容器连接,所述加热电阻设置在容器的底部。本实用新型通过容器的摆动促使保温液体在导热软管内流动将热量传递给输送管路,避免了采用水泵时高温液体对泵体的伤害,且最大程度地避免了热量散失。

标签:
加工技术
江苏 - 泰州 来源:中冶有色网 2023-03-18
延长锂离子电池组使用寿命的调控方法

本发明涉及锂离子电池技术领域,特别涉及一种延长锂离子电池组使用寿命的调控方法。包括以下步骤:S1.将待测电池组进行容量标定;S2.根据容量标定充电容量数据确定充电截止电压,放电截止电压为(2.5*N)V;S3.根据确定的充电截止电压和放电截止电压进行充放电循环寿命测试。本发明不需要对电池内部进行开发,仅是对成熟的产品使用过程中,通过电压参数调控即可延长产品的使用寿命,大大降低了研发成本。本发明切实可行,简单易懂,可操作执行,不需额外投资,仅是在运行设备进行参数设置即可实现延长电池使用寿命的目的。

标签:
加工技术
江苏 - 泰州 来源:中冶有色网 2023-03-18
超双疏锂电池用铝塑膜

本发明涉及一种超双疏锂电池用铝塑膜,包括:超疏水尼龙层、外粘合层、超双疏铝层、内粘合层和聚丙烯层;所述超疏水尼龙层由尼龙经丙烯酸六氟丁脂和含双键的硅树脂的共聚乳液浸涂获得;所述超双疏铝层由铝箔经盐酸刻蚀和氟硅烷烃浸泡获得。本发明所述的超双疏锂电池用铝塑膜,对尼龙层和铝层进行改性处理,改性处理后的铝层能疏电解液和水,改性后的尼龙层能疏水。

标签:
加工技术
江苏 - 泰州 来源:中冶有色网 2023-03-18
软包锂电池串并联一体化汇流排

本发明公开了一种软包锂电池串并联一体化汇流排,包括1个以上中间汇流排、2个输出汇流排;中间汇流排包括中间汇流排排体、2个以上间隔固定连接在中间汇流排排体上的第一电极连接支座;第一电极连接支座包括竖置在中间汇流排排体上端面上的第一连接板;中间汇流排排体上靠近第一电极连接支座第一连接板的地方设有第一槽孔;输出汇流排包括输出汇流排排体、2个以上间隔固定连接在输出汇流排排体上的第二电极连接支座;第二电极连接支座包括竖置在输出汇流排排体上端面上的第二连接板;输出汇流排排体上靠近第二电极连接支座第二连接板的地方设有第二槽孔。本发明简化工艺、结构,单体软包锂电池并联的数量超过4个。

标签:
加工技术
江苏 - 泰州 来源:中冶有色网 2023-03-18
圆柱形锂离子电池产气测试装置

本实用新型涉及一种圆柱形锂离子电池产气测试装置,接出接头经螺旋接圆柱电池壳体正极端子盖板中心螺纹通孔,接出接头经接出管接三通阀,三通阀还分别接压力监控管和气体分析管,压力监控管接压力传感器,气体分析管接气体成分分析仪,气体分析管上还设有位于气体成分分析仪前的两只间隔设置的管道开关。该装置一方面不改变圆柱形锂离子电池的电化学行为,另一方面可以实现实时气压监控、产气成分的实时分析,对锂离子电池各个阶段的电化学行为更加精准的研究。

标签:
加工技术
江苏 - 泰州 来源:中冶有色网 2023-03-18
用于锂电池组的带有预充结构的端子

本实用新型涉及一种用于锂电池组的带有预充结构的端子,包括:母端端子、扭簧、圆柱电阻;所述扭簧内置于所述母端端子内部;所述圆柱电阻底端与所述母端端子顶端过盈配合连接。本实用新型所述的一种用于锂电池组的带有预充结构的端子,母端端子顶部安装有圆柱电阻,使得公针与母端端子接触时电流较小,有效地避免了换电锂离子电池组在与整车连接时出现大电流的现象。

标签:
加工技术
江苏 - 泰州 来源:中冶有色网 2023-03-18
软包锂离子电池高温老化胎具

本实用新型公开了一种软包锂离子电池高温老化胎具,它包括底板、导柱、垫板、压板、顶板和气缸。所述底板和顶板是配对的刚性矩形板块,两板块四角与导柱连接成上下平行相间的框架。所述顶板居中位置设有贯穿板面朝下施压的气缸。所述压板平置在顶板之下随气缸沿导柱上下滑动,压板底面上均布4~16只朝下等长伸出的压柱,在压柱与软包锂离子电池之间设有刚性垫板。使用上述结构的胎具做到软包锂离子电池在约束条件下作高温老化,一方面做到极板与隔膜平整贴靠,有利于提升电池性能一致性。另一方面易实现电池表面平整,显著提升外观质量。

标签:
加工技术
江苏 - 泰州 来源:中冶有色网 2023-03-18
锂离子电池负极的制备方法

本发明提供了一种锂离子电池负极的制备方法,所述制备方法包括提供第一石墨材料,第二石墨材料和第三石墨材料,所述第一石墨材料的平均粒径D1为2.2‑2.4微米,所述第二石墨材料的平均粒径D2=k1*D1;k1为1.42‑1.45;所述第三石墨材料的平均粒径D3=k2*D1;k2为0.56‑0.58;将第一石墨材料,第二石墨材料和第三石墨材料按照预定质量比混合,其中第一石墨材料:第二石墨材料:第三石墨材料=1:(c1*k1):(c2*k2);其中c1为0.56,c2为0.82;按照顺序将粘结剂,石墨材料和导电剂加入到去离子水中,得到负极浆料,将负极浆料涂覆在负极集流体上,干燥,热压,得到极片,将所述极片和对电极锂片置于电解液中,进行电化学预嵌锂,将极片从电解液中取出,干燥,得到所述负极;由本发明的制备方法得到的负极,能量密度高,循环寿命高。

标签:
加工技术
江苏 - 泰州 来源:中冶有色网 2023-03-18
上一页 21 22 23 24 25 ... 35 下一页
共35页    到第

中冶有色为您提供最新的江苏泰州有色金属加工技术理论与应用信息,涵盖发明专利、权利要求、说明书、技术领域、背景技术、实用新型内容及具体实施方式等有色技术内容。打造最具专业性的有色金属技术理论与应用平台!

全国热门有色金属设备推荐
展开更多 +
全国热门有色金属技术推荐
展开更多 +

 

江西省隆恩特环保设备有限公司
宣传

报名参会
更多+

报告下载

有色专家
更多+

长春黄金研究院有限公司
总经理
洛阳有色矿业集团有限公司
生产技术部经理
赣州江钨钨合金有限公司
工程师
湖南科技大学
所长/教授
重庆大学
副院长/教授
赤泥综合利用研究报告2025
推广

热门技术
更多+

推荐企业
更多+

福建省金龙稀土股份有限公司
宣传

发布

在线客服

公众号

电话

顶部
咨询电话:
010-88793500-807