青岛垚鑫智能科技有限公司
宣传

位置:中冶有色 >

有色技术频道 >

> 加工技术

分类:
全部
矿山技术
冶金技术
材料制备及加工技术
环境保护技术
分析检测技术
 
全部
功能材料技术
复合材料技术
新能源材料技术
合金材料技术
加工技术
地区:
全部
北京
天津
上海
重庆
河北
山西
辽宁
吉林
黑龙江
江苏
浙江
安徽
福建
江西
山东
河南
湖北
湖南
广东
海南
四川
贵州
云南
陕西
甘肃
青海
内蒙
广西
西藏
宁夏
新疆
其他
其他
展开
 
全部
南京
无锡
徐州
常州
苏州
南通
连云港
淮安
盐城
扬州
镇江
泰州
宿迁

江苏泰州有色金属加工技术理论与应用

免费发布技术信息>>
磷酸铁锂电池的化成工艺

本发明提供一种磷酸铁锂电池的化成工艺,采用多步化成,每步化成中,先以恒电流充电,再用正弦或余弦交流电流进行充放电,可以更好的促成电池负极石墨颗粒表面的固体电解质膜(SEI膜)的致密生成,减少电池使用过程中的容量衰减。此化成工艺用于磷酸铁锂电池的制作,能够有效提升电池的循环性能。

标签:
加工技术
江苏 - 泰州 来源:中冶有色网 2023-03-18
二级防爆锂电池
二级防爆锂电池 1070     
 0

本发明公开了一种防爆锂电池,包括电池板,所述电池板的外侧壁缠绕有负极板,所述负极板的外侧壁缠绕有隔膜,所述隔膜的外侧壁缠绕有正极板,所述正极板的外侧壁套接有铝壳,所述电池板的上端固定连接有上隔圈,所述电池板的下端固定连接有下隔圈,所述电池板的内腔前侧壁固定连接有正极铜箔片,所述电池板的内腔后侧壁固定连接有负极铝箔片,本发明通过第一金属塞和第二金属塞与负极板和正极板的配合,实现了在电池内产生高温而断电的功能,同时本发明通过导热筒和易溶金属块的使用,在电池温度过于高时将会使易溶金属块融化,致使锂电池无法在此使用,从而解决掉老化电池再次使用而导致爆炸的问题。

标签:
加工技术
江苏 - 泰州 来源:中冶有色网 2023-03-18
磷酸铁锂正极材料的金属掺杂方法

本发明公开了一种磷酸铁锂正极材料的金属掺杂方法,一,第一次研磨混合;二,第一次烧结:将步骤一中干燥后制得的物料进行第一次烧结,烧结的温度为300℃-600℃;三,第二次研磨混合:将步骤二中第一次烧结后制得的物料加入到纯度大于或等于85%乙醇分散剂中,并在研磨机中进行第二次研磨混合,按照步骤一中Li源化合物质量的21%加入碳源化合物,继续进行研磨2小时后,然后在100℃-120℃无氧条件下进行干燥,完成了第二次碳源化合物的加入;四,第二次烧结:将步骤三中干燥后的物料进行第二次烧结;五,第三次烧结:将步骤四中烧结后制得的物料再进行第三次烧结,得到具有Zn和Ti掺杂的磷酸铁锂正极材料。

标签:
加工技术
江苏 - 泰州 来源:中冶有色网 2023-03-18
锂电池内部绝缘盖生产设备

本实用新型公开了一种锂电池内部绝缘盖生产设备,包括控制器,以及和控制器相连的固定辊、物料检测系统、放卷辊、压机和收集辊,所述压机包括气泵、压块、底座和机架,所述底座固定设置在机架上表面,所述压块对应设置在底座的正上方,所述气泵与压块相连,所述机架下方设置有物料收集箱。本实用新型所提供的锂电池内部绝缘盖生产设备,可以自动压制绝缘盖,自动化程度高,且提高了压制的效率和压制的精度,且物料检测系统可以检测待操作带是否使用完毕,使用完毕后会及时停止设备,防止机器空转,节约了成本。

标签:
加工技术
江苏 - 泰州 来源:中冶有色网 2023-03-18
数据中心锂电三线制汇流柜系统

本实用新型涉及汇流柜技术领域,特别涉及一种数据中心锂电三线制汇流柜系统,包括UPS、汇流柜和多个电池簇,所述UPS和多个电池簇通过汇流柜连接,所述汇流柜内设有保护电路,所述保护电路上设有熔丝、电流传感器和继电器;本实用新型提供一种电路设计简单,将多个电池簇的电流安全、均衡和可靠的汇流到UPS上的数据中心锂电三线制汇流柜系统。

标签:
加工技术
江苏 - 泰州 来源:中冶有色网 2023-03-18
锂电池软包电池单体金属结构

本实用新型涉及锂电池软包电池技术领域,公开了一种锂电池软包电池单体金属结构,包括外壳,所述外壳的外壁下方安装有加固层,所述加固层的外侧上方焊接有固定块,所述固定块共设有四个,且分别位于加固层四个侧面的顶端处,所述外壳的外壁表面上方粘结有卡合层,所述卡合层的表面设有连接凸块和连接凹槽,且连接凸块和连接凹槽交错布置,所述外壳的前后两侧均设有连接凸块和连接凹槽,且两侧面设置的连接凸块和连接凹槽交错位置方向相反,本实用新型通过在外壳的底部设置有加固层,加固层通过固定块焊接在外壳的底部,避免长期使用导致电池底部露出铝而失效,对电池外壳进行了加固,提高了电池单体外壳的耐磨损性。

标签:
加工技术
江苏 - 泰州 来源:中冶有色网 2023-03-18
聚合物锂离子动力电池极片

本实用新型公开了一种聚合物锂离子动力电池极片,包括集流体和位于集流体两侧的活性浆料涂层,改进之处在于在集流体与活性浆料涂层之间设有导电碳涂层,正集流体为铝腐蚀箔,厚20~60μm,腐蚀深5~20μm。所述导电碳涂层厚4~10μm。该极片用于制作作为电动汽车电源的聚合物锂离子动力电池,能提高原材料利用率,降低电池成本,减小活性物质与集流体间的内阻,降低电池温升,提高电池寿命和安全性。

标签:
加工技术
江苏 - 泰州 来源:中冶有色网 2023-03-18
电磁屏蔽功能的锂电池
电磁屏蔽功能的锂电池 1005     
 0

本实用新型公开了一种电磁屏蔽功能的锂电池,包括外壳体,所述外壳体的上方设有盖板,所述外壳体的内壁固定连接有底部U形屏蔽硅胶板,所述盖板的底面固定连接有上屏蔽硅胶板,所述底部U形屏蔽硅胶板的内底壁固定连接有两个支撑柱,两个所述支撑柱的顶端共同固定连接有支撑板,所述底部U形屏蔽硅胶板的内部设有电池本体。该电磁屏蔽功能的锂电池,通过在电池本体的外表面设置屏蔽膜,可以很好的对电池本体的电磁进行屏蔽,通过在外壳体和盖板分别设置一样材质的屏蔽硅胶板,这样可以使屏蔽效果更好,通过在外壳体的内底壁设置支撑板和弹簧,既可以对电池本体进行散热又起到对电池本体的减震缓冲的效果,大大的保护的电池本体。

标签:
加工技术
江苏 - 泰州 来源:中冶有色网 2023-03-18
掺杂锰酸锂的合成方法
掺杂锰酸锂的合成方法 1163     
 0

本发明涉及主要用作锂离子电池正极活性材料的掺杂锰酸锂的合成方法,在Li2CO3和电解MnO2原料中加入掺杂原料,该掺杂原料含Al、Co、Cr、Fe、Y三价阳离子中的任两种和F、Cl、I阴离子中的任一种,所用原料经机械混合,高速球磨和过筛后制得混合料,在旋转式电阻炉中按设定程序焙烧,冷却后再经球磨、过筛得到产品。该方法反应步骤简单,成本低,混料均匀,有效提高材料电化学性能和循环性能,而且不会对环境造成污染。

标签:
加工技术
江苏 - 泰州 来源:中冶有色网 2023-03-18
用于锂离子电池正负电极极卷外加涂层的浆料

本发明公开了一种用于锂离子电池正负电极极卷外加涂层的浆料,正极极卷表面外加涂层的材质为活性炭,负极极卷表面外加涂层的材质为硬碳,用于涂覆的活性炭、硬碳浆料分别用下述按质量百分比计量的原料配制。活性炭浆料组分:活性炭20%~40%、导电剂1.0%~10%、粘结剂1.0%~5.0%、溶剂50%~78%。硬碳浆料组分:硬碳35%~55%、导电剂2.0%~10%、粘结剂1.0%~15%、溶剂30%~60%。应用本发明配套的锂离子电池性能远比现有技术同规格电池好,特别是电池循环使用寿命提高10倍以上,以及支持瞬间超高倍率放电指标都能获得倍增。

标签:
加工技术
江苏 - 泰州 来源:中冶有色网 2023-03-18
锂离子电池正极浆料组分及混料工艺

本发明公开了一种锂离子电池正极浆料组分,它按质量百分比计量下列组分:正极活性物质88~97%、导电剂1.5~6%、粘结剂1.5~6%,在组分之外还要置备工艺性用的NMP溶剂。本发明还包括锂离子电池正极浆料混合工艺,它包括制胶、干混、匀浆、添加导电剂、分散和过滤工序。本发明组分配置合理,混料工艺有效促成浆料组分颗粒之间相互研磨、撞击,从而提升分散结果,有利于制成的浆料组分分布一致性。经上述混粒工艺后,促成导电剂和正极活性材料组分相互包容性混合,再在湿混过程中添加预留的导电剂,经高速搅拌分散促使导电剂充分散开,此效果有利于形成导电网络,从而达到提升正极浆料导电性能的目的。

标签:
加工技术
江苏 - 泰州 来源:中冶有色网 2023-03-18
改进结构的锂电池结构

本实用新型涉及电池技术领域,具体涉及一种改进结构的锂电池结构。本实用新型采用的技术方案是:一种改进结构的锂电池结构,包括壳体,壳体顶部敞口处设置有绝缘上盖,壳体与绝缘上盖可拆卸连接,绝缘上盖顶部中心两侧设有两个固定块,两个固定块之间设有把手,绝缘上盖两端均设有扣环,壳体的相应位置上设有扣钉,扣环与扣钉环扣连接,壳体内底部安装设置有电极镍片,壳体内部设置有若干个电池定位槽,电池定位槽中均匀排列若干电池包,相邻的电池包之间设置有散热支架,壳体两侧内壁与电池定位槽之间沿竖直方向均匀设置有若干减震装置。本实用新型的优点是:结构合理,使用效果好,使用寿命长。

标签:
加工技术
江苏 - 泰州 来源:中冶有色网 2023-03-18
锂电池盖帽压紧装置
锂电池盖帽压紧装置 1061     
 0

本实用新型提供了一种锂电池盖帽压紧装置,其结构包括:U形槽、翻盖、电池存放槽、气缸、压杆、压块,所述气缸通过压杆连接压块,并固定于所述翻盖上部,所述翻盖一端与所述U形槽上部一端活动连接,所述电池存放槽有若干凹槽,所述翻盖下部有与所述若干凹槽数量和位置对应的凹陷,所述压块伸入所述凹陷,本实用新型在使用时,将待加工电池装入电池存放槽,再将电池存放槽推入U形槽,盖上翻盖,启动气缸带动压块对锂电池盖帽进行压紧,压紧完毕后打开翻盖,将电池存放槽推出U形槽,又可进行下一段的加工,本实用新型结构精简,可同时加工多个电池,并且可连续加工,大大提高了生产效率。

标签:
加工技术
江苏 - 泰州 来源:中冶有色网 2023-03-18
锂锭成型模具
锂锭成型模具 882     
 0

本实用新型涉及一种锂锭成型模具,包括若干个依次螺纹连接的模具单元,该模具单元呈桶状,且所述模具单元的底部设有与下一模具单元连通的通孔。本实用新型将多个模具单元串接后向模具内充保护气体,使得一次浇注形成多个锂锭,避免了逐个浇注时与空气多次接触发生氧化,并且提高了作业效率。

标签:
加工技术
江苏 - 泰州 来源:中冶有色网 2023-03-18
锂电池加工组装用固定装置

本实用新型属于锂电池加工技术领域,且公开了锂电池加工组装用固定装置,包括下支撑板和上支撑板,所述下支撑板和上支撑板之间铰接有第一连接杆和第二连接杆,所述第一连接杆和第二连接杆铰接连接成折叠杆,且折叠杆共设置有六组,其中两组折叠杆之间铰接有第三连接杆,所述下支撑板和上支撑板之间还设置有丝杠,且丝杠上套设有两个丝杠螺母座,两个所述丝杠螺母座均与第一连接杆和第二连接杆的连接处铰接;本实用新型设置了丝杠和多个连接杆,通过丝杠转动带动丝杠螺母座运动来使得第一连接杆和第二连接杆折叠或者拉伸开,从而实现带动上支撑板和夹持座一同上下运动,进而实现根据需要调节固定装置的高度,方便工作人员使用。

标签:
加工技术
江苏 - 泰州 来源:中冶有色网 2023-03-18
车载锂电池组排列固定装置

本实用新型公开了一种车载锂电池组排列固定装置,包括壳体,所述壳体由上壳和具有下壳插接固定而成,所述壳体的上表面固定连接有连接腔,所述连接腔的内腔固定连接有并联导线,所述壳体的底面固定连接有水腔,所述水腔的内腔套接有导热板,所述水腔的下端一体成型有十字型支撑板,所述十字型支撑板的中部固定连接有挤压装置,本实用新型通过上固定柱和下固定柱的配合插接,实现了稳定固定锂电池的功能,同时本实用新型将上固定柱内放置导线圈,导线圈在通电的状态下会提供电池组内磁场,从而促进了电池组的充电和放电效率,而本实用新型通过下固定柱和水腔的配合使用,实现了调节温度的功能。

标签:
加工技术
江苏 - 泰州 来源:中冶有色网 2023-03-18
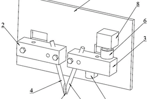
软包锂电池电极的点焊装置

本实用新型提供了一种软包锂电池电极的点焊装置,包括:基础结构、呈杆状的固定点焊头、呈杆状的活动点焊头、间距调整装置以及压力驱动装置,所述固定点焊头相对于所述基础结构位置固定;所述间距调整装置用于调整确定所述活动点焊头未下压时,所述固定点焊头的末端与所述活动点焊头的末端的间距;所述压力驱动装置用于驱动所述活动点焊头下压于点焊对象和/或所述固定点焊头。本实用新型通过间距调整装置,满足了电极之间多样的空间条件,进而可避免因焊接装置体积过大无法伸入软包锂电池组的电极间进行点焊焊接的情况。本实用新型还通过压力驱动装置可使得点焊压力可控,进而使得焊点稳定可靠。

标签:
加工技术
江苏 - 泰州 来源:中冶有色网 2023-03-18
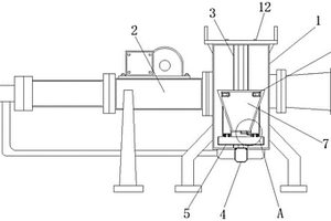
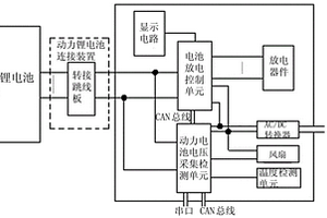
动力锂电池调平清零控制的装置

本实用新型公开了动力锂电池调平清零控制的装置,各锂电池单元通过电压采集线束Ⅰ与接插件A连接,接插件B通过电压采集线束Ⅱ和电压采集线束Ⅲ分别与动力电池电压采集检测单元和电池放电控制单元连接,动力锂电池系统的各锂电池单元依次经过电压采集线束Ⅰ、接插件A与接插件B连接,接插件B分别与动力电池电压采集检测单元和电池放电控制单元匹配连接,动力电池电压采集检测单元信号输出端口与电池放电控制单元的信号输入端口之间设有现场总线进行通讯连接,电池放电控制单元的信号输出端口与放电器件连接。本实用新型对动力电池进行整体电量调整清零,即单体电池调至零态,从而提高了电池组的整体容量。

标签:
加工技术
江苏 - 泰州 来源:中冶有色网 2023-03-18
集成式磷酸铁锂电源系统

本实用新型公开集成式磷酸铁锂电源系统,它包括锂电池电源管理系统(1),它还设有电池箱体(2),在电池箱体(2)内放置有电池模组(3),锂电池电源管理系统(1)位于电池箱体(2)内,在电池箱体(2)前部的外表面设置为调节面板(4),在电池箱体(2)内前部还设有安全灭火系统(5)。本实用新型采用模块化设计,将电池和电源管理系统及安全灭火系统集成在一起,极大的提高了电源系统的可靠性、安全性,同时便于安装维护,有利于大规模推广使用。

标签:
加工技术
江苏 - 泰州 来源:中冶有色网 2023-03-18
用于生产锂电池阳极材料的造粒机

本实用新型公开了一种用于生产锂电池阳极材料的造粒机,包括一底座和一转筒,所述的转筒倾斜布置,所述的用于生产锂电池阳极材料的造粒机还包括一支架和刮板组件,所述的支架与所述的底座固定连接,所述的刮板组件与所述的支架相连接,且其下端与所述的转筒的底面相互贴合。本实用新型的用于生产锂电池阳极材料的造粒机的优点是:带有刮板组件和调节螺栓,能够使调节刮板本体紧密地与转筒底部相接触,有效避免粉末状原材料附着在转筒的底部,减少浪费,同时刮板本体可以更换,使用成本较低。

标签:
加工技术
江苏 - 泰州 来源:中冶有色网 2023-03-18
锂电池注液及化成抽真空一体化装置

本发明公开了一种锂电池注液及化成抽真空一体化装置,主要由双排式注液和抽真空管路、双开活塞、导管和程控部分构成,所述双开活塞有4~8只,并连在相互独立的注液管路和抽真空管路上。本发明用于软包装锂离子电池注液及化成抽真空,可自动操作,能简化工序,避免电解液直接接触空气,减少水分对电池性能的影响,同时化成抽真空,可彻底排出电池内部充电过程产生的气体,消除绝缘区域,提高电池的容量及提升电池的循环寿命。

标签:
加工技术
江苏 - 泰州 来源:中冶有色网 2023-03-18
锂电池行业专业气力输送泵

本实用新型公开了一种锂电池行业专业气力输送泵,包括上料筒和输料筒,输料筒,其设置于所述上料筒一侧;第一轨道板,其固定于所述上料筒外壁;电机,其连接于所述第一轨道板下端;升降托板,其连接于所述第一轨道板外壁;第一滑轨,其固定于所述升降托板上表面;载料筒,其安置于所述第一滑轨上表面;轨道轮,其连接于所述载料筒下表面边缘处。该锂电池行业专业气力输送泵,升降托板可通过上升使其表面的第一滑轨与上料筒上端的第二滑轨相对接,从而配合和滑动的载料筒进行粉料袋的转运工作,使得粉料袋被转运至上料筒上端的上料口处准备上料操作,其过程无需人工抓握料袋进行倾倒上料操作,大大减轻了人员劳动强度。

标签:
加工技术
江苏 - 泰州 来源:中冶有色网 2023-03-18
单体大容量储能用锂电池的制作方法

本发明涉及一种单体大容量储能用锂电池的制作方法,改进之处是将带状板栅涂布、分切后制作一体化极耳群,其中正、负极极耳群分别对称分布于正、负极极片的相对的侧边上,接着将正、负极极片和隔膜堆叠,正、负极极耳群位置错开,铆接在塑料壳体上,用汇流端子引出,再盖上带有多个独立的防爆阀的顶盖,并胶封。该方法用于制作大容量锂电池,电池内阻小,内部电流分布均匀,具有优良的大电流充放电性能,安全可靠性好。而且该方法操作简单,工艺完善,利于大批量工业生产。

标签:
加工技术
江苏 - 泰州 来源:中冶有色网 2023-03-18
充电方便的电动自行车锂电池

本实用新型公开了一种充电方便的电动自行车锂电池,包括电池壳,本实用新型在电池下盖的表面嵌入设计有充电座,在电池下盖的上方设计了透明防护罩,防护罩是由耐压材料制成,在充电座的一侧设计了充电线悬挂板,悬挂板的表面设计有挂钩,当出门比较紧急的情况下可以将充电器直接拔下来后悬挂在悬挂板的挂钩上,在透明防护罩的左侧还设计了单独的充电线悬挂板,如果不是着急出门的情况下,等锂电池充满电后,再将充电装置的充电线缠绕在悬挂板的挂钩上,防护罩防止挂钩不牢造成充电线掉落,使充电线暴露在电动自行车外部发生危险,简单方便,适用性强,再也不需要担心有电源却没有充电装置的情况发生。

标签:
加工技术
江苏 - 泰州 来源:中冶有色网 2023-03-18
锂离子电池极板制作方法

本发明涉及一种锂离子电池极板制作方法,正极或负极活性物质80~95%,导电剂2~10%,粘结剂3~10%的质量百分比取样后混合,采用干粉热压成型,通过温度和压力让粘结剂熔融,将粉体粘结制成极片。取消了NMP溶剂的使用,无需高精度的涂布设备和昂贵的NMP回收设备,投资规模小,节能环保。该方案适合制作超厚的锂离子电池极板,集流体以及隔膜好用少,电池的能量密度高,成本低。

标签:
加工技术
江苏 - 泰州 来源:中冶有色网 2023-03-18
快速检测磷酸铁锂电池自放电的方法

本发明涉及锂电池技术领域,本发明公开了一种快速检测磷酸铁锂电池自放电的方法,包括以下步骤;步骤一:对电池进行放电直至2.5V;步骤二、对电池充电至电池标称容量的30‑40%SOC,静置15‑60min后采集开路电压值为U1;步骤三、将电池静置存放22‑26h;步骤四、采集静置后的电池开路电压值为U2;步骤五、对比U1‑U2的差值与相应自放电工艺标准,筛选出自放电较大的电池。本发明检测方法不仅用时较短,占用的场地较小,而且避免满电状态集中储存多批量的电池,避免造成安全隐患,可较快的识别出电压下降快的电池,即自放电率较大的电池,效率高,简单方便操作。

标签:
加工技术
江苏 - 泰州 来源:中冶有色网 2023-03-18
带窥视镜的镁锂合金真空冶炼炉

本发明公开了一种带窥视镜的镁锂合金真空冶炼炉,包括一炉体和一封板组件,所述的炉体上设置有一窥视孔,所述的封板组件包括一活动封板和一窥视镜组件。本发明的带窥视镜的镁锂合金真空冶炼炉的优点是:带有连接有进气管的窥视管,在观察冶炼炉内的情况时,可以吹散视线内的粉尘,结构简单,使用方便,冶炼镁锂合金的成品率较高。

标签:
加工技术
江苏 - 泰州 来源:中冶有色网 2023-03-18
大电流长寿命锂电池的制作方法

本发明公开一种大电流长寿命锂电池的制作方法,包括电极浆料的制备、电芯的卷绕和单体电芯的组装,浆料中加入钛酸锂,并改进各组分配比,电芯采用4~5层卷绕而成,并选用9~15μm厚的隔膜,组装时采用散热铝片隔开或包裹,并用钢丝收紧。由该方法制作的锂电池导电性提高,内阻减小,散热效果增强,达到大电流长寿命的使用要求,尤其适合电动工具产品的使用。

标签:
加工技术
江苏 - 泰州 来源:中冶有色网 2023-03-18
优化磷酸铁锂电池循环性能及存储特性的高温搁置方法

本发明涉及磷酸铁锂蓄电池领域,特别涉及一种优化磷酸铁锂电池循环性能及存储特性的高温搁置方法。步骤1:制备的磷酸铁锂电池经化成预充电、二封抽气、分容后,选出放电容量与电压合格的电池进行OCV1测试其开路电压V1及内阻R1;步骤2:将经OCV1测试后电池放置于温度范围40℃‑50℃的干燥环境中进行搁置48h‑72h;步骤3:经高温搁置结束后的电池移入常温25℃±2℃的环境中,常温搁置10h‑15h,之后进行OCV2测试电池的电压V2及内阻R2;步骤4:电池继续常温搁置168h,进行OCV3测试电池的电压V3及内阻R3,对电池进行循环及存储测试。本发明加快SEI膜的重组与稳定,有效地消除电池内部的极化和加速副反应的发生,提高SEI膜的成膜质量,从而改善电池的循环及存储性能。

标签:
加工技术
江苏 - 泰州 来源:中冶有色网 2023-03-18
用于钴酸锂电池的掺杂小粒径氧化钴的制备方法及装置

本发明公开了一种用于钴酸锂电池的掺杂小粒径氧化钴的制备方法,该方法是通过以下步骤实现的:步骤1、配制钴盐溶液和氢氧化钠溶液;步骤2、向上述钴盐溶液和氢氧化钠溶液中分别加入氯化镁、添加剂和氯化铝,分别制得两种掺杂溶液;步骤3、将步骤2制得的两种溶液加入反应槽中,并控制整个反应体系中的pH值一定;步骤4、待反应槽溢流口开始溢料时,降低掺铝氢氧化钠溶液的流量,并对溢流液浓缩再反应;步骤5、直至粒径合格,进行离心,烘干,制得掺杂氧化钴;本发明还公开了用于上述制备方法的装置。本发明通过在反应体系中加入铝盐和镁盐并控制整个反应体系中的pH值,使得制得的氧化钴粒径小且均匀,应用到钴酸锂电池中使其更具有循环性。

标签:
加工技术
江苏 - 泰州 来源:中冶有色网 2023-03-18
上一页 20 21 22 23 24 ... 35 下一页
共35页    到第

中冶有色为您提供最新的江苏泰州有色金属加工技术理论与应用信息,涵盖发明专利、权利要求、说明书、技术领域、背景技术、实用新型内容及具体实施方式等有色技术内容。打造最具专业性的有色金属技术理论与应用平台!

全国热门有色金属设备推荐
展开更多 +
全国热门有色金属技术推荐
展开更多 +

 

江西省隆恩特环保设备有限公司
宣传

报名参会
更多+

报告下载

有色专家
更多+

中国瑞林工程技术有限公司
中国工程院院士
赣州江钨钨合金有限公司
工程师
辽宁忠旺集团
教授级高工
云南锡业集团(控股)有限责任公司
副总经理
国家钨与稀土产品质量检验检测中心
主任
赤泥综合利用研究报告2025
推广

热门技术
更多+

推荐企业
更多+

福建省金龙稀土股份有限公司
宣传

发布

在线客服

公众号

电话

顶部
咨询电话:
010-88793500-807