青岛垚鑫智能科技有限公司
宣传

位置:中冶有色 >

有色技术频道 >

分类:
全部
矿山技术
冶金技术
材料制备及加工技术
环境保护技术
分析检测技术
 
全部
功能材料技术
复合材料技术
新能源材料技术
合金材料技术
加工技术
地区:
全部
北京
天津
上海
重庆
河北
山西
辽宁
吉林
黑龙江
江苏
浙江
安徽
福建
江西
山东
河南
湖北
湖南
广东
海南
四川
贵州
云南
陕西
甘肃
青海
内蒙
广西
西藏
宁夏
新疆
其他
其他
展开
 
全部
南京
无锡
徐州
常州
苏州
南通
连云港
淮安
盐城
扬州
镇江
泰州
宿迁

江苏苏州有色金属材料制备及加工技术理论与应用

免费发布技术信息>>
二(二乙胺基)硅烷的制备方法

本发明提供了一种二(二乙胺基)硅烷的制备方法,包括以下步骤:步骤一,在惰性气氛保护的反应器中加入正丁基锂的烷烃CnH(2n+2)(n≥5)溶液,在搅拌的条件下滴加二乙基胺进行反应,反应体系的温度保持在-60~-30℃,搅拌反应10-15小时;步骤二,在-60~-30℃条件下通入二氯硅烷,并维持-60~-30℃搅拌反应15-20小时,升至室温,再常压下蒸出烷烃CnH(2n+2)(n≥5);步骤三,在减压下蒸出二(二乙胺基)硅烷粗品。二(二乙胺基)硅烷粗品经减压精馏得高纯度二(二乙胺基)硅烷。本发明的有益效果是:所选试剂无毒性,保证了操作人员安全;反应过程比较平和,没有安全隐患;反应效率很高。

标签:
加工技术
江苏 - 苏州 来源:中冶有色网 2023-03-19
双核两自由度高速锡焊机器人伺服控制器

本发明公开了一种双核两自由度高速锡焊机器人伺服控制器,包括:电源单元、双核控制单元和锡焊运动单元,所述电源单元包括交流电源和电池,所述电池为锂离子电池,所述双核控制单元包括相连的数字信号处理芯片和现场可编程门阵列芯片,所述锡焊运动单元包括用于控制二维平面焊点行走的X电机和Y电机,所述锡焊运动单元还包括用于控制出锡量的Z电机,所述X电机、Y电机和Z电机与所述现场可编程门阵列芯片相连,所述电源单元与所述双核控制单元相连。通过上述方式,本发明双核两自由度高速锡焊机器人伺服控制器锡焊处理速度快、开发周期短、调速范围宽、调速平稳、抗干扰能力强、锡焊系统性整体性好。

标签:
加工技术
江苏 - 苏州 来源:中冶有色网 2023-03-19
电池成组连接方法及电池组

本发明公开了一种电池成组连接方法,其包括如下步骤:将单体电池的上、下端面设置成单体电池的正、负极,并在单体电池的正、负极上设置垂直于上、下端面的金属连接片作为正、负极极耳;将多个单体电池并排放置,并使每个单体电池的正、负极极耳弯折90°,然后按照串联方式将相邻单体电池的正极极耳、负极极耳焊接在一起。采用这样的电池成组连接方法,可以尽量减少电线或螺栓的使用量,可以实现单体电池的可靠、稳定的连接,同样这也解决了锂电池的安全使用问题。这样的成组方式非常方便简洁,利于维护,充分的延长了电池的寿命,适合车辆的充电、放电,对国内电动汽车产业化、绿色化和高新化起到了重要的推进作用。

标签:
加工技术
江苏 - 苏州 来源:中冶有色网 2023-03-19
抗静电塑料地板
抗静电塑料地板 1167     
 0

本发明公开了一种抗静电塑料地板,其由以下重量份的组分组成:PVC120-150份,邻苯二甲酸二辛酯20-30份,亚磷酸三甲酚酯10-15份,稳定剂1-5份,硬脂酸钙1-3份,碳酸锂40-55份,碳酸钙10-20份,钛白粉5-10份,聚乙二醇2000?2-6份,蓖麻油10-15份,抗静电剂1-6份,抗氧剂3-8份;经过压延工艺制得的地板经检测性能,其中耐磨性达到了性能指标的GROUPT水平,抗静电性达到了CLASS(一级),防滑性能指标干时达到了0.48以上,湿时达到了R9,耐污性达到了最佳效果。

标签:
加工技术
江苏 - 苏州 来源:中冶有色网 2023-03-19
水性耐水型阳极功能涂层粘结剂及其制备方法及应用

本发明公开了一种水性耐水型阳极功能涂层粘结剂及其制备方法及应用,该水性耐水型阳极功能涂层粘结剂按固体组分计:烯键式不饱和羧酸或酸酐中的一种或多种:10.0~80.0重量份;烯键式不饱和腈基类:0~70.0重量份;不饱和功能单体:0~30.0重量份;反应型不饱和表面活性剂:0~20.0重量份;引发剂:0.3~3.0重量份;中和剂:0~20.0重量份;多功能基团添加剂:0~40.0重量份,多功能基团添加剂为双元羟基化合物或多元羟基化合物或二元羧基化合物或多元羧基化合物中的一种或多种;反应助剂:0~3.0重量份,反应助剂采用路易氏酸硫酸或磺酸催化剂中的一种或多种。该阳极功能涂层可以显著改善锂电池负极的重现性。

标签:
加工技术
江苏 - 苏州 来源:中冶有色网 2023-03-19
MXene导电纸及纸电池的制备方法

本发明公开了一种MXene导电纸及纸电池的制备方法,属于导电材料技术领域。一种MXene导电纸主要由纳米层状材料MXene或非金属元素(N和/或S)掺杂或金属元素掺杂的MXene材料,无任何添加剂或粘合剂制备的具有出色的导电性,机械强度的Ti3C2Tx导电纸。这种具有高容量和长寿命的独立,柔软坚韧的电极对于开发下一代锂硫(Li–S)电池至关重要。

标签:
加工技术
江苏 - 苏州 来源:中冶有色网 2023-03-19
低不溶物快速分散型羧甲基纤维素醚的制备方法

本发明公开了一种低不溶物快速分散型羧甲基纤维素醚的制备方法,包括如下步骤:制备低不溶物羧甲基纤维素醚;提纯;制备低不溶物快速分散型羧甲基纤维素醚。本发明通通过初醚化和强化醚化两次醚化反应,先制备得到低不溶物含量的羧甲基纤维素醚,再在此基础上通过特定结构的交联剂的选择,提高羧甲基纤维素醚的溶解速度,并抑制溶解过程中增加的不溶物,有效解决了羧甲基纤维素醚使用时不溶物含量多的问题,同时解决了现有技术中羧甲基纤维素醚的不溶物含量和溶解速度不能兼得的难题;本发明制备的羧甲基纤维素醚,其溶解时无抱团结块现象,不溶物含量低于70ppm,远低于锂电池中低于120ppm的使用要求。

标签:
加工技术
江苏 - 苏州 来源:中冶有色网 2023-03-19
气密性冶具
气密性冶具 1211     
 0

本发明公开了一种气密性冶具,涉及锂电池安全测试技术领域。该气密性冶具用于对待测试件上的防爆阀进行抗压测试,待测试件上设有测试孔,该气密性冶具包括:壳体,壳体与待测试件连接;限位调节柱,与壳体螺纹连接,沿限位调节柱的轴向在限位调节柱上设有气体输入孔,气体输入孔与测试孔连通;抵接密封组件,可移动地设于壳体内且抵接密封组件能够与待测试件抵接,抵接密封组件与限位调节柱固定连接,抵接密封组件上设有通孔,通孔与测试孔和气体输入孔均连通。该气密性冶具结构简单、操作方便,既增强了密封性、提高实验准确性,还能适应不同尺寸的待测试件,适应范围广。

标签:
加工技术
江苏 - 苏州 来源:中冶有色网 2023-03-19
便携折叠滑板式电动车
便携折叠滑板式电动车 1001     
 0

一种便携折叠滑板式电动车,包括包括带伸缩段的折叠车把、前叉、前梁、折叠器、中梁、避震折叠件、后叉件,前轮、后轮和电动驱动系统,包括带伸缩段的折叠车把由左手把、右手把、锁钩件、锁紧件、折叠基件、左中连杆、右中连杆和下锁件连接而成,前梁与折叠器和下锁件连接,中梁与折叠器和避震折叠件连接,中梁的槽型梁中能放入锂电池组和控制器,后叉件与避震折叠件连接,并具有折叠和避震的功能,后叉件的两后叉片上连接有折叠脚踏,折叠脚踏能让人站立骑行,前轮安装于前叉的下端,后轮安装于两后叉片的后端;电动驱动系统包括电机、电池、控制器和控制开关,电机设置于后轮。

标签:
加工技术
江苏 - 苏州 来源:中冶有色网 2023-03-19
高强度超轻合金及其制备方法

本发明公开了一种高强度超轻合金及其制备方法,所述合金各组分的质量百分比为:6~18wt%Li,0.5~9wt%Zn,0.2~2wt%Y,0.2~3wt%Si,余量为Mg和不可避免的杂质。该金属材料的制备方法包括熔炼、高温固溶热处理、热塑性变形、短时固溶热处理。本发明先对镁锂合金进行高温固溶热处理,使铸态合金中软化第二相固溶到基体中,获得了固溶强化,然后快速降温至指定温度,直接进行塑性变形,避免了传统均匀化处理存在的高温时效软化和长时间降温过程导致的时效软化,最后对塑性变形合金进行短时固溶热处理,消除塑性变形残余应力,并使残留的软化第二相固溶到基体中,进而达到充分固溶强化和塑性加工硬化的综合强化效果。

标签:
加工技术
江苏 - 苏州 来源:中冶有色网 2023-03-19
动力自发电电动自行车
动力自发电电动自行车 1163     
 0

本发明公开了一种动力自发电电动自行车,包括电动自行车轮胎、连接杆、发电装置和电池箱,所述电动自行车轮胎的中间连接有连接杆,所述连接杆的前端设有发电装置,所述发电装置的后部经过防水线管连接有电池箱,所述发电装置的中间两端设有连接轴,所述连接轴的外端设有脚踏板,所述连接轴的中间设有磁铁块,所述发电装置的顶部设有电量显示屏,所述发电装置的后侧内部设有磁感线圈,所述磁感线圈的两端设有感应块,所述电池箱的内部设有供电锂电池。该动力自发电电动自行车,高效的经过转动感应产生电量,动力自发电,实现了无线充电功能,便于实时充电,节能环保,多个弹簧夹持装置便于夹持稳定,使得充电稳定,安全可靠。

标签:
加工技术
江苏 - 苏州 来源:中冶有色网 2023-03-19
用于导电银浆的微珠玻璃及其制备工艺

本发明公开一种用于导电银浆的微珠玻璃及其制备工艺,所述微珠玻璃由下列重量份的组分组成:二氧化碲10~50份、氧化铋15~70份、氧化锌2~10份、氧化钨1~15份、氧化锂5~20份、氧化钼0.3~5份、氧化铝0.2~5份、硼酸0.3~5份、氧化硅0.2~2份;所述玻璃微珠粉的粒径D50为1~2μm;所述玻璃微珠粉投入松油醇、丁基卡必醇醋酸酯、油酸和聚乙烯吡咯烷酮形成的混合液中,80度保温条件下,搅拌3‑6小时,获得具有有机包覆层的球状玻璃珠。本发明微珠玻璃提高了浆料体系润滑性,增加透墨性,避免细栅线条中缺料问题,浆料在烧结时熔融玻璃不易流动,保持精细线型,适合窄开口网版细线印刷。

标签:
加工技术
江苏 - 苏州 来源:中冶有色网 2023-03-19
无顶盖电池结构
无顶盖电池结构 1494     
 0

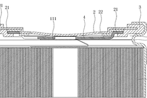
本发明提供了一种无顶盖电池结构,其包括电池外壳、设置于电池外壳内的电极组件和设置于电池外壳开口处的盖板组件,盖板组件包括防爆膜、绝缘件和拉板,所述防爆膜连接绝缘件,防爆膜的底部电连接拉板,拉板电连接电极组件。本发明所提供的一种无顶盖电池结构可以在保证电池正常工作的前提之下,有效地降低了电池的高度与质量,更加适合使用铝丝超声焊,同时,有效地增加了电池的泄压空间,从而满足了锂离子电池整体轻量化、小型化、安全化的发展需求。

标签:
加工技术
江苏 - 苏州 来源:中冶有色网 2023-03-19
缺陷基化合物锚定单原子复合材料及其制备方法与应用

本发明公开了一种缺陷基化合物锚定单原子复合材料及其制备方法与应用。所述缺陷基化合物锚定单原子复合材料包括缺陷基化合物、负载于所述缺陷基化合物上的单原子以及硫掺杂的纳米碳;所述硫掺杂的纳米碳具有多级孔结构,所述缺陷基化合物分布于所述硫掺杂的纳米碳的多级孔结构中;负载所述单原子的缺陷基化合物中单原子的含量为0.1~20at%;所述缺陷基化合物包括金属氧化物、金属硫化物、金属氮化物中的任意一种或两种以上的组合。本发明采用简单的方法制得了负载金属单原子的缺陷基复合材料,该方法条件温和,容易实现产业化;且复合材料中金属单原子和缺陷结构可提供丰富的催化活性中心,在可充电锂金属基电池中有很好的应用前景。

标签:
加工技术
江苏 - 苏州 来源:中冶有色网 2023-03-19
极耳胶片、极耳及电池

本发明提供了极耳胶片、极耳及电池,该极耳胶片用于铝塑膜和极耳之间的密封,极耳胶片用于贴敷于极耳的金属带的两面,包括依次层叠复合设置的第一胶体层、第二胶体层和第三胶体层,第一胶体层用于与铝塑膜接触,第三胶体层用于与极耳的金属带接触,第二胶体层的熔点大于第一胶体层和第三胶体层的熔点,第一胶体层包括以下重量组分:90‑100份聚丙烯树脂,0.1‑0.5份偶联剂;第三胶体层包括以下重量组分:90‑100份聚丙烯树脂,2‑10份马来酸酐。该发明的极耳胶片与极耳和铝塑膜热封时,形态变化微小,不易出现各层分离的现象,极耳胶片与极耳的金属带和铝塑膜粘接强度高,减小了锂电池使用过程中出现的电池边孔泄露的情况。

标签:
加工技术
江苏 - 苏州 来源:中冶有色网 2023-03-19
耐磨耐腐蚀附着力好的搪瓷釉料

本发明公开了一种耐磨耐腐蚀附着力好的搪瓷釉料,由如下组分组成:8~9质量份云母,1质量份焦磷酸钠,6质量份氧化锂,7质量份氧化硼,4质量份氧化钴,3质量份氧化钡,6质量份三氧化二铝,6~8质量份长石,4质量份氧化钙,8质量份氧化钠,8质量份聚乙烯蜡粉,7质量份氟化钙,10~15质量份石英。本发明搪瓷釉料,其该不易脱落、耐磨、耐腐蚀。

标签:
加工技术
江苏 - 苏州 来源:中冶有色网 2023-03-19
阻燃型电线护套材料及其制备方法

本发明公开了一种阻燃型电线护套材料,由如下原料制备而成,按重量份数计:聚偏氟乙烯60~75份、氯丁橡胶27~40份、甲基乙烯基硅橡胶18~30份、偏苯三酸三(2-乙基己酯)5~16份、肉豆蔻酸异癸酯3~15份、二辛基锡4~13份、氧化锆4~10份、碳化硅2~11份、碳酸镁3~10份、重质碳酸钙5~12份、石棉纤维3~10份、透锂长石1~7份和马来酸二丁酯1~5份。本发明还公开了所述阻燃型电线护套材料的制备方法。本发明所制备的电线护套材料的阻燃特性好,符合电缆行业的阻燃特性的要求。此外,所制备的电线护套材料的抗拉强度也较高,满足实际应用需求。

标签:
加工技术
江苏 - 苏州 来源:中冶有色网 2023-03-19
电解电容器用的电解液

本发明公开一种电解电容器用的电解液,所述电解电容器用的电解液包括有机溶剂、电解质锂盐、添加剂,本发明提供一种电解电容器用的电解液,具有高频低阻抗、耐热性好、耐压高的优点。

标签:
加工技术
江苏 - 苏州 来源:中冶有色网 2023-03-19
蓄电池用石墨烯复合物及其制备方法

本申请公开了一种蓄电池用石墨烯复合物及其制备方法,原料为聚苯醚、葡萄糖、石蜡油、石墨、硅灰石粉、钛白粉、四氢呋喃、硫酸钡、聚四氟乙烯和聚乙烯醇;在0.1M?KOH溶液中催化氧还原的极限电流密度达到5mA/cm2,起始电位达?0.05V?vs.?SCE;原料价格低廉,操作简单易行;不仅可以用于燃料电池氧还原反应非贵金属催化剂,还可用于超级电容器、锂离子电池等能量存储领域以及工业催化、环境处理等领域;不依赖于大型仪器设备,可实现蓄电池用石墨烯及其复合物的大规模生产。

标签:
加工技术
江苏 - 苏州 来源:中冶有色网 2023-03-19
复合隔膜的制备方法
复合隔膜的制备方法 745     
 0

本发明涉及一种复合隔膜的制备方法,包括(1)制备纳米单离子导体分散液;(2)将该纳米单离子导体分散液与聚合物均匀混合制备涂覆溶液;以及(3)将该涂覆溶液附着在多孔隔膜基材表面。该纳米单离子导体分散液为将氧化物纳米颗粒-P(AA-MMA)及氢氧化锂加入有机溶剂中混合并加热得到。

标签:
加工技术
江苏 - 苏州 来源:中冶有色网 2023-03-19
便携式吸尘器
便携式吸尘器 786     
 0

本发明公开了一种便携式吸尘器,包括:移动电源、过滤网、负压风机和带轴毛刷,所述移动电源与负压风机之间线性连接,所述过滤网设置在负压风机的上部,所述移动电源设置在过滤网的上部,所述带轴毛刷安装在负压风机的下部,并与负压风机的中心轴相连接,所述移动电源为可充电的锂电池或者镍氢电池。通过上述方式,本发明指出的一种便携式吸尘器,采用可充电的移动电源进行供电,便携性好,使用范围进一步扩大,而且小巧易掌握,使用方便,旋转毛刷,除尘效果好。

标签:
加工技术
江苏 - 苏州 来源:中冶有色网 2023-03-19
防火门夹芯板材料及其制造方法

本发明公开了一种防火门夹芯板材料及其制造方法,防火门夹芯板材料为两层结构,内层为陶瓷材料层,外层为涂料层,在陶瓷材料层周遭包覆涂料层,所述陶瓷材料层:包括陶瓷微珠5%~10%,锂辉石50%~70%,A12O10%~35%,Si0215%~40%,高岭土5%~10%,聚乙烯醇(PVA)1%~2%,氧化钡2%~5%,玻璃粉2%~5%,本发明具有如下优点:采用的原料工艺简捷,降低了生产能耗,质量可靠稳定,提高了防火门的耐火性能,延长使用寿命。

标签:
加工技术
江苏 - 苏州 来源:中冶有色网 2023-03-19
压强可控的固体粉末电导率测试装置

本发明涉及一种压强可控的固体粉末电导率测试装置,包含核心部件、商用数字源表、计算机数据处理系统三部分。核心部件由下底座、荷重传感器、绝缘垫、定位衡梁、滑轨定位器、滚轴、滑轨、上挡板、伺服电机、旋转编码器、控制器、样品测试模具等部件组成。荷重传感器可检测施加其上的压强;样品测试模具由上、中、下三部分组成,上、下部分为导电体,中部为绝缘中空模具;定位衡梁、滑轨限位器、滚轴、滑轨等可依据信号控制伺服电机前进和后退,速度由控制器给出;旋转编码器传递样品厚度值给控制器。本装置测试范围涵盖电导率极低的材料到导体材料, 例如 : 用该方法检测到的磷酸铁锂、碳纳米笼的电导率分别为8.23×10?9、6.44Scm?1。

标签:
加工技术
江苏 - 苏州 来源:中冶有色网 2023-03-19
复合导电脂及其制备方法

本发明提供了一种复合导电脂及其制备方法。制备方法如下:(1)将氢氧化钠、氢氧化锂和去离子水混合搅拌溶解得溶液A;(2)将聚α‑烯烃、蓖麻油和小麦胚芽油混合,加热至60‑80℃;(3)加入聚苯胺、凹凸棒土、聚丙烯酸钠、地蜡、松节油、纳米银和溶液A,在转速700‑1000r/min下搅拌20‑30分钟;(4)加热至100‑110℃,在转速80‑120r/min脱水稠化成脂;(5)降至室温,加入硫化猪油和二烷基二硫代磷酸锌,置于研磨机中进行研磨20‑30分钟即得。本发明的复合导电脂具有优良的抗磨性能,润滑效果卓越,同时具有良好的导电性能。

标签:
加工技术
江苏 - 苏州 来源:中冶有色网 2023-03-19
导电石墨烯复合物及其制备方法

本申请公开了一种导电石墨烯复合物及其制备方法,原料为三硝基甲苯、石墨、铜粉、酞菁亚铁、DOP、SEBS、丙三醇、ACR、水镁石和蛭石;在0.1M?KOH溶液中催化氧还原的极限电流密度达到5.5mA/cm2,起始电位达?0.04V?vs.SCE;原料价格低廉,操作简单易行;不仅可以用于燃料电池氧还原反应非贵金属催化剂,还可用于超级电容器、锂离子电池等能量存储领域以及工业催化、环境处理等领域;不依赖于大型仪器设备,可实现高质量石墨烯及其复合物的大规模生产。

标签:
加工技术
江苏 - 苏州 来源:中冶有色网 2023-03-19
硼掺杂多孔碳球的制备方法

本发明涉及一种硼掺杂多孔碳球的制备方法,包括以下步骤:1)将糖类碳源与硼酸溶于水中以一定比例混合、搅拌为透明溶液;2)加入硅基造孔剂形成硼掺杂多孔碳球前驱体溶液;3)所得的前驱体溶液经过(气溶胶辅助)喷雾干燥过程得到固态硼掺杂碳球前驱体颗粒;4)所得固体颗粒在惰性气氛中加高温热解,得到孔隙模板SiO2嵌入掺硼碳球的混合物;5)去除混合物中的硅基造孔剂并干燥,得到本发明所述的硼掺杂多孔碳球。本发明解决了现有硼掺杂碳材料技术存在的原料成本高、制备工艺繁杂、硼掺杂量低、难以规模化工业生产的问题,提供了一种优于商用石墨的锂离子电池负极替代材料。

标签:
加工技术
江苏 - 苏州 来源:中冶有色网 2023-03-19
带有指示灯的移动电源发明

本发明公开了一种带有指示灯的移动电源发明,包括:外壳、电池芯、USB接口和指示灯,所述外壳为塑料材质方形,所述电池芯固定在所述外壳的内部,所述电池芯为锂电电芯,输出电压为5V直流电压,输出电流为1A直流电流,所述USB接口共2个,水平固定在所述外壳的侧面,所述指示灯共4只,为依次水平排列在所述外壳的侧面的LED灯。通过上述方式,本发明带有指示灯的移动电源发明具有结构简单、有利于大规模生产、坚固耐用、方便实用、带有指示灯方便观察充电电量、有效防止充电过量对待充电设备造成损伤等优点,在带有指示灯的移动电源发明的普及上有着广泛的市场前景。

标签:
加工技术
江苏 - 苏州 来源:中冶有色网 2023-03-19
阿那格雷关键中间体、类似物或其盐的合成方法

本发明提供一种阿那格雷关键中间体、类似物或其盐的合成方法,包括以下几步:(1)将6-硝基-2,3-二氯苯甲醛与甘氨酸或相应取代的甘氨酸加入到溶液中,加入还原剂,完全反应,得到N-(6-硝基-2,3-二氯苄基)甘氨酸及其类似物;(2)将N-(6-硝基-2,3-二氯苄基)甘氨酸及其类似物在催化剂的作用下,反应完全,得到阿那格雷关键中间体、类似物或其盐;步骤(1)中所述溶液为质子性溶剂和无机碱的混合溶液,所述的还原剂为硼氢化钠、硼氢化钾、硼氢化锂、氰基硼氢化钠和醋酸硼氢化钠的一种或其混合物。该方法操作简单,条件温和易控,后处理方便,环境友好,收率更高,是一种全新、高效工业化合成阿那格雷关键中间体、类似物或其盐的方法。

标签:
加工技术
江苏 - 苏州 来源:中冶有色网 2023-03-19
新型的生产设备能耗及状态的控制盒

本发明公开了一种新型的生产设备能耗及状态的控制盒,包括设备能源监测模块与设备状态监测模块,所述设备能源监测模块包括锂电池、非接触式电源接收模块与非接触式电源采集模块,所述设备状态监测模块包括数据终端、4G数据交换模块、本地运行程序、数据正常采集模块、本地暂存模块、信号采集设备、非接触电压传感器、非接触电流传感器与NILM数据算法模块。本发明所述的一种新型的生产设备能耗及状态的控制盒,集成在单一控制盒中,效率及维护性大大提升,设备采用完全非接触式,不用额外对设备进行供电,不用停机可快速安装设备,采用NILM算法直接的计算设备状态及设备真实的能耗,可以非接触式的测量电压,设备不需要额外供电。

标签:
加工技术
江苏 - 苏州 来源:中冶有色网 2023-03-19
四甲基硅烷的合成方法

本发明公开了四甲基硅烷的合成方法,包括:以六甲基二硅氧烷作为原料,在甲基锂溶液中反应,得到四甲基硅烷。通过优化反应体系以及反应路线设计,实现了在原料成本、反应条件、产率等多方面的优化改进,从而有效改善了四甲基硅烷生产与推广应用的现状。

标签:
加工技术
江苏 - 苏州 来源:中冶有色网 2023-03-19
上一页 22 23 24 25 26 ... 500 ... 515 下一页
共515页    到第

中冶有色为您提供最新的江苏苏州有色金属材料制备及加工技术理论与应用信息,涵盖发明专利、权利要求、说明书、技术领域、背景技术、实用新型内容及具体实施方式等有色技术内容。打造最具专业性的有色金属技术理论与应用平台!

全国热门有色金属设备推荐
展开更多 +
全国热门有色金属技术推荐
展开更多 +

 

江西省隆恩特环保设备有限公司
宣传

报名参会
更多+

报告下载

有色专家
更多+

广东省科学院资源利用与稀土开发研究所
教授
武汉理工大学
外籍院士/教授
江西理工大学
副校长/教授
湖南有色金属研究院
教授级高工/原总工程师
矿冶科技集团有限公司工程公司
副总经理
赤泥综合利用研究报告2025
推广

热门技术
更多+

推荐企业
更多+

福建省金龙稀土股份有限公司
宣传

发布

在线客服

公众号

电话

顶部
咨询电话:
010-88793500-807