青岛垚鑫智能科技有限公司
宣传

位置:中冶有色 >

有色技术频道 >

> 固/危废处置技术

分类:
全部
矿山技术
冶金技术
材料制备及加工技术
环境保护技术
分析检测技术
 
全部
废水处理技术
大气治理技术
固/危废处置技术
土壤修复技术
地区:
全部
北京
天津
上海
重庆
河北
山西
辽宁
吉林
黑龙江
江苏
浙江
安徽
福建
江西
山东
河南
湖北
湖南
广东
海南
四川
贵州
云南
陕西
甘肃
青海
内蒙
广西
西藏
宁夏
新疆
其他
其他
展开
 
全部
济南
青岛
淄博
枣庄
东营
烟台
潍坊
济宁
泰安
威海
日照
滨州
德州
聊城
临沂
菏泽

山东有色金属固/危废处置技术理论与应用

免费发布技术信息>>
采用固体废弃物制备的陶瓷砖

本发明属于固废再利用技术领域,具体的涉及一种采用固体废弃物制备的陶瓷砖。所述的坯体,以重量份数计,由以下原料组成:陶瓷废料30‑35份、高岭土尾矿35‑40份、粉煤灰20‑25份、赤泥20‑25份、硅藻土10‑15份、棕刚玉5‑10份。本发明所述的采用固体废弃物制备的陶瓷砖,以陶瓷废料、高岭土尾矿和粉煤灰等固废为主要原料,在大大降低生产成本的同时,制备的陶瓷砖的性能优良。

标签:
固废
山东 - 淄博 来源:中冶有色网 2023-03-19
固体废弃物分类处理装置

本实用新型涉及固体废弃物处理技术领域,尤其涉及一种固体废弃物分类处理装置。其技术方案包括:箱体和粉碎箱,所述箱体顶部一侧安装有粉碎箱,所述粉碎箱内部两侧均安装有粉碎辊,所述粉碎箱顶部中间安装有进料斗,所述箱体内底部一侧安装有收集室A,所述箱体内底部位于收集室A一侧安装有收集室B,所述箱体内底部位于收集室B一侧安装有收集室C,所述箱体位于粉碎箱一侧中间安装有鼓风器。本实用新型解决了现有装置无法对固废垃圾进行粉碎处理,固废垃圾分类便捷性差,分类效果不佳,且无法对固废垃圾内部金属物进行剔除,极易造成处理设备损坏的问题,降低了固废垃圾的颗粒度,进而方便了固废垃圾的分类处理。

标签:
固废
山东 - 潍坊 来源:中冶有色网 2023-03-19
固体废料危险废料处理用可控制流量分筛设备

本实用新型涉及废料分筛技术领域,尤其涉及一种固体废料危险废料处理用可控制流量分筛设备,包括设备机架,设备机架其中一端设置有动力伺服电机以及动力变速箱,设备机架靠近底部外围均为框架结构,设备机架底端设置有矩形支撑座,分筛筒外壁设置有多个分筛通孔。本实用新型通过启动动力伺服电机,动力伺服电机的输出轴所发生的动力将通过动力变速箱传递至从动齿轮圈上,并通过从动齿轮圈带动分筛筒旋转,实现分筛的目的,同时,将物料通过分筛筒进入,经过旋转的分筛筒的作用,能够将进入的物料按照质量进行分离,通过控制动力伺服电机输出轴旋转速度,即可实现分筛筒不同转速的分筛效果,进而对物料分筛流量实现可控性。

标签:
固废
山东 - 潍坊 来源:中冶有色网 2023-03-19
综合利用固体废物生产水泥工艺

涉及水泥生产技术领域,本申请提供了一种综合利用固体废物生产水泥工艺,包括以下步骤:步骤一:首先对固体废物进行初步粉碎,获得初步固废颗粒;其中,所述初步固废颗粒的最大直径为≤4mm的颗粒;步骤二:对所得的初步固废颗粒进行烘干,使得所述固废颗粒中的含水量<1%。本发明,通过初步粉碎,将固体废物进行粉碎,再将其中的不可用物质全部剔除,从而使得初步固废颗粒的处于洁净状态。为提高研磨物料的粒度,要将固体废物的水分控制在1%以下,以使制粉效率更高。同时,通过特定的粉碎设备,避免在物料比表面积逐渐增大的过程中出现细微颗粒相互聚集、结团,提高粉碎质量。最终,使得粉料固废物在水泥原料中的占比更高。

标签:
固废
山东 - 淄博 来源:中冶有色网 2023-03-19
无污水和固体废物排放的晶体硅加工废砂浆专用除铁机

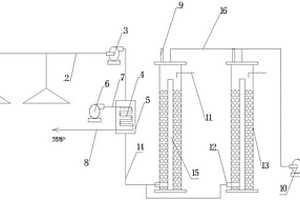
无污水和固体废物排放的晶体硅加工废砂浆专用除铁机由机架1、驱动电机2、固定磁辊3、转动滚筒4、除铁刮刀5、砂浆布料器6、铁粉喷淋洗涤器7、砂浆除铁流道8、砂浆出口9构成;其中的固定磁辊3通过中心轴10安装在机架1上,磁辊由强力永久除铁制作;转动滚筒4通过轴承12、驱动盘11安装在中心轴10上,与固定磁辊3按间隙配合组装在一起,在驱动电机2的作用下连续转动,把吸附的铁粉输送到刮刀5处清除出去;砂浆除铁流道8的厚度不大于磁铁对砂浆中铁粉的作用距离,以确保除铁除铁效果;其中的转动滚筒4、除铁刮刀5、砂浆布料器6、铁粉喷淋洗涤器7、砂浆除铁流道8、砂浆出口9采用非磁性材料加工制作。

标签:
固废
山东 - 临沂 来源:中冶有色网 2023-03-19
固体废弃物回收用挤压装置

本发明涉及固体废弃物技术领域,且公开了一种固体废弃物回收用挤压装置,包括挤压装置,挤压装置包括导轨和出水管。该固体废弃物回收用挤压装置,通过在底座底面内壁安装弹簧,底座底面内壁安装触碰开关,弹簧位于滑槽内部,触碰开关与底座底面内壁安装,触碰开关位于弹簧内部,滑块底面安装触碰块,当收集箱内装载固废,通过固废的重量使收集箱向底座底面方向位移,从而使滑块在滑槽内滑动,使触碰块与触碰开关触碰,触碰开关控制液压杆推动挤压块对固废进行压缩,从而控制固废压缩块的重量,使固废压缩块的重量相对相同,避免了固废压缩块因重量差异大,导致在运输过程中,因质量不均匀,而导致运输过程中存在安全隐患。

标签:
固废
山东 - 潍坊 来源:中冶有色网 2023-03-19
固体废弃物焚烧用的废气净化处理装置

本实用新型公开了一种固体废弃物焚烧用的废气净化处理装置,具体涉及废气净化处理设备技术领域,包括净化箱箱体,所述净化箱箱体的前表面顶端位置安装有控制开关,且净化箱箱体的前表面底部开设有水位线,所述净化箱箱体的前表面靠近底部嵌入设置有出水口,所述出水口的前侧安装有连接管,且出水口与连接管的连接处周向侧外壁套设有卡位机构。本实用新型通过设置了卡位机构,可将出水口与连接管进行快速连接固定,水源经过多个喷头中的喷孔对废气进行喷淋,可对废气进行降尘降温处理,设置了安装板以及格栅,能够对废气中携带的大颗粒物质进行拦截,安装板从安装槽中取出,方便对格栅进行清洁,提高格栅的过滤拦截效果。

标签:
固废
山东 - 淄博 来源:中冶有色网 2023-03-19
氧化铝厂固体废弃物的综合处理工艺

本发明公开了氧化铝厂固体废弃物的综合处理工艺,属于固体废弃物处理技术领域。该工艺将提砂提铁后的固废或固废直接与电石泥或石灰乳、液态或固态烧碱、后续碱液等混合,主要采用高温、高苛性比值的溶出工艺,改变赤泥的渣相,实现氧化铝和氧化钠的高效回收利用,配套以沉降分离、蒸发提浓、铝酸钠结晶析出等实现了系统循环。所述的固体废弃物为氧化铝厂的赤泥、尾矿或品位较低的铝矿石。该种工艺固废中氧化铝的回收率可达到60%~90%,氧化钠的回收率可达到90%以上,效益显著;固废中的碱可降低到1%以下,达到了碱质土壤的碱度范围,压滤后可以直接做为土壤使用,没有环保风险,真正实现废物资源化和环境友好化。

标签:
固废
山东 - 聊城 来源:中冶有色网 2023-03-19
石材加工固体废弃物废渣的综合利用方法

本发明公开了一种石材加工固体废弃物废渣的综合利用方法,石材加工过程中,锯片、切削、磨片过程均有废料产生,其中尤以微细粉末对环境产生严重的污染,经常发生局部的“沙尘暴”和水源污染,给该地区人们的生活和生产带来严重影响。本发明首先对石材加工废料进行分选和粗加工,制出普通建筑和筑路用的石子和砂子;粉末状物质则用风力空压机带动的气流磨破碎并分级至直径小于74μm和直径小于50μm的微细粉,直径小于50μm的粉末物质,经过表面改性,制成优质的涂料、橡胶、塑料、造纸工业使用的填料,是一项减少石材加工企业固体废弃物--废渣污染、变废为宝的好方法。

标签:
固废
山东 - 烟台 来源:中冶有色网 2023-03-19
废纸箱造纸固体尾废无害化利用加工技术及其产品

本发明公开了一种废纸箱造纸固体尾废无害化利用加工技术及其产品,加工技术包括尾废的梳解、磁选、碎切、烘干、混炼和挤出成型。该技术对废纸箱造纸产生的终极尾废进行无害化处理,全部将其转化为管材或者盆体等有应用价值的产品,处理的工艺和设备简单,处理成本低,无二次污染。尾废经处理所制作的产品具有成本低、坚固耐用的特点。真正实现了尾废的资源化无害化,解决了多年来困扰造纸业发展的普遍性难题。

标签:
固废
山东 - 潍坊 来源:中冶有色网 2023-03-19
利用高热值危险废物与市政固体废物同步资源化的方法

本发明一种利用高热值危险废物与市政固体废物同步资源化的方法,包括步骤如下:(1)将脱水污泥、建筑渣土、发电厂燃料残渣按(3~5)∶(2~4)∶(1~3)质量比混合,陈腐20~30天,得堆制物料;(2)将危险废物混合并均化粉碎后,于1500℃以上温度条件下无氧热解1~2h,得热解气和热解渣;热解气于5000℃以上温度条件下等离子气化5-10s,得到人造可燃气;(3)将热解渣水淬后与堆制物料按1∶(60-80)体积比混合均匀,造粒得生料球;(4)将生料球烧结成型,冷却,即得陶粒成品。本发明降低了一次能源及资源的开采,降低了对自然环境的破坏,有利于原有生态系统的保持与优化,提高了产业收益。

标签:
固废
山东 - 济南 来源:中冶有色网 2023-03-19
环保型固体废物用焚烧废气处理装置

本实用新型公开一种环保型固体废物用焚烧废气处理装置,包括进气管和卡槽,所述进气管的一端连接有螺纹杆;所述螺纹杆的顶部连接有密封塞,所述密封塞的顶部连接有进气口,所述进气口的一侧连接有机体,所述机体的表面连接有废气管道,所述废气管道的顶部表面连接有连接块,所述卡槽的内部开设有连接块,所述卡槽的内壁连接有卡块,所述卡块的顶部连接有遮罩。该环保型固体废物用焚烧废气处理装置,通过螺纹连接将进气管和进气口固定,密封塞使进气管和进气口连接处的缝隙被填充,从而达到增强气密性的目的,使用者通过旋转遮罩,遮罩通过卡块旋转脱离卡槽,使遮罩和废气管道连接脱离,达到便于拆卸遮罩的目的,从而便于清理遮罩。

标签:
固废
山东 - 济南 来源:中冶有色网 2023-03-19
固体废物的焚烧废气处理装置

本实用新型涉及废气处理技术领域,具体公开了一种固体废物的焚烧废气处理装置,包括支撑板,所述支撑板的底部设有滚轮,所述支撑板上安装有一级过滤箱和二级过滤箱,所述一级过滤箱内由上至下依次设有活性炭过滤器和吸风机,所述一级过滤箱的顶部连接有自定型软管,所述一级过滤箱的底部连接有送气软管,所述送气软管与所述吸风机的出风口连通,所述二级过滤箱内装有吸收液,所述送气软管从所述二级过滤箱的上部伸入所述二级过滤箱内,所述送气软管的管口设于所述吸收液的液面的下方,所述二级过滤箱的上部设有出气口,所述二级过滤箱的底部设有放料阀,本实用新型结构简单设计合理,便于处理小批量固体废物的焚烧废气。

标签:
固废
山东 - 淄博 来源:中冶有色网 2023-03-19
固体废物用焚烧废气处理装置

本实用新型公开一种固体废物用焚烧废气处理装置,包括机体和滑块,所述机体一侧设置有气管;所述气管内部设置有过滤网,所述过滤网两端连接有第一弹簧,所述第一弹簧一端连接有连接块,所述气管内部连接有对接块,所述对接块内部设置有卡块,所述卡块表面套接有第二弹簧,所述气管顶部设置有安装块,所述安装块内部连接有固定块,所述固定块内部开设有第一滑槽。该固体废物用焚烧废气处理装置,通过操作者将连接块向对接块内部移动,挤压卡块,在第二弹簧的弹性扩张作用下,使连接块固定在卡块上方,使过滤网被固定在气管的内部,起到了通过过滤网的过滤作用将废气中的废渣过滤的作用。

标签:
固废
山东 - 济南 来源:中冶有色网 2023-03-19
内设粉碎机构可进行固体废物混合的医疗废水处理装置

本发明涉及一种废水处理装置,具体地说,涉及内设粉碎机构可进行固体废物混合的医疗废水处理装置。其包括粉碎件和设置在粉碎件下方的沉淀装置,所述粉碎件包括顶板,所述顶板的顶部安装有驱动电机,所述驱动电机的输出轴贯穿顶板,并且连接有传动轴,该内设粉碎机构可进行固体废物混合的医疗废水处理装置中,通过粉碎刀转动在沉淀桶内,使固体物被粉碎并与废水混合,废水的重量压动活塞板,活塞室内液体便通过输液通道和喷头喷出到沉淀桶内壁,解决了由于固体物浸泡在废水内,在粉碎时,固体物会通过离心力被甩到桶壁上,并通过废水附着在内壁,且固体物大小不一,需要进行多次打捞,导致废水内杂质沉淀效率降低的问题。

标签:
固废
山东 - 潍坊 来源:中冶有色网 2023-03-19
便于收纳废料的固体废物破碎装置

本实用新型公开了一种便于收纳废料的固体废物破碎装置,包括底座和下坠块,所述底座顶部安装有支撑架,所述支撑架两侧连接有侧板,靠近侧板的所述支撑架两侧安装有气缸,所述气缸一端连接有推动杆,所述推动杆一端连接有推动板,所述推动板底部开设有导向槽,靠近导向槽的所述底座顶部固定有导轨,所述支撑架一侧固定有固定杆,所述固定杆一侧开设有挤压槽。该便于收纳废料的固体废物破碎装置设置有废料粉碎后会掉落到底座上,当底座上的废料堆积一定量时气缸工作可以带动推动杆进行移动,推动杆移动时可以推动推动板进行移动,推动板移动时可以带动导向槽与导轨进行滑动,推动板移动时可以将废料推动到指定位置,方便碎料进行收纳。

标签:
固废
山东 - 济宁 来源:中冶有色网 2023-03-19
用危险废物、固体废物制造的陶瓷制品

“用危险废物、固体废物制造的陶瓷制品”涉及用各种危险废物、固体废物、被危险废物污染的土壤采用传统陶瓷生产工艺制造陶瓷制品,包括艺术陶瓷制品、化工陶瓷制品、热交换或混合或反应设备中的填充陶瓷制品、建筑陶瓷制品、卫生陶瓷制品、日用陶瓷制品、陶瓷太阳板制品、红外线发射体陶瓷制品;陶瓷制品的浸出液中总铬<1.5mg/L,六价铬<0.5mg/L,钡<10mg/L,镍<0.3mg/L,铜<20mg/L,锰<40mg/L,汞<0.03mg/L,锌<40mg/L,铅<0.15mg/L,镉<0.1mg/L,铍<0.012mg/L,砷<0.2mg/L,硒<0.7mg/L。

标签:
固废
山东 - 济南 来源:中冶有色网 2023-03-19
火电厂废气处理用固体废物储纳设备

本实用新型公开了火电厂废气处理用固体废物储纳设备,其废气处理管道的内腔固连有挡网,废气处理管道的左侧连通有位于挡网下方的废气进管,废气处理管道的内腔设置有位于挡网与废气进管之间的导向组件,导向组件的顶部连接有清理刷,废气处理管道内腔的底部固连有基块,基块的顶部安装有电机,电机的输出轴固连有转盘,转盘的前侧偏心固连有驱动块,基块的前侧转动连接有摆杆,摆杆上开设有条形孔,驱动块的表面与条形孔的内壁滑动连接,摆杆的顶部滑动连接有活动杆,废气处理管道的底部设置有放料组件,废气处理管道内腔的底部设置有遮挡组件。该固体废物储纳设备可实现固体废物的便捷清理储纳,且不影响废气排放作业的连续性。

标签:
固废
山东 - 枣庄 来源:中冶有色网 2023-03-19
医用废液固体废弃物收集装置

医用废液固体废弃物收集装置,用于方便废液、固体废弃物的收集。它包括:集水布,在所述集水布上设有圆孔;引导管,所述引导管与集水布固定连接且引导管与圆孔连通,在引导管内侧设有筛网。本发明提供的医用废液固体废弃物收集装置,可以实现对废液和固体废弃物的收集,且收集时操作方便,仅需将该装置置于排液处,或者将固体废弃物直接丢至引导管内;集水布的设置,具有较大的表面积,可以避免废液的溅洒。

标签:
固废
山东 - 济南 来源:中冶有色网 2023-03-19
无污水和固体废物排放的晶体硅加工废砂浆综合处理技术

一种无污水和固体废物排放的晶体硅加工废砂浆综合处理技术,在回收废砂浆切割液PEG之前,首先磁选回收废砂浆中的Fe粉,干燥后作为粉末冶金的原料;除铁后的三元废砂浆压滤,得到含SiC、Si的为主的滤饼和含切割液PEG为主的滤液;滤液经过精制处理得到合格的切割液PEG;滤饼在干燥脱水后,利用其中残余的3~~5的PEG压制成陶瓷毛坯,在氮化炉中氮化烧结成氮化硅结合碳化硅陶瓷材料;滤饼干燥后的含SiC、Si的二元砂通过碳化或氮化处理,使其中的Si粉转化成纳米SiC或纳米Si3N4;洗涤分离SiC、Si的二元砂反应产物,分别得到微米级SiC和纳米SiC或纳米Si3N4;整个生产过程无工艺废水和固体废弃物排放。

标签:
固废
山东 - 临沂 来源:中冶有色网 2023-03-19
光伏晶体硅加工废砂浆综合处理技术

光伏晶体硅加工废砂浆综合处理技术:按照申请号201110101064.7《光伏电池晶体硅加工废砂浆综合处理新方法》处理晶体硅加工废砂浆,完成分离、回收废砂浆中的PEG和铁后,把由SiC、Si微粉组成的二元砂进行气流分离处理,得到SiC≥90%、Si≤10%、粒度5-30um的SiC微粉;Si≥95%、SiC≤5%、粒度≤10um的Si微粉;把SiC微粉加入适量的粘合剂压制成型,经干燥后用N2≥95%的氮气,1100-1650℃在氮化烧结炉氮化烧结,得到以氮化硅为结合剂的碳化硅陶瓷制品;把Si微粉利用压缩N2喷入气流床反应器,形成旋流,以利于3Si+2N2=Si3N4-733kJ反应的进行和反应产物的收集回收,控制反应温度在1000-1600℃左右,实现氮化硅粉体的无球磨连续生产。

标签:
固废
山东 - 临沂 来源:中冶有色网 2023-03-19
固体废物燃烧废气处理装置

本实用新型属于固废处理技术领域,具体涉及一种固体废物燃烧废气处理装置,包括废气收集罩体、第一引风机、鼓风机、换热箱、换热盘管、立式曝气柱、第二引风机,废气收集罩体通过第一管线与第一引风机进风口连接,第一引风机出风口通过管道与换热箱连接,立式曝气柱具有空腔且空腔内底板上垂直固定有曝气管,曝气管表面具有气孔,曝气管与立式曝气柱侧面设置的进气口连接,换热箱通过第二管线与进气口连接,立式曝气柱顶部通过第三管线与第二引风机连接;换热盘管位于换热箱内,换热盘管进风口通过第五管线与鼓风机连接,换热盘管出风口通过第四管线与焚烧炉的进风管道连接。本实用新型可除去固废燃烧时废气中异味,同时节约资源。

标签:
固废
山东 - 济宁 来源:中冶有色网 2023-03-19
含有大块固体杂质的废弃高分子聚合物及有机危废的裂解或热解工艺

本发明涉及固废及有机危废的裂解或热解领域,具体提供了一种含有大块固体杂质的废弃高分子聚合物及有机危废的裂解或热解工艺,所述的固体杂质粒径小于200mm,含有这类固体杂质的裂解或热解原料不进行筛分和破碎直接送入裂解或热解器进行裂解或热解,裂解或热解产生的固态产物经过两次筛分后,与常用导热介质尺寸接近的固体物质作为热载体直接在工艺内回用,直至其转化为小粒径或粉状产物后连续排出裂解或热解器;采用这种裂解或热解工艺,可以对含有粒径小于200mm固体杂质的废弃高分子聚合物及有机危废直接进行热裂解或热解,减少了项目的占地、设备的投入及运行费用等,且与常用导热介质尺寸接近的固体物质充当热载体使用提高了裂解或热解的效率。

标签:
固废
山东 - 济南 来源:中冶有色网 2023-03-19
固体废弃物筛分设备及筛分方法

本发明公开了固体废弃物筛分设备及筛分方法,属于筛分设备及筛分方法,其结构包括筛体、传动装置、进料机构、机架和外壳,筛体倾斜设置在外壳内与传动装置相连,筛体包括带筛孔的筛板和锯齿状挡板,筛体左侧的外壳上设置有低出料口,筛体右侧的外壳上设置有高出料口,筛体下部的外壳上设置有第一中出料口和第二中出料口,传动装置包括动力装置、第一曲轴、第二曲轴、第三曲轴、第四曲轴、第一中间轴、第二中间轴、第一同步齿轮箱和第二同步齿轮箱,进料机构包括输送机和溜槽,机架包括底盘和支腿。本发明具有不仅能够提高固体废弃物的分选效率,降低了工人的劳动强度,而且环保节能,不会影响人体健康,高频运动,有效避免物料堵塞等特点。

标签:
固废
山东 - 济南 来源:中冶有色网 2023-03-19
固体废弃物的回收再利用方法及以该固体废弃物为原料制得的玻璃

本发明公开了一种固体废弃物的回收再利用方法,所述固体废弃物含有硅、铝、钙、钠的氧化物,将固体废弃物直接制成玻璃或者以固体废弃物为玻璃的原料之一与其他原料混合制成玻璃。本发明还公开了以该固体废弃物为原料制成的玻璃。所述固体废弃物可以是含有硅、铝、钙、钠的氧化物的任意领域的固体废弃物。本发明提出将固体废弃物直接玻璃化或添加部分其它廉价矿物后再玻璃化的思路,固体废弃物利用率分别高达100%和60%,所得制品性能可满足一般需求,且这些制品可百分之百回收再利用,实现了变废为宝、保护环境的、可持续发展的多重目标。

标签:
固废
山东 - 济南 来源:中冶有色网 2023-03-19
基于工业钙基固废和二氧化碳尾气的混凝土微裂缝注浆修补装置及工作方法

本发明涉及一种基于工业钙基固废和二氧化碳尾气的混凝土微裂缝注浆修补装置及工作方法,属于混凝土修补领域。包括修复剂制备装置、修复剂输送装置和注浆修补装置;贮液池上方设置有注水口,贮液池内为按比例配置的钙基工业固体材料和去离子水的混合液,二氧化碳气罐通过管道连接到贮液池;修复剂输送装置包括水泵和输送软管,注浆修补装置包括注液枪,水泵将贮液池内的溶液通过输送软管输送至注液枪,注液枪上设置有加热板。本发明可以封存二氧化碳,且制备的碳酸氢钙溶液作为混凝土微裂缝修复剂,流动性高,可在混凝土微裂缝中产生具有胶结作用的碳酸钙晶体,填充空隙并搭建起网状结构,逐渐与原混凝土形成整体结构,完成裂缝修补。

标签:
固废
山东 - 济南 来源:中冶有色网 2023-03-19
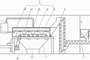
固废分选设备
固废分选设备 909     
 0

本实用新型涉及固体物料分离技术领域,特别涉及一种固废分选设备,包括抛丸灰磁选机,该抛丸灰磁选机包括支架、进料斗、出料斗、排料斗、电机驱动的链传动和若干个磁辊,其中,抛丸灰磁选机还包括工业吸尘器和设置在支架上方的风箱,风箱从上往下依次设置有密封的出风腔和吸风腔,吸风腔罩住若干个磁辊;出风腔顶部设置有进风口;出风腔底部设置有若干个出风口,出风口与磁辊轴线方向相对应;吸风腔的侧壁上设置有吸风口;工业吸尘器的吸入口与吸风口相通,工业吸尘器的出风管与进风口相通。以此降低了粉尘污染,提高了抛丸灰的处理质量。

标签:
固废
山东 - 烟台 来源:中冶有色网 2023-03-19
农村生活垃圾固废预处理装置

本实用新型涉及垃圾处理技术领域,特别涉及一种农村生活垃圾固废预处理装置,其包括带有若干个车轮的箱体,箱体内设置有横向输送机,横向输送机的左侧设置有进料口,横向输送机的右侧设置有出料口,横向输送机的上方设置有若干个用于分拣垃圾的机械手,横向输送机的下方从左往右依次被分隔为处理室A、处理室B和处理室C;处理室A用于破碎固体塑料垃圾;处理室B用于破碎餐厨垃圾;处理室C用于破碎玻璃垃圾;若干个机械手用于将各自分拣的垃圾分别投进相对应的处理室A、处理室B和处理室C,以此提高了垃圾处理效率以及分类后的利用效率;同时,能够实现生活垃圾明确分类。

标签:
固废
山东 - 烟台 来源:中冶有色网 2023-03-19
污水固废分离装置
污水固废分离装置 934     
 0

本实用新型公开了一种污水固废分离装置,包括分离箱,所述分离箱内设有内箱,所述内箱周侧设有多个出水孔,所述内箱外部设有内箱架,所述分离箱底端中部设有电机,所述电机输出端穿过分离箱设有电动伸缩杆,所述电动伸缩杆伸缩端与内箱架底端固定连接;通过设置的电机,可带动内箱架内内箱中的污水转动,从而进行固液分离,分离效果较好,效率较高,当分离彻底后,伸缩杆把内箱推出分离箱,通过挂钩即可取出内箱中的固体,该实用新型大大提高了装置的适用环境和整体性能,实用简单,安全可靠,使用寿命长,易于推广。

标签:
固废
山东 - 临沂 来源:中冶有色网 2023-03-19
便于清理固废的固液分离污水处理装置

本实用新型公开一种便于清理固废的固液分离污水处理装置,其中,包括筒体和固定架,所述筒体为圆柱形结构,所述筒体顶端的中心位置设置有电机,所述电机的输出端设置有转轴,本实用新型通过设置有粉碎箱、粉碎辊组、支撑杆、进料斗和出料口等相互配合使用,首先将要处理的污水通过进料斗进入到粉碎箱内进行粉碎处理,有效的避免了因大块的固体垃圾因体积较大对污水处理装置造成堵塞,影响工作效率;通过在搅拌杆上设置有第一毛刷安装板和第一毛刷在进行污水处理的同时对筒体内壁进行清理,避免垃圾粘附在筒壁表面难以清理。

标签:
固废
山东 - 临沂 来源:中冶有色网 2023-03-19
上一页 228 229 230 231 232 ... 234 下一页
共234页    到第

中冶有色为您提供最新的山东有色金属固/危废处置技术理论与应用信息,涵盖发明专利、权利要求、说明书、技术领域、背景技术、实用新型内容及具体实施方式等有色技术内容。打造最具专业性的有色金属技术理论与应用平台!

全国热门有色金属设备推荐
展开更多 +
全国热门有色金属技术推荐
展开更多 +

 

江西省隆恩特环保设备有限公司
宣传

报名参会
更多+

报告下载

有色专家
更多+

昆明理工大学
副校长
矿冶科技集团江苏北矿金属循环利用科技有限公司
书记 / 总经理
中国矿业大学(北京)
院长/教授
江西铜业集团有限公司
党委书记、董事长
石家庄铁道大学
团委书记/副教授
赤泥综合利用研究报告2025
推广

热门技术
更多+

推荐企业
更多+

福建省金龙稀土股份有限公司
宣传

发布

在线客服

公众号

电话

顶部
咨询电话:
010-88793500-807