青岛垚鑫智能科技有限公司
宣传

位置:中冶有色 >

有色技术频道 >

> 加工技术

分类:
全部
矿山技术
冶金技术
材料制备及加工技术
环境保护技术
分析检测技术
 
全部
功能材料技术
复合材料技术
新能源材料技术
合金材料技术
加工技术
地区:
全部
北京
天津
上海
重庆
河北
山西
辽宁
吉林
黑龙江
江苏
浙江
安徽
福建
江西
山东
河南
湖北
湖南
广东
海南
四川
贵州
云南
陕西
甘肃
青海
内蒙
广西
西藏
宁夏
新疆
其他
其他
展开
 
全部
武汉
黄石
十堰
宜昌
襄阳
鄂州
荆门
孝感
荆州
黄冈
咸宁
随州
恩施土家族苗族自治州
仙桃
潜江
天门

湖北武汉有色金属加工技术理论与应用

免费发布技术信息>>
一维In2O3/C纤维复合材料、其制备方法和应用

本发明公开了一种一维In2O3/C纤维复合材料、其制备方法和应用,包括以下步骤:(1)将铟盐、聚丙烯腈(PAN)在溶剂中混合均匀,得到纺丝前驱体混合溶液;(2)将纺丝前驱体混合溶液在高压下进行静电纺丝,得到纤维前驱体;(3)将所得纤维前驱体在氮气氛中以500~650℃煅烧3~5h;(4)在空气氛中以100~120℃煅烧3~5h,得到一维In2O3/C纤维复合材料材料。本发明制备的一维In2O3/C纤维复合材料,结构均一、氧化铟粒子尺寸微小、均匀分布在碳纤维内外。该材料用于锂离子电池负极时,在100mA?g?1、100圈循环之后具有高达350mAh?g?1的容量。

标签:
加工技术
湖北 - 武汉 来源:中冶有色网 2023-03-19
新型铝塑封装膜
新型铝塑封装膜 1087     
 0

本发明公开了一种新型铝塑封装膜,该封装膜主要包括外膜层11、附着层12、经过阳极氧化处理的铝箔层14、附着层15和内膜层16,其特征在于对铝箔的一面或两面进行阳极氧化处理,使其具有良好的防腐蚀性能和表面粘结性。使用该方法制造的铝塑封装膜具有良好的阻隔性能,解决了铝塑封装膜耐电解液性能差的问题。该铝塑复合封装膜可用于锂电池、食品、药品等的软包装。

标签:
加工技术
湖北 - 武汉 来源:中冶有色网 2023-03-19
B相二氧化钒自缓冲混合纳米材料及其制备方法和应用

本发明涉及B相二氧化钒自缓冲混合纳米材料及其制备方法,该材料可作为高功率长寿命锂离子电池正极活性材料,由B相二氧化钒纳米卷、B相二氧化钒纳米带和B相二氧化钒纳米线构成;包括有以下步骤:量取V2O5溶胶并稀释于去离子水中得到溶液;向所得溶液中加入聚乙烯吡咯烷酮PVP粉末;所得溶液中加入聚乙二醇PEG400溶液,继续搅拌;所得溶液持续搅拌并在室温下陈化;所得的溶液转入反应釜中,加热进行反应,取出反应釜,自然冷却至室温;所得产物离心过滤,用去离子水和无水乙醇反复洗涤所得沉淀物,烘干,得到B相二氧化钒自缓冲混合纳米材料。本发明具有工艺简单、反应条件温和、材料电化学性能优异的特点。

标签:
加工技术
湖北 - 武汉 来源:中冶有色网 2023-03-19
自流动间位芳纶及其制备方法

一种自流动间位芳纶及其制备方法。其制备步骤为:1)将带有磺酸基团的间苯二胺、以及添加剂氯化锂或氯化钙溶于溶剂中配制成溶液,使溶液温度保持在80~100℃,再加入间苯二甲酰氯溶液,随后将反应温度降低,在1~8min使间苯二甲酰氯在惰性气体和快速搅拌的条件下加入到含有磺酸基团的间苯二胺的溶剂中反应;2)向步骤1)溶液中添加碱,反应,再添加季铵盐溶液进行反应,当反应5~7小时后,合成反应结束,得到自流动间位芳纶材料,其分子量为2000~40000,热分解温度为300~600℃,可以溶解于水和多数有机溶剂。用它制得的芳纶纤维断裂伸长率为2~4%,抗压强度为0.01~1.00GPa,拉伸强度为1000~6000MPa,弹性模量为1~1.6MPa。本聚合反应平和,可控性好,改变季铵盐的结构,可以调节聚合物的溶解性能。

标签:
加工技术
湖北 - 武汉 来源:中冶有色网 2023-03-19
硅负极材料及其制备方法和应用

本发明特别涉及一种硅负极材料及其制备方法和应用,属于锂离子电池技术领域,所述硅负极材料包括碳材料和硅材料,所述碳材料包覆于所述硅材料表面,以抑制所述硅材料在电化学过程中的体积膨胀,碳包覆到硅表面抑制硅材料在电化学过程中的体积膨胀,提高其电化学性能,解决目前硅材料充放电体积膨胀率高的问题。

标签:
加工技术
湖北 - 武汉 来源:中冶有色网 2023-03-19
6-氨基-6-脱氧纤维素的制备方法

本发明涉及一种合成6‑氨基‑6‑脱氧纤维素的方法,步骤如下:1)将纤维素溶解在溴化锂的N,N‑二甲基乙酰胺溶液中,然后将三苯基膦和溴代丁二酰亚胺的DMAc溶液依次滴入上述纤维素溶液中,搅拌反应,得到6‑溴‑6‑脱氧纤维素;2)将步骤1)得到的6‑溴‑6‑脱氧纤维素溶解在二甲亚砜溶液中,加入过量叠氮化钠,反应后得到6‑叠氮‑6‑脱氧纤维素;3)将步骤2)得到的6‑叠氮‑6‑脱氧纤维素溶解在二甲亚砜溶液中,加入过量硼氢化钠,反应得到6‑氨基‑6‑脱氧纤维素。本发明用硼氢化钠可将叠氮基完全还原为氨基,可得到高纯度、高取代度的6‑氨基‑6‑脱氧纤维素,采用的工艺操作简单、高效,所需原料易得。

标签:
加工技术
湖北 - 武汉 来源:中冶有色网 2023-03-19
全息聚合物电解质及其制备方法与应用

本发明公开了一种全息聚合物电解质及其制备方法与应用,其中聚合物电解质包括彼此相间分布的两相结构,这两相结构分别为光惰性区和光聚合物区;其中,光惰性区主要由电解液构成,用于作为锂离子传递通道;光聚合物区则是由单体经光聚合反应得到的。本发明通过对聚合物电解质的关键结构构成及其相应组分进行调整,并对制备方法整体工艺流程以及各个步骤的反应条件等进行改进,相应的可以形成具有良好离子传输性能的聚合物电解质。本发明尤其优选采用激光全息加工技术可控制明暗相间干涉条纹的分布特性,能够得到具有有序结构的全息聚合物电解质,与现有技术相比,本发明形成的长程有序的离子传导通道实现了离子传导和机械强度的解耦合。

标签:
加工技术
湖北 - 武汉 来源:中冶有色网 2023-03-19
复合储氢材料的制备方法及其应用

本发明公开了一种复合储氢材料的制备方法,先将氯化铝与硼氢化锂以摩尔比为1:2—1:4的比例均匀混合,然后对上述混合物在低温下进行恒温加热,再将加热产生的气体通入高交联多孔苯乙烯–二乙烯苯共聚物,即得硼氢化铝/高交联多孔苯乙烯–二乙烯苯共聚物复合材料,作为氢源材料,可于较低的加热温度下获得大量高纯氢气,制备工艺简单,易于实现,而且成本适中;还公开了其应用,用于释放氢气。

标签:
加工技术
湖北 - 武汉 来源:中冶有色网 2023-03-19
全方向运动球形机器人
全方向运动球形机器人 1095     
 0

本发明公开了一种全方向运动球形机器人。该机器人主要由球形外壳、偏心推动装置、运动控制模块组成。其中,偏心推动装置由六个轮辐对称安装在球壳内构成,通过盘式直流伺服电机控制配重块沿导轨做径向运动;运动控制模块通过无线通讯收发指令控制机器人运动;配重块内安装实现机器人自主供电的锂电池。所发明的全方向运动球形机器人通过控制六个轮辐上配重块的位置,改变机器人内部质量分布,使机器人在偏心力矩的作用下实现平面上的全方向滚动。该机器人结构紧凑、运动灵活、对环境适应能力强,可应用于危险环境的探测工作,在军工领域有很强的应用前景。

标签:
加工技术
湖北 - 武汉 来源:中冶有色网 2023-03-19
氮掺杂多孔垂直石墨烯纳米墙阵列及其制备方法与应用

本发明提供了一种氮掺杂多孔垂直石墨烯纳米墙阵列,利用氢氧化镍作为模板,多巴胺的自组装性质形成致密包覆层,随后高温碳化制备了一种氮掺杂垂直石墨烯纳米墙阵列材料,并在其基础上进行原位功能化修饰,得到了负载贵金属纳米颗粒、贵金属合金纳米颗粒、金属氧化物、金属硫化物、金属磷化物、导电高分子等复合功能材料,探究了在超级电容器、锂离子电池、水分解、电化学催化、无酶生物传感器等领域的应用。

标签:
加工技术
湖北 - 武汉 来源:中冶有色网 2023-03-19
包覆型阻燃剂的制备方法及应用

本发明提供了一种包覆型阻燃剂的制备方法,包括以下步骤:1)将阻燃剂粉体放入多孔容器中,多孔容器置于反应室内,对反应室抽真空、置换氮气至少三次;2)对阻燃剂粉体在氮气或氩气的气氛下进行流化,或者通过将多孔容器旋转达到阻燃剂粉体分散效果;3)在阻燃剂粉体表面通过分子层沉积工艺包覆一层有机涂层;4)在包覆有有机涂层的阻燃剂粉体表面通过原子层沉积工艺包覆一层无机涂层,即得包覆型阻燃剂。本发明在阻燃剂粉末表面通过分子层沉积和原子层沉积工艺包覆有机涂层和无机涂层,涂层有效将阻燃剂和电池的有机电解液、正极、负极隔离,从而使得阻燃剂不会影响锂电池的电化学性能和循环寿命。

标签:
加工技术
湖北 - 武汉 来源:中冶有色网 2023-03-19
多孔VO2纳米线及其制备方法和应用

本发明涉及一种多孔VO2纳米线的制备方法,包括如下步骤:1)量取去离子水于烧杯中,保持水浴搅拌状态;2)称取偏钒酸铵粉末加入烧杯中,继续搅拌;3)取出烧杯搅拌冷却至室温取盐酸缓慢加入烧杯中,继续搅拌,调节pH,保持搅拌状;4)将所得溶液转入反应釜中,加热反应,取出反应釜,自然冷却至室温;5)将得到的产物NH4V3O8纳米线放入塑料管中,在干燥箱中烘干;6)将NH4V3O8纳米线烧结,最终得到多孔VO2纳米线。本发明的有益效果是:该纳米线表现出优异的循环特性,是长寿命锂离子电池的潜在应用材料。本发明工艺简单,所采用的简单水热法及煅烧过程对设备要求低,易于扩大化生产,非常有利于市场化推广。

标签:
加工技术
湖北 - 武汉 来源:中冶有色网 2023-03-19
鱼雷罐罐盖内衬及其制备方法

本发明公开了一种鱼雷罐罐盖内衬及其制备方法。其技术方案是:所述鱼雷罐罐盖内衬由浇注料本体和涂层组成。以钾长石、锂辉石、硅微粉、碳酸钾、硅铝合金和丙烯酸树脂为涂层原料,加入占涂层原料80~150wt%的水,球磨,得到浆料,待用;再以矾土均化料颗粒、焦宝石颗粒、氧化铝空心球、耐火纤维颗粒、矾土细粉、SiC细粉、蓝晶石细粉、SiO2微粉、铝酸钙水泥、莫来石纤维、不锈钢钢纤维和减水剂为浇注料本体原料,加入占浇注料本体原料6~12wt%的水,搅拌均匀,浇注到鱼雷罐罐盖钢构件中,自然养护;然后在其表面喷涂或涂刷浆体,干燥,500~900℃烘烤,制得鱼雷罐罐盖内衬。该内衬具有保温性能好、强度高、抗侵蚀性能优良且寿命长的优点。

标签:
加工技术
湖北 - 武汉 来源:中冶有色网 2023-03-19
多功能手机配件移动收纳仓

本发明的一种多功能手机配件移动收纳仓,包括手机配件收纳仓,所述手机配件收纳仓内设有开口向上连通外界的耳机收纳腔,所述收纳腔内设有能够收纳有线耳机的耳机收纳机构,所述耳机收纳包括所述耳机收纳腔内的第一转动轴,所述第一转动轴在所述耳机收纳腔前后内壁上转动连接,所述第一转动轴上固定有转动盘,该设备结构简单,容易实施,根据耳机收纳机构能够对耳机精致存放且不易打结,保证了耳机的使用与寿命;根据充电仓机构能够对放入的手机在锂电池有电的情况下进行自动充电;根据取耳机机构能够对收纳的耳机进行限制,不至于由于外力而使耳机扯出,只有使限位磁铁块脱离移动块凹槽才能使耳机手动拉出,保证了耳机不会丢失。

标签:
加工技术
湖北 - 武汉 来源:中冶有色网 2023-03-19
用于隔膜的水性涂覆组合物及水性涂覆隔膜

本申请涉及一种用于隔膜的水性涂覆组合物及水性涂覆隔膜,属于燃料电池领域。本申请提供的用于隔膜的水性涂覆组合物,无机陶瓷粉体的粒径范围呈多级阶梯式分布,可使涂覆浆料的组分更加均一,利于增大涂覆无机陶瓷粉末粒径分布范围,使涂覆更加均匀,增加涂覆层的孔隙率,有效的提升对极性电解液的浸润性和吸液率、耐穿刺性能以及热稳定性能,提高锂电池的安全性。

标签:
加工技术
湖北 - 武汉 来源:中冶有色网 2023-03-19
便携式变压器直流电阻检测装置及方法

本发明涉及变压器检测技术领域,公开了一种便携式变压器直流电阻检测装置及方法,包括壳体、PLC控制器、接电端子、边框以及支撑组件,所述壳体一侧的内部设置有PLC控制器,所述PLC控制器一侧的所述壳体内部安装有锂电池,所述壳体的另一侧镶嵌有液晶显示屏,所述数据线的另一端皆通过紧定螺母活动连接有所述接电端子,所述边框的两侧皆垂直设置有所述支撑组件。本发明的测量流程时间短、速度快,与电桥测量法相比,节省了很多时间,从而大大提高了检测效率,而且在串行接口处设置可旋转开闭的橡胶挡片,避免串行接口中渗入污渍,从而保证了电信号转接时的精确性,还设置了双向弹性支撑结构,避免受到碰撞或挤压损伤。

标签:
加工技术
湖北 - 武汉 来源:中冶有色网 2023-03-19
复合相变材料及其制备方法与应用

本发明提供了一种复合相变材料及其制备方法与应用,所述制备方法包括:将六水氯化铁和均苯三甲酸分散于水中,搅拌均匀得到混合液,将所述混合液置于反应釜内进行水热反应,得到固体产物,将所述固体产物进行碳化处理,得到碳化物粉末;将氧化石墨烯配制成水系分散液,加入所述碳化物粉末和交联剂,水热合成后冷冻干燥,得到气凝胶载体;将所述气凝胶载体真空浸渍于月桂酸熔融液内,后取出所述气凝胶载体,加热去除未被吸附的所述月桂酸,即得到复合相变材料。本发明构建的复合相变材料在高温环境下充分吸收电池余热进行冷却,在低温环境下施加小电压于相变材料加热电池,实现全温度范围内锂电池的有效热管理。

标签:
加工技术
湖北 - 武汉 来源:中冶有色网 2023-03-19
新能源汽车动力电池SOH评估装置、方法及系统

本发明公开了一种新能源汽车动力电池SOH评估装置、方法及系统,属于电池管理技术领域,其中,方法的实现包括:获取动力电池工作过程中每个单体电芯的温度信息及电压信息;获取主动力电池工作过程中主回路的电流信息;根据电压信息及电流信息得到不同温度下容量增量曲线特征点对应的特征值,基于特征值根据SOH‑容量增量曲线特征点Map图对当前电池SOH进行评估。通过本发明能大幅缩小评估锂离子电池SOH时所需跨越的SOC范围,从而提高评估效率,适用于整车动力电池SOH的评估。

标签:
加工技术
湖北 - 武汉 来源:中冶有色网 2023-03-19
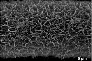
含硫多孔Yolk-shell结构粒子及其制备方法和应用

本发明提供了一种含硫多孔Yolk‑shell结构粒子的制备方法,包括以下步骤:将单质硫与油相溶剂混合,得到油相;将乳化剂与水混合,得到水相;将所述油相和所述水相混合,进行乳化,得到混合溶液;将所述混合溶液中的油相溶剂蒸发,得到含硫多孔Yolk‑shell结构粒子。本发明采用自乳化法,以单质硫和油相溶剂为油相,以乳化剂和水为水相,进行乳化,形成乳化剂包覆油相的核壳结构粒子,再将油相溶剂蒸发,无需刻蚀即可得到表面具有孔结构的含硫Yolk‑shell结构粒子,且孔隙率较低,使其能够在不影响锂离子传输的同时明显抑制多硫化物的穿梭效应。

标签:
加工技术
湖北 - 武汉 来源:中冶有色网 2023-03-19
过流保护系统及方法
过流保护系统及方法 768     
 0

本申请涉及一种过流保护系统及方法,该过流保护系统包括电压调节电路、差分运放电路、电压比较电路、微处理器及或门电路;差分运放电路与电压调节电路电连接;电压比较电路与差分运放电路电连接,用于对差分运放后的差分电压信号与预设基准电压进行电压比较、并输出电平信号;微处理器与电压比较电路电连接,用于对电平信号进行识别、并输出第一驱动信号;或门电路与所述电压比较电路电连接,用于对电平信号进行识别、并输出第二驱动信号至继电器关断驱动电路;或门电路与所述微处理器电连接,用于将第一驱动信号输送至继电器关断驱动电路;因此该系统结构简单、响应时间短,反应灵活,可对低压锂电池管理系统中电流过大的情况进行识别和保护。

标签:
加工技术
湖北 - 武汉 来源:中冶有色网 2023-03-19
微晶玻璃及其制备方法

本发明提供一种微晶玻璃及其制备方法,包括如下摩尔质量分数的各组分:SiO2 50.0~65.0%,Al2O3 10.0~24.0%,Li2O 2.0~15.0%,Na2O 5.0~15.0%,MgO 2.0~12.0%,TiO2 3.0~11.0%,P5O2 1.0~8.0%;微晶玻璃的制备方法为:将上述原料按比例混合后熔化,获得未析晶的前体玻璃,再将前体玻璃进行热处理从而获得微晶玻璃。本发明的玻璃基体中能生长出磷酸镁、磷酸镁锂、无定型磷酸盐及其组合物,和长径比大于5的针棒状金红石,两种形貌的晶体或聚合物形成互相堆叠或互锁结构,从而大大提高了玻璃的硬度和韧性。

标签:
加工技术
湖北 - 武汉 来源:中冶有色网 2023-03-19
用于低氮无磁舰艇钢焊接的无缝金属芯药芯焊丝

本发明涉及一种用于低氮无磁舰艇钢焊接的无缝金属芯药芯焊丝。其技术方案是:将20~30wt%的药芯粉料填充在拉拔成O型的不锈钢钢带内,经高频焊接、减径和表面陶瓷喷涂处理即得无缝金属芯药芯焊丝。不锈钢钢带的化学组分是:C为0.03~0.08wt%,Si≤1wt%,Mn≤2wt%,Cr为18~20wt%,Ni为8~11wt%,S≤0.03wt%,P≤0.03wt%,余量为Fe及不可避免的杂质;药芯粉料的化学组分是:石英砂为2~5wt%,氟化锂为0.5~1.2wt%,氟化稀土为0.5~1wt%,硅粉为4~8wt%,锰粉为15~20wt%,氮化锰为10~16wt%,镍粉为20~25wt%,铬粉为18~20wt%,余量为铁粉。本发明用于低氮无磁舰艇钢焊接所形成的焊缝金属强度高、塑韧性好、无磁性和耐海水腐蚀性优良。

标签:
加工技术
湖北 - 武汉 来源:中冶有色网 2023-03-19
对水平铝母线进行带电修复的方法

本发明提供对水平铝母线进行带电修复的方法,步骤如下:步骤S1:找到水平铝母线的损伤区,并自水平铝母线顶面向下垂直切除损伤区,形成待焊焊口;步骤S2:在待焊焊口表面刷涂氯化锂溶液;步骤S3:安装封装模具将待焊焊口封好;步骤S4:将装料模具下方小孔用挡片挡住,称取铝母线焊剂装入装料模具中;步骤S5:在铝母线焊剂表面撒上引火粉,插入引线,点燃引线引发放热反应,待装料模具底部的挡片熔化后,高温金属液由装料模具底部小孔流入封装模具中,并填充待焊焊口,待金属液冷却后,拆卸下封装模具和装料模具;步骤S6:冷却后清理焊接部位金属面的多余部分和焊渣,对表面进行铣削、研磨抛光和润滑处理,得到修复好的水平铝母线。

标签:
加工技术
湖北 - 武汉 来源:中冶有色网 2023-03-19
硅氧化物及其制备方法和应用

本发明属于锂离子电池负极材料领域,更具体地,涉及一种硅氧化物及其制备方法和应用。本发明制备方法包括通过表面处理去除硅表面的原始钝化层,使其暴露出新鲜硅表面,在氧化环境对所述新鲜表面进行可控氧化,即可得到硅氧化物。本发明的硅氧化物材料中硅基材料的氧化首先通过球磨破碎或酸洗或碱刻蚀方法去除硅表面的原始钝化层,使其暴露出新鲜表面,利用新鲜表面的高反应活性,在温和的氧化环境下进行可控氧化。通过调控硅基材料的氧化程度,使材料兼具有较高的容量和较好的循环稳定性,解决了传统硅氧化物制备成本高、能耗高、不可控性高的问题。

标签:
加工技术
湖北 - 武汉 来源:中冶有色网 2023-03-19
柔性全固态、有机二次电池及其制备方法和应用

本发明公开了一种柔性全固态、有机二次电池及其制备方法和应用,所述电池的正极材料为p‑型聚合物,包含三芳胺自由基和氮氧自由基氧化还原位点;所述电池的负极材料为n‑型聚合物,包含共轭羰基氧化还原活性位点;所述电池包含聚合物电解质,所述聚合物电解质为微孔凝胶聚合物电解质;所述电池还包含柔性聚合物基集流体,柔性聚合物基集流体为金属包覆的聚合物导电膜。本发明得到的全固态、有机二次电池避免了有机电解液、无机过渡金属化合物、金属锂及传统金属箔集流体的使用,安全性大幅提升,具有较高的电压平台及优异的循环和倍率性能,并克服了传统电池反复弯折过程中材料易剥离的问题,应用前景广阔。

标签:
加工技术
湖北 - 武汉 来源:中冶有色网 2023-03-19
FeSix嵌入多孔硅复合材料及其制备方法和应用

一种FeSix嵌入多孔硅复合材料及其制备方法和应用,该复合材料整合了纳米级和微米级Si的固有优点,通过三维双连续纳米孔实现电解质的快速扩散和高Li+可及性,而相互连接的纳米级硅韧带可防止粉碎和破裂;通过三维双连续纳米孔组成的三维双连续纳米多孔网络允许Si纳米配体向内扩展体积,而没有明显的粒径变化;通过FeSix嵌入在多孔硅复合材料内部,一方面起到支撑作用,另一方面,由于FeSix的电阻率比硅低200倍,其在多孔硅中可作为导电剂,加快电子电子/锂离子的运输速度锗能有效的提高导电性能,能明显的提高电池的首次库伦效率。

标签:
加工技术
湖北 - 武汉 来源:中冶有色网 2023-03-19
凝胶聚合物涂层隔膜的制备方法及隔膜

本申请公开了一种凝胶聚合物涂层隔膜的制备方法及隔膜。本申请的凝胶聚合物涂层隔膜的制备方法,包括以下步骤,(1)将凝胶聚合物颗粒溶于有机溶剂中,并加入添加剂,搅拌均匀,制成固含量为1wt%‑20wt%的凝胶聚合物涂覆浆料;(2)采用点状涂布的方式,将步骤(1)制备的凝胶聚合物涂覆浆料涂布于基膜的至少一个表面,形成均匀分布的点状的涂层,烘干,即获得凝胶聚合物涂层隔膜。本申请的制备方法,通过控制凝胶聚合物油性浆料的固含量,使得制备的凝胶聚合物涂层隔膜厚度一致性更好;并且,采用点状涂布,使得制备的凝胶聚合物涂层与极片之间呈点接触方式,便于电解液注入,进而提高了锂离子电池的循环性能和倍率性能。

标签:
加工技术
湖北 - 武汉 来源:中冶有色网 2023-03-19
燃料电池的快速冷启动装置及方法

本发明公开了一种燃料电池的快速冷启动装置及方法,在燃料电池电堆每片双极板上的两侧分别设置两套燃料电池巡检仪接线端口,两套接线端口相互独立,锂电池组通过燃料电池巡检仪与双极板连接。本发明能够在不改变燃料电池结构的情况下,使燃料电池电堆内部的每片双极板快速、均匀加热,实现燃料电池电堆在低温环境下能够快速冷启动。

标签:
加工技术
湖北 - 武汉 来源:中冶有色网 2023-03-19
电极浆料、柔性极片及其制备方法、柔性电池

本发明属于锂离子电池技术领域,具体涉及一种电极浆料,包括正极浆料和负极浆料;所述正极浆料的组分及各组分的质量百分比如下:所述正极活性物质58.5‑78.5%、所述正极导电剂1‑5%、所述正极粘结剂不大于3%、所述正极化学纤维0.5‑3.5%、所述正极溶剂20‑40%;所述负极浆料的组分及各组分的质量百分比如下:所述负极活性物质58‑78%、所述负极导电剂0.5‑3%、所述负极粘结剂1‑5%、所述负极化学纤维0.5‑2.5%、所述负极溶剂20‑40%。本发明还涉及一种柔性极片制备方法。本发明还提供一种柔性极片。本发明还提供一种将上述柔性正极片和柔性负极片制备电芯得到柔性电池。本发明制备的电极片具有较好的柔性和可弯曲性能,弯折部分不产生折痕不掉粉。

标签:
加工技术
湖北 - 武汉 来源:中冶有色网 2023-03-19
使用熔融盐制备Ti<sub>2</sub>CT<sub>x</sub>的方法

本发明提供一种使用熔融盐制备Ti2CTx的方法,并进行阳离子插层,包括:称取质量比为1:(0.58~0.675):(0~0.3):(0.12~0.325)的Ti2AlC粉、氟化钾、氟化锂、氟化钠原料,混合均匀后,放入管式炉中进行煅烧,使用氩气保护;以10℃/min的升温速率升至550~850℃,保温30~50min;煅烧完成后,自然冷却,得到熔盐产物;将熔盐产物加至4mol/L硫酸中,在常温下搅拌1h加入去离子水离心清洗,至上清液pH≈7,倒掉上清液得到沉淀;将沉淀加入氨水中,在常温下搅拌1h再加入去离子水离心清洗4~5次,倒掉上清液得到沉淀;将沉淀加入去离子水中超声60min,并以转速6000rpm离心25~45min,将上层悬浮液过滤得到分层Ti2CTx材料。本方法突破传统的化学液相刻蚀法制备Ti2CTx,提供了一种操作安全、简单、高效的制备方法。

标签:
加工技术
湖北 - 武汉 来源:中冶有色网 2023-03-19
上一页 19 20 21 22 23 ... 126 下一页
共126页    到第

中冶有色为您提供最新的湖北武汉有色金属加工技术理论与应用信息,涵盖发明专利、权利要求、说明书、技术领域、背景技术、实用新型内容及具体实施方式等有色技术内容。打造最具专业性的有色金属技术理论与应用平台!

全国热门有色金属设备推荐
展开更多 +
全国热门有色金属技术推荐
展开更多 +

 

江西省隆恩特环保设备有限公司
宣传

报名参会
更多+

报告下载

有色专家
更多+

中南大学
中国工程院院士
南方科技大学
外籍院士
郑州大学
校长/党委书记
中冶沈勘秦皇岛工程技术有限公司
原矿山院院长/教授级高工
中南大学
院长/教授
赤泥综合利用研究报告2025
推广

热门技术
更多+

推荐企业
更多+

福建省金龙稀土股份有限公司
宣传

发布

在线客服

公众号

电话

顶部
咨询电话:
010-88793500-807