青岛垚鑫智能科技有限公司
宣传

位置:中冶有色 >

有色技术频道 >

> 固/危废处置技术

分类:
全部
矿山技术
冶金技术
材料制备及加工技术
环境保护技术
分析检测技术
 
全部
废水处理技术
大气治理技术
固/危废处置技术
土壤修复技术
地区:
全部
北京
天津
上海
重庆
河北
山西
辽宁
吉林
黑龙江
江苏
浙江
安徽
福建
江西
山东
河南
湖北
湖南
广东
海南
四川
贵州
云南
陕西
甘肃
青海
内蒙
广西
西藏
宁夏
新疆
其他
其他
展开
 
全部
北京

北京有色金属固/危废处置技术理论与应用

免费发布技术信息>>
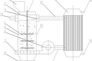
有机固废焚烧预处理干燥装置

本实用新型涉及垃圾处理技术领域,更具体的说,涉及一种有机固废焚烧预处理干燥装置。其包括干燥室(5),所述干燥室(5)为中空的筒体(12),所述筒体(12)上部设置有蒸汽出口(13)和循环蒸汽出气管(17),所述筒体(12)下部设置有循环蒸汽入气管(18),所述循环蒸汽出气管(17)和所述循环蒸汽入气管(18)与设置在所述筒体(12)外部的换热器(9)连通。本实用新型要解决的技术问题在于克服现有产品的有机固废焚烧预处理干燥系统中的换热装置换热效果差的技术问题,提供一种换热效果好的有机固废焚烧预处理干燥装置。

标签:
固废
北京 - 北京 来源:中冶有色网 2023-03-19
用于处理沿海城市固废垃圾的方法

本发明公开了一种用于处理沿海城市固废垃圾的方法,通过运输管道将固废垃圾运至海上的垃圾分拣与处理平台进行集中处理,以达到远离陆地的垃圾无害化处理的目的。

标签:
固废
北京 - 北京 来源:中冶有色网 2023-03-19
高氧化钙含量的炼钢固废消解处理装置

本实用新型公开了一种高氧化钙含量的炼钢固废消解处理装置,包括粉碎仓,所述粉碎仓为椭圆形样式结构,且内部设有粉碎组件,所述粉碎组件中包含有辊轴,所述辊轴的外部固定连接有若干个挤压块,所述辊轴的一端与所述粉碎仓内部活动连接,另一端固定连接有副齿轮,所述副齿轮一侧啮合有主齿轮,所述主齿轮一端固定连接有转把。该种高氧化钙含量的炼钢固废消解处理装置,由转把带动辊轴进行高速旋转,进而挤压块能够起到挤压粉碎的效果,整个装置的体积相对较小,针对小批量的废料处理时,实用性更高,而且整个装置依靠人力作为动力的主要来源,不消耗能源,而且对于个人来说,可以起到一定的强身健体的效果。

标签:
固废
北京 - 北京 来源:中冶有色网 2023-03-19
钢筋混凝土类固废物分解装置

一种钢筋混凝土类固废物分解装置,属于固废利用技术领域。包括,框架一(1)、框架二(2)、液压缸(3)、三角摆体(4)、风镐(5)、啃齿(6)。优点在于,解决废弃钢筋混凝土柱块、大体积石块的破碎分解问题。适用于地基中桩头的削切、废弃厂房砼结构梁柱的拆解、砌筑浇注捣打料的剥离粉碎,及其它大块难移脆性物料如岩石、矿石、煤炭的破碎分解。减少切割、吊装工序,代替砼破碎、筛分流程,降低生产成本。

标签:
固废
北京 - 北京 来源:中冶有色网 2023-03-19
工业固废资源化利用的蓄热式熔化装置

本发明提供了一种将工业固废资源化利用的天然气蓄热式熔化装置,具体的讲即是将钢渣、矿渣、尾矿、煤矸石等工业固废配以玄武岩、辉绿岩、白云石等其他原料进行高温熔化,进而离心成纤生产无机纤维。所述无机纤维包括岩棉纤维、矿渣棉纤维、玻璃棉纤维、陶瓷(氧化铝)纤维、硅酸铝纤维等。该熔化装置包括料仓、炉壳、炉衬、燃烧系统等。所述熔化装置以天然气为热源,采用蓄热式燃烧器及预热料仓的设计,能实现烟气温度的充分利用,减少燃料消耗,实现节能减排。炉衬使用高温耐火砖砌筑内胆,外侧砌筑多层不同材质耐火砖并外衬硅酸铝纤维棉,可以在1600℃下正常使用,无需使用冷却水冷却。该装置能耗低,炉衬寿命长,且设备运行安全环保。

标签:
固废
北京 - 北京 来源:中冶有色网 2023-03-19
固废焚烧炉推料机的行程定位方法

一种固废焚烧炉推料机的行程定位方法,属于回转窑固废焚烧线进料装置技术领域。推料机前进带动拖杆前进,推料机前进到位时拖杆的限位开关碰撞装置会碰触到前进限位开关,限位开关作用是推料机停止前进,并发出前进到位信号,上料控制程序或操作人员发出后续工作指令。本发明采用的推料装置行程定位方法具有操作性强、可维护性强、经济实用的特点,并在实际项目应用中产生了积极的效果。

标签:
固废
北京 - 北京 来源:中冶有色网 2023-03-19
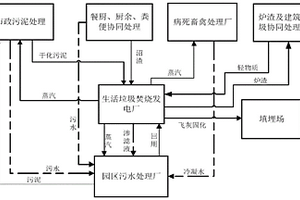
循环产业园中多种固废的处理系统

本实用新型涉及固废处理领域,具体涉及一种循环产业园中多种固废的处理系统。包括园区生活垃圾焚烧发电系统,园区污水处理系统,市政污泥处理系统,餐余,厨余和粪便协同处理系统,病死畜禽处理系统,炉渣及建筑垃圾协同处理系统以及填埋场;所述市政污泥处理系统的干化污泥出料口,餐余、厨余和粪便协同处理系统的沼渣出料口,炉渣及建筑垃圾协同处理系统的轻物质出料口以及园区污水处理系统的浓缩液的出料口通入所述生活垃圾焚烧发电系统。本实用新型系统实现了园区内不同处理设施之间的物料资源的热能、电能、生物质能的高效率循环利用。

标签:
固废
北京 - 北京 来源:中冶有色网 2023-03-19
物料混合干化设备、固废预处理系统及方法

本发明提供一种物料混合设备、固废预处理系统及方法,所述物料混合干化设备包括:机体、主轴、切割件及犁刀组件;所述主轴设置在所述机体内;所述犁刀组件设置于所述机体内并与所述主轴连接,所述犁刀组件能够在所述主轴的带动下旋转;所述犁刀组件设有多个,多个所述犁刀组件沿所述主轴的轴向间隔排布,多个所述犁刀组件中的至少部分设有所述切割件,所述切割件能够跟随所述犁刀组件旋转运动。本发明可以减少长条状物缠绕在物料混合干化设备内元件的情况,改善固废预处理系统对高粘度半固态物料的预处理效果,降低对窑系统煅烧工况的影响,可以减少驱动装置的数量,节约器材成本,并合理利用犁刀组件的动力带动切割件旋转,节约能源。

标签:
固废
北京 - 北京 来源:中冶有色网 2023-03-19
基于模块化神经网络的城市固废焚烧过程氮氧化物软测量方法

基于模块化神经网络的城市固废焚烧过程氮氧化物软测量方法属于固废处理领域,对MSWI中产生的有毒气体——氮氧化物(NOx)的实时检测能有效控制NOx的排放。工业现场中采用高精密仪器—烟气排放连续监测系统对烟气排放中的NOx浓度进行检测,测量结果受环境影响较大,且设备维护成本高。本发明首先,利用模糊c‑均值算法进行任务分解,将任务分解成不同的子任务;其次,针对不同的子任务,采用径向基函数神经网络分别设计软测量子模型,建立特征变量与NOx间的非线性关系;最后通过级联神经网络对子网络输出进行集成。采用基准实验和某MSWI厂实际数据验证了提出方法的有效性。

标签:
固废
北京 - 北京 来源:中冶有色网 2023-03-19
基于潜结构映射算法的固废焚烧过程二噁英排放浓度软测量方法

本发明公开一种基于潜结构映射算法的固废焚烧过程DXN排放浓度软测量方法,首先,进行固废焚烧全流程过程变量和易检测排放气体浓度的采集和预处理;接着,基于线性潜结构映射算法的变量投影重要性(VIP)和依据经验设定的输入特征选择比率,确定软测量模型的输入特征;最后,构建基于操纵训练样本集成构造策略的自适应选择核参数的选择性集成核潜结构映射模型。该方法可依据工业过程的实际需求预先设定软测量模型的特征选择参数、结构参数及其集成子模型的选择阈值和加权策略,适合于构建基于小样本共线性数据的难以检测参数软测量模型。

标签:
固废
北京 - 北京 来源:中冶有色网 2023-03-19
集成式有机固废处理的发酵装置

本发明提供一种集成式有机固废处理的发酵装置,涉及发酵装置领域。该一种集成式有机固废处理的发酵装置,包括壳体,所述壳体为长方体,所述壳体的内部一端并排设置有净化区和中控区,所述壳体的内部设置有发酵区,所述发酵区的左侧设置有输送带,所述输送带靠近净化区和中控区,所述发酵区的右侧设置有暂存区,所述发酵区和暂存区的前后两侧均设置有导轨,所述导轨上架设有翻运装置,所述发酵区处设置有发酵床,所述发酵床上设置有透气孔,所述发酵床的下方设置有气室,所述发酵床的下端固定连接有换热管,所述壳体的内部设置有鼓风机,所述鼓风机的出风端通入气室。通过一体式发酵,可提高发酵处理效率、降低人力成本。

标签:
固废
北京 - 北京 来源:中冶有色网 2023-03-19
有机固废处理器
有机固废处理器 859     
 0

本实用新型公开了一种有机固废处理器,所述有机固废处理器包括壳体、贴壁风导风筒、助燃风导风筒、煤粉供应组件和调温风导风筒,壳体具有第一腔和围成第一腔的周壁,贴壁风导风筒设在第一腔内,贴壁风导风筒的外周面和周壁之间形成贴壁风通道,助燃风导风筒设在第一腔内,助燃风导风筒的外周面与贴壁风导风筒的内周面之间形成助燃风通道,煤粉供应组件设在第一腔内,调温风导风筒设在第一腔内,调温风导风筒套设在煤粉供应组件上,调温风导风筒的内周面与煤粉供应组件的外周面之间形成过渡通道,调温风导风筒的外周面与助燃风导风筒的内周面之间形成调温通道。本实用新型有机固废处理器避免了周壁表面积灰结焦和腐蚀现象的发生。

标签:
固废
北京 - 北京 来源:中冶有色网 2023-03-19
循环产业园中多种固废的处理系统及方法

本发明涉及固废处理领域,具体涉及一种循环产业园中多种固废的处理系统及方法。包括园区生活垃圾焚烧发电系统,园区污水处理系统,市政污泥处理系统,餐余,厨余和粪便协同处理系统,病死畜禽处理系统,炉渣及建筑垃圾协同处理系统以及填埋场;所述市政污泥处理系统的干化污泥出料口,餐余、厨余和粪便协同处理系统的沼渣出料口,炉渣及建筑垃圾协同处理系统的轻物质出料口以及园区污水处理系统的浓缩液的出料口通入所述生活垃圾焚烧发电系统。本发明系统实现了园区内不同处理设施之间的物料资源的热能、电能、生物质能的高效率循环利用。

标签:
固废
北京 - 北京 来源:中冶有色网 2023-03-19
固废处理的分离装置
固废处理的分离装置 1036     
 0

本实用新型公开了一种固废处理的分离装置,包括处理箱,所述处理箱内侧的顶部焊接固定设有防护壳,且防护壳的内侧固定安装有电动机a,所述电动机a的输出轴与转动轴的一端固定连接,所述转动轴的外表面固定设有破碎辊,所述破碎辊位于破碎筒内。通过破碎辊和破碎筒的设置,从而对固废原料进行破碎过程,将其金属废料与其他废料分离,分离后的废料落到分离板上,在分离板内电磁铁通电的作用下,从而对金属废料进行吸附,其余废料落下,完成分离工作,此时转动导料板将其他废料通过其中一个出料口排出,将电磁铁断电后,金属废料落下后转动导料板将金属废料通过另一个出料口排出,分离效果较好,且使用上更加方便快捷。

标签:
固废
北京 - 北京 来源:中冶有色网 2023-03-19
有机固废自热式低温热解设备

本发明提供一种有机固废自热式低温热解设备,涉及有机固废处理技术领域。该有机固废自热式低温热解设备,包括反应器主体,所述反应器主体的前、后部均设置有灰渣出口仓,所述反应器主体的下部设置有灰层,所述反应器主体的下部且位于灰层的上方设置有燃烧层支撑结构,所述反应器主体的内部且位于燃烧层支撑结构的上方设置有燃烧层,所述反应器主体的内部且位于燃烧层的上方设置有热解层。设置了陶瓷发热管、微波发生器、收集罩,实现低温热解,解决热解温度高,能源消耗大;供热形式限制,热损失大;热解时间长;工艺流程多,操作繁琐;对原料要求高;热启动慢、热解过程均匀差;产生二噁英等问题。

标签:
固废
北京 - 北京 来源:中冶有色网 2023-03-19
冶金固废钢渣水泥的制造方法

本发明涉及一种冶金固废钢渣制备水泥的方法。冶金固废钢渣浸入一定量水(或其他液体),放入压力容中,加温加压,保温保压一定时间,使水(或其他液体)浸入钢渣中的硅酸二钙、硅酸三钙质密晶体中,瞬间打开压力容器释放压力,使气压迅速下降。由于水浸到钢渣中过烧的硅酸二钙和硅酸三钙的内部,在巨大压差下水分子迅速汽化膨胀,使硅酸二钙、硅酸三钙结晶密度减小,比表面积增大,加快过烧硅酸二钙、硅酸三钙的等物质水化速度,提高钢渣水泥的早期硬度。通过二氧化碳及催化剂加压释放,使游离的氧化钙,氧化镁完全反应成碳酸钙。碳酸镁的稳定成份,避免钢渣水泥后期氧化镁。氧化钙的膨胀不稳定因素。还原出极多的可磁选铁合金粉。

标签:
固废
北京 - 北京 来源:中冶有色网 2023-03-19
协同处理焦化脱硫废液、钙基固废以及工业烟气中污染物的方法

本发明涉及一种协同处理焦化脱硫废液、钙基固废以及工业烟气中污染物的方法,所述方法为:利用吸收剂料浆吸收经过氧化后的工业烟气,吸收过程中控制料浆的pH≥6;所述吸收剂料浆为钙基固废和焦化脱硫废液的混合物;吸收完成后,将经过净化的烟气排放,将吸收剂料浆固液分离,所得液相经过除杂和调节pH后加热分解,固液分离后得到硫氰酸铵产品。本发明提供的方法能够实现对烟气中的二氧化硫、氮氧化物和汞的高效脱除,同时回收得到高附加值的硫氰酸铵产品。本发明对工业生产过程中产生的废气、废水和废渣进行协同处理,工艺流程简单,原料成本低,整体流程无废水排放,实现了以废治废的循环经济,适用于工业化应用,具有良好的经济效益。

标签:
固废
北京 - 北京 来源:中冶有色网 2023-03-19
利用固废材料的生态友好复合胶凝材料及其制备方法

一种利用固废材料的生态友好复合胶凝材料,包括以下重量份的电解锰渣10‑45份,粉煤灰10‑35份,赤泥10‑40份,含钙的碱性化合物0.5‑8份,水泥5‑40份,水3‑10份;复合胶凝材料中各原料所含的CaO之和占总原料的15wt%‑40wt%,复合胶凝材料中的Ca与Si的重量比值0.7‑1.3。本发明能够将成分复杂的电解锰渣、粉煤灰及赤泥多种固废直接用于制备复合胶凝材料,通过控制各原料的配比及含钙的碱性化合物的用量,调控原料中氧化钙含量为15wt%‑40wt%,Ca/Si为0.7‑1.3,最终得到抗折、抗压强度等综合性能优异,同时重金属浸出毒性测试符合国家标准的复合凝胶材料。本发明通过加入复合相变材料使所制备复合胶凝材料对温度不敏感,能控制材料温度不会变化过大,防止温度变化过大导致含复合胶凝材料变形、开裂。

标签:
固废
北京 - 北京 来源:中冶有色网 2023-03-19
固废焚烧过程中炉内二噁英浓度仿真分析系统及方法

本发明提供了一种固废焚烧过程中炉内二噁英浓度仿真分析系统及方法,该系统包括:区域划分模块,所述区域划分模块连接有数值仿真模块,所述数值仿真模块连接有单因素分析模块,所述单因素分析模块包括有正交试验分析模块,区域划分模块用于将焚烧炉的炉内区域进行划分,数值仿真模块用于对划分的各区域进行建模仿真,单因素分析模块用于根据数值仿真模块的输出进行单因素分析,正交试验分析模块用于根据数值仿真模块的输出进行正交试验分析。本发明提供的固废焚烧过程中炉内二噁英浓度仿真分析系统及方法,能够实现对MSWI过程焚烧炉内的DXN生成、燃烧和再生成等机理进行有效地分析和仿真,为减少余热锅炉出口处的DXN浓度提供参考。

标签:
固废
北京 - 北京 来源:中冶有色网 2023-03-19
全固废膏体料浆管道输送在线流变测试方法

本发明提供一种全固废膏体料浆管道输送在线流变测试方法,属于矿山充填管道输送技术领域。该方法首先选取与被测管道内径相同的压力传感器和电阻层析成像电极传感器,沿料浆流动方向将压力传感器一、电极传感器和压力传感器二依次接入料浆管道的被测区域;当料浆在被测管道内部稳定流动时,测量记录管内压强和料浆流速分布曲线,获取管道横截面上任意点的切应力分布表达式;进一步得到料浆流速分布表达式;计算得到管道横截面上任意点的切变率分布表达式;最后得到全固废膏体管道输送流动状态下的流变模型。该方法有助于突破传统模型的限制,构建更为准确、考虑剪切历史的全固废膏体料浆管输流变模型。

标签:
固废
北京 - 北京 来源:中冶有色网 2023-03-19
利用工业固废制备再生轻质隔墙板的方法

本发明提供了一种利用工业固废制备再生轻质隔墙板的方法,本发明再生轻质隔墙板是以脱硫石膏和粉煤灰、普通硅酸盐水泥为基础原料;以激发剂为添加剂,以铝粉为发泡剂、以钢筋网为骨架,经过原料处理、配料搅拌、浇筑静养、切割蒸养等四个步骤制得。本申请所述制备方法实现了脱硫石膏和粉煤灰等工业固废的大体量综合利用,有效解决了现有技术中砂石、石灰等原料带来的环保和高生产成本等问题。

标签:
固废
北京 - 北京 来源:中冶有色网 2023-03-19
基于燃烧火焰颜色矩特征的城市固废焚烧过程风量设定方法

基于燃烧火焰颜色矩特征的城市固废焚烧过程风量设定方法涉及城市固废焚烧过程领域,包括以下步骤:对图像中的烟雾、飞灰及噪声进行消除,采用4个不同尺度的滑窗提取图像的颜色矩特征,用于研究滑窗尺度大小不同时提取的颜色矩特征对图像颜色特征的表达效果;通过互信息分析每个特征与风量之间的相关性,提取相关性大于设定阈值的特征作为有效特征量;基于RBF网络构建以多尺度特征为输入,风量为输出的多个候选风量设定模型,并选取最佳的模型作为最终设定模型。本发明对于左侧炉排其在测试集上具有最好的拟合效果,且达到相同精度时所需要的隐含层神经元最少;对于右侧炉排,尽管摄像设备受到干扰较多,仍保持测试平均百分比误差最小。

标签:
固废
北京 - 北京 来源:中冶有色网 2023-03-19
循环流化床锅炉掺烧电解铝废料固废处理系统及方法

本发明公开的一种循环流化床锅炉掺烧电解铝废料固废处理系统及方法,属于工业固废及冶金废弃物利用技术领域。破碎后的电解铝废料和石灰石粉分别经气力输送系统送至掺混系统掺混后,经传输系统送入循环流化床锅炉进行掺烧。操作简单、自动化程度高、易于集中控制,原料加工要求低、处理量大、输送距离长,电解铝废料通过掺烧实现了无害化处理,能够减少有毒固废对土地及水资源的污染,同时回收电解铝废料中的热量,实现了巨大的社会效益和经济效益。

标签:
固废
北京 - 北京 来源:中冶有色网 2023-03-19
铁铬固废制备铬改性云母氧化铁的方法

本发明涉及一种铁铬固废制备铬改性云母氧化铁的方法。本发明以机械加工、含铬废水处置等过程中产生的铁铬固废为原料,通过酸溶、杂质分离及回收、铁铬成分检测、铁铬成分比例调整、氧化、调节pH值、水热合成工序,直接生产出具有良好防腐蚀性能的铬改性云母氧化铁。本发明中云母氧化铁的生产与铬改性一步完成,不仅缩短了改性云母氧化铁的生产流程,同时也解决了现有铁铬固废铁、铬分离困难,环境负担重,再利用附加值低等问题。采用本发明生产的涂料用铬改性云母氧化铁具有原料来源广、成本低、绿色环保和附加值高等优点。

标签:
固废
北京 - 北京 来源:中冶有色网 2023-03-19
用于富氧竖炉处理冶金固废的冷却装置

一种用于富氧竖炉处理冶金固废的冷却装置,属于冶金固废资源化利用领域。本实用新型解决了富氧竖炉处理冶金固废工艺中炉衬使用寿命低的问题。本实用新型包括冷却介质储存仓出口、动力源、第一输送器、冷热交换器、第二输送器入口顺次连接;第二输送器出口分别与冷却介质储存仓入口和动力源入口连接;冷却介质在上述部件中循环输送;冷热交换器安装于富氧竖炉炉壳与炉衬之间。本实用新型能有效提高冷却效果,延长炉衬的使用寿命,提高生产的连续性、稳定性和安全性,减少设备故障率,降低运营成本。

标签:
固废
北京 - 北京 来源:中冶有色网 2023-03-19
高含水有机固废喷雾干化-热解集成装置与方法

本发明的一种高含水有机固废喷雾干化‑热解集成装置与方法,主要包括干化塔、造粒机、热解炉、热解气燃烧炉、布袋除尘器、臭氧氧化器、多级洗涤塔、“脱白”器等。高含水有机固废经喷雾干化处理、造粒后,输送至热解炉,热解产生的热解炭冷却后储存,热解气燃烧产生的高温烟气满足热解炉内能量自供的同时也能为喷雾干化提供能量,干化尾气无害化处理后外排。本装置干化与热解的集成形式,提高了干燥与热解的热利用效率,降低了能耗;用热解代替焚烧工艺,减少了二噁英等有害物的产生,热解产生的可燃气与热解炭,实现了热处理的清洁化和资源化;干化尾气无害化处理后外排,从而实现高含水有机固废处理处置的低能耗、清洁化、资源化、无害化目的。

标签:
固废
北京 - 北京 来源:中冶有色网 2023-03-19
资源化利用城市固废中废塑料以促进铁矿还原的方法

一种资源化利用城市固废中废塑料以促进铁矿还原的方法,从城市固废中分离出的薄膜废塑料经干燥、剪切破碎后与碳质还原剂粉末充分混合,然后在400~550℃进行低温炭化处理得到炭化产物,炭化产物经破碎后可用作含碳球团的还原剂,与含铁物料混匀压制成含碳球团后运送至转底炉进行快速还原,球团起始还原温度显著降低,还原速率加快,得到高品质金属化球团,废塑料在还原过程中被分解消耗,同时为转底炉炉膛加热提供能量。本发明解决了现有直接还原法处理废塑料工艺难以低成本、高效率、大规模地实现城市固废中薄膜类热塑性废塑料预处理的不足,同时促进了铁矿的还原,此方法工艺简单、流程短、效率高、成本低,具有较好的社会和经济效益。

标签:
固废
北京 - 北京 来源:中冶有色网 2023-03-19
基于多任务学习框架的城市固废焚烧氮氧化物NOx排放预测方法

基于多任务学习框架的城市固废焚烧氮氧化物NOx排放预测方法涉及人工智能领域。本发明利用基于多任务学习框架的NOx排放预测模型,实现了对NOx浓度的两步预测。首先,结合城市固废焚烧的机理,确定与NOx浓度预测相关的输入变量;然后,利用多任务学习基本思想,建立多任务学习模型的整体框架;接着,使用自组织RBF神经网络构建多任务学习模型的子模块。最后,对所建立的预测模型进行测试,实现城市固废焚烧NOx排放两步预测。本发明在城市固废焚烧NOx浓度预测中取得较好的性能。

标签:
固废
北京 - 北京 来源:中冶有色网 2023-03-19
难生化有机固废热解-生化耦合产甲烷的装置

一种难生化有机固废热解‑生化耦合产甲烷的装置,装置由连续进料装置、中温热解室、高温催化热解室、生物炭储存箱、气液分离及冷却装置、生物产甲烷反应器以及控制系统等组成;将难生化有机固废在中‑高温催化两室热解炉内转化为氢气和一氧化碳为主的热解混合气和生物炭,生物炭经过夹套式冷却外排储存,经过分离冷却后的非冷凝性气和含水溶性有机物的热解水分别通入生物产甲烷反应器,非冷凝性气体在生物产甲烷反应器中转化为富含甲烷气体,热解水为微生物提供营养且提高甲烷产量,从而实现将难生化有机固废转化为甲烷进行高质清洁资源利用。

标签:
固废
北京 - 北京 来源:中冶有色网 2023-03-19
用于固废耦合燃烧的物料输送装置及输送方法

本发明公开了一种用于固废耦合燃烧的物料输送装置,包括高压风入口管道、高压风喷嘴、物料接收装置,物料接收装置上设置有物料导入装置,高压风入口管道设置在物料接收装置上,且位于物料导入装置的一侧,高压风喷嘴与高压风入口管道连接且设置在物料接收装置内部,物料接收装置包括物料进口,高压风喷嘴位于物料进口一侧且位于物料进口的下方,物料接收装置与混合管连接,混合管与扩压管连接。本发明还公开了一种物料输送方法。本发明用于固废耦合燃烧的物料输送装置及输送方法能够有效缩短固废物料与高压空气或热风的混合距离,提高了本发明物料输送装置的运行精度和流量调节的范围,有效的解决了物料输送装置的堵塞问题。

标签:
固废
北京 - 北京 来源:中冶有色网 2023-03-19
上一页 202 203 204 205 206 ... 226 下一页
共226页    到第

中冶有色为您提供最新的北京有色金属固/危废处置技术理论与应用信息,涵盖发明专利、权利要求、说明书、技术领域、背景技术、实用新型内容及具体实施方式等有色技术内容。打造最具专业性的有色金属技术理论与应用平台!

全国热门有色金属设备推荐
展开更多 +
全国热门有色金属技术推荐
展开更多 +

 

江西省隆恩特环保设备有限公司
宣传

报名参会
更多+

报告下载

有色专家
更多+

郑州大学
副院长/教授
中南大学
副校长
有研科技集团有限公司
中国工程院 院士
矿冶科技集团有限公司
所长/研究员级高工
矿冶科技集团
副所长/研究员
赤泥综合利用研究报告2025
推广

热门技术
更多+

推荐企业
更多+

福建省金龙稀土股份有限公司
宣传

发布

在线客服

公众号

电话

顶部
咨询电话:
010-88793500-807