青岛垚鑫智能科技有限公司
宣传

位置:中冶有色 >

有色技术频道 >

> 固/危废处置技术

分类:
全部
矿山技术
冶金技术
材料制备及加工技术
环境保护技术
分析检测技术
 
全部
废水处理技术
大气治理技术
固/危废处置技术
土壤修复技术
地区:
全部
北京
天津
上海
重庆
河北
山西
辽宁
吉林
黑龙江
江苏
浙江
安徽
福建
江西
山东
河南
湖北
湖南
广东
海南
四川
贵州
云南
陕西
甘肃
青海
内蒙
广西
西藏
宁夏
新疆
其他
其他
展开
 
全部
济南
青岛
淄博
枣庄
东营
烟台
潍坊
济宁
泰安
威海
日照
滨州
德州
聊城
临沂
菏泽

山东淄博有色金属固/危废处置技术理论与应用

免费发布技术信息>>
固废包装袋的卷包装置

本实用新型涉及卷包装置技术领域,尤其是一种固废包装袋的卷包装置,包括底板,第二转轴的另一端连接有转动杆,转动杆上靠近第二转轴的一侧连接有限位块,转动杆远离第二转轴的一端开设有滑槽,滑槽上可滑动的连接有挡板,转动杆远离第二转轴的一端插接有固定夹,底板的上端两侧均连接有固定块,两个固定块之间可转动的连接有第一转动辊,底板的上端连接有固定架,固定架的内部上端可转动的连接有两个平行设置的第二转动辊,两个第二转动辊之间设有间隙。本实用新型通过在第一转动辊的拉伸与第二转动辊的挤压下,转动杆上的收卷筒在卷包过程中包装袋不会产生褶皱。

标签:
固废
山东 - 淄博 来源:中冶有色网 2023-03-19
固废处理用水泥输料装置

本实用新型公开了一种固废处理用水泥输料装置,包括支座、输送管、进料管、出料管、驱动电机和辅助装置,本实用新型通过在出料管底部安装有辅助装置,在辅助装置内安装有固定机构,固定机构内通过波纹管与连接管相接,而连接管顶部与出料管相接,可以实现拉伸,方便适用于不同接收位置高度的连接,避免了存在一定的间隙而造成扬尘,便于固定机构快速的固定到需要连接的外部接收设备上;并且在固定机构内安装有连接杆,连接杆可在套筒内实现位置的调节,使得连接杆前端的压盘接触到接收设备侧壁上,便于对排料工作提供稳定。

标签:
固废
山东 - 淄博 来源:中冶有色网 2023-03-19
用于固废处理的高温煅烧窑炉

本实用新型公开了一种用于固废处理的高温煅烧窑炉,包括底座,所述底座上端固定连接有炉体,底座的内部螺纹连接有螺纹杆,螺纹杆一端转动连接有活动块,活动块一端固定连接有弹性杆,炉体的内部滑动连接有移动板,移动板下端固定连接有连接块,弹性杆一端插入连接块的内部,移动板的内部转动连接有齿轮,齿轮上端固定连接有转动板,活动块一侧固定连接有齿板,齿板一端穿过连接块;所述炉体的两侧固定安装有伸缩杆。本实用新型在工作时,通过设计有活动门,在取出焚烧物时,通过活动门可将炉体内部后侧进行密封,避免较多的热量散出,同时通过螺纹杆继续转动可使得转动板转动将转动板上的焚烧物倒出,方便取出。

标签:
固废
山东 - 淄博 来源:中冶有色网 2023-03-19
贵金属固废处理用催化剂制备装置

本实用新型提供一种贵金属固废处理用催化剂制备装置,包括混合箱和移动机构,所述混合箱顶部的两侧均固定连接有支座,所述混合箱顶部靠近支座的一侧设置有第一电机,所述第一电机的输出端固定连接有第一锥形齿轮和移动机构。本实用新型通过设置第一电机和第一锥形齿轮,改变传动方向,使螺纹杆具有电动转动的效果,通过设置滑杆,使螺纹杆在转动时,不会带着螺纹块转动而是带着螺纹块移动,起到定位的作用,通过设置螺纹杆,使第二电机上的搅拌轴具有左右移动的机制,使混合箱内的原料可以被均匀的搅拌,解决了现有的搅拌装置结构较为简单,搅拌方向固定,在搅拌过程中会出现搅拌不均匀的问题。

标签:
固废
山东 - 淄博 来源:中冶有色网 2023-03-19
等离子气化-费托合成式生物质固废连续处理装置

本实用新型涉及化学反应装置,具体涉及一种等离子气化‑费托合成式生物质固废连续处理装置,包括反应器、冷凝系统和储油罐,所述反应器的出料口与冷凝系统的入料口连接,冷凝系统的出料口与储油罐连接,还包括等离子气化炉,所述等离子气化炉的出料口与反应器的进料口连接,等离子气化炉的进料口与螺旋进料装置连接。本实用新型设计合理,通过等离子气化炉与费托反应器的联合使用,减少了气化产物的储存装置和费托合成的原料气储存装置,提高了生物质通过合成制备生物柴油的效率,简化了常规的生物质经气化、费托合成分步制取液体燃料的生产工艺。

标签:
固废
山东 - 淄博 来源:中冶有色网 2023-03-19
可调整外加热温度的固废裂解回转窑

本实用新型公开了一种可调整外加热温度的固废裂解回转窑,其属于垃圾分解技术领域。它解决了现有技术中传统垃圾分解存在的污染环境且分解不彻底的缺陷。其主体结构包括料斗、螺旋输送机、裂解回转筒体和出料罩,所述料斗的出料口与螺旋输送机连接,螺旋输送机的出料口通过进料罩与裂解回转筒体的一端连接,裂解回转筒体的另一端与出料罩连接,裂解回转筒体的外部还安装有加热组,出料罩上设有裂解气出风管和杂质出料口。本实用新型主要用于塑料垃圾分解。

标签:
固废
山东 - 淄博 来源:中冶有色网 2023-03-19
用于有毒固废处理桶盖全自动开启运输机

本实用新型公开了一种用于有毒固废处理桶盖全自动开启运输机,包括传输机,所述传输机两侧均设有夹持机构,所述传输机远离所述夹持机构的一端设有抬升机构;该运输机相比传统运输机增加了夹持机构,可对有毒废料桶进行固定,防止在切割有毒废料桶桶盖时,有毒废料桶发生偏移影响切割效果,且该运输机安装有抬升机构,可将开盖后的有毒废料桶抬起,便于后续工艺抓取有毒废料桶。

标签:
固废
山东 - 淄博 来源:中冶有色网 2023-03-19
用于有毒固废处理桶盖全自动开启设备

本实用新型公开了一种用于有毒固废处理桶盖全自动开启设备,包括开启设备安装架,所述设备安装架外围设有单片机,所述开启设备安装架一侧设有液压机,所述设备安装架内部设有桶盖开启机构,所述桶盖开启机构包括开启电机,所述开启电机下设有连接杆,所述连接杆与所述开启电机一端相连接,所述连接杆下设有旋转盘,所述旋转盘与所述连接杆相连接,所述旋转盘下对称设有液压升降缸,所述液压升降缸与所述液压机相连接,所述液压升降缸下设有切割凹盘,本实用新型对现有技术做出了改进,自动化较高,无需进行人工操作,有效地防止了对工作人员健康造成损坏,不仅操作的效率高,而且大大减少了安全隐患。

标签:
固废
山东 - 淄博 来源:中冶有色网 2023-03-19
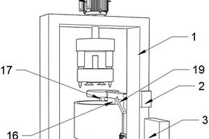
固废压块预处理装置
固废压块预处理装置 910     
 0

本实用新型公开了一种固废压块预处理装置,其包括固定在机架上的螺旋输送机,所述螺旋输送机上方设有与机架固定的混料机,所述混料机的出料口与螺旋输送机的进料口连接,所述混料机的上方依次设有与机架固定的第一粉状物料仓、第二粉状物料仓、粘结剂仓和添加剂仓,所述第一粉状物料仓、第二粉状物料仓、粘结剂仓和添加剂仓的出料口下方设有第一输送带装置,所述第一输送带装置的出料口与混料机的进料口连接。本实用新型中的粉状固废通过压块预处理后,降低烟气排放中颗粒物量,增加物料在炉内停留时间,另外通过混料压块,实现了各类处理物料和添加剂的均匀混合。

标签:
固废
山东 - 淄博 来源:中冶有色网 2023-03-19
环保用的固废垃圾磁选机

本实用新型涉及磁选设备技术领域,尤其涉及一种环保用的固废垃圾磁选机,包括:固定座、轴套、进料斗;磁选本体安装在支撑腿的内部上端,且磁选本体与支撑腿通过焊接方式相连接;支撑腿的上部两端分别安装有固定座、轴套、第一轴套及第一固定座,且轴套、第一轴套通过固定座及第一固定座与支撑腿通过螺栓固定相连接;轴套及第一轴套的内部中间设置有转轴,且轴套及第一轴套与转轴通过套合方式相连接。本实用新型通过结构上的改进,并结合现有技术,具有结构精良,磁选效果好,且磁选时能够实现固废分离的优点,解决了现有装置技术中出现的问题和不足,使之更加具有实用性的目的。

标签:
固废
山东 - 淄博 来源:中冶有色网 2023-03-19
利用铝灰等工业固废生产无机纤维的方法

本发明提供一种利用工业固废生产无机纤维的方法,所述工业固废包括铝灰,及选自于赤泥、粉煤灰、石英砂和/或其尾矿、高炉矿渣中的一种或多种,以及可选的电石渣和/或萤石尾矿和/或石灰石和/或石灰。所述方法包括如下步骤:A.将铝灰用水或酸液、碱液处理后进行固液分离或浆液浓缩;B.将铝灰渣或铝灰渣浆液与其它原料配料,混匀,造粒,造粒料干燥,制成颗粒料;C.将颗粒料与焦炭、无烟煤、电解铝槽废阳极炭块中的一种或多种,在冲天炉中反应和熔化;D.冲天炉流出的熔体,经高速离心辊甩丝、冷却形成无机纤维,并进一步制成纤维棉产品。

标签:
固废
山东 - 淄博 来源:中冶有色网 2023-03-19
固废陶瓷砖及其制备方法

本发明属于陶瓷砖的制备技术领域,具体的涉及一种固废陶瓷砖及其制备方法。包括坯体层、底釉层和面釉层,所述的坯体层,以重量分数计,由以下原料组成:陶瓷废料25‑30%、赤泥35‑40%、煤矸石15‑20%、玄武岩5‑10%、膨润土5‑10%、锆英砂5‑8%。本发明所述的固废陶瓷砖,采用建筑垃圾和工业尾矿为原料制备陶瓷砖,大大降低了生产成本,且制备得到的陶瓷砖各层之间协同作用,层原料之间互相配合,具有很好的抗压强度和抗折强度。

标签:
固废
山东 - 淄博 来源:中冶有色网 2023-03-19
环保型固废处理用具有防护结构的破碎装置

本实用新型公开了一种环保型固废处理用具有防护结构的破碎装置,包括底座和防护机构,所述底座顶部固定安装有机体,且机体顶部安装有用于废屑飞溅防护的防护机构,所述防护机构包括梯形仓、进料口、顶盖板、轴承座、旋转台和推拉杆。解决现有破碎设备内两个破碎轮之间的相对运动很难使得一些规则的产品压入其中,而破碎腔的顶部一般都为开口,没有一个下压力则需要消耗较长的时间采用将产品驱动之两个破碎轮之间破碎,效率低的技术问题,提供一种环保型固废处理用具有防护结构的破碎装置,采用两侧槽轮导向破碎及底辊轮同步挤压的结构设置,极大强化破碎效果,同时具有的防护机构有效避免破碎过程中废屑飞溅影响安全,适用性更强。

标签:
固废
山东 - 淄博 来源:中冶有色网 2023-03-19
除尘器固废吸收存储装置

本实用新型提供除尘器固废吸收存储装置,涉及除尘器技术领域,除尘器固废吸收存储装置,包括外桶,所述外桶的顶部开设有两个滑槽,两个所述滑槽的内壁均滑动连接有滑块,两个所述滑块的相对外表面之间固定有过滤网,两个所述滑块的两侧外表面均开设有卡槽。本实用新型中,在使用时,首先将过滤网和两个容器固定在外桶内,在粉尘吸入器械的压力作用下,可使小颗粒的粉尘通过过滤网进入另一个容器内存储,当容器内需要进行清理时,只需将两个容器拆下清理即可,解决了现有粉尘回收后需要进行二次过滤处理从而导致工作效率降低的问题。

标签:
固废
山东 - 淄博 来源:中冶有色网 2023-03-19
固废重金属快速检测的破碎装置

本实用新型公开了固废重金属快速检测的破碎装置,包括机体,所述机体的顶部开设有进料口,所述进料口连接有输送管,所述进料口上方设置有振动筛,所述机体内分别转动连接有固定轮和滑动轮并贯穿输送管的侧壁,所述固定轮和滑动轮均通过转动轴转动连接在机体的内壁,所述转动轴套接有定位块,所述定位块间隙配合有套筒,所述套筒内连接有缓冲装置,所述输送管位于固定轮的下方间隙配合有压锤,所述压锤上设置有传动装置。本实用新型通过固定轮和滑动轮的挤压作用,同时在输送管底部设置周期性移动的压锤使得中重金属固废受到三个方向的挤压力,提高了破碎效率和效果,设置缓冲装置使装置不会因外力过大而卡死。

标签:
固废
山东 - 淄博 来源:中冶有色网 2023-03-19
固废压块预处理装置及方法

本发明公开了一种固废压块预处理装置及方法,所述方法包括以下步骤,S1:将粉状物料、添加剂、粘结剂送入混料机进行混合均匀;S2:混合后物料进入压块成型机,将混合后物料压块成型;S3:将压块成型后物料转运至养护装置,养护装置对压块成型后的物料进行加热,所述粘结剂设置为水玻璃、水泥或粉煤灰中的任意一种;养护装置利用后端处理机产生的150‑300℃高温空气,通过高温空气作用到压块产品上。本发明中粉状固废通过压块预处理后,降低烟气排放中颗粒物量,增加物料在炉内停留时间,另外通过混料压块,实现了各类处理物料和添加剂的均匀混合。

标签:
固废
山东 - 淄博 来源:中冶有色网 2023-03-19
工业固废利用内燃烧结工艺制备陶粒砂的方法

本发明属于工业固废的回收利用技术领域,具体涉及一种工业固废利用内燃烧结工艺制备陶粒砂的方法。工艺技术流程为:配料、研磨、一次造粒、二次造粒、烘干、布料、连续烧结炉烧制、破碎、制砂、筛分。通过干法造粒内燃烧结工艺生产的陶粒砂产品具有良好的耐磨性、较低的吸水率、较高的强度和低的破碎率、无泛霜冒碱现象,完全可以替代天然沙石和机制砂。具有广阔的发展前景和使用范围,可以有效解决工业固废的量化处理、污染环境、堆存等问题,同时可以有效弥补天然河沙的资源供给减少;实现资源化的利用,变废为宝,创造绿色生态家园。

标签:
固废
山东 - 淄博 来源:中冶有色网 2023-03-19
全固废充填材料及其制备方法

本发明公开了一种全固废充填材料及其制备方法,属于矿山充填材料技术领域,其特征在于,凝胶材料包括脱硫石膏、粉煤灰、矿渣、钢渣、镁渣、电石渣、减水剂、保水分散剂和碱性激发剂;所述骨料为尾砂,本发明的有益效果是:本发明合理利用了多源固废化学组分协同互补理论,在碱性激发剂的作用下,矿渣和粉煤灰结构中的富硅相和富钙相在碱激发作用下,反应生成强度更大的AFm晶体,保水分散剂合理的解决了全固废充填材料的离析、泌水问题,使充填材料具有良好的保水性和均匀分散性;添加了适量的粉煤灰,粉煤灰能够发挥滚珠效应,增加充填料浆的流动性。

标签:
固废
山东 - 淄博 来源:中冶有色网 2023-03-19
利用工业固废铝灰制备预熔型精炼剂的方法

本发明属于固废再利用技术领域,具体涉及一种利用工业固废铝灰制备预熔型精炼剂的方法。所述的制备方法为将工业固废铝灰和石灰粉混合后加入火焰型池炉或电熔炉中,经过高温熔化、冷却、破碎后,即得预熔型精炼剂;其中,所述的工业固废铝灰与石灰粉的质量比为:30:70~70:30。本发明使用工业固废铝灰代替高铝矾土制备预熔型精炼剂,将铝灰全部循环利用,避免了对环境的破坏和对资源的浪费,同时制备的预熔型精炼剂熔点低、熔速快、硫熔量高,冶炼时间短,脱硫效果好,且不含有害元素氟。

标签:
固废
山东 - 淄博 来源:中冶有色网 2023-03-19
花岗石废料固废物的回收和利用的系统及方法

本发明涉及花岗石废料回收技术领域,具体涉及一种花岗石废料固废物的回收和利用的系统及方法;包括支撑架、上料机构、粉碎机和除铁机构;支撑架上端面的一端部设有上料机构,支撑架上部的中部设有粉碎机,支撑板上部异于上料机构的一端设有除铁机构;本发明中通过调节第一电动推杆的伸长量,便于调节入料斗的倾斜角度,同时也实现了调节花岗石废料固废物的入料速度;第一粉碎辊和第二粉碎辊的配合使用能对花岗石废料固废物进行充分地粉碎,为后续制造瓷砖作了很好的准备;通过电磁吸板能对掺杂在花岗石粉末内的碎铁屑进行吸附,实现了对碎铁屑的收集,节约了资源,同时也实现了变废为宝的目的。

标签:
固废
山东 - 淄博 来源:中冶有色网 2023-03-19
固废处理用打包压缩装置

本实用新型公开了一种固废处理用打包压缩装置,包括装置主体、箱体、进料筒、第一破碎辊与第二破碎辊,所述进料筒顶端设置有挤压机构,所述挤压机构包括:挤压块,所述挤压块处于进料筒顶端外侧;连接板,所述连接板处于挤压块顶端;当连接板向下移动时,连接板带动挤压块同时移动,使得挤压块对固废垃圾进行挤压;与现有技术相比,本实用新型能达到的有益效果是:通过设计了挤压机构,使得固废垃圾在处于进料筒内侧时,会受到一个向下的力,使得第一破碎辊与第二破碎辊可以更好的咬合住固废垃圾进行破碎。

标签:
固废
山东 - 淄博 来源:中冶有色网 2023-03-19
基于水泥窑协同处理的固废处理装置

本发明公开了一种基于水泥窑协同处理的固废处理装置,涉及固废处理技术领域,包括:固废破碎箱,其具有一进料端和一出料端,其中出料端与输送管相连通,所述固废破碎箱的内部设置有固废破碎机构,用于对固废进行破碎处理;筛选下料机构,其内嵌于所述固废破碎箱的内底部,用于将颗粒体积合格的料体筛选至输送管中;下料仓,其出料端连通至所述固废破碎箱的底部;粉化机构,其进料端连通至所述输送管的出料端,所述粉化机构的出料端与水泥窑的进料端相连通设置。

标签:
固废
山东 - 淄博 来源:中冶有色网 2023-03-19
赤泥、粉煤灰、钢渣、煤矸石固废资源化综合利用工艺

本发明属于工业固废回收利用技术领域,具体涉及一种赤泥、粉煤灰、钢渣、煤矸石固废资源化综合利用工艺。所述资源化综合利用工艺,将工业固废加入Na2CO3、O2和还原剂进行反应,分离出铁水和液态渣水;液态渣水加入钠盐反应,得到反应液和沉渣;将反应液依次通入钙盐沉淀槽、铝盐沉淀槽、硅酸槽,分别通入CO2进行酸化反应,过滤后依次得到钙盐、铝盐、硅酸和碱液;将碱液进行浓缩结晶,得到钾盐和钠盐;把沉渣烘干通入Cl2反应,得到气态TiCl4和残渣;残渣加入氢氧化钠反应得到氢氧化镁。本发明的固废资源化综合利用方法,处理流程短,能耗低,产品附加值高,且处理过程中无废水废渣排放,绿色环保。

标签:
固废
山东 - 淄博 来源:中冶有色网 2023-03-19
固废回收利用粉碎装置

本发明公开了一种固废回收利用粉碎装置,包括外壳,所述破碎辊转动连接在外壳的内部且靠近顶部位置,所述破碎齿设置在外壳的内壁且位于破碎辊的位置,所述磨料辊转动连接在外壳的内部且靠近底部位置,所述磨齿设置在外壳的内壁且位于磨料辊的位置,所述凸轮固定在磨料辊的一端,所述磁棒设置在磨料辊的内部且靠近位置,所述筛板装置设置在外壳内壁且靠近磨料辊的位置并且通过导杆与外壳的内壁滑动连接,本发明涉及固废粉碎设备技术领域。该固废回收利用粉碎装置,达到了防粉尘黏附的效果,可粉尘及时快速清理,减少黏附堆积,避免出现堵塞的情况,有助于对固废的粉碎,提高了工作效率及使用性能。

标签:
固废
山东 - 淄博 来源:中冶有色网 2023-03-19
利用建筑固废制备轻质烧结板材的工艺

本发明涉及烧结板制备工艺技术领域,提供一种利用建筑固废制备轻质烧结板材的工艺,本发明通过对建筑固废进行鼓风干燥,能够去除建筑固废在长期堆积中产生的臭味,且便于对干燥至恒重后的建筑固废进行粉碎;在制备吸附剂悬浊液的过程中,对其进行超声分散,能够使氧化铝和碳酸钙混合的更加均匀,从而更好的发挥其吸附作用;对建筑固废和辅助原料进行粉碎筛分能够去除其中的粗大颗粒,从而分别使建筑固废和辅助原料与吸附剂进行充分混合,在吸附剂的作用下使建筑固废和辅助原料的颗粒能够紧紧吸附在一起;在烧结的过程中依据不同的阶段对升温速率进行调整,使烧结的效果更好,从而使建筑固废制备成的烧结板更加稳固,不易损坏。

标签:
固废
山东 - 淄博 来源:中冶有色网 2023-03-19
应用于有机固废的新型密闭处理设备

本实用新型公开了一种应用于有机固废的新型密闭处理设备,包括支架,所述支架的顶部设置有滚筒筒体,所述滚筒筒体左侧的顶部设置有风机,所述风机的输出端连通有进风管,所述进风管的右侧贯穿至滚筒筒体的内部,所述滚筒筒体的左侧设置有左筒盖,所述滚筒筒体内腔的顶部横向设置有滤网,所述滚筒筒体正面底部的右侧固定连接有驱动电机,所述驱动电机的输出端固定连接有减速器。本实用新型达到可以将有机固废转化为有机肥料的效果,该应用于有机固废的新型密闭处理设备,解决了现有的密闭处理设备无法有效的降解有机固废,导致有机固废直接变成无用废料,影响了资源回收再利用的问题。

标签:
固废
山东 - 淄博 来源:中冶有色网 2023-03-19
建筑用高热阻固废空心砖及其制备方法

本发明公开了一种建筑用高热阻固废空心砖及其制备方法,其由以下重量份的原料组成:赤泥30~40份、煤矸石15~25份、轻质颗粒5~15份、页岩3~10份、化工盐泥3~5份、城市污泥2~7份以及玻化助剂1~3份,其中,所述城市污泥设置为曝气除臭后的市政污泥。本发明将多类固废资源作为体系原料,通过合理的高温化学反应,及科学可行的工业技术路线协同利用多种固废原料,解决了固废污染环境,但处理成本高的问题,且由于体系中添加了多类固废原料,有效降低了传统页岩空心砖的页岩的使用量,一方面降低原料成本,一方面促进了生态环境建设。

标签:
固废
山东 - 淄博 来源:中冶有色网 2023-03-19
危废固废再生活性炭方法

本发明公开了一种危废固废再生活性炭方法,涉及再生活性炭制备技术领域。包括如下步骤;步骤1、将固废活性炭和危废活性炭混合均匀后投入闪蒸干燥设备进行烘干处理得到干燥活性炭混合物;步骤2、将干燥活性炭混合物投进物理活化炉进行活化,活化介质采用水蒸汽和CO2的混合气体;步骤3、将经活化的干燥活性炭混合物及物理活化炉的气体通入三级旋风分离器;直接收集一级和二级旋风分离的活性炭产物进行包装入库储藏。本发明通过对固废活性炭和危废活性炭进行混合均匀后,依次通过干燥、物理活化和旋风分离后,实现了固废活性炭和危废活性炭活性恢复。

标签:
固废
山东 - 淄博 来源:中冶有色网 2023-03-19
固体废物低温磁化热解装置垂直进料系统

本实用新型提供一种固体废物低温磁化热解装置垂直进料系统,在低温磁化热解装置上方安装一个进料仓,与低温磁化热解装置中间间隔一个气动插板阀,进料仓上方安装气缸支架,气缸支架与进料仓通过转轴连接,气缸支架可以绕转轴转动,并通过减速机与电机连接,通过电机的动力来控制,气缸支架上安装一个竖直方向的气缸,气缸下端安装一个密封板,密封板与进料仓之间紧密结合,可通过气缸在进料仓内上下移动。采用过渡仓进料技术,能有效减少烟气的泄漏。

标签:
固废
山东 - 淄博 来源:中冶有色网 2023-03-19
利用固体废渣制造隔墙板的生产系统

本实用新型涉及一种利用固体废渣制造隔墙板的生产系统,其包括自前向后依次设置的喷涂隔离剂区、生产区、蒸养区、后处理区以及贯穿于各区的传送装置;传送装置包括链轮链板输送装置和下部皮带,下部皮带附于链轮链板输送装置的链板的外周;喷涂隔离剂区中设置喷涂隔离剂装置;喷涂隔离剂区以及生产区的两侧均设有垂直于链板的定型机构,定型机构采用皮带传动机构,皮带传动机构中的皮带为定型皮带,定型皮带与链板外周的下部皮带同步。通过本实用新型能够提高隔墙板的质量、生产效率以及建筑装配率,降低了建筑成本。

标签:
固废
山东 - 淄博 来源:中冶有色网 2023-03-19
上一页 17 18 19 20 21 下一页
共21页    到第

中冶有色为您提供最新的山东淄博有色金属固/危废处置技术理论与应用信息,涵盖发明专利、权利要求、说明书、技术领域、背景技术、实用新型内容及具体实施方式等有色技术内容。打造最具专业性的有色金属技术理论与应用平台!

全国热门有色金属设备推荐
展开更多 +
全国热门有色金属技术推荐
展开更多 +

 

江西省隆恩特环保设备有限公司
宣传

报名参会
更多+

报告下载

有色专家
更多+

江西铜业集团有限公司
党委书记、董事长
紫金矿业信息化研发中心
副总经理
中铝检测科技(郑州)有限公司/国家轻金属质量检验检测中心
正高级工程师
中南大学、中国工程院
院士
北京科技大学、中国科学院
院士
赤泥综合利用研究报告2025
推广

热门技术
更多+

推荐企业
更多+

福建省金龙稀土股份有限公司
宣传

发布

在线客服

公众号

电话

顶部
咨询电话:
010-88793500-807