青岛垚鑫智能科技有限公司
宣传

位置:中冶有色 >

有色技术频道 >

> 加工技术

分类:
全部
矿山技术
冶金技术
材料制备及加工技术
环境保护技术
分析检测技术
 
全部
功能材料技术
复合材料技术
新能源材料技术
合金材料技术
加工技术
地区:
全部
北京
天津
上海
重庆
河北
山西
辽宁
吉林
黑龙江
江苏
浙江
安徽
福建
江西
山东
河南
湖北
湖南
广东
海南
四川
贵州
云南
陕西
甘肃
青海
内蒙
广西
西藏
宁夏
新疆
其他
其他
展开
 
全部
成都
自贡
攀枝花
泸州
德阳
绵阳
广元
遂宁
内江
乐山
南充
眉山
宜宾
广安
达州
雅安
巴中
资阳
阿坝藏族羌族自治州
甘孜藏族自治州
凉山彝族自治州

四川有色金属加工技术理论与应用

免费发布技术信息>>
基于相变蓄热保护的锂离子电池包及其制备方法

本发明属于新能源领域,具体涉及一种基于相变蓄热保护的锂离子电池包及其制备方法,所述电池包包括壳体和至少两片设置于壳体中的软包锂离子电池,所述软包锂离子电池周围填充有吸热材料和定型材料。本发明锂离子电池包采用软包锂离子电池作为核心,在软包锂离子电池和外壳之间填充吸热材料和定型材料,实现锂离子电池包温度升高过程中的相变吸热控温作用。在相变温度以上,各个软包电池单体可以进行对流换热,确保锂离子电池包温度均匀性。

标签:
加工技术
四川 - 成都 来源:中冶有色网 2023-03-18
用于锂电池回收的硅胶萃取剂及制备方法和应用方法

本发明涉及一种用于锂电池回收的硅胶萃取剂及制备方法和应用方法。属于锂离子电池回收技术领域。本发明解决的问题是提供一种用于锂电池回收的硅胶萃取剂,该萃取剂由以下重量份的组分制成:硅胶100份、氯苯甘醚5~10份、苯甲酰胺肟3~8份、石蜡7~15份。本发明的一种用于锂电池回收的硅胶萃取剂,在不同的温度下对金属离子有不同的结合率,其萃取率高,可以实现金属离子高效环保无污染的分离,对锂电池回收行业具有重要的实际意义。其制备方法简单,制备时无需特殊的设备,成本较低。本发明的锂离子电池正极材料的回收方法,采用本发明的一种用于锂电池回收的硅胶萃取剂,可以高效分离正极材料中的铜、钴、镍和锂,工序简单,环保无污染。

标签:
加工技术
四川 - 成都 来源:中冶有色网 2023-03-18
导电性能佳稀土锂铁磷化合物的制备方法

本发明公开了一种导电性能佳稀土锂铁磷化合物的制备方法,涉及一种锂离子二次电池正极材料。本发明的目的是提供一种导电性能佳稀土锂铁磷化合物的制备方法,使用该种方法可显著提高所制备的稀土锂铁磷化合物的电子导电率、优异的倍率性能及低温放电性能。实现本发明目的的技术方案要点是,有以下步骤:(1)将锂源、铁源、磷源和稀土源按锂:铁:磷:稀土元素的摩尔比配料置于球磨机中研磨得到前驱体,(2)将前驱体置于高温炉中,在保护气氛中烧结,再在500‑800℃下煅烧2‑4小时,(3)将上述步骤﹙2﹚的煅烧产物进行破碎研磨,制成稀土锂铁磷化合物。本发明用于制备锂电池的正极材料。

标签:
加工技术
四川 - 绵阳 来源:中冶有色网 2023-03-18
高容量高功率型锂离子/空气混合电池系统

本发明提供一种高容量高功率型锂离子/空气混合电池系统,将锂离子电池和锂空气电池整合构建混合电池系统,达到对二者的性能扬长避短的效果。通过锂空气电池ORR的高容量特点,来弥补锂离子电池能量密度低的不足。同时利用空气极活性材料比表面积高的特点,进一步改善锂离子电池的输出功率。利用锂离子电池正极活性材料具有高于ORR反应的工作电压(>3.0V)及优秀的循环性能,增加锂离子电池使用次数,有效地弥补了锂空气电池循环性能不足的问题,同时为锂空气电池的使用提供了一种方法。该电池系统兼具锂离子电池和锂空气电池的优点,在性能上实现对锂离子电池和锂空气电池扬长避短,获得一种具有高容量高功率特点的电池系统。

标签:
加工技术
四川 - 成都 来源:中冶有色网 2023-03-18
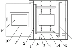
高温聚合物锂电池减震保护装置

本实用新型公开了一种高温聚合物锂电池减震保护装置,包括底板,所述底板上端一侧安装有固定块,所述底板中间开设有滑槽,所述滑槽中间滑动连接有滑块,所述滑块上端通过螺栓连接有与固定块相匹配的挡块,所述滑槽一端内侧安装有拉簧,本实用新型增加垫板用于配合底板固定锂电池,防止锂电池因振动而脱出固定保护装置,底板上通过滑块连接的挡块,将锂电池沿着挡块和固定板上的斜边向下卡在底板上,斜边方便引导锂电池卡在挡块中间,在拉簧的拉力作用下,拉动滑块带着挡块向中间的锂电池移动,从而将锂电池夹在中间,防止锂电池两侧松动,底板前端安装有限位块,能够配合固定块对锂电池进行限位,将锂电池固定并保护起来。

标签:
加工技术
四川 - 成都 来源:中冶有色网 2023-03-18
钛酸锂颗粒表面包覆氮化钛的方法

本发明公开了一种钛酸锂颗粒表面包覆氮化钛的方法,明涉及锂离子电池以及粉末冶金技术领域,解决的技术问题是提供一种不破坏钛酸锂初始形貌,且工艺简单的在钛酸锂颗粒表面包覆氮化钛的方法。本发明采用的技术方案是:包括以下步骤:S1将二氧化钛颗粒进行溶解处理,生成浆状物;然后按比例添加氢氧化锂,混合均匀并干燥后,得到钛酸锂的前驱体;S2在钛酸锂的前驱体中添加胶体石墨粉作为活性剂,再在氮气的气氛中,烧结3~4h,再冷却至室温,最后得到含有TiN的钛酸锂粉末。本发明原料易得,操作过程简单易行,制得的含有TiN的钛酸锂粉末未破坏钛酸锂初始形貌,提高了其作为负极材料的电子导电性,从而提高了钛酸锂的倍率性能。

标签:
加工技术
四川 - 攀枝花 来源:中冶有色网 2023-03-18
锂离子二次电池及其制备方法

本发明公开了一种锂离子二次电池及其制备方法,属于锂离子二次电池领域。该锂离子二次电池的负极层为层状结构,包括负极集流体,所述的负极集流体的一面或者两面粘合有由硬炭材料层和锂金属层组成的负极材料层,所述的负极材料层为外部的两层硬炭材料层以及两层硬炭材料层之间的锂金属层,锂金属层采用采用离子溅射的方法镀在硬炭材料层上。本发明锂离子二次电池负极的不可逆容量补偿层为夹在硬炭活性物质层之间的锂层,不仅分布均匀、而且可避免金属锂或锂枝晶刺穿隔膜的风险,因此本发明的锂离子电池具有充放电效率高、安全性好等优点。

标签:
加工技术
四川 - 成都 来源:中冶有色网 2023-03-18
动力锂离子电池固态聚合物电解质及制备方法

本发明提出一种动力锂离子电池固态聚合物电解质及制备方法,将锂盐离子液通过固态分散剂分散,然后加入乙烯,在50‑60℃,双核苊(α‑二亚胺)钯烯烃催化作用下形成高分子量超支化聚乙烯。本发明在高分子量超支化聚乙烯形成的过程中,通过计入锂盐离子液,锂离子作为空间支撑,使超支化结构中形成利于锂离子的传输通道,不但可以通过络合‑解离‑再络传输离子,而且锂离子的支撑空间为锂离子的扩散运动提供通道,从而实现了高效离子传输。本发明克服了现有锂电池用聚合物电解质传输效率低,难以在动力电池领域应用的缺陷,为聚合物电解质在动力锂离子电池的应用提供了可靠地保证。

标签:
加工技术
四川 - 成都 来源:中冶有色网 2023-03-18
钛酸锂与石墨材料负极混粉制浆方法

本发明公开了一种钛酸锂与石墨材料负极混粉制浆方法,包括如下步骤:S1、称取钛酸锂粉料、石墨粉料、粘结剂、溶剂、导电剂、分散剂;S2、将粘结剂加入溶剂中搅拌;S3、将导电剂加入S2所制备的溶液中搅拌;S4、将分散剂加入S3所制备的浆料中搅拌;S5、将钛酸锂粉料加入S4所制备的浆料中搅拌;S6、将石墨粉料加入S4所制备的浆料中搅拌,得到钛酸锂与石墨的混合负极材料;S7、将S6制备的混合负极材料使用溶剂调到1000-3000CP,粘度的钛酸锂与石墨的混合负极材料。本发明先加入分散剂,然后进行高速分散,能使钛酸锂和石墨材料均匀的分散并且保持一种稳定的分散状态,可以长时间搁置,体系稳定存在,在短时间内不会沉降、不会自行二次团聚。

标签:
加工技术
四川 - 成都 来源:中冶有色网 2023-03-18
磷酸钒锂的固相-水热制备方法

一种磷酸钒锂的固相-水热制备方法,工艺步骤如下:(1)按钒、磷酸根和碳的摩尔比1 : 1 : 1~10计量钒、磷酸根和碳的提供物,加入分散剂球磨,将所得膏状物干燥后粉碎,在惰性气体保护下加热至650~900℃保温4~10h,随炉自然冷却至室温得VPO4/C中间体;(2)按锂、磷酸根和中间体的摩尔3 : 1 : 2计量锂、磷酸根的提供物及中间体,将锂、磷酸根的提供物分别配制成水溶液,将磷酸根提供物的水溶液加入锂提供物的水溶液中形成混合液,向混合液中加入中间体,加水稀释后转入密封高压反应釜,加热至200~280℃保温2~20h,过滤,将滤饼真空干燥获黑色粉末;(3)将黑色粉末在惰性气体保护下加热至600~850℃保温1~10h,即得磷酸钒锂。?

标签:
加工技术
四川 - 成都 来源:中冶有色网 2023-03-18
多金属掺杂磷酸铁锂/碳复合材料及制备方法

本发明涉及多金属掺杂磷酸铁锂/碳复合材料及制备方法,多金属掺杂磷酸铁锂/碳复合材料,分子式是LiFe(1‑(a/2)x‑(b/2)y)MxNyPO4/C,其中,x+y=0.01‑0.1,M、N为掺杂金属,a,b分别为M、N掺杂金属的价态,a、b不为0,并且a是二价以下,b是三价以上;其中,掺杂金属M、N原位占据铁位。本发明多金属掺杂磷酸铁锂/碳复合材料及制备方法,其可以规避亚铁价态转变成三价铁价态时,某些掺杂金属会从占据的原铁位被挤出而无法进入磷酸铁锂或电池正极材料中,减弱所得电池正极材料的性能问题。同时还可获得可直接掺杂三价以上金属和不可直接掺杂二价以下金属的多种金属混合掺杂的磷酸铁锂/碳复合材料。

标签:
加工技术
四川 - 成都 来源:中冶有色网 2023-03-18
纯化碳酸锂的方法
纯化碳酸锂的方法 1069     
 0

本发明涉及一种碳酸锂纯化的方法,属于高纯碳酸锂制备技术领域。本发明方法生产过程安全,且锂收率高。具体包括以下步骤:(1)待纯化碳酸锂经水洗除杂质,并加水配置成碳酸锂浆料;(2)将步骤(1)得到的碳酸锂浆料中通入CO2气体进行氢化反应,当溶液中氧化锂浓度为10~30g/L时停止通气,将溶液过滤得到氢化液;其中氢化反应的压力为0.2~0.6MPa,温度为20~30℃,(3)向步骤(2)得到的氢化液通过离子交换树脂,除去氢化液中杂质离子;(4)将步骤(3)中除去杂质离子的氢化液升温至70~90℃进行分解反应,固液分离得碳酸锂湿品,干燥即得。生产出来的电池级碳酸锂产品主含量高,品质优良、性能稳定。

标签:
加工技术
四川 - 遂宁 来源:中冶有色网 2023-03-18
多功率电动车锂电池装置

本发明提供一种多功率电动车锂电池装置,包括锂电池箱体、设置于锂电池箱体外部的触摸显示屏、安设于锂电池箱体内部的锂电池组、主控制器、电流流通板、充电控制板、输出控制板及与充电控制板电性连接的充电插接口、与输出控制板电性连接的电流输出插口;锂电池组包括从下到上依次堆叠设置的小功率锂电池、中等功率锂电池和大功率锂电池,小功率锂电池和中等功率锂电池之间及中等功率锂电池和大功率锂电池之间都设置用于进行电流流动的电流流通板,电流输出插口包括电流输出正极插口以及电流输出负极插口,实际使用过程中,可以为外界待充设备提供多种不同功率电流,满足不同需求,提供使用效率,本设计结构简单,使用便利,应用面广。

标签:
加工技术
四川 - 遂宁 来源:中冶有色网 2023-03-18
球形碳酸锂及其制备方法

本发明公开了一种球形碳酸锂及其制备方法,包括以下步骤:配制碳酸钠溶液和硫酸锂溶液;向碳酸钠溶液或硫酸锂溶液中加入表面处理剂并搅拌均匀;在高速搅拌状态下,将硫酸锂溶液和碳酸钠溶液进行混合,其中,控制反应温度为85~100℃;在低速搅拌状态下进行保温陈化,将物料固液分离得到碳酸锂湿品和沉锂母液;将碳酸锂湿品洗涤并干燥后获得球形碳酸锂。本发明通过控制工艺条件并加入表面处理剂得到纯度大于99.5%的球形碳酸锂,所得球形碳酸锂的纯度较高且不易团聚,具有良好的流动性和分散性,利于后续工艺的混料和加工。

标签:
加工技术
四川 - 遂宁 来源:中冶有色网 2023-03-18
磷酸钒锂的制备方法
磷酸钒锂的制备方法 1035     
 0

一种磷酸钒锂的制备方法,工艺步骤为:(1)前驱体的制备,原料物质包括锂、钒、磷酸根和碳,锂、钒、磷酸根的摩尔比为锂∶钒∶磷酸根=2.9~3.3∶2∶3,钒与碳的摩尔比为钒∶碳=1∶1.0~5.5;按原料物质的配比计算各原料物质的提供物,将各原料物质的提供物放入反应容器并加水在常压、60~90℃进行搅拌,直到各原料物质的提供物完全溶解为止,然后将所获溶液减压蒸馏,蒸干水分即得到前驱体;(2)煅烧,将前驱体在惰性气体保护下于常压、550~950℃保温6~20小时,然后随炉自然冷却至室温,即获磷酸钒锂。上述方法制备的磷酸钒锂具有较高的比容量和较好的循环稳定性,适合作锂离子二次电池正极材料。

标签:
加工技术
四川 - 成都 来源:中冶有色网 2023-03-18
预锂化硅负极材料及其制备方法和负极片

本发明涉及一种预锂化硅负极材料及其制备方法和负极片,属于负极材料技术领域,该预锂化硅负极材料包括基材、包覆在基材表面的锂层以及包覆在锂层外的外壳;该制备方法,包括以下步骤;S1,汽化锂粉形成锂液滴,使汽态的锂液滴包覆粉末状的基材,得预锂化液滴;雾化碳前驱体溶液,使碳前驱体液滴包覆预锂化液滴,得预锂化硅负极材料液滴;S2,对预锂化硅负极材料液滴进行干燥处理,得预锂化硅负极材料。本发明的预锂化硅负极材料锂层被壳包裹在内,安全性高;本发明方法工艺简单、成本低、效率高,生产过程安全;本发明方法补锂均匀,效果好,使用本发明负极材料的电池一致性好,适于推广应用。

标签:
加工技术
四川 - 成都 来源:中冶有色网 2023-03-18
超薄锂金属负极的制备方法

本发明提供一种超薄锂金属负极的制备方法,属于锂电池技术领域。本发明采用静电作用,直接在铜表面纺织一层电化学稳定的杂化亲锂纤维来实现稳定、均匀地锂沉积,坚固锂负极,并且具有抑制锂金属枝晶生长的作用;同时由于锂金属低的还原性以及电解液高的介电常数,通常会造成大部分锂负极保护材料会被还原,而本发明所提供的具有杂化亲锂纤维的锂金属负极具有抗还原性能力,在电化学过程中不会随着时间的推移而被消耗,能够长期稳定沉积超薄锂金属负极。

标签:
加工技术
四川 - 成都 来源:中冶有色网 2023-03-18
半固态锂电池电解质及制备方法

本发明涉及锂电池领域,公开了一种半固态锂电池电解质及制备方法。包括如下过程:(1)将氯化锂、氯化钇、掺杂相M与无水乙醇的混合物浆体与粘接剂、发泡剂混合均匀,压制成型并烧结,得到多孔状电解质膜;(2)先将多孔电解质膜浸渍于氨基磺酸的乙二醇溶液中,然后加入烯丙基聚乙二醇单醚,并加入尿素,在惰性气体保护加热反应,再加入丙烯酸降温反应后,继续加入氯化钙静置反应,最后将电解质膜取出烘箱干燥、后续加工,得到半固态锂电池电解质。本发明制得的半固态锂电池电解质以刚性的多孔结构Li3MxY1‑xCl6作为骨架材料,柔性的磺酸基封端聚合物凝胶填充内部孔隙,有效提高了电极的锂离子传导能力,离子电导率高,应用前景好。

标签:
加工技术
四川 - 成都 来源:中冶有色网 2023-03-18
固态锂电池复合负极
固态锂电池复合负极 929     
 0

本实用新型涉及锂电池技术领域,尤其涉及一种固态锂电池复合负极。一种固态锂电池复合负极,包括固态电解质薄膜层和锂负极层,所述锂负极层包括锂金属负极材料,所述锂金属负极材料以熔融状态结合在所述固态电解质薄膜层之上形成锂负极层。锂金属负极材料以熔融状态结合在所述固态电解质薄膜层之上形成锂负极层能很好提高锂负极层和固态电解质薄膜层之间的浸润性能,很好的抑制锂枝晶的形成,提高包括该负极结构的锂电池安全性能;同时很好的减小锂负极层和固态电解质薄膜层之间的界面阻抗,提高导电离子在锂负极层和固态电解质薄膜层之间的迁移速率,提高锂负极层的导电能力。

标签:
加工技术
四川 - 成都 来源:中冶有色网 2023-03-18
锂离子电池的负极材料及其制备方法

本发明涉及锂离子电池的负极材料及其制备方法,属于锂电池领域。本发明要解决的技术问题是,提供一种锂离子电池的负极材料及其制备方法。本发明锂离子电池的负极材料为具有包覆层的石墨颗粒,其中,所述包覆层由85~95%v/v的碳酸锂和5~15%v/v的炭纤维组成。本发明锂离子电池的负极材料的制备方法,包括如下步骤:a、将聚乙烯醇和氢氧化锂混合,得到混合溶液;b、在混合溶液中加入石墨颗粒,搅拌,干燥,得到干燥物料;其中,石墨颗粒/LiOH·H2O的重量比为100~500:1;c、向干燥物料中通入惰性气氛,加热后保温0.5~5小时;d、改通入空气,继续保温0.5~5小时;e、冷却、干燥、粉碎、即得。本发明锂离子电池的负极材料性能好,制备工艺简单,制备时间短。

标签:
加工技术
四川 - 成都 来源:中冶有色网 2023-03-18
裁片机和裁片方法
裁片机和裁片方法 711     
 0

本发明涉及切割领域,特别涉及一种裁切软质片材质量高的裁片机和裁片方法,该裁片机包括裁刀机构,以及沿片材输送方向设置的夹紧机构和张紧机构,所述夹紧机构和张紧机构都可沿片材输送方向移动;裁片时:所述夹紧机构夹紧片材,并带动片材沿片材输送方向从第一位置移动到第二位置;张紧机构在第二位置把所述片材夹紧;所述夹紧机构松开片材返回第一位置并再次把片材夹紧,且夹紧片材的两个部位;以供所述裁刀机构在所述夹紧机构夹紧的两个部位之间的位置切断所述片材。本发明的裁片机和裁片方法具有裁切软质片材精度高的优点。

标签:
加工技术
四川 - 成都 来源:中冶有色网 2023-03-18
基于扩展性指数分布的锂电池剩余寿命预测方法

本发明公开了一种基于扩展性指数分布的锂电池剩余寿命预测方法,针对电池预测寿命提出一种q_指数分布函数,q_指数分布函数包括两个参数:q_指数分布函数均值λ和分形参数q,分形参数q具有分形意义,表明系统的灵活性,均值λ表明系统的稳定性,与系统的平均行为相关,使得本方法的参数估计简单,可通过调节分形参数q来不断逼近电池的实际数据,具有很强的扩展能力和灵活性。

标签:
加工技术
四川 - 成都 来源:中冶有色网 2023-03-18
锂离子电池锂锰氧化物正极材料的制备方法

本发明涉及一种锂锰氧化物材料的制备方法,同时适用于具有尖晶石结构复合氧化物材料的合成。以Li盐和Mn源(二氧化锰和金属锰)作为原料,加入有机酸作为反应物和分散介质,该有机酸可以是乙酸、乙二酸、草酸、柠檬酸中任意一种或几种,其中有机酸和锰的摩尔比值为0.5~5。蒸发溶剂得到凝胶前驱体,干燥、焙烧后得到正极材料。

标签:
加工技术
四川 - 成都 来源:中冶有色网 2023-03-18
用于锂电池的Si‑导电陶瓷复合负极材料及制备方法

本发明提供了一种用于锂电池的Si‑导电陶瓷复合负极材料及制备方法,其特征在于使用导电陶瓷作为骨架抑制硅负极材料在充放电中的体积变化。纳米硅颗粒钝化后与导电陶瓷分布形成二级颗粒,缓解了硅材料的体积膨胀而不改变二级颗粒的尺寸;导电陶瓷作为骨架,硅纳米粒子都是电化学活性的,因此具有更佳的比容量;导电陶瓷具有较好的机械性能,可以吸收由硅的体积效应而产生的内部应力。进一步,碳包覆层减少表面纳米材料的活动,提高固体‑电解质界面膜,保护活性材料免受电解质腐蚀,保持体积变化时电极集成和电导率,因此提高了电导率、电子迁移率和循环稳定性。

标签:
加工技术
四川 - 成都 来源:中冶有色网 2023-03-18
锂电池负极材料及其锂电池

本发明公开了一种锂电池负极材料,属于电池原料领域,旨在解决现有的负极材料不佳的问题,包括基体材料和粘接剂,其特征在于,所述的粘接剂 是由二胺类单体和二酯类单体通过聚合得到的高分子聚合物,其中,所述的二胺类单体的结构式如下:所述的二酯类单体单体的结构式如下:其中,R1为有机二价取代基,所述的R2为二价取代基团,所述的X1、X2均为非氢原子的一价取代基团。

标签:
加工技术
四川 - 德阳 来源:中冶有色网 2023-03-18
纳米碳材料锂空气电池空气电极、制备方法及其锂空气电池

本发明公开一种纳米碳材料锂空气电池空气电极,于集流体上原位复合负载有氧电极的催化剂,所述催化剂为纳米碳材料或对其掺杂改性后的纳米碳材料及其组合;将不同含氮量以及不同管径的管状纳米碳材料催化剂直接均匀沉积到集流体上作为锂空气电池的正极,而不需要使用任何载体与粘结剂,在保证催化剂含量的前提下,将空气电极中非活性物质含量降到最低。包含了所有空气电极的质量,该复合结构的空气电极在0.3mA/cm2下首次放电比容量达到4792mAh/g,经过多次循环后可逆容量达到2247mAh/g,在0.1mA/cm2下更是获得了高达7875mAh/g的比容量。

标签:
加工技术
四川 - 成都 来源:中冶有色网 2023-03-18
高性能锂离子电池负极材料即核壳结构FeS<sub>2</sub>@C纳米环的制备方法

本发明涉及纳米负极材料技术领域,具体为高性能锂离子电池负极材料即核壳结构FeS2@C纳米环的制备方法。该方法包括步骤1)采用水热法制备α‑Fe2O3纳米环颗粒;2)采用溶液法对所制备α‑Fe2O3进行有机物层涂覆即制备α‑Fe2O3@RF纳米环颗粒;3)对所制备的α‑Fe2O3@RF纳米环颗粒进行热处理即使有机物碳化获得Fe3O4@C纳米环;4)将所获得的Fe3O4@C进行硫化处理,最终获得FeS2@C纳米环颗粒;5)将获得的FeS2@C纳米环颗粒制作成纽扣电池,进行电化学测试。本发明配方简单,操作简单,重复性好,产物高纯;原材料丰富,环境友好型;材料结构规则,稳定性良好;作为负极材料具有高容量。

标签:
加工技术
四川 - 绵阳 来源:中冶有色网 2023-03-18
用于锂离子软包电芯的储液胶纸及锂离子软包电芯

本实用新型实施例公开了一种用于锂离子软包电芯的储液胶纸,其包括PET胶纸基膜及覆盖于PET胶纸基膜之上的纤维素气凝胶层,PET胶纸基膜的两面分别涂覆有第一胶黏剂层及第二胶黏剂层,PET胶纸基膜涂覆有第一胶黏剂层的一面用于连接电芯本体,PET胶纸基膜涂覆有第二胶黏剂层的一面连接纤维素气凝胶层。本实用新型实施例还公开了一种锂离子软包电芯。本实用新型的储液胶纸将吸液能力极强的纤维素气凝胶层涂覆于PET胶纸基膜上,使得该储液胶纸具有很强的保液作用。

标签:
加工技术
四川 - 成都 来源:中冶有色网 2023-03-18
利用均质机复合锂电池硅碳的方法及锂电池硅碳负极

本发明涉及锂离子电池技术领域,特别是涉及一种利用均质机复合锂电池硅碳的方法及锂电池硅碳负极。本发明通过将硅粉、无机填料和正硅酸乙酯形成的二氧化硅凝胶通过一次高压均质复合后卸压,使硅粉、无机填料细化后被二氧化硅凝胶包覆,通过高温喷雾干燥使凝胶脱水固化,在二次混合、卸压后实现有机碳源的包覆,最后通过高温烧结使二氧化硅与无机填料形成疏松多孔的硅酸盐,同时使表面有机相碳化,获得具有优异分散效果和循环性能的硅碳负极材料,在发挥出硅高理论容量的同时缓解硅巨大的体积效应,提升硅碳负极的充放电性能,循环性能和稳定性能。

标签:
加工技术
四川 - 成都 来源:中冶有色网 2023-03-18
高倍率锂离子电池正极材料锰酸锂的制备方法

本发明公开了一种高倍率锂离子电池正极材料锰酸锂的制备方法,包括将Al(CH3COO)3溶于去离子水中形成Al2O3凝胶,将LiMn2O4粉体加入去离子水拌成LiMn2O4悬浊液,然后将Al2O3凝胶缓慢加入到LiMn2O4悬浊液中保持搅拌状态,Al2O3在电荷作用下吸附于LiMn2O4表面形成Al2O3/LiMn2O4混合体,吸附更均匀,并且通过电荷作用力吸附更牢固,特别适合高倍率充放电,解决了动力电池高倍率充放电衰减的问题。

标签:
加工技术
四川 - 成都 来源:中冶有色网 2023-03-18
上一页 187 188 189 190 191 ... 204 下一页
共204页    到第

中冶有色为您提供最新的四川有色金属加工技术理论与应用信息,涵盖发明专利、权利要求、说明书、技术领域、背景技术、实用新型内容及具体实施方式等有色技术内容。打造最具专业性的有色金属技术理论与应用平台!

全国热门有色金属设备推荐
展开更多 +
全国热门有色金属技术推荐
展开更多 +

 

江西省隆恩特环保设备有限公司
宣传

报名参会
更多+

报告下载

有色专家
更多+

矿冶科技集团有限公司
中国工程院院士
江西铜业集团有限公司
党委书记、董事长
洛阳有色矿业集团有限公司
生产技术部经理
任灵宝金源矿业股份有限公司
技术发展部经理
中国矿业大学(北京)
教授
赤泥综合利用研究报告2025
推广

热门技术
更多+

推荐企业
更多+

福建省金龙稀土股份有限公司
宣传

发布

在线客服

公众号

电话

顶部
咨询电话:
010-88793500-807