青岛垚鑫智能科技有限公司
宣传

位置:北方有色 >

有色技术频道 >

> 加工技术

分类:
全部
矿山技术
冶金技术
材料制备及加工技术
环境保护技术
分析检测技术
 
全部
功能材料技术
复合材料技术
新能源材料技术
合金材料技术
加工技术
地区:
全部
北京
天津
上海
重庆
河北
山西
辽宁
吉林
黑龙江
江苏
浙江
安徽
福建
江西
山东
河南
湖北
湖南
广东
海南
四川
贵州
云南
陕西
甘肃
青海
内蒙
广西
西藏
宁夏
新疆
其他
其他
展开
 
全部
南京
无锡
徐州
常州
苏州
南通
连云港
淮安
盐城
扬州
镇江
泰州
宿迁

江苏常州有色金属加工技术理论与应用

免费发布技术信息>>
用于锂离子电池的外壳组件以及锂离子电池

本发明公开了一种用于锂离子电池的外壳组件以及锂离子电池。该电池包括:外壳本体,所述外壳本体围合形成腔体;环形部,所述环形部具有内环和外环,所述环形部被设置在所述外壳本体的沿轴向的一端,所述外环与所述外壳本体密封连接;以及芯柱,所述芯柱位于所述腔体内,所述芯柱的一端被设置在所述内环内,并与所述内环形成密封连接,所述环形部被配置为响应于所述外壳本体的变形而产生缝隙或者从所述外壳本体上脱落,和/或响应于所述芯柱的移动而产生缝隙。

标签:
加工技术
江苏 - 常州 来源:北方有色网 2023-03-18
锂电池管理容器自动检测设备

一种锂电池管理容器自动检测设备,包括检测机械手模块,检测控制系统;检测机械手模块,包括机架、阵列机械手、限位装置;机架由底板、连接杆的两端分别固定连接一个立板,两个连接杆之间固定连接有N个夹具固定板;阵列机械手为两个立板之间固定连接有两个直线导轨,夹具固定板上连接有M个夹具,N个夹具固定板上的M个夹具成阵列,夹具上有触片;限位装置为两个限位块固定在底板上。

标签:
加工技术
江苏 - 常州 来源:北方有色网 2023-03-18
锂离子电池的装配方法、锂离子电池

本发明公开了锂离子电池的装配方法、锂离子电池。该装配方法包括:提供第一极组和第二极组,所述第一极组具有第一正极耳和第一负极耳,所述第二极组具有第二正极耳和第二负极耳;将所述第一正极耳和所述第二正极耳焊接在第一连接片上;将所述第一负极耳和所述第二负极耳焊接在第二连接片上;在所述第一连接片和所述第二连接片上涂覆第一胶液,形成第一胶层,且所述第一胶层覆盖所述第一正极耳和所述第二正极耳,所述胶层覆盖所述第一负极耳和所述第二负极耳。由此,采用涂胶的方式在焊接位置和裸露的极耳处形成胶层,涂覆精准,可以提高产品的良率,并且,该胶层可以对焊接位置和极耳进行有效的绝缘保护。

标签:
加工技术
江苏 - 常州 来源:北方有色网 2023-03-18
CuO@SiO<Sub>x</Sub>复合锂电池负极材料及其制备方法

本发明公开了一种CuO@SiOx复合锂电池负极材料及其制备方法,使用水热法制备粉末状CuO后,再通过添加硅源并球磨以在CuO表面复合SiOx,最后在高温炉中煅烧得到CuO@SiOx材料。其中CuO作为导电剂和框架,既起到支撑作用,减缓了硅氧化物的体积膨胀,同时提高了材料的电导率,增强了材料的电化学性能。以最佳条件制备出的材料在500 mA·g‑1的电流密度循环100圈后,容量仍能保持在900 mAh·g‑1

标签:
加工技术
江苏 - 常州 来源:北方有色网 2023-03-18
具有高耐腐蚀性的锂电池复合包装材料与锂电池

本发明属于锂电池包装材料的领域,具体而言为一种具有高耐腐蚀性的锂电池复合包装材料,包含:中间金属层;外防腐蚀层,形成于中间金属层的一侧,其中于每平方公尺面积的外防腐蚀层中,含有:5至100mg的铬元素、0.5至65mg的水、碳元素,其含量自外防腐蚀层相对于中间金属层的一侧,往外防腐蚀层与中间金属层接触的一侧渐减、与来自于中间金属层的金属元素,其含量自外防腐蚀层与中间金属层接触的一侧,往外防腐蚀层相对于中间金属层的一侧渐减;以及一外基材树脂层,形成于外防腐蚀层相对于中间金属层的一侧。

标签:
加工技术
江苏 - 常州 来源:北方有色网 2023-03-18
锂电池生产自动分级机

一种锂电池生产自动分级机,包括输送模块、机架模块、升降模块、机械手、控制系统。输送模块为输送机架上固定安装有两个导轨,输送机架上固定有到位块,滑块与输送板固定连接,输送板通过传动机构与输送机架上的原动机传动连接。机架模块由底板、连接杆的两端分别固定连接一个立板,在每个立板相对的两边分别固定连接有导轨,两个连接杆之间固定连接有N个机械手固定板;升降模块为底板上固定安装有气缸,气缸杆与容器板固定连接;控制系统控制输送模块、机架模块、升降模块、机械手工作。

标签:
加工技术
江苏 - 常州 来源:北方有色网 2023-03-18
锂硫电池用复合碳材料、制备方法及锂硫电池

提供一种锂硫电池用复合碳材料及其制备方法。所述复合碳材料包括空心碳材料壳层和非计量比金属氧化物;所述非计量比金属氧化物分散在所述空心碳材料壳层中,且所述空心碳材料壳层中碳材料沿所述壳层厚度方向连续分布。本发明的复合碳材料,其中非计量比金属氧化物具有优异的导电性,有利于提升活性物质硫的转化率。同时,非计量比金属氧化物可以捕捉放电中间产物多硫化锂,这些被锚定的多硫化锂在该导电性优异的碳材料壳层中被高效转化为Li2S/Li2S2,可有效抑制多硫化物向正极外侧的进一步扩散。在充电过程中,壳层中的Li2S/Li2S2借助导电壳层高效、可逆转化为硫单质,提高活性物质硫的利用率。

标签:
加工技术
江苏 - 常州 来源:北方有色网 2023-03-18
锂电池薄膜的制备方法、锂电池薄膜及其应用

本发明提供了一种锂电池薄膜的制备方法,包括如下步骤:1将称量好的活性官能团单体、引发剂、抗氧剂和阻聚剂溶解于丙酮溶剂中,形成均一的混合溶液;将超高分子量聚乙烯粉料倒入高速混合机中,再将混合溶液喷洒到超高分子量聚乙烯粉料中,高速混合均匀,待丙酮挥发完全,得到混合粉料;2将混合粉料投入双螺杆挤出机中,双螺杆挤出机的转速为50‑120rpm,温度为180‑220℃,挤出量为200‑450kg/h,经过双螺杆的剪切混合,混合粉料进行接枝反应形成含有多官能团的聚乙烯结构,再经过后处理工序,制备成锂电池隔膜。本发明具有制备方式简单,不需要额外增加加工设备、改变现有的生产工序,适应于大规模的工业化生产应用,降低凝胶产生的风险,制备出的隔膜具有润湿性能好,保液性高。

标签:
加工技术
江苏 - 常州 来源:北方有色网 2023-03-18
锂电池复合正极材料的制备方法及其在锂电池中的应用

本发明涉及本发明公开了一种锂电池复合正极材料的制备方法及其在锂电池中的应用,属于化学电源领域,该制备方法包括以下步骤:将金属硫化物、氟化碳、聚丙烯腈高分子和极性溶剂按照质量比100:1~50:0.6~50:1~200机械混合均匀,然后在200~500℃之间加热合成金属硫化物复合正极材料;所述金属硫化物复合正极材料表面包覆有聚丙烯腈导电高分子层,而且金属硫化物活性物质的质量百分比为70~99.5%,聚丙烯腈导电高分层的质量百分比为0.5~30%;本发明的金属硫化物复合正极材料解决了金属硫化物正极材料在充放电过程中活性物质利用率低和循环性能差以及首次放电电压平台低的问题。

标签:
加工技术
江苏 - 常州 来源:北方有色网 2023-03-18
梯度掺杂的无钴正极材料及其制备方法以及锂离子电池正极和锂电池

本发明涉及锂离子电池技术领域,公开了一种梯度掺杂的无钴正极材料及其制备方法以及锂离子电池正极和锂电池。所述正极材料的组成由通式LiNixMnyAzO2表示,0.55≤x≤0.95;0.05≤y≤0.45;0.005≤z≤0.02;其中,沿所述正极材料的表层至中心方向,所述元素A在所述正极材料中的含量呈递减趋势;所述元素A为Al、Zr、Ti、B和W中的一种或多种。该制备方法简单易行,对焙烧条件要求简单,以及该无钴正极材料具有良好的循环性能。

标签:
加工技术
江苏 - 常州 来源:北方有色网 2023-03-18
锂离子电池的注液化成工艺及锂离子电池

本发明提供了一种锂离子电池的注液化成工艺及锂离子电池。本发明的锂离子电池的注液化成工艺包括依次设置的一次注液、静置、预充化成、二次注液和分容步骤;其中,一次注液步骤和二次注液步骤分别采用组分不同的电解液Ⅰ和电解液Ⅱ进行,且电解液Ⅰ中添加有低阻抗成膜添加剂。本发明的锂离子电池的注液化成工艺,分两次对锂离子电池进行注液,且一次注液采用添加有低阻抗成膜添加剂的电解液Ⅰ,利于形成阻抗较低的SEI膜,从而降低电芯的整体阻抗;二次注液注液的电解液Ⅱ,则能够保证电池电解液量充足。通过该工艺前后两次加注不同的电解液,可以改善电池电芯在低阻抗和长寿命两方面性能上的兼顾性。

标签:
加工技术
江苏 - 常州 来源:北方有色网 2023-03-18
复合正极材料及其制备方法、锂电池正极材料及锂电池

本发明提供了一种复合正极材料及其制备方法、锂电池正极材料及锂电池。该复合正极材料包括石墨烯、三元正极材料以及偶联剂。本申请利用偶联剂键合石墨烯和三元正极材料得到的堆叠结构实现了对三元正极材料进行均匀地包覆,从而极大地减小了石墨烯和三元正极材料的间隙,进而缩短了石墨烯上锂离子扩散传导的路径,并减少三元正极材料的内阻。同时,利用偶联剂包含的快离子传导通道以及石墨烯具有的隔离电解液的作用,进一步地减少了石墨烯对锂离子的扩散阻碍、改善了锂电池的倍率性能和循环性能,且上述复合正极材料的组分简单、来源广泛,成本较低。

标签:
加工技术
江苏 - 常州 来源:北方有色网 2023-03-18
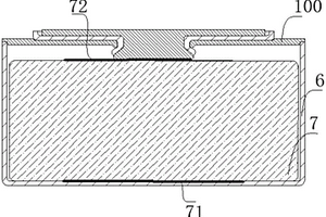
用于锂电池的密封结构及锂电池

本实用新型提供一种用于锂电池的密封结构及锂电池,密封结构包括密封圈和电池盖帽,所述密封圈包括圈体、上边沿和下边沿,所述下边沿朝向所述上边沿的端面上形成有环状凸台;所述电池盖帽朝向所述下边沿的端面上设置有与所述环状凸台相适配的环状凹槽,且所述电池盖帽与所述密封圈一体注塑成型,解决了传统密封圈与电池盖帽装配困难;装配好后在刻线电池盖帽爆开之前,电池盖帽会从与密封圈连接处先行漏气,导致锂电池的防爆功能失效的问题,密封圈与电池盖帽采用一体注塑成型,使得装配方便;密封圈内的凸台与电池盖帽上的凹槽相互配合,使的密封圈与电池盖帽的密封更为可靠,有效避免在刻线电池盖帽爆开前,从电池盖帽与密封圈连接处先行漏气。

标签:
加工技术
江苏 - 常州 来源:北方有色网 2023-03-18
锂电三元材料的水洗系统、加工系统及加工工艺

本发明公开了一种锂电三元材料的水洗系统、加工系统及加工工艺,包括顺序相接的缓存料仓、计量仓、搅拌釜、压滤机、输送机组和干燥机组;所述缓存料仓中存放有粉体物料;所述输送机组包括与压滤机的输出端连接的一级输送机和与所述一级输送机连接的二级输送机,所述一级输送机包括两个或者两个以上并排设置的输送机。

标签:
加工技术
江苏 - 常州 来源:北方有色网 2023-03-18
锂硫电池电解液及锂硫电池

提供一种锂硫电池电解液,包括通式为R1‑Si‑R2的化合物,其中R1选自C1‑10的烷基、R2选自C1‑10的烷基、i为2‑7的整数;所述R1‑Si‑R2的化合物体积添加量占所述电解液总体积的11‑15%。还提供一种包括该电解液的锂硫电池。本发明通过调整硫醚类有机物的添加量,可以在电池低液/硫比情况下,实现提升锂硫电池容量的同时,有效解决硫醚类有机物对金属锂负极的腐蚀问题。特别适用于低液/硫比锂硫电池。进一步,在电池中,调整锂盐浓度为0.6‑0.8mol/L,可提升大容量电池的长期循环稳定性能。

标签:
加工技术
江苏 - 常州 来源:北方有色网 2023-03-18
锂离子电池的电连接结构和具有其的锂离子电池

本实用新型提供一种锂离子电池的电连接结构和具有其的锂离子电池,电连接结构包括:第一金属片;第二金属片,第二金属片的熔点小于第一金属片的熔点,第二金属片贴设于第一金属片的一侧且与第一金属片焊接连接,第二金属片经焊接形成有沿其厚度方向贯通的熔接穿透区,熔接穿透区四周的环形边沿形成环形熔接区,环形熔接区与第一金属片相连;粘接层,粘接层至少设在熔接穿透区内且与环形熔接区和第一金属片相连以连接第一金属片和第二金属片。根据本实用新型实施例的锂离子电池的电连接结构,通过焊接处理后再在熔接穿透区内涂覆粘接层,在保证第一金属片和第二金属片之间有效电连接的同时,提高第一金属片和第二金属片之间的连接机械强度。

标签:
加工技术
江苏 - 常州 来源:北方有色网 2023-03-18
用于锂离子电池的高孔隙率、孔径均匀的聚烯烃隔膜及其制备方法、锂离子电池

本发明提供了一种聚烯烃隔膜,所述聚烯烃隔膜包括聚乙烯隔膜和/或聚丙烯隔膜;所述聚烯烃隔膜的孔隙率大于等于50%;所述聚烯烃隔膜的孔径分布区间为0.01~0.1μm。本发明得到的具有特定的结构和参数指标的聚烯烃隔膜,具有较高的孔隙率和孔径均匀的特点,从而降低锂电池的内阻,减少电能浪费,提高锂离子电池的容量和性能。本发明在隔膜制备过程中,通过加工工艺和原料调配的优化调整,使所制备的隔膜具有较高的孔隙率和更加均匀的孔径分布,便于锂离子通过隔膜的传输,从而降低电池卷绕后的内阻,提高电池的容量保持率和电池倍率放电性能。而且工艺简单、环境友好、稳定性好,更加适于工业化推广和应用。

标签:
加工技术
江苏 - 常州 来源:北方有色网 2023-03-18
预锂电芯加工装置及预锂电芯加工系统

本实用新型涉及电芯加工设备技术领域,具体涉及一种预锂电芯加工装置及预锂电芯加工系统。本实用新型提供的预锂电芯加工装置,通过设置第一覆合机构与第二覆合机构,将隔膜与锂箔进行覆合,从而形成第一覆合带与第二覆合带,随后用裁断单元将所述第一覆合带与所述第二覆合带进行裁断,通过将隔膜与锂箔预先覆合,随后对覆合后的结构进行单独裁片,从而方便后续的叠片步骤,无需在锂箔与负极极片装配在一起后再进行模切,提高安全系数;同时,对隔膜和锂箔覆合后的结构进行单独裁片,能够将裁片步骤前置,降低裁片步骤的难度。

标签:
加工技术
江苏 - 常州 来源:北方有色网 2023-03-18
用于锂离子电池的正极材料及其制备方法和锂离子电池

本公开涉及一种用于锂离子电池的正极材料,该正极材料包括基体颗粒、包覆在所述基体颗粒上的第一包覆层和包覆在所述第一包覆层上的第二包覆层;所述基体颗粒含有LiNixMnyCozM1‑x‑y‑zO2,其中0.80≤x≤0.90,0.02≤y≤0.05,0.05≤z≤0.1,M为Mg、Ba、B、Al、Si、P、Ti、Zr、Nb中的至少一种;所述第一包覆层含有钴酸锂;所述第二包覆层含有过渡金属的氧化物。本公开提供的正极材料可以有效降低正极材料表面的碱含量,降低正极材料的比表面积,提高正极材料的热稳定性。

标签:
加工技术
江苏 - 常州 来源:北方有色网 2023-03-18
锂离子电池盖板、锂离子电池及其应用产品

本实用新型公开了一种锂离子电池盖板、锂离子电池及其应用产品,包括:环形外圈,以及端盖,端盖设置于环形外圈的上方,端盖和环形外圈之间设有绝缘胶层以使得环形外圈的上表面与端盖的下表面之间粘接,端盖的中部设有凹陷部,凹陷部与环形外圈之间形成一个容纳空间,多个密封胶层,多个密封胶层填充在容纳空间内,以将环形外圈和端盖之间密封。本实用新型的绝缘胶层具有连接、绝缘以及密封作用,通过设置多处处密封性能不同的密封区域,提高了电池盖板的密封性与可靠性,且可适用于电池内外不同的使用环境。

标签:
加工技术
江苏 - 常州 来源:北方有色网 2023-03-18
锂离子电池卷芯的卷绕方法、卷芯及锂离子电池

本发明涉及一种锂离子电池卷芯的卷绕方法、卷芯及锂离子电池,该卷绕方法包括:通过第一热熔辊使第一隔膜组件粘附于正极片的一个表面,通过第二热熔辊使第二隔膜组件粘附于负极片的一个表面;使粘附有所述第一隔膜组件的所述正极片和粘附有所述第二隔膜组件的所述负极片进行卷绕。本发明卷绕方法在卷绕过程中,通过热熔辊的作用将正负极片的边缘与隔膜热熔,正负极片边缘的毛刺得到有效抑制,Hi‑pot不良率明显降低,提升了生产优率;同时,极片边缘覆膜避免了极耳插入与极片短路的风险,提升了卷芯的安全性能。

标签:
加工技术
江苏 - 常州 来源:北方有色网 2023-03-18
锂离子电池盖板和包含该盖板的锂离子电池

本实用新型涉及锂离子电池技术领域,尤其涉及一种锂离子电池盖板和包含该盖板的锂离子电池,包括:铆钉、环形密封圈、环形外圈、上密封层和下密封层;铆钉包括端盖,端盖下表面中心位置向下形成有柱形凸块,柱形凸块的外周形成有楔形凸圈;环形密封圈下表面内圈向下延伸有环形定位圈,环形定位圈的下表面向下延伸有楔形定位环;环形定位圈和楔形定位环均套设在铆钉的柱形凸块的外周,楔形定位环的斜面与楔形凸圈的斜面紧密贴合;铆钉端盖的下表面与环形密封圈上表面之间形成上密封层,环形密封圈的下表面与环形外圈之间形成下密封层。本实用新型设置有双重密封结构,增加了密封的可靠性,且结构简单,确保微小型电池的有效空间,安全性能高。

标签:
加工技术
江苏 - 常州 来源:北方有色网 2023-03-18
用于制备锂离子电池的片材、电极和锂离子电池

本实用新型提供了用于制备锂离子电池电极的片材,该片材包括:基体,所述基体为金属箔片,所述基体中具有极片区,以及设置在所述极片区外围的留白区;保护层,所述保护层位于所述留白区,且临近所述极片区设置,所述保护层是由绝缘材料形成的,所述保护层在自所述极片区向远离留白区的方向上的宽度,不小于3mm。该片材在用于制备锂离子电池电极时,在进行辊压时即便在高压实密度下其中的留白区也不会出现褶皱,而且也不会发生断带,且利用该片材制备锂离子电池电极时,工艺简单、成本较低,易于产业化,适用于多列辊压。

标签:
加工技术
江苏 - 常州 来源:北方有色网 2023-03-18
回收锂电池阳极废液中N甲基吡咯烷酮的方法

一种回收锂电池阳极废液中N甲基吡咯烷酮的方法,用絮凝剂对阳极废液进行絮凝分离,再对所得絮凝胶状沉淀物进行压滤,滤液为NMP的水溶液,滤渣是含有贵金属、碳粉等的固态物;为更彻底地实现NMP从废液中分离,通过加入硅藻土,搅拌均匀得到硅藻土泥浆;再对硅藻土泥浆进行压滤,实现固液分离。它无需加热耗能就能回收其中的NMP,也便于回收其中的贵金属,这种方法既经济,又环保,适合工业化生产。经试验,采用本发明的分离方法,阳极废液中NMP的回收率达95%以上。

标签:
加工技术
江苏 - 常州 来源:北方有色网 2023-03-18
锂电池负极预锂装置
锂电池负极预锂装置 916     
 0

本实用新型提供一种锂电池负极预锂装置,包括用于辊压的上辊轮和下辊轮,以及用于第一锂箔导向的第一导向托辊、用于铜箔导向的第二导向托辊和用于第二锂箔导向的第三导向托辊,所述第一导向托辊的位置使第一锂箔和上辊轮形成包角α1,所述第三导向托辊的位置使第二锂箔和下辊轮形成包角α2,第一锂箔、铜箔和第二锂箔从上到下辊压在一起形成预锂复合铜箔。具有机构设置简单,制作成本较低,辊压效果佳,表面平整,形状平稳的特点。

标签:
加工技术
江苏 - 常州 来源:北方有色网 2023-03-18
可将同批次电池性能调整一致的锂电池充电系统

本发明涉及一种可将同批次电池性能调整一致的锂电池充电系统,属于电池电芯制造技术领域。该系统包括两条平行间隔的用于输送电芯组的输送辊道、前后依次跨设于输送辊道上的第一充电机构和第二充电机构;第一和第二充电机构均含有跨设于输送辊道上的机架、安装于机架顶部的探针、设置于机架下方并与探针位置对应的举升组件;举升组件位于两条输送辊道之间;举升组件的一端设有阻挡器,当电芯组被阻挡器阻挡并被举升组件举升时,探针与电芯组的极耳一一对应压紧,第一充电机构上的探针以串联方式连接后再连接一个串联充电器;第二的探针以并联方式连接,再连接一个并联充电器。本发明可以让电池组自动补平未满电压,保证产品参数的一致性。

标签:
加工技术
江苏 - 常州 来源:北方有色网 2023-03-18
具有核壳结构的锂电池用负极材料及锂电池

本发明实施例涉及一种具有核壳结构的锂电池用负极材料及锂电池,所述负极材料为具有核壳结构的硅碳复合材料;其中,所述负极材料的内核为氧化硅烯或硅烯与缓冲材料的复合材料,外壳为具有保护作用的碳、碳颗粒、碳纤维或碳纳米管构成的一层或多层包覆层或者颗粒层;所述氧化硅烯占所述负极材料的质量比为5%‑95%;所述缓冲材料为所述氧化硅烯质量的1%‑300%;所述外壳占所述负极材料的质量比为0.1%‑10%;所述负极材料的拉曼光谱中,在475±10cm‑1具有非晶鼓包,和/或在510±10cm‑1具有晶态峰;且在1360±20cm‑1和1580±20cm‑1具有碳的特征峰。

标签:
加工技术
江苏 - 常州 来源:北方有色网 2023-03-18
NCMA四元系材料及其制备方法、锂电池正极材料及锂电池

本发明提供了一种NCMA四元系材料及其制备方法、锂电池正极材料及锂电池。该NCMA四元系材料包括NCMA四元正极材料和包覆层,该包覆层包括Co3O4和V2O5。通过上述Co3O4和V2O5的共包覆层,既能解决材料表面的残碱问题,同时又能抑制NCMA四元正极材料中的过渡金属的溶解,以及Co3O4和V2O5的相互协同作用来进一步提高材料本体电荷传输速率和材料跟电解液之间的离子传输速率,从而促进锂离子的嵌入脱出、减少残锂和NCMA四元正极材料表面的副反应,进而提高NCMA四元正极材料的容量、稳定性等电化学性能。

标签:
加工技术
江苏 - 常州 来源:北方有色网 2023-03-18
锂硫电池的正极材料、其制备方法及锂硫电池

公开一种锂硫电池的正极材料,包括含硫正极材料和过渡金属化合物,所述过渡金属化合物能够在所述锂硫电池放电时生成过渡金属硫化物,且所述过渡金属硫化物难溶于电解液中。本发明的正极材料在锂硫电池体系中,过渡金属化合物会与放电产物中的多硫离子形成过渡金属硫化物。该过渡金属硫化物不溶于电解液,因此对正极的多硫离子起到固定作用,从而在根源上阻断多硫化物的穿梭。

标签:
加工技术
江苏 - 常州 来源:北方有色网 2023-03-18
用于高电压钴酸锂电池的电解液及钴酸锂电池

本发明公开了一种用于高电压钴酸锂电池的电解液及钴酸锂电池,其中,电解液包括:锂盐电解质、有机溶剂和添加剂;其中,添加剂包括:碳酸亚乙烯酯、二氟甲基草酸磷酸酯、七氟丁酸酐、二乙烯基四(三甲基硅氧基)二硅氧烷。本发明通过添加剂中的这四种物质的相互作用,实现电解液在高电压下的优良电性能。

标签:
加工技术
江苏 - 常州 来源:北方有色网 2023-03-18
上一页 114 115 116 117 118 ... 123 下一页
共123页    到第

北方有色为您提供最新的江苏常州有色金属加工技术理论与应用信息,涵盖发明专利、权利要求、说明书、技术领域、背景技术、实用新型内容及具体实施方式等有色技术内容。打造最具专业性的有色金属技术理论与应用平台!

全国热门有色金属设备推荐
展开更多 +
全国热门有色金属技术推荐
展开更多 +

 

江西省隆恩特环保设备有限公司
宣传

报名参会
更多+

报告下载

有色专家
更多+

东北大学
院长/教授
郑州大学
校长/党委书记
中国瑞林工程技术有限公司
中国工程院院士
江西理工大学
教授
洛阳有色矿业集团有限公司
生产技术部经理
赤泥综合利用研究报告2025
推广

热门技术
更多+

推荐企业
更多+

福建省金龙稀土股份有限公司
宣传

发布

在线客服

公众号

电话

顶部
咨询电话:
010-88793500-807