青岛垚鑫智能科技有限公司
宣传

位置:北方有色 >

有色技术频道 >

> 加工技术

分类:
全部
矿山技术
冶金技术
材料制备及加工技术
环境保护技术
分析检测技术
 
全部
功能材料技术
复合材料技术
新能源材料技术
合金材料技术
加工技术
地区:
全部
北京
天津
上海
重庆
河北
山西
辽宁
吉林
黑龙江
江苏
浙江
安徽
福建
江西
山东
河南
湖北
湖南
广东
海南
四川
贵州
云南
陕西
甘肃
青海
内蒙
广西
西藏
宁夏
新疆
其他
其他
展开
 
全部
南京
无锡
徐州
常州
苏州
南通
连云港
淮安
盐城
扬州
镇江
泰州
宿迁

江苏常州有色金属加工技术理论与应用

免费发布技术信息>>
锂电池箱火灾报警和防护系统

本实用新型提供了一种锂电池箱火灾报警和防护系统,包括:带有容器的火灾报警和防护装置,所述火灾报警和防护装置连接有至少一个火情探测器,其中所述火情探测器适于监测锂电池箱内环境数据;当锂电池箱内环境数据超过设定阈值后,火灾报警和防护装置启动容器对该电池箱进行灭火。此种锂电池箱火灾报警和防护系统,通过火情探测器实时监测锂电池箱内的环境数据,而当该环境数据超过了设定阈值以后,火灾报警和防护装置被触发启动,通过容器对该电池箱进行灭火。

标签:
加工技术
江苏 - 常州 来源:北方有色网 2023-03-18
高能量密度锂电池的电极盖板

一种高能量密度锂电池的电极盖板,包括引电圈和连接圈,引电圈为导电体,连接圈与引电圈固定连为一体。所述连接圈既可为非导电材质也可以是导电体,若是非导电材质则在连接圈与电池壳体的连接处设有连接层。若是导电体,则在引电圈和连接圈之间增设分隔圈。锂电池采用这种电极盖板和陶瓷壳体,锂电池的能量密度比普通同规格锂电池高难度10%~20%,是高能量密度锂电池的专用电极盖板。

标签:
加工技术
江苏 - 常州 来源:北方有色网 2023-03-18
锂电池阻值自动测试装置

本发明提供了一种锂电池阻值自动测试装置,包括上料单元、抓取单元、检测单元、控制单元、分料单元和底板,上料单元用以传送待检测的锂电池;抓取单元将传送带上的待检测锂电池抓取至检测单元;检测单元用以检测待检测锂电池的阻值,并将检测出的阻值与预设的阻值作对比,将对比结果传送至控制单元;控制单元接收检测单元发送的对比结果,并根据对比结果向分料单元发送控制命令;分料单元接收控制单元的控制命令,并根据所接收的控制命令,对检测完的锂电池进行分类,实现锂电池阻值的自动检测,且大大提高了检测精度及检测效率。

标签:
加工技术
江苏 - 常州 来源:北方有色网 2023-03-18
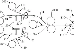
便于转运的锂电池箱
便于转运的锂电池箱 1186     
 0

本发明公开了一种便于转运的锂电池箱,其结构包括:锂电池箱、安装托盘、电池匣;所述锂电池箱卡入所述安装托盘上,所述安装托盘装于所述电池匣内,并可在其内滑动;所述锂电池箱外侧的四个柱,与两个呈上下设置的轴承内圈固定,本发明将锂电池箱固定于轴承内圈,并嵌入安装托盘,收置于电池匣内,需更换电池时,由人工拖动牵引把手,抽出锂电池箱,进行更换,其转运过程,无需其他的转运工具或机械臂即可由人工牵引拖动,大大降低了成本,在本领域内有显著技术进步。

标签:
加工技术
江苏 - 常州 来源:北方有色网 2023-03-18
多功能锂电池隔膜涂布机

本发明属于涂布机械技术领域,具体涉及一种多功能锂电池隔膜涂布机。本一种多功能锂电池隔膜涂布机包括:第一涂布机构和第二涂布机构;第一涂布机构包括第一机架、主导料组件、第一、第二辅导料组件、第一和第二涂布组件;第二涂布机构包括第二机架、第三辅导料组件和第三涂布组件。本一种多功能锂电池隔膜涂布机,放卷机构放出的锂电池隔膜用基膜经主导料组件导引转向不同的辅导料组件,以使锂电池隔膜用基膜经过第一、第二或第三涂布组件,实现一条生产线能实现对锂电池隔膜用基膜进行三辊涂布、微凹涂布或圆网印刷点涂涂布。能够兼容多种特性浆料以及不同类型锂电池隔膜用基膜,可任选涂布方式切换,满足客户个性化需求。

标签:
加工技术
江苏 - 常州 来源:北方有色网 2023-03-18
锂离子电池自放电测试方法

本发明涉及锂电池测试技术领域,特别是一种锂离子电池自放电测试方法,包括以下步骤,步骤S1:对锂离子电池进行数次充放电循环,并对其进行定容测试;步骤S2:将经过充放电预处理的锂离子电池充电至满电状态,在35℃‑50℃的高温环境中静置1‑10天;步骤S3:对静置后的锂离子电池进行降温,并再次进行定容,根据两次定容的结果,确定锂离子电池的自放电情况。采用上述后方法,本发明经过大量实验测试选择35℃~50℃的温度为高温静置温度,可以优化锂离子电池的性能且极大的缩短实验测试时间。

标签:
加工技术
江苏 - 常州 来源:北方有色网 2023-03-18
有机分子修饰的富锂材料及其制备方法

本发明提供了一种有机分子修饰的富锂材料及其制备方法,涉及锂离子电池技术领域,所述有机分子修饰的富锂材料由含巯基的有机分子在富锂材料表面发生自组装得到。本发明提供的有机分子修饰的富锂材料,含巯基的有机分子通过巯基在富锂材料的表面自组装,形成厚度可控、均匀的单分子修饰层,从而延长富锂材料使用寿命的同时,提高富锂材料的电化学性能。

标签:
加工技术
江苏 - 常州 来源:北方有色网 2023-03-18
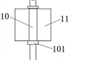
锂电池盖帽组件
锂电池盖帽组件 971     
 0

本发明涉及一种可大幅减小锂电池内阻并提高其一致性的锂电池盖帽组件,其包括:依次上下设置的盖板、膜片、密封圈和孔板;盖板与膜片之间、孔板与膜片之间通过超声波焊接连接,从而消除了盖帽的各零件间的接触电阻,大幅降低了盖帽的电阻、提高了盖帽电阻的一致性,使锂电池的内阻一致性得到了大幅度提升,进而使锂离子电池组的性能、寿命和品质得到了大幅的提升。其中,超声波焊接具有控制较方便、不会焊穿、成品率高、电阻变化小、稳定性好等优势,且其焊点面积比现有的激光焊接等焊接方式明显增大,提高了电池大电流通过能力,满足了对盖帽大电流通过能力日益提高的技术要求。

标签:
加工技术
江苏 - 常州 来源:北方有色网 2023-03-18
基于金属有机骨架的锂硫电池正极材料及制备方法

本发明公开了一种基于金属有机骨架(MOFs)的锂硫电池正极材料,包括硫纳米颗粒和MOFs,硫纳米颗粒位于MOFs孔道内,正极材料中硫与MOFs的质量比≥1。本发明还公开了上述锂硫电池正极材料的制备方法:将MOFs、表面活性剂、水与酸混合,形成溶液A;将含硫化合物和表面活性剂溶于水,形成溶液B;将溶液B通过蠕动泵逐滴加入溶液A进行反应,蠕动泵的转速为0.5~1r/min,反应时间为10~20h,形成锂硫电池正极材料前驱体;将前驱体用超纯水洗至中性、过滤、烘干,即得到基于MOFs的锂硫电池正极材料。本发明的锂硫电池正极材料成本低、容量大、寿命长。

标签:
加工技术
江苏 - 常州 来源:北方有色网 2023-03-18
废旧新能源汽车锂离子动力电池全组份回收与再利用方法

本发明废旧新能源汽车锂离子动力电池全组份回收与再利用方法为:先进行放电;放电后开启单体电池安全阀,切割开袋;采用高温加压蒸汽对电池进行热处理后自然冷却,切割去掉极柱和盖板;送入撕碎机破壳,经刀式切碎;进入弱磁性磁选机分离出铁物质,同时利用负压气流去除轻物质;余下的物料经涡电流分选出非导电性组分;再经强磁性磁选机将正极板和负极板的碎片分离开;然后经双辊机和干式摩擦机处理,剥离电极材料并经旋风分离和脉冲除尘器收集;收集的正极材料粉溶出锂离子;锂离子滤液沉淀除杂过滤后回收碳酸锂。本发明方法可实现新能源汽车锂离子动力电池产业化回收利用,提高了深度分类回收的效率、避免二次污染并降低回收成本。

标签:
加工技术
江苏 - 常州 来源:北方有色网 2023-03-18
磷酸铁锂电池制备过程中无单质铁生成的方法

本发明涉及了一种磷酸铁锂电池制备过程中无单质铁生成的方法,属于电池材料领域。针对目前在磷酸铁锂制备时的煅烧过程中,氧化铁在高温还原性气氛下存在容易被还原成单质铁,会引起电池的微短路的弊端,提供了一种磷酸铁锂电池制备过程中无单质铁生成的方法,该方法先将硫酸钾和硫酸钙的溶液与酸的发酵液和重铬酸钾、硫酸银、浓硫酸制备的溶液三者混合,将磷酸钾、氧化铁、石墨粉混合后放入混合溶液中浸泡,之后取出在烤箱中烘烤,最后放入还原性气氛的高温炉中进行煅烧,即可得到无单质铁生成的磷酸铁锂电池材料,该方法制成的磷酸铁锂电池成本低廉,制备工艺简单,且电池无单质铁存在,增加了电池的安全性和使用寿命。

标签:
加工技术
江苏 - 常州 来源:北方有色网 2023-03-18
锂电材料绞龙输送机构

本实用新型公开了一种锂电材料绞龙输送机构,包括电机、叶片和料斗,所述叶片与电机相连,且可在电机的驱动下旋转,所述叶片贯穿于所述料斗的底部,其特征在于,所述料斗包括柔性料斗主体和蠕动下料机构,所述蠕动下料机构位于所述柔性料斗主体的外部,且可通过推动所述柔性料斗主体的侧壁使所述柔性料斗主体的侧壁发生形变。本实用新型的锂电材料绞龙输送机构,通过设置柔性料斗主体和蠕动下料机构,使柔性料斗主体的侧壁可发生形变,从而可通过柔性料斗的蠕动防止料斗内锂电材料的堆积。非金属螺旋叶片和柔性料斗主体均为非金属结构,从而可防止因金属输送机构的磨损而导致金属碎屑混入锂电材料中。

标签:
加工技术
江苏 - 常州 来源:北方有色网 2023-03-18
集成式光伏锂电路灯
集成式光伏锂电路灯 1193     
 0

本实用新型公开了一种集成式光伏锂电路灯,属于路灯领域。本实用新型的一种集成式光伏锂电路灯,包括灯柱、灯杆和灯头,所述的灯柱的底部固定在基座上,所述的灯柱通过弧形的灯杆与灯头相连,所述的灯头内设置有LED光源、控制单元和锂离子电池,所述的灯柱的顶部设置有安装台,该安装台上设置有安装有太阳能板的太阳能自动跟踪装置;所述的灯柱上设置有电动车充电收费装置,该电动车充电收费装置与设于灯头内的锂离子电池电连接。本实用新型结构简单,安装方便,太阳能的收集率和使用率均最大化,增设了电动车充电收费装置,解决了电动车使用者在前不着店后不着村的公路上行驶时电瓶没电的问题。

标签:
加工技术
江苏 - 常州 来源:北方有色网 2023-03-18
电池负极片预锂设备
电池负极片预锂设备 880     
 0

本实用新型提供了一种电池负极片预锂设备,包括顺次设置的锂箔预处理单元、辊压单元和基膜揭除单元。锂箔预处理单元包括基膜储料机构、锂箔储料机构、以及至少一对复合辊,由基膜储料机构引出的基膜和由锂箔储料机构引出的锂箔经复合辊压合而形成预锂复合层。辊压单元包括极片输送机构和至少一对压辊,由锂箔预处理单元引出的预锂复合层、以及由极片输送机构引入的负极片被引导叠合,并经压辊压合而形成含膜预锂极片;且基膜被设置于含膜预锂极片的表面,基膜揭除单元用于揭除含膜预锂极片表面的基膜,以形成预锂极片。本实用新型的电池负极片预锂设备可对负极片进行预锂化处理。

标签:
加工技术
江苏 - 常州 来源:北方有色网 2023-03-18
圆柱形锂电池电芯一致性检测机构

本实用新型公开了一种圆柱形锂电池电芯一致性检测机构,属于锂电池检测技术领域。本实用新型的圆柱形锂电池电芯一致性检测机构,包括滑道、设于滑道检测位置处的顶针夹持机构、以及取料机构,取料机构包括步进电机和旋转齿轮,滑道的底部设有缺口,旋转齿轮与步进电机的电机轴相连接,且旋转齿轮的上部穿过上述的缺口,旋转齿轮上均匀分布有若干与锂电池电芯截面形状和尺寸相匹配的齿槽,且旋转齿轮上最高位置处的齿槽对应滑道上的检测位置。本实用新型利用具有能够抓取锂电池电芯的齿槽的旋转齿轮来夹取待检测的电芯,实现了锂电池电芯的逐一连续稳定检测,结构设计简单可靠,且不易出现漏检的情况,大大提高了锂电池电芯的一致性检测效率。

标签:
加工技术
江苏 - 常州 来源:北方有色网 2023-03-18
用于锂电池生产的成品输送装置

本实用新型公开了一种用于锂电池生产的成品输送装置,涉及锂电池生产技术领域,包括底座,传送带的内侧两端分别设有两个转动轴,转动轴的右端固定安装有从动轮,底座的上侧设有第一电机,第一电机的输出端连接有第一主动轮,第一主动轮与从动轮齿合连接,传送带的左侧设有机架,机架的右侧分别滑动安装有吸尘机和集料箱。本实用新型设计新颖,结构简单,使用方便,转动的扇叶吹出风,将传送带以及锂电池表面的浮灰吹走,防止浮灰落入锂电池的金属接口上造成短路,吹动的风也可对锂电池的表面进行降温除湿的效果,集料箱向右下侧倾斜,从而使得锂电池储存在集料箱内不会掉落,集料箱向左下侧倾斜,可将锂电池倾倒在传送带上。

标签:
加工技术
江苏 - 常州 来源:北方有色网 2023-03-18
锂离子电池电极、其制备方法及用途

本发明提供了一种锂离子电池电极、其制备方法及用途。所述的电极包括集流体,所述集流体的至少一侧表面层叠设置有至少两层活性层,由远离至靠近集流体表面的方向,每层所述活性层中有机锂化合物的含量逐层增加。本发明提供的锂离子电池电极,通过添加有机锂化合物,可以减少电解液的消耗;此外,由于靠近集流体表面的活性层与电解液反应较晚,所生产的固相电解质膜较少,后续循环过程将通过消耗活性锂来补充,所以循环前期衰减较快,通过有机锂化合物含量的逐层增加,使电极整体反应均匀。

标签:
加工技术
江苏 - 常州 来源:北方有色网 2023-03-18
制备磷酸铁锂复合正极材料的方法

本发明公开了一种制备磷酸铁锂复合正极材料的方法,其中以锂源化合物、铁源化合物、磷源化合物、碳源化合物为原料,按摩尔比计,上述的配料比例为:Li∶Fe∶P∶C=0.9~1.2∶0.95~1∶1∶0~1;该方法以聚氧化乙烯为表面活性剂,本方法工艺步骤少,缩短了生产周期,节省成本,可以用最少的碳,最大程度的提高磷酸铁锂复合材料的导电性,同时还提高了材料中活性物质的含量。

标签:
加工技术
江苏 - 常州 来源:北方有色网 2023-03-18
激光溅射预锂装置及其制备的负极片

本实用新型涉及电池制造技术领域,具体涉及一种激光溅射预锂装置及其制备的负极片。本实用新型提供的激光溅射预锂装置,通过将负极片设置在锂箔沿高度方向的相对下方,并通过激光发生器产生的激光照射所述锂箔以在所述负极片上形成溅射锂层,通过激光实现可控、快速的预锂化过程,由于激光的烧蚀作用,溅射的锂可以较好地实现与负极片的接触,同时在负极片上易形成多孔致密的锂层,有利于后续电解液的浸润,更好的实现预锂化,且操作简单,后续无需增加移除锂箔的工序,简化了工艺,且可与规模化卷对卷的生产工艺相兼容。

标签:
加工技术
江苏 - 常州 来源:北方有色网 2023-03-18
降低电磁辐射的锂离子电池

本实用新型涉及锂离子电池技术领域,尤其涉及一种降低电磁辐射的锂离子电池,包括锂离子电池本体和带有绕组线圈的消磁电路,消磁电路与锂离子电池本体相连接,锂离子电池充放电时,绕组线圈的消磁电路产生的电磁场与锂离子电池本体产生的电磁场方向相反。本实用新型的降低电磁辐射的锂离子电池,通过增加带有绕组线圈的消磁电路,使得锂离子电池在通电过程中,减弱或完全消除锂离子电池的电磁辐射,从而降低或消除锂离子电池工作过程中产生的电磁场对其他电子器件的工作干扰,设计巧妙合理,结构紧凑,效果显著。

标签:
加工技术
江苏 - 常州 来源:北方有色网 2023-03-18
可传导锂离子的超疏水材料及其制备方法及应用

本发明涉及一种可传导锂离子的超疏水材料及其制备方法及应用,超疏水材料包括:由低表面能材料包覆的锂离子导体纳米材料;锂离子导体纳米材料为纳米颗粒,颗粒尺寸为10nm‑200nm,包括氧化物固态电解质、硫化物固态电解质和卤化物固态电解质中的至少一种;低表面能材料包括聚硅氧烷、含氟聚硅氧烷、十八烷基磷酸、硬脂酸中的任一种或几种;低表面能材料与所述锂离子导体纳米材料的质量比为0.01‑10;超疏水材料具有微纳米的粗糙结构,均方根粗糙度大于30nm,以及低表面能小于30mJ/m2;超疏水材料的水的静态接触角大于150°并且,超疏水材料具有小于10°的滚动角。

标签:
加工技术
江苏 - 常州 来源:北方有色网 2023-03-18
层状负极以及具有该负极的锂离子电池

本发明公开一种层状负极以及具有该负极的锂离子电池,主材层表面涂覆有锂离子缓存层,所述锂离子缓存层具有相互交错的层状结构;优选所述主材层含有混合导电剂,所述混合导电剂与锂离子缓存层配合将锂离子传递至主材层;本发明通过在负极表面涂覆一层锂离子缓存层,有效防止嵌入不及时,防止锂离子在负极表面堆积;防止产生锂枝晶,提高安全性。

标签:
加工技术
江苏 - 常州 来源:北方有色网 2023-03-18
锂空气电池电解液及电池

本发明公开了一种锂空气电解液及电池。该锂空气电解液包括有机溶剂、支持电解质和添加剂;其中,添加剂为无机多孔材料,为无机介孔材料和无机微孔材料中的任意一种或几种。本发明以无机多孔材料作为电解液添加剂,用于优化锂空气电池的性能。无机多孔材料能够吸附正极反应产生的微量水和高氧化性副产物,减缓电解液分解和锂负极腐蚀,促进锂的均匀沉积与溶解,且其能够与放电产物共沉积,在充电时为过氧化锂分解产物提供传输通道,促进正极产物的分解。与在电解液中添加纳米金等悬浮催化剂相比,添加无机多孔材料的电解液制备工艺更简便,且成本低廉,有利于大批量工业化生产。

标签:
加工技术
江苏 - 常州 来源:北方有色网 2023-03-18
电解液、锂离子二次电池及电动车

本发明提供了一种电解液、锂离子二次电池和电动车,所述电解液包括溶剂、锂盐和添加剂,所述添加剂中含有芳香类脲化合物,所述芳香类脲化合物的化学式为:通过在电解液中引入芳香类脲化合物,芳香类脲化合物中含有的苯环和碳氧键能够在电极材料表面通过发生化学反应形成一层保护膜,该保护膜在高温环境和电池循环过程中均稳定,由此可有效抑制电解液在电极材料表面的反应,抑制正极材料金属的溶出,提高锂离子电池的高温循环和存储性能,抑制高温存储时的产气,提高电池在高电压下的综合性能,进而避免电池出现膨胀变形、内部短路、电解液泄露等问题。

标签:
加工技术
江苏 - 常州 来源:北方有色网 2023-03-18
含金属元素的锂硫电池正极材料的浆料制备方法

本发明涉及一种含金属元素的锂硫电池正极材料的浆料制备方法,本发明在正极混浆过程中,充分利用了超导碳黑的比表面积(>800m2g‑1)大于含金属元素的锂硫电池正极材料(100~800m2g‑1)、表面能(30~100mJ m‑2)小于含金属元素的锂硫电池正极材料(>500mJ m‑2)这一特点,在混浆过程中将超导碳黑均匀包覆在正极材料表面形成一种核壳结构,能够有效抑制硫在充放电过程中的体积变化,提高电池的循环稳定性。此外,传统的混浆工艺中碳黑仅充当导电剂的角色,本发明中所用的超导碳黑除了存在导电剂的作用,在后续极片烘烤过程中还可以防止硫的升华,减少活性物质硫的损失的,提高电池的容量性能。

标签:
加工技术
江苏 - 常州 来源:北方有色网 2023-03-18
锂电池用正极材料及其制备方法和应用

本发明提供了一种锂电池用正极材料及其制备方法和应用。本发明所述的锂电池用正极材料包括具有层状结构的锂金属复合氧化物和形成在所述锂金属复合氧化物表面的硼包覆层,其中,所述锂金属复合氧化物包括Li、Ni和掺杂元素M1,所述掺杂元素M1为选自Zr、Mg、Al、Ni、Mn、Zn、Fe、Cr、Mo和W中的至少一种,所述Ni和所述掺杂元素M1的总和与所述Li的摩尔比小于1,所述硼包覆层包括硼和/或硼化物。该锂电池用正极材料结构稳定性好,电化学性能稳定,不易与电解液发生反应。

标签:
加工技术
江苏 - 常州 来源:北方有色网 2023-03-18
锂离子电池SOC估算方法

本发明公开了一种锂离子电池SOC估算方法,通过对高低温下锂离子电池回跳电压的实验数据分析,建立自适应神经模糊推理系统的锂离子电池剩余容量预测模型;确定回跳电压和环境温度为锂离子电池剩余容量预测模型的输入,锂离子电池剩余容量为输出;在MATLAB平台上,通过用实验数据对自适应神经模糊推理系统的锂离子电池剩余容量预测模型进行训练、校验;将所得模型用于不同电池组的剩余容量预测和验证。本发明适合将该模型嵌入到目前已有的其他电池管理系统中,以准确估算电池的剩余容量,防止过充、过放,提高电池使用寿命,降低用户成本,其具有巨大的经济效益与社会效益。

标签:
加工技术
江苏 - 常州 来源:北方有色网 2023-03-18
磷酸铁锂-碳-二氧化硅复合材料及其制备方法

本发明涉及锂离子电池领域,提供了一种正极材料磷酸铁锂-碳-二氧化硅复合物及其制备方法,其特征在于:通过溶胶-模板和烧结过程控制,形成均一的磷酸铁锂-碳-二氧化硅共生相。本发明将铁源、磷源、锂源和草酸直接混合后,溶解于去离子水中形成溶胶;加入乙醇和表面活性剂1,搅拌均匀,然后加入酚醛树脂的乙醇溶液、表面活性剂2和二氧化硅,混合搅拌均匀,蒸发溶剂,真空干燥,真空预烧,粉碎,烧结,得到磷酸铁锂-碳-二氧化硅复合材料形态良好,具有良好的导电性能和稳定的电化学性能,可以应用于锂离子电池的正极材料领域。

标签:
加工技术
江苏 - 常州 来源:北方有色网 2023-03-18
锂电池连接软性基板
锂电池连接软性基板 1042     
 0

本实用新型提供一种锂电池连接软性基板,包括本体和多个限位组件,所述本体上间隔设有多个与锂电池配合的焊接点,所述限位组件包括连接盘以及设于所述连接盘上的至少三个卡爪,所述连接盘与所述本体转动连接,所述连接盘位置和数量与所述焊接点一一对应,所述卡爪沿所述连接盘周向设置向锂电池方向延伸,所述卡爪与所述锂电池外壁面配合,所述卡爪远离所述连接盘的一端设有与所述锂电池配合的导向面。本实用新型提供的一种锂电池连接软性基板,采用本体上设置限位组件,防止锂电池与连接软性基板焊接时位置偏移,保证生产质量,减少不良品的出现。

标签:
加工技术
江苏 - 常州 来源:北方有色网 2023-03-18
高倍率耐低温长寿命的锂离子电池负极材料

本发明属于电池材料领域,具体涉及一种高倍率耐低温长寿命的锂离子电池负极材料,即以石墨为基材的锂离子电池负极材料中加入了氮化物。采用上述方案,将氮化物加入石墨基锂离子电池负极材料中,利用氮化物的高导电率和高导热率以及形貌特点,在电池负极形成导电导热的树状网络与掺氮位点,增加锂离子电池负极内部及表面的离子迁移运动能力,降低内阻,促进充放电过程中热量的传导与散热,减少锂离子电池的极化现象与金属锂晶枝的生长并保持负极材料的有序排列,减薄SEI膜的厚度,从而达到改善锂离子电池高倍率充放电性能、低温环境下的充放电性能以及增加多种环境下的使用寿命的目的。

标签:
加工技术
江苏 - 常州 来源:北方有色网 2023-03-18
上一页 108 109 110 111 112 ... 123 下一页
共123页    到第

北方有色为您提供最新的江苏常州有色金属加工技术理论与应用信息,涵盖发明专利、权利要求、说明书、技术领域、背景技术、实用新型内容及具体实施方式等有色技术内容。打造最具专业性的有色金属技术理论与应用平台!

全国热门有色金属设备推荐
展开更多 +
全国热门有色金属技术推荐
展开更多 +

 

江西省隆恩特环保设备有限公司
宣传

报名参会
更多+

报告下载

有色专家
更多+

洛阳有色矿业集团有限公司
生产技术部经理
长沙有色冶金设计研究院有限公司
正高级工程师/中国铝业首席工程师/全国有色金属行业设计大师/国家注册采矿工程师
中科院过程工程研究所循环经济技术中心
主任
常州大学
教授
江西特种电机股份有限公司
董事长
赤泥综合利用研究报告2025
推广

热门技术
更多+

推荐企业
更多+

福建省金龙稀土股份有限公司
宣传

发布

在线客服

公众号

电话

顶部
咨询电话:
010-88793500-807