青岛垚鑫智能科技有限公司
宣传

位置:中冶有色 >

有色技术频道 >

> 固/危废处置技术

分类:
全部
矿山技术
冶金技术
材料制备及加工技术
环境保护技术
分析检测技术
 
全部
废水处理技术
大气治理技术
固/危废处置技术
土壤修复技术
地区:
全部
北京
天津
上海
重庆
河北
山西
辽宁
吉林
黑龙江
江苏
浙江
安徽
福建
江西
山东
河南
湖北
湖南
广东
海南
四川
贵州
云南
陕西
甘肃
青海
内蒙
广西
西藏
宁夏
新疆
其他
其他
展开
 
全部
成都
自贡
攀枝花
泸州
德阳
绵阳
广元
遂宁
内江
乐山
南充
眉山
宜宾
广安
达州
雅安
巴中
资阳
阿坝藏族羌族自治州
甘孜藏族自治州
凉山彝族自治州

四川有色金属固/危废处置技术理论与应用

免费发布技术信息>>
固体废弃物处理装置
固体废弃物处理装置 838     
 0

本实用新型涉及固废处理设备技术研发技术领域,具体涉及一种固体废弃物处理装置,包括粉碎箱、第一电机、第一粉碎轴和收集盒,还包括粉碎组件;粉碎组件包括刀盘、第二电机和两个第二粉碎轴;将需要回收处理的废弃物放入粉碎箱中启动第一电机,带动第一粉碎轴转动,配合刀盘能够将大块废弃物进行粉碎,粉碎为小型废弃物,启动第二电机,带动第二粉碎轴转动,两个第二粉碎轴为相向转动,可以将一些小型废弃物进行粉碎,完成破碎的废弃物进入收集盒,工作人员可以滑动收集盒,将收集盒内的废弃物取出,进行后续处理,提高废弃物的回收处理效果。

标签:
固废
四川 - 成都 来源:中冶有色网 2023-03-19
固体废物处理再次利用装置

本实用新型公开了一种固体废物处理再次利用装置,包括输送箱、箱体、处理箱、粉碎齿、螺旋刀片和连动机构,输送箱固定在箱体顶部,输送箱顶部一侧开设有进料口,箱体外一侧底部开设有开口,处理箱设置在箱体内,处理箱顶部与输送箱连通,处理箱内两侧均设置有粉碎齿,左侧粉碎齿一端焊接有U型框,U型框另一端通出处理箱,U型框另一端焊接有第一连接杆,输送箱外一侧焊接有电机箱;连动机构包括电机、输出轴、第一齿轮、第二齿轮、第一转杆和第一锥齿轮。有益效果:通过设置的连动机构,螺旋刀片转动对固废进行初次打碎处理,粉碎齿左右往复移动,有效的提高对固体废物的粉碎效果,有利于对固体废物的回收再利用,并且用电设备少,节约能源。

标签:
固废
四川 - 绵阳 来源:中冶有色网 2023-03-19
固体废物烟灰的回收加工生产技术方法

本生产工艺公开一种固体废物烟灰(包括冶金铜烟灰和电子废物处理烟灰等)的回收加工生产工艺技术,是从含锡铅银等的固体废物烟灰回收锡、铅、银生产工艺。属冶炼提取、危废回收高值化处理和固废回收高值化处理技术领域。其特点在于在回收生产过程中大幅减少了产生废水的产生和生产成本低的特点,完全改变了目前传统生产工艺中产生大量废水的工艺技术路线,这大大减少了生产成本和生产对环境造成的潜在污染,是一种全新的生产工艺简化,回收率高,产能大,节能环保,环境友好型固体废物烟灰的回收加工生产技术方法。该生产工艺克服了传统酸性浸出,锌,锡浸出率低的,生产成本高的问题,浸出溶液的重复使用减少了污水的排放。

标签:
固废
四川 - 成都 来源:中冶有色网 2023-03-19
快速检测固体废物中重金属的装置

本实用新型涉及固废重金属检测领域,公开了一种快速检测固体废物中重金属的装置,包括提取箱和反应箱,所述提取箱和反应箱可拆卸连接,所述提取箱顶部设置有进料口及驱动电机,所述驱动电机输出端连接有转轴,所述转轴上设置有多个粉碎叶片,所述提取箱内部设置有滤网箱,所述滤网箱顶部与提取箱顶壁连接,所述提取箱底部设置有出料口,所述出料口延伸至反应箱内。本实用新型将固体废物粉碎后与提取液混合再与检测试剂进行反应,提高了检测结果的检测精准度,缩短了检测时间;通过可拆卸设置的提取箱和反应箱,便于携带和使用,而且通过更换反应箱,能够快速地实现对不同区域的固体废物分别进行检测,提高了工作效率。

标签:
固废
四川 - 成都 来源:中冶有色网 2023-03-19
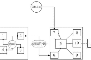
危险固体废弃物处理的监管系统

一种危险固体废弃物处理监管系统,所述监管系统由中央控制系统和车载系统构成,所述的中央控制系统和车载系统通过移动通信网络连接。所述中央控制系统包括中央服务器、通信控制模块、操作终端、视频监控设备。所述的中央服务器、通信控制模块、操作终端、视频监控设备构成一个局域网。车载系统包括车载主控制器、电子称重器、卫星定位模块、车载通信控制模块、感知基站、手持RFID读写终端。所述通电子称重器、卫星定位模块、车载通信控制模块、感知基站、手持RFID读写终端分别与车载主控制器连接。本实用新型将物联网技术应用于危险固废物的监管领域,实现了危险固废物产生收集处理过程中信息自动采集,车辆定位,信息及时反馈。

标签:
固废
四川 - 成都 来源:中冶有色网 2023-03-19
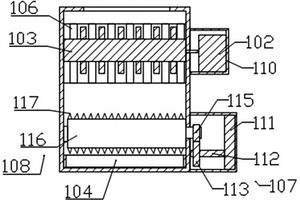
方便取料的固体废物成型一体机

本实用新型公开了一种方便取料的固体废物成型一体机,包括粉碎设备和成型箱,所述粉碎设备固定在成型箱的左侧,所述粉碎设备与成型箱的接触面分别开设有相互连通的出料孔一和出料孔二,所述成型箱内腔的顶部设置有气缸一,所述气缸一的输出端设置有按压板,所述成型箱底部的中心处设置有气缸二。本实用新型采用粉碎设备和成型箱结合的方式对固体废物成型处理,调节成型后的固体废物的体积大小,然后通过气缸二带动底板升起,打开出料舱门将固体废物取出,操作简单,使用方便,操作过程不仅不会产生有害物质,而且节约成本,节省了取料的时间,进而大大提高了固体废物成型的速率,提高固废处理的效率。

标签:
固废
四川 - 资阳 来源:中冶有色网 2023-03-19
固体废弃物热解耦合等离子制氢系统

本发明涉及固废资源化处理技术领域,公开了一种固体废弃物热解耦合等离子制氢系统,包括依次管道连接的固废预处理模块、固废热解模块、等离子体制氢模块、烟气处理模块,烟气处理模块还与固废预处理模块管道连接,还包括与固废热解模块、烟气处理模块分别管道连接的油气燃烧模块。本发明解决了现有技术存在的以下问题:外热源系统及其附加系统会造成系统的复杂性和成本。

标签:
固废
四川 - 自贡 来源:中冶有色网 2023-03-19
固体废物检测用分离设备

本实用新型提供一种固体废物检测用分离设备。所述固体废物检测用分离设备包括底板;支板,所述支板固定安装在所述底板的顶部;箱体,所述箱体固定安装在所述支板的顶部;导料板,所述导料板固定安装在所述箱体内;支块,所述支块固定安装在所述箱体的顶部内壁上。本实用新型提供的固体废物检测用分离设备具有可有效将固废中的金属等进行筛选收集,便于循环利用,可将固废中的固液分离后分类收集,方便检测,可对固废破碎时产生的粉尘等漂浮物进行过滤收集,便于对过滤用具进行拆装清理的同时,便于对吸收的粉尘等漂浮物进行检测,分离更加清楚明朗,检测更加方便准确的优点。

标签:
固废
四川 - 成都 来源:中冶有色网 2023-03-19
固体废物资源化利用方法

本发明涉及固废物资源利用技术领域,公开了一种固体废物资源化利用方法,包括如下步骤,步骤1,将固废物资源放入至过滤室内,并将固废物资源中的废水和细小颗粒物过滤,然后再将废水与细小颗粒物分离;步骤2,将过滤后的固废物资源输送至破碎室内,循环破碎为固废物颗粒物,然后将固废物颗粒物与细小颗粒物混合,得第一混合物;步骤3,将第一混合物输送至仓储室内,对第一混合物进行烘干;步骤4,将烘干后的第一混合物通过运输车运输至水泥窖进行焚烧。本发明结构简单,以将固废物资源进行粉碎、烘干以及去除恶臭气体处理,然后将处理后的固废物输送至水泥窖进行协同处理。

标签:
固废
四川 - 成都 来源:中冶有色网 2023-03-19
可净化废气的固体废物焚烧设备

本实用新型涉及焚烧设备技术领域,特别是一种可净化废气的固体废物焚烧设备,包括底座,所述底座的一侧固定连接有焚烧炉和水箱,所述焚烧炉的一侧固定连接有排烟管,所述水箱的一侧固定连接有净化塔。本实用新型的优点在于:通过所述排烟管、净化塔、第一过滤网、第二过滤网、活性炭过滤网、水泵、分流管、支管和喷淋头的配合设置,能够对烟尘和废气进行三重的过滤工作,对烟尘和废气进行了喷淋净化工作,使得从所述排气管排排出的空气将为洁净,相较于现在的焚烧设备来说增加了对烟尘和废气进行处理的结构,从而所述避免了直接将烟尘和废气排放至大气中的情况,进而避免了烟尘和废气污染环境的情况,达到了保护环境的效果。

标签:
固废
四川 - 成都 来源:中冶有色网 2023-03-19
固体废物填埋场的废液导流管道

本实用新型公开了一种固体废物填埋场的废液导流管道,包括环形箱、输出管、连接管、活性炭吸附块、环形封盖、扇形腔、分流管、消毒管、进液孔、输入管、转换管、环形管、导管、喷孔、圆板、电机、圆柱箱、圆柱块和出液孔。本实用新型设计合理,实现将初步处理后的废液导向输送至不同管道线路内进行导流输送的功能,达到根据需要进行分向导流的效果,有利于对废液进行初步过滤及消毒,同时通过将环形封盖拆下取出活性炭吸附块,达到便于清理杂质再次安装使用的效果,通过将圆柱箱上的转换孔根据需要变换贴靠在六个进液孔其中一个端口上且废液输出的管道方向也不相同。

标签:
固废
四川 - 成都 来源:中冶有色网 2023-03-19
削减固体废物的工业废水处理设备

本实用新型公开了一种削减固体废物的工业废水处理设备,其结构包括支撑架、转轴、固体处理桶装置、运输管、提升螺旋、出水口、驱动泵、履带保护壳、导管、控制器、万向轮、电箱,转轴嵌入连接在支撑架内,固体处理桶装置与运输管相焊接,运输管下端设有出水口,导管下端与控制器上端相焊接,控制器与万向轮为一体化结构,控制器与电箱相焊接,本实用新型一种削减固体废物的工业废水处理设备,结构上导管与固体处理桶装置连接,污水在进入处理桶后,里面设有过滤网,对污水中有害杂质和固体金属物质过滤,在由栅渣槽将储存有害物质,降低了有害物质随着污水排出,减少对环境的破坏。

标签:
固废
四川 - 成都 来源:中冶有色网 2023-03-19
可粉碎和压实固体废物的环保用废物处理装置

本实用新型公开了一种可粉碎和压实固体废物的环保用废物处理装置,包括第一支撑座、电机、第二液压杆、电加热丝和开口,所述第一支撑座的后侧螺栓固定有电机,且第一支撑座的前方设置有第二支撑座,并且第二支撑座和第一支撑座之间活动安装有粉碎筒,所述粉碎筒的表面固定安装有连接柱,且粉碎筒的前端固定安装有限位块,所述连接柱的外侧固定设置有轴承,所述粉碎筒的后端开设有限位槽,且粉碎筒的下方设置有进料筒,并且粉碎筒的右侧固定安装有第一液压杆,所述第一液压杆的下方螺栓固定有挡板。该可粉碎和压实固体废物的环保用废物处理装置可以在废物粉碎后及时进行压实,而且可以对粉碎筒的长度进行调节,提升粉碎效率。

标签:
固废
四川 - 成都 来源:中冶有色网 2023-03-19
处理三磺体系废弃水基泥浆固体废弃物COD去除剂及应用

本发明属于钻井固体废弃物化学清洗领域,涉及一种处理三磺体系废弃水基泥浆固体废弃物的COD去除剂及应用,其特征在于:COD去除剂为复合体系,包括以下重量份的组份:含两性离子表面活性剂(ZR‑01)5~50份,硫酸铝5~50份,硫酸亚铁0~50份,5份氢氧化钠和水0~9995份。本发明中COD去除剂无色无味,效率高;清洗液分离收集后可循环使用,能有效降低耗水量和处理成本;通过投加COD去除剂,强化三磺体系废弃水基泥浆固体废弃物中难溶性有机物向水相的传递,使处理后的三磺体系废弃水基泥浆固体废弃物浸出液COD<150 mg/L。

标签:
固废
四川 - 成都 来源:中冶有色网 2023-03-19
含油固体废弃物改质燃料浆的调质剂及其制备方法

本发明提供了一种含油固体废弃物改质燃料浆的调质剂及其制备方法,所述调质剂组成成分包括(重量百分比):助燃剂为60%~95%;乳化剂为4%~20%;稳定剂为1%~5%;其余量为醇类有机溶剂。其制备方法:(1)将所述助燃剂按照重量配比称取加入带搅拌的反应釜中,升温至80℃~85℃,然后再按照重量配比称取所述乳化剂、所述稳定剂和所述醇类有机溶剂加入带搅拌的反应釜中,搅拌均匀,温度保持在80℃~85℃,获得混合溶剂;(2)混合溶剂恒温在80℃~85℃,并不停搅拌,在常压下密闭反应3h~5h,获得淡黄色的调质剂。本发明获得一种调质剂和制备方法,生产工艺简单、生产成本和能耗低,调质剂稳定性好,可用于解决了环境的污染等问题,实现资源化利用。

标签:
固废
四川 - 成都 来源:中冶有色网 2023-03-19
钒铁生产产生的刚玉渣固废资源综合利用

本发明涉及钢铁冶金技术领域,特别是涉及一种从钒铁生产中产生的废物刚玉渣的资源综合利用。本发明所要解决的技术问题是利用重选结合超微细离心水选回收钒,在回收钒过程中对产生的固体物进行分类,以达到全部利用的目的。本发明方法具有工艺简单、易于控制、生产成本降低、无工业三废产生,保护环境和充分发挥了资源综合利用的优势,从刚玉渣中回收钒,同时制造耐火材料等优点。

标签:
固废
四川 - 成都 来源:中冶有色网 2023-03-19
竹、含纤维及塑料造纸固体废弃物人造板及其制造工艺

本发明涉及一种竹、含纤维及塑料造纸固体废弃物人造板及其制造工艺,其特征在于采用竹子与含纤维及塑料造纸固体废弃物经热压胶合成型,原料重量配比为:竹子∶含纤维及塑料固体废弃物比为:1∶0.5~1;并加入上述总重量10%~20%树脂。本发明经过原料选材、配料、干燥、混合、加粘接树脂、制坯、热压、冷压定型、静置存放、裁切后形成板材。由于采用资源丰富的竹子以及造纸企业产生的含纤维和塑料的固体废弃物为原料,完全以废弃物为原料代替原生产原料来生产物无甲醛等添加物的建筑板材,可以有效解决造纸固体废弃物的污染问题,节约原生木材及塑料,对节约自然资源和保护生态环境具有重大的现实意义。

标签:
固废
四川 - 泸州 来源:中冶有色网 2023-03-19
污水及固废全域处理方法

本发明公开了一种污水及固废全域处理方法,包括S1根据垃圾类型对垃圾进行预处理;S2将固体垃圾导入破碎装置内进行破碎,同时预热发酵池;S3当发酵池的温度达到35℃~48℃时,导入破碎后的垃圾,破碎后的垃圾体积为发酵池有效容积的20%~40%,同时投入发酵菌种;S4继续向发酵池内投入发酵菌种,并向发酵池内导入带有热量的气体,将温度快速提升至80℃~90℃;S5发酵完成后,将发酵产物导入储液池;S6将发酵产物进行分离、打包,得到固体块状堆肥和液体垃圾部分。本发明可同时进行固体垃圾和污水的处理,且两条处理线路相互关联,并位于同一个装置本体内,可减少能量流动路程,减少能量消耗,以实现对垃圾和污水的高效处理。

标签:
固废
四川 - 成都 来源:中冶有色网 2023-03-19
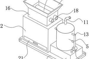
生态环保用固废处理装置

本发明适用于环保设备相关领域,提供了一种生态环保用固废处理装置,包括处理壳体、粉碎组件、风力分离组件、固体清洗组件以及液化泵出组件;通过所述粉碎组件与所述风力分离组件的设置,实现了对内填物和金属包皮粉碎后的分开收集,方便了后续对金属包皮和化学内填物进行分开处理,有效的避免了金属浪费,同时也能够有效的提升内填物粉末在进行化学处理时的处理效率,降低对化学处理药剂和能量的消耗。

标签:
固废
四川 - 成都 来源:中冶有色网 2023-03-19
高固废碱激发提钛渣稳定土及其制备方法

本发明提供了一种高固废碱激发提钛渣稳定土及其制备方法。所述稳定土由固体原料和水配制而成,水的质量为固体原料在干燥状态下质量的8~20%,所述固体原料包括按照质量百分比计的如下成分:20~90%的提钛渣,6~20%碱激发剂,0~70%为黏土;所述碱激发剂包括石灰,或者包括质量比为(95~98):(1.5~3.5):(2~4)石灰、石膏和碳酸钠。所述制备方法可包括通过厂拌法或路拌法制备上述稳定土。本发明的有益效果可包括提钛渣的耗量大、节约资源;稳定土的强度增长快、强度高、干缩变形小、软化系数高;成本低,施工简单,可广泛用于各种道路工程;对环境危害小。

标签:
固废
四川 - 绵阳 来源:中冶有色网 2023-03-19
含单质硫二氧化硅硫酸钙水合物的固废资源化方法

一种含单质硫二氧化硅硫酸钙水合物固废的资源化方法,通过磨细碳粉,通入过量氧气循环,加热使硫转化为二氧化硫,碳转化为二氧化碳,混合气转化成三氧化硫同时获得结构疏松的硫酸钙和二氧化硅失水微晶固体。

标签:
固废
四川 - 成都 来源:中冶有色网 2023-03-19
利用白酒固废制备的紫色土壤改良剂及制备方法

本发明公开了一种利用白酒固废制备的紫色土壤改良剂及制备方法,涉及土壤改良剂及应用技术领域,改良剂由下述原料按重量份组成:丢糟30‑50份、吹糠灰40‑60份、污泥1‑2份、复合发酵菌剂1‑2份、沼渣5‑10份,复合发酵菌剂为芽孢杆菌、丝状真菌、放线菌和酵母菌一种或多种。改良剂的制备方法,包括如下步骤:混合:将丢糟、吹糠灰和污泥充分混合,调节水分含量至55‑65%,获得混合原料;发酵:将混合原料中加入复合发酵菌剂,放入堆肥装置中,进行15‑22天的好氧发酵,然后进行粉碎,得到有机肥;制料:将有机肥和沼渣充分搅拌混合,获得土壤改良剂。本发明实现白酒酿造企业固体废弃物“零排放”的同时,为日益恶化的土壤修复提供一种廉价的生态改良剂。

标签:
固废
四川 - 宜宾 来源:中冶有色网 2023-03-19
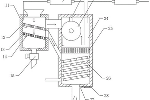
油气田含油固废弃物体处理装置

本实用新型公开了一种油气田含油固废弃物体处理装置,包括反应釜,反应釜上端设有密封盖,密封盖上装有变速器,变速器连接设置在反应釜内的搅拌装置,密封盖上设有进液管接头,进液管接头连接定量板,定量板上设有多个不同容积的定量盒,密封盖上端设有集气槽,集气槽连接液气分离罐,液气分离罐内装有冷凝螺旋管,液气分离罐上端设有回收气管,下端设有排液管,反应釜上端一侧连接进料装置,反应釜设置在底座上,底座内设有加热装置,反应釜下端设有出液管,反应釜内装有温度传感器,本实用新型结构新颖,运行稳定,能够有效废处理油气田的含有固体废弃物,有效的分离液气,实现回收利用,满足了现在使用和环保要求。

标签:
固废
四川 - 成都 来源:中冶有色网 2023-03-19
固废处理用压缩装置
固废处理用压缩装置 1005     
 0

本实用新型公开了一种固废处理用压缩装置,包括处理箱、粉碎辊和减震弹簧,所述处理箱的两侧内壁均固定连接有导流板,所述处理箱的背面对称设置有两组伺服电机,两组所述伺服电机的输出端均连接有旋转轴,且旋转轴位于处理箱的内部,所述旋转轴的表面均套接有粉碎辊,所述处理箱的两侧内壁均设置有液压缸,所述液压缸的输出端连接有液压杆,所述液压杆的一端固定连接有压缩板。本实用新型通过安装有导流板、伺服电机、旋转轴、粉碎辊、液压杆和压缩板,在使用该压缩装置的过程中,通过对该装置的使用,可保证固体废物的压缩效果,使固体废物的压缩处理工作更加彻底,实用性更强。

标签:
固废
四川 - 绵阳 来源:中冶有色网 2023-03-19
环保型高效固废机
环保型高效固废机 1203     
 0

本发明公开了一种环保型高效固废机,包括粉碎箱,粉碎箱的一侧固定连接有电机,粉碎箱的内部设置有粉碎轴,粉碎轴的表面固定连接有呈环形阵列分布的粉碎钉,粉碎箱底部设置有排废口,排废口下方连接有排废箱,排废箱的左侧设置有引风机,排废箱的侧面设置有高温蒸汽设备、活性炭过滤器、除臭器、静电灭菌器,粉碎轴的上侧设置有箱盖与滚轴,粉碎箱左侧板和右侧板的顶部设置有磁铁。本发明通过设置粉碎轴,将固体废物进行粉碎,缩短处理时间,并且高温蒸汽、活性炭过滤器等对废物以及气体进行消毒灭菌,消除废料中的有害物,滚轴连接箱盖,使用时不需要打开箱门,磁铁将箱盖回复原位,使用更加省时省力。

标签:
固废
四川 - 广安 来源:中冶有色网 2023-03-19
用于固废资源化利用的湿式破碎分离装置

本实用新型公开了一种用于固废资源化利用的湿式破碎分离装置,主要包括进料输送机、破碎机筒体、破碎转子、滤网、驱动电机、磁选机、磁选机输送带、立式固液分离机、固液分离机输送带、固液分离机筒体,其特征在于:所述破碎机筒体与固液分离机筒体连通;破碎机筒体底部安装破碎转子;所述固液分离机筒体内安装立式固液分离机。本实用新型的有益效果是:可以降低在固体废物处置过程中二次污染的产生,采用湿式破碎及磁选分离,实现对固体废物资源化利用的分离过程,并具有能耗较低和自动化运行的特点。

标签:
固废
四川 - 成都 来源:中冶有色网 2023-03-19
新型固废压缩装置
新型固废压缩装置 995     
 0

本实用新型涉及固体废物处理设备技术领域,尤其是一种新型固废压缩装置,包括压缩箱,压缩箱的前端开设有进料口,进料口内固定连接有进料管,压缩箱的上端安装有液压缸,液压缸的伸长端活动贯穿压缩箱,液压缸的伸长端固定连接有压板,压缩箱的右端开设有排料口,排料口内通过合页活动铰接有密封板,进料管内设置有粉碎机构,本实用新型通过两个粉碎辊的差速转动将固体废物进行粉碎,从而优化了压缩固体废物的效率。

标签:
固废
四川 - 成都 来源:中冶有色网 2023-03-19
固废低温破碎分离装置

本实用新型公开了固废低温破碎分离装置,主要包括:进料输送机、穿孔机、预冷装置、冷却装置、破碎机、输送带、磁选机、筛选机、出料储存仓、机架,其特征在于:所述破碎机的出料口设置有输送带,所述输送带下方设置有磁选机。本实用新型的有益效果是:可以降低在固体废物处置过程中二次污染的产生,采用低温破碎及磁选分离,实现对固体废物资源化利用的分离过程,并具有自动化运行的特点。

标签:
固废
四川 - 成都 来源:中冶有色网 2023-03-19
悬浮聚合可发性聚苯乙烯固废分离回收方法

本发明公开了一种悬浮聚合可发性聚苯乙烯固废分离回收方法,包括以下步骤:将聚苯乙烯固体废料粉碎;将粉碎料通过气流输送进行分段加热,得到加热物料;第一温控段加热温度为180℃,加热时间为12‑14秒,第二温控段加热温度为200℃,加热时间为13‑16秒;分段加热使EPS充分发泡,让HAP与EPS在不同比重情况下进行分离;将所述加热物料进行两次旋风分离,将分离后的物料进行筛分,得到HAP粉料和EPS粗料;将两次分离的物料进行除尘,并将除尘后的物料进行筛分,得到超细HAP料;本发明将聚苯乙烯固废中的HAP和EPS进行分类回收,保证回收能连续、稳定、安全长周期运行,创造较大的经济价值,同时不污染环境。

标签:
固废
四川 - 绵阳 来源:中冶有色网 2023-03-19
环保固废处理分离装置

本发明公开了一种环保固废处理分离装置,属于环保生产加工设备中的一种分离装置,其技术方案为包括安装支架,固定设置在安装支架上的分离罐,所述分离罐内部从上到下通过滤水层分隔为分离腔和滤水腔;分离罐的上端设置有与内部连通的进料管,位于分离腔底部一侧的位置设置有固体排料管,位于滤水腔的底部设置有排液管;所述分离腔内部设置有加热分离组件,所述加热分离组件包括固定设置在分离罐顶部的动力控制组件,与动力控制组件输出轴连接的加热匀散分离搅拌叶片组,所述动力控制组件置于分离罐的上端通过液压升降组件与分离罐连接;本发明提供一种环保固废处理分离装置,解决了现有技术中固液分离效果差,分离效率低和废料湿度高的问题。

标签:
固废
四川 - 成都 来源:中冶有色网 2023-03-19
上一页 101 102 103 104 下一页
共104页    到第

中冶有色为您提供最新的四川有色金属固/危废处置技术理论与应用信息,涵盖发明专利、权利要求、说明书、技术领域、背景技术、实用新型内容及具体实施方式等有色技术内容。打造最具专业性的有色金属技术理论与应用平台!

全国热门有色金属设备推荐
展开更多 +
全国热门有色金属技术推荐
展开更多 +

 

江西省隆恩特环保设备有限公司
宣传

报名参会
更多+

报告下载

有色专家
更多+

中南大学
中国工程院 院士
中国瑞林工程技术有限公司
中国工程院院士
石家庄铁道大学
团委书记/副教授
江西省科学院应用化学研究所
副主任/副研究员
中国有色金属工业协会
副会长兼秘书长
赤泥综合利用研究报告2025
推广

热门技术
更多+

推荐企业
更多+

福建省金龙稀土股份有限公司
宣传

发布

在线客服

公众号

电话

顶部
咨询电话:
010-88793500-807