青岛垚鑫智能科技有限公司
宣传

位置:中冶有色 >

有色技术频道 >

> 固/危废处置技术

分类:
全部
矿山技术
冶金技术
材料制备及加工技术
环境保护技术
分析检测技术
 
全部
废水处理技术
大气治理技术
固/危废处置技术
土壤修复技术
地区:
全部
北京
天津
上海
重庆
河北
山西
辽宁
吉林
黑龙江
江苏
浙江
安徽
福建
江西
山东
河南
湖北
湖南
广东
海南
四川
贵州
云南
陕西
甘肃
青海
内蒙
广西
西藏
宁夏
新疆
其他
其他
展开
 
全部
石家庄
唐山
秦皇岛
邯郸
邢台
保定
张家口
承德
沧州
廊坊
衡水

河北唐山有色金属固/危废处置技术理论与应用

免费发布技术信息>>
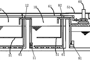
高纯铁废水处理回用装置

本实用新型公开了一种高纯铁废水处理回用装置,包括箱体,箱体的外侧壁面固定连接有安装环,安装环的内侧壁面卡接有搅拌结构,搅拌结构包括安装台,安装台的内侧壁面转动连接有副齿轮,副齿轮的外侧壁面啮合连接有主齿轮,副齿轮的内侧壁面固定连接有搅拌轴,搅拌轴的外侧壁面固定连接有搅拌叶,搅拌叶的外侧壁面固定连接有搅拌棒,箱体的底部安装有刮铲结构,使用搅拌机构对内部废水与处理药剂进行充分混合,设有的搅拌叶与搅拌棒可使得内部搅拌时更加充分,待沉降结束后,将上层清液抽离,使用刮铲结构对底部固体废料进行刮取清除,提高处理效率。

标签:
固废
河北 - 唐山 来源:中冶有色网 2023-03-19
利用复合活性微生物群实现有机废水的堆肥装置

本实用新型提出了一种利用复合活性微生物群实现有机废水的堆肥装置,包括第一分解处理槽、第二分解处理槽、蒸发处理槽、锅炉及鼓风机,第一分解处理槽及第二分解处理槽内分别混有复合活性微生物群,锅炉连接有分别伸至第一分解处理槽、第二分解处理槽及蒸发处理槽内的空气配管,鼓风机连接有伸至第一分解处理槽、第二分解处理槽及蒸发处理槽内的加热配管,第一分解处理槽内设有第一抽水泵及与第一抽水泵连接并伸至第二分解处理槽的第一出水管,第二分解处理槽内设有第二抽水泵及与第二抽水泵连接并伸至蒸发处理槽的第二出水管。该堆肥装置使有机废水经复合活性微生物群处理后,使第二处理槽内得到含有大量的微生物及肥料的固体成分。

标签:
固废
河北 - 唐山 来源:中冶有色网 2023-03-19
可用于火电厂脱硫废水澄清的碳化硅膜过滤装置

本实用新型公开了一种可用于火电厂脱硫废水澄清的碳化硅膜过滤装置,包括并排设置的两个碳化硅膜过滤循环泵,两个碳化硅膜过滤循环泵的出口端分别连接有碳化硅膜过滤器,碳化硅膜过滤器出口端连接清液收集罐,还包括酸液罐和除垢清洗罐,酸液罐和除垢清洗罐汇至一路连接清洗再生泵,清洗再生泵出口端连接碳化硅膜过滤循环泵入口端;还包括清液反冲泵,清液反冲泵入口端连接清液收集罐,清液反冲泵出口端连接碳化硅膜过滤器;本实用新型结构简单、设置科学合理、过滤效果良好,可以有效过滤去除掉脱硫废水中的固体颗粒物杂质。

标签:
固废
河北 - 唐山 来源:中冶有色网 2023-03-19
叶腊石碳化硅碳砖废料的二次制砖装置

本发明涉及一种叶腊石领域,尤其涉及一种叶腊石碳化硅碳砖废料的二次制砖装置。技术问题:提供一种叶腊石碳化硅碳砖废料的二次制砖装置。技术方案如下:一种叶腊石碳化硅碳砖废料的二次制砖装置,包括有混合挤料系统等;混合挤料系统与出坯系统相连接。本发明跳出常规对叶蜡石碳化硅碳砖边角料的做法,用液态热固性酚醛树脂作为中间粘结载体对边角料进行二次制砖,结合叶蜡石碳化硅碳砖边角料和添加剂粉末在流体中的流动性不一的特点,对二次制作的碳砖进行均匀地混料,减少固体混料之间的相对空间以减少碳砖中的孔洞和疏松,提高碳砖的强度和硬度。

标签:
固废
河北 - 唐山 来源:中冶有色网 2023-03-19
房屋建筑施工雨水和废水循环利用设备

本实用新型公开了一种房屋建筑施工雨水和废水循环利用设备,涉及资源回收利用技术领域,该房屋建筑施工雨水和废水循环利用设备,包括过滤箱、支撑块,所述过滤箱的内部固定连接有支撑块,支撑块和过滤箱等内部均开设有螺丝孔,支撑块通过第一螺丝钉与过滤箱固定连接,支撑块的顶部设置有过滤网。该房屋建筑施工雨水和废水循环利用设备,一方面通过设置排污孔,使被过滤网过滤掉的大型固体杂质通过过滤孔排除进行收集和处理,另一方面通过设置支撑块对过滤网进行支撑,使过滤网便于安装和拆卸,有效的增强了其便于更换的效果,其次通过吸附板和滤芯配合使用,能够有效的去除水中的细小杂质和水中的异味,有效的增强了该装置的净水效果。

标签:
固废
河北 - 唐山 来源:中冶有色网 2023-03-19
高效的环保型炼钢烟尘废气处理装置

本实用新型公开了一种高效的环保型炼钢烟尘废气处理装置,包括进风管和风道,所述进风管内部一侧安装有电热丝,且电热丝一侧位于进风管内部中间位置固定有换热管,所述进风管一侧表面上方连接有风道。本实用新型中,在进风管内部端口处设有电热丝,可以对烟尘废气中未充分燃烧的有害气体再次燃烧,使得废气燃烧彻底,减轻有害气体的排放,有利于后续的处理,在风道内部上下设置有两层支水管,且支水管表面均匀分布有多个水雾喷头,水雾喷头喷出的酸性液体一方面能够中和废气中含有的SO2气体,另一方面能够去除废气中携带的大量固体颗粒,经过二次净化的废气在抽风机的作用下进入除尘器中,进行最终的净化处理。

标签:
固废
河北 - 唐山 来源:中冶有色网 2023-03-19
用于厨房的废水自动过滤收纳装置

本实用新型公开了水处理技术领域的一种用于厨房的废水自动过滤收纳装置,包括水池,所述水池底部设置有矩形过滤管,所述矩形过滤管中部外壁设置有承接头,所述承接头和矩形过滤管连接处设置有第一过滤网,所述承接头底部连接有圆形过滤管,所述矩形过滤管底部设置有家用垃圾桶,所述家用垃圾桶的底部设置有过滤池,所述过滤池的底部连接有支管,本实用新型通过改进水池下端的下水管实现固体垃圾和废水分离的效果,通过直接将固体垃圾放进垃圾桶解决常用漏斗空间有限,需常常清理的问题,通过多层过滤网的配合实现充分过滤的作用,通过过滤盖的巧妙设置,防止了垃圾堵塞过滤口,影响过滤效果。

标签:
固废
河北 - 唐山 来源:中冶有色网 2023-03-19
用于生化处理后的焦化废水的混凝剂及其处理方法

本发明公开了一种用于生化处理后的焦化废水的混凝剂及其处理方法,所述的混凝剂是在每升生化处理后的焦化废水中加入下述重量的原料:活性炭70~100mg、聚合氯化铝50~60mg和聚丙烯酰胺2~6mg。本混凝剂和处理方法能使经生化处理后的焦化废水的COD达到国家以及排放标准;其中COD≤300mg/L,色度≤160倍,悬浮物≤200mg/L。本处理方法简单易行,成本费用低,产生的固体废弃物可作为燃料使用,不产生新的废弃物,实现节能减排目的。

标签:
固废
河北 - 唐山 来源:中冶有色网 2023-03-19
油田废弃泥浆处理系统

本发明提供了一种油田废弃泥浆处理系统,其包括泥浆收集模块,与所述泥浆收集模块相连的破胶及压滤处理模块,以及连接于破胶及压滤处理模块液体出口的反渗透处理模块和连接于破胶及压滤处理模块固体出口的泥饼压装模块,还包括与所述反渗透处理模块相连的浓水回收模块。本发明所述的油田废弃泥浆处理系统能够对废弃泥浆进行有效处理,避免其对环境造成损害。

标签:
固废
河北 - 唐山 来源:中冶有色网 2023-03-19
船舶废气脱硫装置及方法

本发明公开了一种船舶废气脱硫装置及方法,包括初步除杂箱和二次除杂箱,所述初步除杂箱右下侧的出气端通过连通管连接二次除杂箱,所述初步除杂箱左上侧设有进气管,所述初步除杂箱内部设有装料框,装料框底部中间位置均匀分布有透气孔,所述初步除杂箱内部水平放置有隔离网板,隔离网板下侧的装料框中设有活性炭填充腔,所述隔离网板上方设有铺设有石子填充层,本发明结构简单、合理,通过初步除杂箱对废气进行预处理,从而将废气中的固体杂质进行除杂处理,然后通过碱液与废气充分混合,从而提高对废气的混合效果,从而保证对废气进行充分净化。

标签:
固废
河北 - 唐山 来源:中冶有色网 2023-03-19
对碱渣废液进行分离、洗涤、脱氯的综合装置及其应用

本发明属于碱渣废液处理技术领域,具体涉及一种对碱渣废液分离、洗涤、脱氯的综合装置及其应用。本发明提供的综合装置包括变频驱动单元、间隙调整单元、雾化洗涤单元、排料螺旋单元、导料壳体单元、重力沉降箱体单元、扩容弥散单元、震荡除垢单元、自动控制单元和有效成分溢流单元;该装置解决了现有设备体积、重量大、占地面积大、总体投资大、处理能力低、故障率高、设备检修及维护费用高,设备功能单一的问题。本发明能将碱渣废液中直径大于0.2mm的有害固体颗粒100%分离出去,有效成分不流失,使其达到国家对建筑行业原材料中氯离子含量的指标要求,且变废为宝,形成新的效益增长点。

标签:
固废
河北 - 唐山 来源:中冶有色网 2023-03-19
可再利用废弃玻璃钢和钢渣的沥青路面材料及其制备方法

本发明公开了一种可再利用钢渣的可再利用废弃玻璃钢和钢渣的沥青路面材料及其制备方法,所述可再利用废弃玻璃钢和钢渣的沥青路面材料包括废弃玻璃钢粉改性沥青4.5~7.5份、集料82~92份、矿粉4~10份、纤维稳定剂0~0.5份,其中:所述集料按照SMA‑13级配或AC‑13等级配置;所述集料中利用钢渣取代全部公称粒径2.36~13.2mm石料,利用机制砂或石屑取代公称粒径2.36mm以下的细集料;或者所述集料中利用相应粒径的钢渣取代所有的粗集料和细集料。本发明有效地解决了废弃玻璃钢和钢渣处理难度大、回收利用率低、环境污染严重等的问题,同时实现了资源节约和固体废弃物的再利用。

标签:
固废
河北 - 唐山 来源:中冶有色网 2023-03-19
节能型印染水墨废水循环利用系统

本发明公开了一种节能型印染水墨废水循环利用系统,包括底板、基础过滤池、一级过滤装置和二级过滤装置,所述底板上端中心位置固定连接设置有储蓄电池,所述底板两侧垂直连接设置有支撑杆,所述支撑杆上端水平连接设置有支撑板,所述底板左侧上端固定连接设置有基础过滤池,所述基础过滤池内部下端在电机右侧固定连接设置有第一水泵,所述基础过滤池上端左侧固定连接设置有加药箱。本发明通过一级过滤装置、二级过滤装置和第三级处理装置对水源进行处理,使得系统能够还原纯净水,达到循环使用的目的;水墨废弃物将吸附在各级处理棉上,为固体废弃物,很容易集中处理,不会污染水系,而且重要的是,整机设备成本低,可以大大减轻环保成本压力。

标签:
固废
河北 - 唐山 来源:中冶有色网 2023-03-19
对碱渣废液进行分离、洗涤、脱氯的综合装置

本实用新型属于碱渣废液处理技术领域,具体涉及一种对碱渣废液分离、洗涤、脱氯的综合装置。本实用新型提供的综合装置包括变频驱动单元、间隙调整单元、雾化洗涤单元、排料螺旋单元、导料壳体单元、重力沉降箱体单元、扩容弥散单元、震荡除垢单元、自动控制单元和有效成分溢流单元;该装置解决了现有设备体积、重量大、占地面积大、总体投资大、处理能力低、故障率高、设备检修及维护费用高,设备功能单一的问题。本实用新型能将碱渣废液中直径大于0.2mm的有害固体颗粒100%分离出去,有效成分不流失,使其达到国家对建筑行业原材料中氯离子含量的指标要求,且变废为宝,形成新的效益增长点。

标签:
固废
河北 - 唐山 来源:中冶有色网 2023-03-19
2-萘酚废水合成脂肪族减水剂及其制备方法

本发明公开了一种2-萘酚废水合成脂肪族减水剂及其制备方法,由无水亚硫酸钠、丙酮、废水、甲醛溶液和氢氧化钠溶液按质量比制备而成,将2-萘酚废水加入氢氧化钠溶液中,边搅拌边加入纯度70%以上的无水亚硫酸钠固体,加入纯度为99%的丙酮,搅拌回流,再边搅拌边滴加甲醛溶液,控制滴加速度,然后升温进行恒温反应,即得质量浓度为30~40%的棕红色液态成品脂肪族减水剂。本发明是利用2-萘酚废水、无水亚硫酸钠、丙酮以及甲醛等合成脂肪族减水剂,变废为宝,成本低,没有二次排放,无污染,绿色环保,具有良好的经济和社会效益。

标签:
固废
河北 - 唐山 来源:中冶有色网 2023-03-19
钢铁行业高盐废水零排放及资源化处理工艺及系统

本发明涉及废水处理技术领域,且公开了一种钢铁行业高盐废水零排放及资源化处理工艺及系统,包括以下步骤:第一步:采用加药除硬及沉淀过滤工艺对高盐废水进行预处理;第二步:采用超滤膜-海水淡化膜-DTRO膜工艺对高盐废水再浓缩使其含盐量高于15%;第三步:采用加除氟剂及沉淀-超滤膜工艺对DTRO工艺浓水进行处理;第四步:经工序三处理后的浓水进入纳滤膜系统,通过纳滤膜选择性透过一价离子,截留二价及以上的高价位离子,达到分盐的目的。本发明中,通过提供热量将水分蒸发后实现氯化钠的结晶,实现固体盐份回收利用,上述两步结晶过程中的产水视情况返回至沉淀池,达到了对高盐废水中的盐进行回收利用的效果。

标签:
固废
河北 - 唐山 来源:中冶有色网 2023-03-19
连续全混式厌氧反应处理高浓度木薯酒精废水的方法

一种连续全混式厌氧反应处理高浓度木薯酒精废水的方法,该方法以酒精蒸馏塔排出的废液作为处理水质,以厌氧污泥作为接种污泥,方法步骤:在50‑60℃条件下启动系统;将污泥按比例投入到系统反应器中,空培养驯化;将木薯酒精废水添加到全混式厌氧反应器中进行水力搅拌,调节起始负荷并逐渐提高负荷,经过提量,容积负荷达到7‑9 kg COD/(m³·d),通过污泥和污水充分接触,厌氧消化将水中的有机物转化为沼气,水变成达标水;每日取全混式厌氧反应器内样品,用重铬酸钾法测定COD;用气体流量计精确计量沼气产气量;沼气气体组成用气相色谱仪分析。本方法解决了高浓悬浮固体废液难于处理的问题,并提高了废弃物的产气量和利用价值。

标签:
固废
河北 - 唐山 来源:中冶有色网 2023-03-19
再生混凝土的废弃料处理装置

本实用新型公开了一种再生混凝土的废弃料处理装置,涉及混凝土加工技术领域,包括承重板、合金竖板和移动机构,该再生混凝土的废弃料处理装置,所述安装轮毂的外表面和合金架的外表面底部焊接,所述合金架的外表面上部和顶片的外表面下部衔接,所述驱动电机的外表面上部和弧形加固体的外表面下部焊接,所述顶片的外表面上部和承重板的外表面下部焊接。本实用新型通过主动齿轮、轮胎、推把等的使用,所以在使用的过程中能根据需要进行移动和安放,能更好的处理废料,避免了对环境的污染,又因为弧形加固体、驱动电机、从动齿轮等结构的相互配合所以在使用中能够使用电力驱动,加大了劳动效率,所以该装置式省时省力且移动便捷。

标签:
固废
河北 - 唐山 来源:中冶有色网 2023-03-19
热镀锌生产废水中和处理闭路回用装置

本实用新型公开了一种热镀锌生产废水中和处理闭路回用装置,属于热镀锌技术领域,包括处理池,所述处理池的一侧设置有曝气池,且处理池的上方设置有中和反应器,所述曝气池的一侧设置有第一絮凝池,所述第一絮凝池的一侧设置有污泥池,所述污泥池的上方设置有板框压滤机,且污泥池的一端设置有深度曝气池,所述曝气池和深度曝气池的上方均设置有罗茨风机,该一种热镀锌生产废水中和处理闭路回用装置通过设置中和反应器、板框压滤机,中和反应器便于通过氨水罐将氨水与废水进行中和,然后板框压滤机将废水中的固体污泥进行回收到污泥储存间,废水处理后直接闭路回用不外排,对环境无污染,大量节约净水资源。

标签:
固废
河北 - 唐山 来源:中冶有色网 2023-03-19
废弃玻璃钢改性沥青路面材料及其制备方法

本发明公开了一种废弃玻璃钢改性沥青路面材料的制备方法,其包括:步骤S1为将预热的基质沥青放置于已加热的第一搅拌机内,然后将预热的废弃玻璃钢粉放置于已加热的第一搅拌机内,对所述基质沥青和所述废弃玻璃钢粉进行搅拌后制得玻璃钢改性沥青;步骤S2为将预热的混合均匀的集料加入至已加热的第二搅拌机内,将预热的玻璃钢改性沥青加入至第二搅拌机内进行搅拌;步骤S3为将预热的废弃玻璃钢粉和矿粉加入至第二搅拌机进行搅拌制得废弃玻璃钢改性沥青路面材料。本发明提供的废弃玻璃钢改性沥青路面材料及其制备方法,其对废弃玻璃钢进行重复再利用,实现了资源节约和固体废弃物的再利用,具有广阔的应用前景和良好的社会、经济和环境效益。

标签:
固废
河北 - 唐山 来源:中冶有色网 2023-03-19
废水处理净化缸
废水处理净化缸 967     
 0

本实用新型公开了一种废水处理净化缸,涉及废水处理技术领域,具体为一种废水处理净化缸,包括净化缸,所述净化缸的一侧内部开设有溶液槽,所述溶液槽的内部从上至下依次固定连接有过滤板、第一支撑板和第二支撑板。该废水处理净化缸,通过过滤板的设置,可以将废水内部的悬浮物和大颗粒固体物质过滤出来,因过滤板是斜置在溶液槽内壁,过滤出的杂物会堆积在排污口,工作人员将污口塞打开,即可将杂物快速清理出来,操作简单方便,便于清理,通过吸附棉的设置,可以将废水中的细小杂质吸附在吸附棉上,然后活性炭吸附板可以将过滤后的废水,进行杀菌消毒,整个过程操作简单,多层过滤,使水体处理更加干净,有效提高处理效率。

标签:
固废
河北 - 唐山 来源:中冶有色网 2023-03-19
蒸氨废液制备石灰乳的生产装置

本实用新型涉及氨碱法纯碱企业对蒸氨废液回收利用,具体是蒸氨废液制备石灰乳的生产装置。上清液管的另一端置于化灰机的筒体内并与中心管的一端连接,中心管通过两组支撑固定在化灰机中心位置,中心管另一端位于隔板外侧,隔板上装有撮萁,隔板的另一侧装有筛体,筛体上装有清扫装置及喷淋装置;进灰溜管上装有化灰水管和冲洗水管,冲洗水管的延伸端置于筒体内。蒸氨废液进行固液分离,上清液送至化灰机内,固体颗粒送到废液泵入口;生石灰消化成高浓度石灰乳;冲洗水流动性差造成的化灰机内壁结疤;当化灰机内的生石灰全部消化反应完成后,加入上清液进行稀释,达到生产所需要指标,增加流动性,提高化灰机后端的分离转筛的效率。

标签:
固废
河北 - 唐山 来源:中冶有色网 2023-03-19
复合玻璃钢废弃物轻质高强陶粒及其制备方法

本发明提供了一种复合玻璃钢废弃物轻质高强陶粒及其制备方法,复合玻璃钢废弃物轻质高强陶粒按质量的百分比主要由如下原料制备得到:玻璃钢废弃物为36~42%、粉煤灰为32~40%、碱渣为0~8%、沙土为18~24%,其中加水量按水固比(以所有固体质量为基准)0.2~0.3加入。其制备方法为按照原料配比准确称量玻璃钢废弃物、粉煤灰、碱渣、沙土和水并均匀混合,形成均匀的基础配合料;通过人工的方法造粒成型获得陶粒生料球,对陶粒生料球进行烧成得到复合玻璃钢废弃物轻质高强陶粒。以玻璃钢废弃物作为主要的发气成分制备轻质高强陶粒,并将其应用于轻质混凝土墙材和轻质混凝土管材等领域,不仅实现对玻璃钢废弃物资源的二次利用,而且能减少环境污染,具有显著的经济和环境效益。

标签:
固废
河北 - 唐山 来源:中冶有色网 2023-03-19
蒸氨废液制备石灰乳的生产装置及生产工艺

本发明涉及氨碱法纯碱企业对蒸氨废液回收利用的方法,具体是蒸氨废液用于生石灰消化的工艺及装置。上清液管的另一端置于化灰机的筒体内并与中心管的一端连接,中心管通过两组支撑固定在化灰机中心位置,中心管另一端位于隔板外侧,隔板上装有撮萁,隔板的另一侧装有筛体,筛体上装有清扫装置及喷淋装置;进灰溜管上装有化灰水管和冲洗水管,冲洗水管的延伸端置于筒体内。蒸氨废液进行固液分离,上清液送至化灰机内,固体颗粒送到废液泵入口;生石灰消化成高浓度石灰乳;冲洗水流动性差造成的化灰机内壁结疤;当化灰机内的生石灰全部消化反应完成后,加入上清液进行稀释,达到生产所需要指标,增加流动性,提高化灰机后端的分离转筛的效率。

标签:
固废
河北 - 唐山 来源:中冶有色网 2023-03-19
火电厂的湿法脱硫废水处理装置

一种火电厂的湿法脱硫废水处理装置,属于火电厂废水处理设备技术领域,用于对湿法脱硫废水的处理。其技术方案是:在脱硫废水处理装置前端设置初沉箱,废水浆液在初沉箱中经过初步沉淀后进入调节箱,在此进行水质、水量的均化。然后经过中和箱、沉降箱、絮凝箱进行加药处理,再进入澄清池,上清液排入清水池达标排放,底部浓缩的污泥进入污泥池,由污泥收集泵输送到板框压滤机进行压榨处理,形成固体废弃物。本实用新型结构设置科学合理,废水液中的重金属能够被有效去除,分离后的清水可以达标排放,污泥进入板框压滤机压缩处理。本实用新型运行稳定,显著提高了处理脱硫废水的效率,避免了环境的污染。

标签:
固废
河北 - 唐山 来源:中冶有色网 2023-03-19
冷轧制油废油脂制备生物柴油原料的预处理方法

本发明涉及一种冷轧制油废油脂制备生物柴油原料的预处理方法,包括如下步骤:将冷轧制油加热后过滤,除去固体废弃物,得到过滤油;向所述过滤油中加入破乳剂,搅拌使之破乳反应;向破乳后的废轧制油中加入絮凝剂,实施絮凝;将絮凝后的废轧制油离心分离,分别得到油、废水、残渣;收集所述油,得到生物柴油原料。此外,本发明还涉及一种生物柴油原料和废轧制油的回收再利用方法。本发明方法条件温和、无污染、效率高;回收油品质量好,品质能够满足生物柴油生产要求;对人身体无害,不浪费资源,减少对环境的危害。

标签:
固废
河北 - 唐山 来源:中冶有色网 2023-03-19
便于使用的废矿物油处理设备

本实用新型公开了一种便于使用的废矿物油处理设备,包括加热外筒和支撑杆,所述加热外筒内部固定安装有加热丝,所述加热外筒内壁贴合设置有存储桶,且加热外筒一侧设置有过滤组件,所述加热外筒下端固定安装有出料管,且出料管内部固定安装有出料开关阀,所述支撑杆焊接固定于加热外筒外侧,且支撑杆下端设置有减震组件。该便于使用的废矿物油处理设备,打开导料阀,在导料阀作用下,废矿物油进入进油管,通过进油管内部的过滤网时,废矿物油内的固体杂质被拦截,固定杂质落入进油管下端的储污管内,在清理时,将卡合塞取下即可对储污管内进行清理,十分便捷,在向存储桶内导入废矿物油时即可对其进行过滤处理。

标签:
固废
河北 - 唐山 来源:中冶有色网 2023-03-19
利用废弃钢包浇注料作为转炉造渣助熔剂的方法

一种利用废弃钢包浇注料作为转炉造渣助熔剂的方法,属炼钢技术领域,用于解决合理利用废弃钢包浇注料的问题。特别之处是:它以钢包拆除的铝镁尖晶石浇注料为造渣助熔剂原料,将铝镁尖晶石浇注料进行破碎筛分,破碎粒度为10~20MM,并筛去粉末,制成转炉造渣助熔剂输送至转炉料仓备用,上述化渣助熔剂在转炉炼钢时随第一批造渣料加入,加入量为总造渣料量的4%-6%。本发明以废弃钢包浇注料作为转炉造渣助熔剂,使废弃物得到合理利用,既减少了环境污染又得到了一种性能优异的助熔剂,实现该种固体废料的零排放,同时提高转炉的控制水平,本发明对进一步提高转炉生产效率、减弱炉衬侵蚀进而降低转炉生产成本有积极的意义。

标签:
固废
河北 - 唐山 来源:中冶有色网 2023-03-19
废水进打捞机前的分流装置

本申请公开了废水进打捞机前的分流装置,涉及尾矿回收技术领域,改善目前废水进打捞机前的分流装置容易受废水中固体颗粒物磨损而损坏的问题。包括主流槽,所述主流槽的一端对称固定连接有分流槽,两组所述分流槽固定连接,两组所述分流槽的连接处的一端设有导流块,本申请通过的设置,使得主流槽排出的水分别流至两组分流槽中,从而有效起到对两组连接处的保护作用,有效降低两组分流槽连接处受废水中的固体颗粒冲击而磨损的概率,提高了整个分流装置的使用寿命。

标签:
固废
河北 - 唐山 来源:中冶有色网 2023-03-19
利用复合活性微生物群实现有机废水的堆肥方法

本发明提出了一种利用复合活性微生物群实现有机废水的堆肥方法,包括:将有机废水导入至第一分解处理槽内,必要时可稀释,再混合入在高温下可增殖的复合活性微生物群,使其维持在高温环境下,并通入空气,使复合活性微生物群增殖;将第一分解处理槽处理后的水导入第二分解处理槽进行复合活性微生物群的生物学处理的同时分离固体成分;将第二分解处理槽得到的分离水导入蒸发处理槽,在蒸发处理槽内进行蒸发处理。该利用复合活性微生物群实现有机废水的堆肥方法可使有机废水经由复合活性微生物群处理后,使第二处理槽内得到含有大量的微生物及肥料的固体成分适用于农作物的肥料及土壤改良剂,并将分离水蒸发至空气中免于排放的困扰。

标签:
固废
河北 - 唐山 来源:中冶有色网 2023-03-19
上一页 8 9 10 11 12 ... 13 下一页
共13页    到第

中冶有色为您提供最新的河北唐山有色金属固/危废处置技术理论与应用信息,涵盖发明专利、权利要求、说明书、技术领域、背景技术、实用新型内容及具体实施方式等有色技术内容。打造最具专业性的有色金属技术理论与应用平台!

全国热门有色金属设备推荐
展开更多 +
全国热门有色金属技术推荐
展开更多 +

 

江西省隆恩特环保设备有限公司
宣传

报名参会
更多+

报告下载

有色专家
更多+

南昌航空大学
副院长/教授
有研科技集团有限公司
中国工程院 院士
矿冶科技集团有限公司工程公司
副总经理
赣州江钨钨合金有限公司
副总经理
中国有色金属工业协会
副会长兼秘书长
赤泥综合利用研究报告2025
推广

热门技术
更多+

推荐企业
更多+

福建省金龙稀土股份有限公司
宣传

发布

在线客服

公众号

电话

顶部
咨询电话:
010-88793500-807