青岛垚鑫智能科技有限公司
宣传

位置:北方有色 >

有色技术频道 >

> 固/危废处置技术

分类:
全部
矿山技术
冶金技术
材料制备及加工技术
环境保护技术
分析检测技术
 
全部
废水处理技术
大气治理技术
固/危废处置技术
土壤修复技术
地区:
全部
北京
天津
上海
重庆
河北
山西
辽宁
吉林
黑龙江
江苏
浙江
安徽
福建
江西
山东
河南
湖北
湖南
广东
海南
四川
贵州
云南
陕西
甘肃
青海
内蒙
广西
西藏
宁夏
新疆
其他
其他
展开
 
全部
南京
无锡
徐州
常州
苏州
南通
连云港
淮安
盐城
扬州
镇江
泰州
宿迁

江苏南京有色金属固/危废处置技术理论与应用

免费发布技术信息>>
有机固废高效率生化分解装置

本实用新型属于有机固废回收利用技术领域,尤其为一种有机固废高效率生化分解装置,包括分解箱,所述分解箱的顶部开设有通孔,所述通孔内套设有轴承,所述轴承的表面固定连接有连接套,并且连接套位于分解箱顶部开设的连接槽内,所述连接槽内固定连接有螺栓,并且螺栓位于连接套内,并且螺栓的表面螺纹连接有紧固螺母,并且紧固螺母的底部与连接套的顶部搭接。本实用新型,通过搅拌轴、搅拌杆、卡槽、销轴、连接套、连接槽、紧固螺母和螺栓之间的相互配合,保障了在不使用时,可以将搅拌轴以及搅拌杆由分解箱内取出,避免了在分解箱内化学试剂浸泡的时候腐化搅拌轴以及搅拌杆,保障搅拌杆以及搅拌轴的使用寿命。

标签:
固废
江苏 - 南京 来源:北方有色网 2023-03-19
固废热解催化重整制备合成气与碳纳米材料的装置与方法

本发明公开了一种固废热解催化重整制备合成气与碳纳米材料的装置与方法,料仓的底部出口与螺旋提升机相连,螺旋提升机的出料口与第一锁气器相连,第一锁气器与热解反应器的物料入口相连,焦炭排料口与回收舱相连,热解反应器的气体出口与第二锁气器相连,第二锁气器与催化反应器的气体入口相连,若干泡沫金属镍板自上向下依次间隔设置在催化反应器内,催化反应器的气体出口与干燥器的气体入口相连,干燥器的气体出口与储气罐相连。本发明在催化裂解反应器内利用泡沫金属镍强化热解气催化裂解,其综合性能优越,应用于固废热解催化活性高,可以同时得到高品质合成气和碳纳米材料。

标签:
固废
江苏 - 南京 来源:北方有色网 2023-03-19
固废焚烧回转窑清焦装置

本发明涉及一种固废焚烧回转窑清焦装置,包括安装在二燃室筒体上的清焦器,所述清焦器设置于回转窑尾部,并且所述回转窑筒体相对于清焦器转动,在所述清焦器与回转窑的筒体内壁之间设有间隙,用于清除回转窑尾部结焦。本发明的清焦装置一端垂直固定在二燃室,另一端悬挂在回转窑内,不会随着回转窑的转动而转动,可将粘结在回转窑尾部的结焦物自动清除,有效解决了固废焚烧回转窑尾部结焦需停机清理的问题。

标签:
固废
江苏 - 南京 来源:北方有色网 2023-03-19
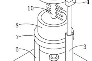
固废纤维粉碎装置
固废纤维粉碎装置 1114     
 0

本发明公开了一种固废纤维粉碎装置,包括机壳、水管、挡板、雾化喷头、第一电机、支杆、刀片、第二电机、第一粉碎辊棒、第三电机、第二粉碎棒、滤网、补料口、出料口、第四电机、转动杆、搅拌叶、电磁阀、防静电软管、活性炭吸附块、支柱以及加料口。本发明不仅便于操作使用,且大大提高回收效率;在粉碎前通过刀片对大块固废纤维进行切割,解决了人工捣碎缓慢的问题,节省了大量人力,节约生产成本;通过雾化喷头和挡板能有效地消除粉碎时产生的灰尘,且湿润的固废纤维能够减少静电的产生,消除了静电产生的安全隐患,同时利用刀片的旋向把灰尘往壳体内吸,为工人提供良好的工作环境;具有良好的经济效益和生产效益,适合推广使用。

标签:
固废
江苏 - 南京 来源:北方有色网 2023-03-19
土壤修复用固废处理设备

本实用新型公开了一种土壤修复用固废处理设备,包括本体。本实用新型通过设置第一连接板、第二连接板、移动孔、拉杆、活动槽、活动孔、收纳槽、固定装置、卡接槽、通孔、卡接块和卡槽的配合使用,推动传输装置前侧的第二连接板与第二固定板接触带动卡接块移动至卡接槽内,然后松开拉杆,弹簧发生弹性形变带动挤压板回到原处,挤压板移动带动第二卡块移动卡槽内,完成了对传输装置位置的定位,解决了现有传输带对土壤修复用固废处理设备底部的废料进行运输时,没有对其传输带位置进行定位的装置,在下料时可能会发生因为传输带摆放位置发生偏移,导致废料掉落到地面的问题,该土壤修复用固废处理设备,具备便捷定位的优点。

标签:
固废
江苏 - 南京 来源:北方有色网 2023-03-19
掺烧废气废液的固废沸腾床式焚烧炉

本实用新型公开了一种掺烧废气废液的固废沸腾床式焚烧炉,它包括:底座(1),垂直立于底座(1)上的圆筒形壳体(2),浇筑于圆筒形壳体(2)内壁的耐火材料(3),连接在壳体(2)底部侧面的燃烧器(4),平置于壳体(2)变径段的炉床(5),安装在壳体(2)顶部的烟气出口(6);壳体(2)一侧由下至上分别设置有助燃风入口(2‑3),固废入口(2‑1),视镜口(2‑9)和氨水/尿素喷口(2‑6);壳体(2)另一侧由下至上分别设置有排渣口(2‑2),废气喷口(2‑4),废液喷口(2‑5)和冷却水接口(2‑8)。本实用新型结构设计合理,可同时焚烧废气、废液及固废,燃尽率高,低氮环保,具有重要的应用价值。

标签:
固废
江苏 - 南京 来源:北方有色网 2023-03-19
工业固废及污泥处置系统

本申请提供一种工业固废及污泥处置系统,包括:污泥给料机,向污泥干化装置提供污泥;污泥干化装置,将污泥进行干化,以产生干化后的污泥和废气,并将干化后的污泥传送给逆流回转窑,将废气传送至焚烧炉进行燃烧;逆流回转窑,将工业固废和干化后的污泥进行翻滚混合并干燥热解,获得固态灰渣及热解后的烟气,将热解后的烟气传送到焚烧炉进行焚烧;进风系统,控制将一次风与从余热锅炉出口抽取的部分烟气配合,从逆流回转窑的窑尾进入逆流回转窑;焚烧炉,焚烧废气和热解后的烟气。本申请中,一次风与从焚烧炉出口抽取的部分烟气配合,从逆流回转窑的窑尾进入逆流回转窑,在维持窑内缺氧状态的同时增加窑内的烟气量,利于维持窑内温度的稳定。

标签:
固废
江苏 - 南京 来源:北方有色网 2023-03-19
全自动高温等离子体固废气化熔融炉

本实用新型公开了一种全自动高温等离子体固废气化熔融炉,包括炉本体、设在炉本体顶部的变频给料系统、设在炉本体底部的熔融池及熔浆液位检测仪和熔浆出浆系统,以及设在炉本体上端一侧的出气口;所述炉本体下端熔融池上部设有一组等离子发生器,设在离子发生器上端并与炉本体中心垂直线呈一定夹角的一组旋流空气喷嘴,在炉本体外侧分别设有热电偶及氧含量检测仪。本实用新型根据不同种类的固废也可炼制多种燃油和可燃气体;熔融炉下部产生熔融浆,排出后形成玻璃体可浇铸不同状物件,不会产生二次污染,无二噁英、重金属等有毒物质。

标签:
固废
江苏 - 南京 来源:北方有色网 2023-03-19
环保固废处理的固液分离装置

本实用新型公开了一种环保固废处理的固液分离装置,涉及固废处理技术领域,包括过滤箱,过滤箱顶部相对应的两侧均固定安装有连接件,连接件的顶部滑动连接有支撑柱,支撑柱的外侧且位于连接件的顶部套接有伸缩弹簧,支撑柱的顶部固定安装有机架。本实用新型的有益效果为:该环保固废处理的固液分离装置,通过传送带的运行,使垃圾从排污管道倾倒至传送到表面时,垃圾中的废液能够从传送带表面上开设的多个排水孔排放至过滤箱内,同时机架底部利用偏心凸轮与滑轮的配合,使机架随着偏心凸轮的转动上下晃动,从而避免排水孔的堵塞,增强垃圾的过滤效果,有利于提高垃圾固液分离的效率。

标签:
固废
江苏 - 南京 来源:北方有色网 2023-03-19
大宗工业固废协同处置建筑垃圾的方法

本发明涉及一种大宗工业固废协同处置建筑垃圾的方法,所述方法包括以下步骤:步骤1:大宗固废铁矿尾矿性质研究;步骤2:建筑垃圾性质研究;步骤3:建筑垃圾资源化利用工艺;步骤4:反击式破碎机转子转速;步骤5:永磁除铁器设置;步骤6:大块物料漏斗坡度;步骤7:干式除尘;步骤8:产品骨料检测;步骤9:渣土、粉尘和尾矿生产烧结砖。该技术方案是处理建筑垃圾,生产成品骨料;分离出其中的渣土及收集粉尘继续利用,和铁矿尾矿一起混合加工用作烧结制砖原料。

标签:
固废
江苏 - 南京 来源:北方有色网 2023-03-19
固废热解气化预处理装置

本实用新型公开了一种固废热解气化预处理装置,包括下料箱体和热处理箱体,所述热处理箱体顶面一侧与下料箱体底面一侧之间连通设置有下料口,所述热处理箱体顶面四角与下料箱体底面四角之间固定安装有固定柱,所述下料箱体的内壁缠绕设置有加热管,所述下料箱体内部转动连接有第一转动轴,所述第一转动轴上设置有第一搅拌叶片,所述热处理箱体内部转动连接有第二转动轴,所述第二转动轴上通过支撑组件连接有内壁刮片,设置有下料时的预处理机构,固废下料时经过预先的加热与搅拌,提升了固废的处理效果,提高工作效率,在热处理箱体内壁设置有刮刀处理机构,对热处理箱体进行刮壁处理,不易造成沉淀物堆积,提高使用效果。

标签:
固废
江苏 - 南京 来源:北方有色网 2023-03-19
生物质类固废用分析处理系统

本发明公开了一种生物质类固废用分析处理系统,所述分析处理系统包括种类情况统计模块和处理方法确定模块,所述种类情况统计模块用于统计收集到的该批农业生物质类固废的种类情况,所述处理方法确定模块根据种类情况统计模块的统计结果确定生物质类的处理方法,所述种类情况统计模块包括图像采集模块、图像边缘采集模块、图像面积占比计算模块、生物质类固废翻动模块和参考占比率计算模块,所述图像采集模块用于采取收集到的该批农业生物质类固废的图像信息。

标签:
固废
江苏 - 南京 来源:北方有色网 2023-03-19
基于物联网的固废库废气处理装置用智能监控系统

本实用新型属于固废库废气处理技术领域,涉及一种基于物联网的固废库废气处理装置用智能监控系统,其中,包括后台监控中心、报警器、远程服务器和第一过滤壳,所述第一过滤壳的一侧连通有进气管。其有益效果是,该基于物联网的固废库废气处理装置用智能监控系统,通过设置控制器、空气监测传感器,无线通讯模块和报警器,通过空气监测传感器对装置排出的气体进行监测,通过数据采集模块对监测数据进行采集,使控制器将数据通过数据输出模块和无线通讯模块传输到后台监控中心,若排出的空气未达到标准的排放标准,使报警器开启和电磁阀关闭,使报警器对工作人员进行提示,便于对装置的废气处理效果进行监控,保证装置正常的工作。

标签:
固废
江苏 - 南京 来源:北方有色网 2023-03-19
一体式固废处理机
一体式固废处理机 845     
 0

本实用新型公开一种一体式固废处理机,包括一固定放置的挤压筒体;所述的挤压筒体的上方设置有一配合使用的挤压装置,该挤压装置的挤压杆上安装有挤压板,该挤压板与挤压筒体的挤压口相对应;所述的挤压筒体的下端筒口为开口设计,且下端筒口的两侧分别设置有由外至内向下倾斜设置的斜坡。本装置的设备在使用的时候,先通过推拉气缸控制封堵耐压板向内侧对接安装,封堵耐压板上的三角块则配合封堵住挤压挤压筒体下端的V形底部,挤压筒体内上料后,通过挤压装置进行挤压后将筒体内部的固废进行挤压成块,推拉气缸再从两侧将封堵耐压板拉回,挤压筒体内部的固废体就直接落入到固废填埋坑中,操作使用方便。

标签:
固废
江苏 - 南京 来源:北方有色网 2023-03-19
用于危险固废收集、贮存、管理的方法及系统

本发明实施例公开了一种用于危险固废收集、贮存、管理的方法及系统,涉及化工环境保护技术领域,能够解决了危险固废监管困难的问题,也同时兼顾了国家标准中的防泄漏的需求。本发明包括:接收贮存容器上传的闭合信号,并获取所述贮存容器的位置信息和状态信息;在所述贮存容器到达所述预设区域后,接收验证信息,当所述验证信息通过校验后,发送开锁密钥,所述验证信息包括危废处置单位的识别信息和所述贮存容器当前的状态信息。本发明适用于危险固废的运输、贮存和处理。

标签:
固废
江苏 - 南京 来源:北方有色网 2023-03-19
集成固废等离子气化和电解水的零碳排放多联产系统

本申请公开了一种集成固废等离子气化和电解水的零碳排放多联产系统,包括通过管路连接的等离子气化系统、水电解系统、超临界二氧化碳循环发电系统、甲醇制备系统和供热系统;本申请创造性地将甲醇合成技术和等离子气化技术应用于固废物资源化利用领域,提出了一种集成电、热和甲醇多联产系统,利用水电解产生的氧气作为气化剂参与等离子气化,产生的氢气与等离子气化得到的合成气作为原料进行甲醇合成;同时利用超临界二氧化碳循环发电系统和城市供暖回收系统余热并实现余热的梯级利用,提高了固废物利用效率,降低了二氧化碳排放率,实现节能与环保的双重效益。

标签:
固废
江苏 - 南京 来源:北方有色网 2023-03-19
多用途智能固废贮存仓
多用途智能固废贮存仓 1175     
 0

本发明公开了多用途智能固废贮存仓,包括第一固定箱板、第二固定箱板、活动箱板和固定装置,所述第一固定箱板与所述活动箱板滑动连接,所述活动箱板位于所述第一固定箱板的内部,所述活动箱板与所述第二固定箱板固定连接,所述第二固定箱板位于所述活动箱板远离所述第一固定箱板的一端,所述固定装置包括活动架、连接弹簧和卡板,所述固定装置用于将所述活动箱板固定在所述第一固定箱板上,通过改变本多用途智能固废贮存仓的体积,从而提高本多用途智能固废贮存仓的体积的实用性。

标签:
固废
江苏 - 南京 来源:北方有色网 2023-03-19
基于斑马鱼胚胎测试固废浸出液生态毒性的装置及方法

本发明公开了一种基于斑马鱼胚胎测试固废浸出液生态毒性的装置及方法,所述装置包括壳体,壳体内设有两组可从壳体内拉出并展开或收纳至壳体内的堆叠式孔板载具,具有操作简单,孔板容载量大等优点;所述方法通过利用斑马鱼胚胎对固废浸出液生态毒性进行急性毒性试验,能够为固废浸出液的生态毒性检测提供一种新的检测方式。

标签:
固废
江苏 - 南京 来源:北方有色网 2023-03-19
农业固废处理装置及使用方法

本发明公开了一种农业固废处理装置,包括:处理箱,处理箱的两端分别设置有进料口和出料口,处理箱的顶部开设有联动槽,联动槽的内部固定连接有限位滑轴;支撑滑杆,支撑滑杆的底部固定于处理箱的内壁的底部,本发明涉及农业固废处理设备技术领域。该农业固废处理装置通过传动结构带动吹风装置进行摇摆吹风,增加热吹风处理过程中的吹风范围,从而提高吹风的质量,通过底部的震动结构带动传输带上的果蔬进行震动,传输带在果蔬运输的过程中带动果蔬上下震动,果蔬间因震动而产生的间隙方便热风的吹入,使得果蔬与吹风装置的热水接触更全面,增加吹风的质量和果蔬热处理过程的质量,避免果蔬间的堆叠而造成吹风不完全。

标签:
固废
江苏 - 南京 来源:北方有色网 2023-03-19
化工厂用环保型固废处理装置

本实用新型公开了一种化工厂用环保型固废处理装置,包括顶部为开口设置的矩形箱,所述矩形箱的顶部连通并固定有进料斗,矩形箱的底部四角均固定连接支腿,所述矩形箱的右侧固定安装有驱动电机,且驱动电机的输出轴上固定连接有转轴,转轴的左端贯穿矩形箱并固定连接有偏心轮,偏心轮位于矩形箱的左侧,转轴的外侧固定连接有多个位于矩形箱内的破碎刀,所述矩形箱的两侧内壁上均活动接触有挡孔板。本实用新型设计合理,便于自动对粉碎后的固废物进行筛选,并能够自动持续将未完全粉碎的大块固废物向上甩起至破碎刀处继续粉碎,达到能够逐渐将材料粉碎均匀,无需人工挑拣单独粉碎,省时省力,有利于使用。

标签:
固废
江苏 - 南京 来源:北方有色网 2023-03-19
基于区块链技术的固废危废智能监控装置及其方法

本发明涉及固废危废智能监控技术领域,具体为一种基于区块链技术的固废危废智能监控装置及其方法,包括主仓,所述主仓的一端连接有移液仓,所述移液仓的一侧通过转轴连接有移液门,所述主仓的中部设置有净化机构。本装置将空气中的颗粒粉尘和有害物质进行净化吸附,进而保证用户的健康,用户将数据记录保存后,通过智能显示终端、处理模块和区块链模块将数据发生至接收地点,接收点通过同种方式进行称重记录再对比数据,从而避免在运输途中随意排放,从而造成污染,本装置能对固废危废物进行准确安全的监控,通过净化机构有效降低本装置内部空气中的颗粒粉尘和有害物质,保证用户处于安全的工作环境中。

标签:
固废
江苏 - 南京 来源:北方有色网 2023-03-19
基于固废处理工艺中的余热蒸汽发电装置

本实用新型公开了一种基于固废处理工艺中的余热蒸汽发电装置,包括固废焚烧炉余热锅炉、主蒸汽管、整体式高速透平机、发电机、发电机控制柜、并网断路器、凝汽器、冷却塔、除氧器和管道,所述固废焚烧炉余热锅炉上设有汽包,所述汽包的两侧通过管道分别连接主蒸汽管和除氧器,所述主蒸汽管通过管道与整体式高速透平机连接,所述整体式高速透平机与发电机连接并通过管道连接凝汽器,所述发电机依次电连接发电机控制柜、并网断路器,所述凝汽器通过管道分别连接冷却塔和凝结水泵,所述凝结水泵通过管道与除氧器连接。本实用新型与现有技术相比的优点在于:安全高效的将固废燃烧余热进行再利用,有利于节能环保。

标签:
固废
江苏 - 南京 来源:北方有色网 2023-03-19
基于云端的危险固废全流程的监控管理的方法及系统

本发明实施例公开了一种基于云端的危险固废全流程的监控管理的方法及系统,涉及化工环境保护技术领域,能够解决了危险固废监管困难的问题,也同时兼顾了国家标准中的防泄漏的需求,并在防止泄漏的同时,实现了及时告警。本发明包括:接收贮存容器上传的闭合信号,并获取所述贮存容器的位置信息和状态信息;若所述贮存容器在到达预设区域之前,接收到所述贮存容器的开锁信号,则进行告警;在所述贮存容器到达所述预设区域后,接收验证信息,当所述验证信息通过校验后,发送开锁密钥,所述验证信息包括危废处置单位的识别信息和所述贮存容器当前的状态信息。本发明适用于危险固废的运输、贮存和处理。

标签:
固废
江苏 - 南京 来源:北方有色网 2023-03-19
煤基固废制备土壤修复材料的制备方法及应用

本发明涉及土壤修复技术领域,具体涉及一种煤基固废制备土壤修复材料的制备方法及应用,该材料主要由炉渣、煤矸石、粉煤灰、污泥、农作物秸秆、保水剂、稳定剂、生物发酵菌种等,经过混掺、干燥、焙烧、混合发酵等步骤制备,生物污泥炭化形成疏松多孔的材料,提高土壤透气性能的同时有效保持土壤的含水率,还可通过植物吸收作用持续向土壤释放碳元素,通过高温炭化可将污泥中的重金属离子转化为不易溶于水的金属氧化物。合理配比有机质与无机质,实现有机质含量提高与改善土壤理化性质,充分利用矿区煤基固废的同时还可最大程度的实现固废就地利用,有利于矿区土壤修复成本的降低。

标签:
固废
江苏 - 南京 来源:北方有色网 2023-03-19
用于焚烧工业固废的两段式逆流回转窑

一种用于焚烧工业固废的两段式逆流回转窑,包括:第一段回转窑,用于使工业固废发生热解反应;炉膛,设置在第一段回转窑前端,用于燃烧热解反应产生的热解气;给料单元,设置在炉膛前端,用于将工业固废给入炉膛;出料单元,设置在第一段回转窑末端,用于排出第一段回转窑内的热解反应产生的热解产物;第二段回转窑,连接出料单元,用于接收热解产物,并使热解产物发生燃烧反应;烟道,连接第二段回转窑与第一段回转窑,第二段回转窑内燃烧反应产生的高温烟气经烟道进入第一段回转窑,为热解反应供热;出渣单元,用于排出第二段回转窑内的燃烧反应产生的料渣。该用于焚烧工业固废的两段式逆流回转窑能更好地控制热解和燃烧工况。

标签:
固废
江苏 - 南京 来源:北方有色网 2023-03-19
污水与固废处理装置
污水与固废处理装置 895     
 0

本实用新型涉及污水与固废处理技术领域,且公开了一种污水与固废处理装置,包括处理箱、出水管、活性炭吸附层、放置板、分离框和固定板。该污水与固废处装置,通过设置驱动组件,启动驱动电机带动驱动转盘转动,驱动转盘带动偏心杆转动,偏心杆通过驱动杆带动驱动板沿着限位杆向下移动,增加了驱动板移动的稳定性,驱动板带动安装框向下移动,安装框通过分离杆带动分离板向下移动,从而对分离框内的固废以及污水进行挤压,实现固液分离的目的,抛弃了以往使用高速旋转或者沉淀的方式,使该装置具有高效工作效率的同时,也不需要较高的使用成本,提高了该装置的实用性。

标签:
固废
江苏 - 南京 来源:北方有色网 2023-03-19
固废处理筛分装置
固废处理筛分装置 778     
 0

本实用新型公开了一种固废处理筛分装置,包括底座,底座的上端通过转动组件转动安装有电动推杆,电动推杆活塞杆的一端固定有连接块,连接块的一侧通过连接柱固定有上盖,上盖的上端固定安装有驱动马达,驱动马达输出轴的一端贯穿上盖通过固定组件安装有磁筛分架,底座的上端固定焊接有支撑柱,支撑柱的一端固定焊接有环形套块,环形套块的内部固定有筛分缸体,筛分缸体内部设置筛分孔板,筛分孔板的下端设置有振动器。本实用新型通过驱动马达带动磁筛分架转动,在粉碎后的固废物中进行搅拌,使固废物的金属物吸附在磁筛分架上,并且由于固定组件的可拆卸式连接,能将磁筛分架整体拆卸将吸附的金属物取下。

标签:
固废
江苏 - 南京 来源:北方有色网 2023-03-19
模块化固废智能暂存舱智能照明装置

本实用新型涉及一种模块化固废智能暂存舱智能照明装置,包括有暂存舱,所述暂存舱的内部设置有灯座,所述灯座的底部设置有照明灯,所述灯座的内部设置有拆卸机构,所述拆卸机构包括有两个安装槽,两个所述安装槽均开设于灯座的内部,两个所述安装槽的内部均滑动连接有齿条。该模块化固废智能暂存舱智能照明装置,通过设置有拆卸机构,使得更换老化的照明灯更加方便,也方便了检修维护人员对智能照明装置的维护检修,并且使得更换照明灯所需要的技术要求得到降低,同时大大降低了维修工人的工作强度,使得模块化固废智能暂存舱智能照明装置的实用性大大加强,进一步提高了用户的体验感。

标签:
固废
江苏 - 南京 来源:北方有色网 2023-03-19
利用可燃固废气化进行垃圾飞灰资源化利用系统和方法

本发明公开了一种利用可燃固废气化进行垃圾飞灰资源化利用系统和方法,包括可燃固废气化系统、给料预制系统、陶粒烧制系统和除污系统,可燃固废气化系统主要包括气化炉、旋风除尘器和引风机;给料预制系统包括称重配料装置、混料装置和成球装置;陶粒烧制系统主要包括陶粒烧结装置、陶粒冷却破碎筛分装置;除污系统主要包括结晶装置、除尘装置和废气处理装置,气化炉产生的可燃气和焦炭直接被引入陶粒烧制系统作为燃料供热,气化炉残渣和旋风除尘器捕集到的飞灰被引入给料预制系统与垃圾飞灰共同作为原料添加适量粘土和水后进入陶粒烧制系统生产陶粒。陶粒烧结装置与空预器、结晶装置、除尘装置和废气处理装置依次连接,使整个系统节能无污染。

标签:
固废
江苏 - 南京 来源:北方有色网 2023-03-19
等离子体气化固废处理系统

本发明揭示了一种等离子体气化固废处理系统,包括:炉体,带动炉体自转的驱动组件,位于炉体一侧的加料装置,以及位于炉体一侧的出料装置;击打组件,击打组件活动设置于炉体上,工作状态自转的炉体带动击打组件有规律敲击炉体,炉体自转一周,击打组件至少敲击一次;出料装置连接烟气处理装置。本发明所揭示的等离子体气化固废处理系统实现了对危废的连续高效焚烧处理,还能够同步去除对粘附于炉体内的灰烬或废渣,并实现了对等离子体气化固废处理系统所产生的高温态并含有长链状的氮氧化物的废气的高效净化处理。

标签:
固废
江苏 - 南京 来源:北方有色网 2023-03-19
上一页 87 88 89 90 91 ... 98 下一页
共98页    到第

北方有色为您提供最新的江苏南京有色金属固/危废处置技术理论与应用信息,涵盖发明专利、权利要求、说明书、技术领域、背景技术、实用新型内容及具体实施方式等有色技术内容。打造最具专业性的有色金属技术理论与应用平台!

全国热门有色金属设备推荐
展开更多 +
全国热门有色金属技术推荐
展开更多 +

 

江西省隆恩特环保设备有限公司
宣传

报名参会
更多+

报告下载

有色专家
更多+

矿冶科技集团江苏北矿金属循环利用科技有限公司
书记 / 总经理
江西理工大学
副校长/教授
江西铜业集团有限公司
党委书记、董事长
洛阳有色矿业集团有限公司
生产技术部经理
赣州江钨钨合金有限公司
工程师
赤泥综合利用研究报告2025
推广

热门技术
更多+

推荐企业
更多+

福建省金龙稀土股份有限公司
宣传

发布

在线客服

公众号

电话

顶部
咨询电话:
010-88793500-807