青岛垚鑫智能科技有限公司
宣传

位置:北方有色 >

有色技术频道 >

> 复合材料技术

分类:
全部
矿山技术
冶金技术
材料制备及加工技术
环境保护技术
分析检测技术
 
全部
功能材料技术
复合材料技术
新能源材料技术
合金材料技术
加工技术
地区:
全部
北京
天津
上海
重庆
河北
山西
辽宁
吉林
黑龙江
江苏
浙江
安徽
福建
江西
山东
河南
湖北
湖南
广东
海南
四川
贵州
云南
陕西
甘肃
青海
内蒙
广西
西藏
宁夏
新疆
其他
其他
展开
 
全部
郑州
开封
洛阳
平顶山
安阳
鹤壁
新乡
焦作
濮阳
许昌
漯河
三门峡
商丘
周口
驻马店
南阳
信阳
济源

河南洛阳有色金属复合材料技术理论与应用

免费发布技术信息>>
用于多绳摩擦式提升机的聚氨酯复合材料尾绳防撞轮

本实用新型公开了一种用于多绳摩擦式提升机的聚氨酯复合材料尾绳防撞轮,包括芯轴、辊体、辊套、轴承和端盖,芯轴通过轴承安装在辊体内部,辊套套装在辊体的外表面上,在辊体两端口处连接有端盖,辊体两端口的内侧壁上开设有环形的台阶面,端盖呈台阶状的柱体,端盖的一端伸入辊体内,端盖上的台阶面与辊体的端面相对应,并且端盖上的台阶面与辊体的端面焊接。

标签:
复合材料
河南 - 洛阳 来源:北方有色网 2023-03-18
耐磨复合材料的生产工艺

本发明涉及一种在碳钢或合金钢表面制成高合金耐磨层复合材料的生产工艺,首先选用粒度为0.005-0.8mm铬、钼、钨、钒、钛、镍、钴、锰、硼、碳组成的合金粉末或选用粒度为0.4-0.8mm的烧结硬质合金颗粒40-80%、粒度为0.05-0.1mm的镍和铬的合金粉末20-60%,粘结剂与合金粉末搅拌制成合金粉涂料,其次,将合金粉涂料涂敷在铸型侧面上,第三是浇注成型,具有合金层组织致密,不会出现缩松、夹杂、气孔等缺陷,合金层与本体结合良好,生产工艺稳定,成品率高,合金层组织和性能易于满足工件要求的优点。

标签:
复合材料
河南 - 洛阳 来源:北方有色网 2023-03-18
一体式复合材料疏散平台

本实用新型涉及一种一体式复合材料疏散平台,该疏散平台包括平台面板、多个连接支座和多个挡板,所述的连接支座由底座和一端与底座固定连接的连杆组成,所述底座上设有与锚栓相匹配的锚栓孔,所述连杆的另一端均与挡板固定连接,所述的平台面板由若干侧面具有通孔的型材套设在连杆外拼接构成,且平台面板的两侧分别由底座和挡板夹紧;本实用新型结构简单,前期的预组装均可在工厂进行,现场施工时仅需要将连接支座固定在现场固定好的化学锚栓上,可以大幅减少施工时间,缩短工期;安装所需要的化学锚栓的数量大大减少,仅为原来的一半,有较好的经济效益。

标签:
复合材料
河南 - 洛阳 来源:北方有色网 2023-03-18
复合材料悬臂支撑
复合材料悬臂支撑 1164     
 0

本文公布了一种复合材料悬臂支撑,包括顶板、侧板和底板,所述顶板水平设置在悬臂支撑的顶端,所述顶板的上表面为步道板的安装面;所述底板倾斜设置在所述悬臂支撑的底端;所述侧板设置在所述悬臂支撑的一侧,所述侧板的底端连接所述底板的另一端,所述侧板的顶端连接所述顶板对应的端部;本申请可应用于轨道交通技术领域,应用本申请能够有效解决现有技术中存在的问题,能够实现悬臂支撑的结构优化,能够有效提高其结构强度。

标签:
复合材料
河南 - 洛阳 来源:北方有色网 2023-03-18
用于复合材料的耐高温酚醛型胶粘剂及制备方法

本发明提供一种用于复合材料的耐高温酚醛型胶粘剂及制备方法,包括树脂体系、耐高温粉和低熔点粉,耐高温粉包括金属氧化物或者氢氧化物、高岭土、云母粉;低熔点粉末为低熔点玻璃粉和/或低熔点金属粉,树脂体系和耐高温粉、低熔点粉通过常温搅拌混合制备而成。在高温环境中,产品表面酚醛树脂碳放热被功能高温粉吸收,致使低熔点粉微融,熔化后的低熔点粉将耐高温粉粘接覆在产品表面,形成一道屏障阻止热量进入,在耐高温粉之下是均匀致密的酚醛碳化层形成第二道防线,阻止火焰、热量烧蚀产品,有效保护剩余胶粘剂和产品,剩余胶粘剂覆在产品表面、缝隙中形成第三道保护层起到粘接作用的同时保证内部仍然保持着较高的强度。

标签:
复合材料
河南 - 洛阳 来源:北方有色网 2023-03-18
纤维增强复合材料的机械化浸渍系统及其应用

本申请公开了一种纤维增强复合材料的机械化浸渍系统,包括:配料设备,所述配料设备供给树脂基体材料;混料设备,所述混料设备与所述配料设备相连接,所述混料设备上设置有供料口;和真空布胶设备,所述真空布胶设备包括真空布胶模具和真空装置,所述真空布胶模具包括筒状的本体,所述本体的两端分别具有入模口和出模口,所述本体上设置有注胶口和抽气口,所述注胶口的数量与所述供料口相同并且一一对应地设置在所述供料口下方;所述真空装置与所述抽气口相连接。本申请的浸渍系统的机械化程度高,不仅具有高效稳定的生产效率,而且解决了多人轮班交替揉搓存在的纤维、树脂基体浸渍不均匀、成本高、成型产品尺寸受限等诸多问题。

标签:
复合材料
河南 - 洛阳 来源:北方有色网 2023-03-18
纤维增强复合材料浸渍系统及其树脂纤维混合模具和应用

本申请公开了一种纤维增强复合材料浸渍系统,包括:配料设备,所述配料设备供给树脂基体材料;混料设备,所述混料设备与所述配料设备相连接,配置为将来自于所述配料设备的树脂基体材料混合均匀;储料罐,所述储料罐与所述混料设备相连接,并且所述储料罐上设置有增压口,所述储料罐下方设置有复数个供料口;和树脂纤维混合模具,所述树脂纤维混合模具的所述复数个注胶口一一对应地设置在所述复数个供料口下方。本申请的浸渍系统的机械化程度高,不仅具有高效稳定的生产效率,而且解决了多人轮班交替揉搓存在的纤维、树脂基体浸渍不均匀、成本高、成型产品尺寸受限等诸多问题。

标签:
复合材料
河南 - 洛阳 来源:北方有色网 2023-03-18
纤维增强复合材料浸渍系统及其曲轴旋转振动设备和应用

本申请公开了一种纤维增强复合材料浸渍系统,包括:配料设备,所述配料设备供给树脂基体材料;混料设备,所述混料设备与所述配料设备相连接,配置为将来自于所述配料设备的树脂基体材料混合均匀,所述混料设备上设置有出料口;和曲轴旋转振动设备,所述曲轴旋转振动设备设置在所述混料设备的下游,所述曲轴旋转振动棒设置在被所述混料设备浇注了树脂基体材料的纤维的上部、中部和下部中的任意一处或更多处。还公开了所述浸渍系统的曲轴旋转振动设备和应用。本申请的浸渍系统的机械化程度高,不仅具有高效稳定的生产效率,而且解决了多人轮班交替揉搓存在的纤维、树脂基体浸渍不均匀、成本高、成型产品尺寸受限等诸多问题。

标签:
复合材料
河南 - 洛阳 来源:北方有色网 2023-03-18
铝铬质弥散透气复合材料及其制备方法

本发明公开了一种铝铬质弥散透气复合材料,包括骨料、基质和助烧剂,骨料的形状为球形颗粒和普通颗粒,球形颗粒的加入量占骨料总重量的35‑100%;普通颗粒的加入量占骨料总重量的0‑65%;骨料加入重量份数为:75份‑97份,基质加入重量份数为:3份‑25份,基质包括氧化铬细粉、氧化铝细粉;氧化铬细粉加入量占基质总重量的25‑65%,氧化铝细粉加入量占基质总重量的35‑75%;助烧剂的加入量为骨料和基质总重量的0‑25%,外加结合剂,加入量为骨料和基质总重量的1‑10%。本发明工艺简单、具有较高的气孔率、透气度、较高的强度、寿命长等优点。

标签:
复合材料
河南 - 洛阳 来源:北方有色网 2023-03-18
配电网建设用复合材料电缆引上线保护管

本实用新型公开了一种配电网建设用复合材料电缆引上线保护管,包括保护套管,所述保护套管的侧面安装有安装座,所述安装座上方和下方的保护套管上均套接有收紧端;所述保护套管包括内管套和外管套,所述内管套的外部均布有凸台,所述外管套的内部对应凸台两侧的位置处安装有卡环,所述凸台和卡环上均开设有定位孔,所述定位孔的内部连接有定位管,所述内管套和外管套上均设置有开口,通过保护套管能够对沿电杆引上线、沿铁塔引上线、沿墙引上线等多种场合的电缆进行包裹保护,可以有效保护电缆不受外物以及环境腐蚀的破坏,增加电缆使用寿命,再者收紧端的设置,能够有效的防止小动物进入到保护套管的内部。

标签:
复合材料
河南 - 洛阳 来源:北方有色网 2023-03-18
复合材料用激光探伤仪
复合材料用激光探伤仪 1086     
 0

本实用新型公开了一种复合材料用激光探伤仪,包括底板,所述底板的上表面固定连接有伸缩杆,所述伸缩杆的内部转动连接有支撑轴,所述支撑轴的外表面固定连接有支撑板,所述伸缩杆的左表面固定连接有固定盘,所述支撑轴的外表面且位于支撑板的左滑动连接有转动盘,所述支撑板的上表面固定连接有箱体,所述箱体的右内壁固定连接有冷风机。本实用新型,通过设计伸缩杆、转动杆,实现装置在探测的前角度可以调节,达到便于探测的目的,通过设计冷风机、暖风机、温度传感器、阀门,实现可以在不同的环境下可以对装置进行温度保护,达到提高装置自我保护功能的目的,通过设计转动盘、固定盘,实现装置在使用的过程中,角度不会产生变化,且调节方便。

标签:
复合材料
河南 - 洛阳 来源:北方有色网 2023-03-18
用于立磨机的金属基陶瓷复合材料磨盘

一种用于立磨机的金属基陶瓷复合材料磨盘,磨盘由耐磨陶瓷料和高铬合金复合浇铸而成,所述的耐磨陶瓷料设置在高铬合金的上表面,并由高铬合金上表面设置的条形分隔块分隔成多个相互间隔的耐磨陶瓷条,耐磨陶瓷条半包裹在相邻的两个条形分隔块之间,所述磨盘的上表面由其中心至圆周呈下凹的弧形面。本实用新型中,弧形面呈内凹的形状,在研磨物料时,能够最大限度的增加物料被研磨的时间,使物料研磨的更充分;耐磨陶瓷料半包裹在高铬合金中,使耐磨陶瓷料中的耐磨陶瓷颗粒不均匀地包裹在磨盘的高铬合金介质内,陶瓷相和金属相相互结合,还能避免因采用螺栓连接间接造成易损部位磨损的问题,提高了磨盘的耐磨性,延长了其使用寿命。

标签:
复合材料
河南 - 洛阳 来源:北方有色网 2023-03-18
具有阻燃性的柔性聚合物复合材料及其制备方法和应用

本发明公开一种具有阻燃性的柔性聚合物复合材料及其制备方法和应用,由如下材料制备而成:聚合物弹性体材料:60~70份;膨胀阻燃剂由以下原料组成:多聚磷酸铵:24~30份,季戊四醇:5~10份,有机蒙脱土:1~3份;可膨胀石墨:0.15~1份。具体制备步骤如下:步骤一、将一定比例的上述材料组成的膨胀阻燃剂与上述聚合物弹性体材料进行熔融共混,造粒,然后再将所得塑化样品压制成薄片,后将薄片裁成阻燃样条;步骤二、将步骤一得到的所述阻燃样条,置于一定浓度的可膨胀石墨分散液中进行超声处理,得到改性聚合物弹性体材料。本方案能有效解决目前火灾报警器响应时间长、不阻燃等问题。

标签:
复合材料
河南 - 洛阳 来源:北方有色网 2023-03-18
新型CNT表面处理方法及其在制备聚合物/CNT纳米复合材料中的应用

一种新型CNT表面处理方法,包括以下步骤:1)将CNT与聚合物按照比例分散于溶剂中,或将CNT与聚合物按照比例预先混合均匀;2)接枝目标复合材料的基体聚合物:使用高能量物理手段对步骤1)中得到的混合物进行处理:打断聚合物分子链并打破CNT管壁产生自由基,通过自由基的耦合反应使聚合物分子链接枝于CNT表面,分离除去溶剂和未反应的聚合物,得经过表面处理的新型CNT。该方法仅在某些情况下需使用一定量的溶剂,无需其他任何试剂,即可完成CNT改性。由于在CNT表面接枝的是聚合物基体本身,因此改性CNT与基体相容性极佳。

标签:
复合材料
河南 - 洛阳 来源:北方有色网 2023-03-18
改性蒙脱石包覆聚酯纤维复合材料

本发明涉及一种改性蒙脱石包覆聚酯纤维复合材料,以聚酯纤维为基体材料,将蒙脱石用Na2CO3溶液处理,得到钠基蒙脱石,以四甲基溴化铵为插层剂,对钠基蒙脱石进行有机改性,将该改性后的蒙脱石通过Layer-by-Layer(LbL)自组装法对基体材料表面进行包覆,在其表面形成一层致密的防护层,提高了聚酯纤维材料的耐高温性和机械性能。该材料用于变频电机的绕组绝缘和主绝缘材料,可有效提高电机的耐热温度和机械强度,提高变频电机的可靠性,并延长其使用寿命。

标签:
复合材料
河南 - 洛阳 来源:北方有色网 2023-03-18
用于复合材料风电叶片阶梯法修补打磨装置

本实用新型公开了一种用于复合材料风电叶片阶梯法修补打磨装置,主要是由调节架(1、2)、紧固螺丝(3)、电源开关(4)、电动机(5)、圆柱型砂轮(6)、旋转轴(7)、主框架(8)、操作手柄(9)构成;其中调节架(1、2)设定打磨风电叶片阶梯所需的深度,主框架(8)上的操作手柄(9)控制打磨的方向,打磨装置采用的打磨用砂轮是圆柱型砂轮(6)。采用本实用新型所提出的打磨装置进行阶梯打磨,打磨深度可以准确调节控制,避免了每层打磨过多或过少、阶梯不明显、边界波浪线等问题,满足风电叶片修补中所需的阶梯状要求,降低了工人操作强度,提高修补质量。

标签:
复合材料
河南 - 洛阳 来源:北方有色网 2023-03-18
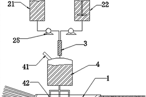
复合材料手机盖板生产用打磨装置

本实用新型公开了一种复合材料手机盖板生产用打磨装置,包括打磨台、盖板,所述打磨台上设有两个挡块,用于挡住盖板相邻的两侧边,打磨台其中两侧边上设有打磨装置,用于对盖板未被挡住的两侧边进行打磨;所述打磨台内设有空槽,空槽底部设有升降电机,升降电机的端部设有用于固定旋转电机的固定座,所述旋转电机的输出端设有固定盘,固定盘内为中空,其上部中心处设有抽气吸盘,下部设有通气孔,以及所述打磨装置包括固定安装在打磨台侧边的两根固定杆和一根丝杠,固定杆和丝杠的端部设有固定板,中部设有移动块;本实用新型解决了现有的手机盖板打磨装置打磨效率低,更换打磨边较为繁琐的问题。

标签:
复合材料
河南 - 洛阳 来源:北方有色网 2023-03-18
用于海岛防护的金属/块石复合材料预制件

本发明涉及一种用于海岛防护的金属/块石复合材料预制件,包括:本体,长方体型的本体外部包覆有氟碳漆保护层,氟碳漆保护层的外部包覆有砂浆保护层,所述的本体由金属基箱格和块石构成,块石通过粘接材料层固定安装在金属基箱格中,所述的金属基箱格整体是由若干单元格组成的上下两层的长方体箱格结构,所述的单元格整体为一端开口的箱式结构,金属基箱格上层的单元格开口均向上,下层的单元格开口均向下,每个单元格内均设置有块石,所述的块石其外形大小与所处单元格的内腔相配合,块石与单元格的每个侧壁之间均通过粘接材料层固连。本预制件适用于海岛等特定区域的防护工程,综合成本低,具有现场施工简单、快捷的优点。

标签:
复合材料
河南 - 洛阳 来源:北方有色网 2023-03-18
无边框复合材料手机背板裁切模具

本实用新型公开了一种无边框复合材料手机背板裁切模具,包括固定块,所述固定块的内部开设通孔,所述固定块的上方固定安装第一滑槽,所述第一滑槽滑动连接第一滑块,所述第一滑块的顶端开设螺纹孔,所述第一滑块的一侧固定安装塑料切片刀,所述第一滑块的一侧固定安装横板,所述横板上开设圆孔,所述横板的底部固定连接竖杆,所述竖杆固定连接矩形块,所述矩形块滑动连接滑轨,所述矩形块的一侧固定安装凹槽块,所述凹槽块内的底部固定安装第二滑槽,所述第二滑槽滑动连接第二滑块,所述第二滑块的上方固定安装竖板,所述竖板的一侧固定安装第一磁铁。该装置不仅可以方便的调整切割厚度,还可以很方便的对塑料切刀片进行更换和安装。

标签:
复合材料
河南 - 洛阳 来源:北方有色网 2023-03-18
立磨机金属基陶瓷复合材料磨辊的制备方法

一种立磨机金属基陶瓷复合材料磨辊的制备方法,磨辊基体上套设有由高铬合金衬板和金属基陶瓷增强体料制成的陶瓷衬板组成的辊套,金属基陶瓷增强体料由10-40%刚玉和60-90%铁粉组成,高铬合金衬板与陶瓷衬板、辊套与磨辊基体之间通过钢液浇铸固结为一体;磨辊的制备方法包括:上述刚玉和铁粉混合烧至铁粉完全熔化时,将其放入模具中制得陶瓷衬板,将陶瓷衬板置于高铬合金衬板的凹槽中,浇铸钢水制成辊套,将辊套套设在磨辊基体上后浇铸钢水,使辊套与磨辊基体固结为一体。本发明中,钢水可浸润到陶瓷衬板中的陶瓷颗粒之间,将陶瓷颗粒包裹其中,能够使陶瓷相和金属相均匀分布,降低烧制后残留的孔隙度,具有高耐磨性。

标签:
复合材料
河南 - 洛阳 来源:北方有色网 2023-03-18
滤清高分子复合材料、及其制备方法

本发明提供一种滤清高分子复合材料,特别涉及一种生理气体净化用过滤材料、及其制备方法。设计采用以桑皮纤维、橘皮素晶,和麦饭石粉、麦芽糊精、三乙烯四胺中温交联剂,经依次粉碎研磨、低温均质化处理后、机制成型成型;本发明制得的一种生理气体净化用过滤材料透气性好,耐热性强,能快速过滤空气中粉尘,吸附空气中的有害气体,抑制杀灭空气中的有害微生物,同时释放负离子使空气更加洁净,达到显著的净化效果。

标签:
复合材料
河南 - 洛阳 来源:北方有色网 2023-03-18
地铁用复合材料疏散平台

本实用新型属于护栏技术领域,涉及的一种地铁用复合材料疏散平台,疏散平台其台面与横梁(5)连接并由横梁(5)对其支撑,所述的疏散平台的台面通过所述横梁(5)的一端铰链连接在隧道壁(1)上,所述横梁(5)的另一端连接在立柱(8)上,由垂直固定在道床(9)上的立柱对横梁、疏散平台的台面形成支撑,构成简支梁结构的横梁受力结构。本实用新型解决了横梁受力不合理的问题,提高了疏散平台的安全性;将横梁与隧道壁之间的受力转化为弯曲受力,充分利用了拉挤玻璃钢弯曲强度高的特点。

标签:
复合材料
河南 - 洛阳 来源:北方有色网 2023-03-18
石墨烯基PEI-mGO/CMC/PVA三维复合材料的制备方法

本发明涉及石墨烯基双网络凝胶吸附材料领域,具体涉及一种染料吸附用石墨烯基双网络PEI‑GO/SA复合材料的制备方法,以PEI‑mGO、CMC、PVA为前驱体,将PEI‑mGO分散液滴加至CMC和PVA混合溶液中,搅拌2~4h,以冷冻‑解冻法处理,除去溶剂水,得到PEI‑mGO/CMC/PVA三维气凝胶。通过该方法制备的吸附材料对废水中亚甲基蓝的吸附速率快且去除率可达到90%以上,吸附后容易从水中分离,且主要材料无毒性,不会产生二次污染。

标签:
复合材料
河南 - 洛阳 来源:北方有色网 2023-03-18
便携式纤维增强复合材料制备装置及其使用方法

本发明提供了一种便携式纤维增强复合材料制备装置及其使用方法,固定支撑板与可移动支撑板两个侧面相对,在固定支撑板与可移动支撑板相对的侧面上设有均布的螺纹孔,且固定支撑板与可移动支撑板上所有螺纹孔位置均两两对应,每个拉环带有螺纹,拉环分别通过固定支撑板和可移动支撑板上的螺纹固定,拉环两两相对的一端设有开口,用于缠绕纤维材料。本发明结构简单,制造成本低廉,对操作人员操作技能要求低,容易上手,可以根据要求根据不同规格加工,电磁感应器应能精确控制它的灵敏度及测力范围,减小装置带来的误差,装置使材料成型后内力分布更加均匀,提高材料的力学性能。

标签:
复合材料
河南 - 洛阳 来源:北方有色网 2023-03-18
超疏水复合涂层的制备方法及超疏水复合材料

本发明涉及一种超疏水复合涂层的制备方法及超疏水复合材料。该超疏水复合涂层的制备方法包括以下步骤:1)在基底上涂覆胶粘剂涂覆液,至少部分地固化所述胶粘剂涂覆液后,在基底上形成预固化层;2)浸渍提拉法制膜:将步骤1)所得预固化层浸渍在疏水纳米粒子分散液中,提拉制膜,再经干燥,即得。本发明提供的超疏水复合涂层的制备方法,首先以胶粘剂涂覆液制备预固化层,然后通过浸渍提拉法制膜;与传统喷涂法相比,其有利于形成更加规整的微纳复合结构,从而有利于提高涂层表面的疏水性、均匀性和稳定性。

标签:
复合材料
河南 - 洛阳 来源:北方有色网 2023-03-18
玄武岩纤维增强复合材料及其制备方法

一种玄武岩纤维增强复合材料,含有基体层、耐候胶衣层、耐候性达科伦树脂成分;上述基体层为环氧玻璃钢材料,上述耐候胶衣层的厚度为100‑600μm,上述耐候性达科伦树脂的厚度为28‑38μm。在较宽的温度范围内具有优良的物理机械性能,电绝缘性优良,在高温高频下,其电性能仍较好,抗蠕变性,耐疲劳性,耐摩擦性、尺寸稳定性。

标签:
复合材料
河南 - 洛阳 来源:北方有色网 2023-03-18
用于制备单质二维材料及复合材料的坩埚

一种用于制备单质二维材料及复合材料的坩埚,涉及新材料制备技术领域,本实用新型通过在坩埚本体(4)的下面设置气体分配盒(9),气体分配盒上的排气孔连接设置在坩埚本体底部的通气孔(7),使气体分配盒不处于金属溶液内,有效的防止气体在气体分配盒内发生裂解产生石墨烯或其它单质碳等,进一步,提了提高冷却效果,将气体分配盒置于冷却机构内,然后往冷却机构内通入冷却气体对气体分配盒进行冷却,可以更好的对气体分配盒进行冷却,防止气体在气体分配盒内发生裂解产生石墨烯或其它单质碳等,同时还可以防止堵塞通气孔的现象,本实用新型具有结构简单,使用效果好等特点,适合大范围的推广和应用。

标签:
复合材料
河南 - 洛阳 来源:北方有色网 2023-03-18
天然石墨复合材料及其制备方法

本发明提供了一种天然石墨复合材料及其制备方法,包括以下制备步骤:将各向同性焦粉碎中产生的微粉尾料进行石墨化处理,除磁筛分得到物料一;将天然石墨与物料一、粘结剂混合机中混合,得物料二;将物料二在机械融合机中处理,得物料三;将物料三在温度为500~1300℃的条件下热处理1~5h,除磁筛分得到成品,本专利基于各向同性焦粉包覆改性剂相较于天然石墨具有更低的石墨化度,更大的层间距,可有效提升材料的快充性能。

标签:
复合材料
河南 - 洛阳 来源:北方有色网 2023-03-18
复合材料高压储氢气瓶应力过载监控系统

一种复合材料高压储氢气瓶应力过载监控系统,基于光纤光栅对气瓶在使用过程中的应力状态进行监控,并对应力过载进行现场声音报警。

标签:
复合材料
河南 - 洛阳 来源:北方有色网 2023-03-18
用于夹心复合材料的泡沫芯材的成型工装

一种用于夹心复合材料的泡沫芯材的成型工装,通过高度可调的隔板、可拆卸的盖板与矩形壳体配合围成与泡沫芯材的外形尺寸相匹配的成型腔,成型腔的内部设有槽孔成型组件,槽孔成型组件为圆棒、矩形凸台和矩形平板的其中一种或多种,槽孔成型组件的尺寸形状和安装位置与泡沫芯材上的槽和孔相对应,因此只需将发泡原料灌入成型腔并凝固,再将槽孔成型组件从泡沫芯材内拆除,就会在泡沫芯材上直接产生所需的槽和孔,将泡沫芯材上的孔和槽一次成型,大幅提升了泡沫芯材的生产效率,避免了在机械加工时从泡沫芯材上去除部分材料,使得泡沫芯材的发泡原料全部成为泡沫芯材的一部分而不会被后续加工舍弃,有效地降低材料生产成本。

标签:
复合材料
河南 - 洛阳 来源:北方有色网 2023-03-18
上一页 6 7 8 9 10 ... 22 下一页
共22页    到第

北方有色为您提供最新的河南洛阳有色金属复合材料技术理论与应用信息,涵盖发明专利、权利要求、说明书、技术领域、背景技术、实用新型内容及具体实施方式等有色技术内容。打造最具专业性的有色金属技术理论与应用平台!

全国热门有色金属设备推荐
展开更多 +
全国热门有色金属技术推荐
展开更多 +

 

江西省隆恩特环保设备有限公司
宣传

报名参会
更多+

报告下载

有色专家
更多+

太原理工大学
院长/教授
郑州大学
校长/党委书记
北京科技大学
主任/教授
北京科技大学
副院长/教授
有研资源环境技术研究院(北京)有限公司
副总经理/教授级高工
赤泥综合利用研究报告2025
推广

热门技术
更多+

推荐企业
更多+

福建省金龙稀土股份有限公司
宣传

发布

在线客服

公众号

电话

顶部
咨询电话:
010-88793500-807