青岛垚鑫智能科技有限公司
宣传

位置:中冶有色 >

有色技术频道 >

> 固/危废处置技术

分类:
全部
矿山技术
冶金技术
材料制备及加工技术
环境保护技术
分析检测技术
 
全部
废水处理技术
大气治理技术
固/危废处置技术
土壤修复技术
地区:
全部
北京
天津
上海
重庆
河北
山西
辽宁
吉林
黑龙江
江苏
浙江
安徽
福建
江西
山东
河南
湖北
湖南
广东
海南
四川
贵州
云南
陕西
甘肃
青海
内蒙
广西
西藏
宁夏
新疆
其他
其他
展开
 
全部
南京
无锡
徐州
常州
苏州
南通
连云港
淮安
盐城
扬州
镇江
泰州
宿迁

江苏南京有色金属固/危废处置技术理论与应用

免费发布技术信息>>
聚谷氨酸生物炭基有机肥的制备方法

本发明公开了一种聚谷氨酸生物炭基有机肥的制备方法,选择枸杞枝条为主要原料制备生物炭,直接以农业固体有机废弃物为原料经固体发酵生产含聚谷氨酸的有机肥,与生物炭复混得到含聚谷氨酸的生物炭基有机肥,在解决农业废弃物环境污染的同时将其资源化利用,兼具环境和经济效益。本发明方法制备的复合有机肥料能够促进作物养分吸收、改善土壤理化性质、提高肥料利用率。

标签:
固废
江苏 - 南京 来源:中冶有色网 2023-03-19
粉煤灰基定型熔盐复合相变储热材料及其制备方法和用途

本发明属于复合相变储热材料和固体废弃物资源化利用领域,具体涉及一种粉煤灰基定型熔盐复合相变储热材料及其制备方法和用途,包括:(1)将粉煤灰和熔盐进行混合,得到复合材料混合粉末;(2)将所述复合材料混合粉末压制成型得到复合材料坯体;(3)将所述复合材料坯体烧结得到所述粉煤灰基定型熔盐复合相变储热材料。本发明以大宗工业固体废弃物粉煤灰作为熔盐复合材料的基体,无需对粉煤灰进行改性处理,经过混合‑压制‑烧结工艺制备得到粉煤灰基定型熔盐复合相变储热材料,相变温度为200‑500℃,以粉煤灰作为基体不仅可以降低储热材料的生产成本,还可以提高资源利用率,尤其适用于太阳能、工业余热回收等中高温应用领域。

标签:
固废
江苏 - 南京 来源:中冶有色网 2023-03-19
牛粪裂解制气工艺
牛粪裂解制气工艺 850     
 0

一种牛粪裂解制气工艺,包括如下步骤:(1)将牛 粪脱水干燥;(2)将脱水干燥后的牛粪与秸秆、稻壳按下述重量 比混合:牛粪:60~80%、秸秆:10~20%、稻壳:10~20%; (3)将混合物送入裂解炉裂解;4)将产生的可燃气体进行冷却; (5)将冷却后的气体进行除尘,去除杂质;(6)去除焦油,即制得 所需气体。本发明用于处理牛粪,不仅可以将牛粪进行有效的 处理,而且将能源得到了充分利用,牛粪经过本发明工艺处理 后每吨干牛粪可产生1000m3可 燃气体,废弃物极少,且均为固体物,体积小,是一种环保型 处理工艺。产生的可燃气体即可直接燃烧,也可用于发电。

标签:
固废
江苏 - 南京 来源:中冶有色网 2023-03-19
矿物复合粉助磨剂
矿物复合粉助磨剂 984     
 0

本发明公开了矿物复合粉助磨剂,涉及工业固体废弃物和城市建筑垃圾处理领域;为了提升活性物质活性;按重量份计,具体包括:水8~13份、三乙醇胺46~56份、二化乙胺18~23份、助磨料13~18份、促进耦合剂4~6份;所述矿物复合粉助磨剂在制备时,将二化乙胺匀速滴入水、三乙醇胺、和助磨料的混合物中,滴加时间控制在1h内,所述矿物复合粉助磨剂在制备时,将促进耦合剂匀速滴入水、三乙醇胺、和助磨料的混合物中,滴加时间控制在2h内。本发明提出的矿物复合粉助磨剂,主要应用于工业固体废弃物和城市建筑垃圾处理等领域,在进行研磨时,能够起到提升活性物质活性的效果,从而保障整体的处理效果。

标签:
固废
江苏 - 南京 来源:中冶有色网 2023-03-19
微生物固化稳定生活垃圾焚烧飞灰的方法

一种微生物固化稳定生活垃圾焚烧飞灰的方法,属于危险固体废弃物处置的技术领域,用于解决城市生活垃圾焚烧飞灰的无害化处置问题,该方法将垃圾焚烧飞灰与菌液按照重量比1∶0.5~0.7拌合、静置后,再与由天氡酰胺与CaCl2加水混合制成的反应液混合成飞灰混合料1,装入底部透水的模具2,在其顶部施加10~100kPa空气压力(3),2~4h后卸除空气压力(3),静置12h~24h,利用微生物产生的生物酶水解天氡酰胺诱导产生碳酸钙和重金属碳酸盐矿化物,固定垃圾焚烧飞灰中的有害物质并形成强度,固化过程中的渗出液经收集处理后循环利用,减少氨排放,实现生活垃圾焚烧飞灰的固化和稳定化。

标签:
固废
江苏 - 南京 来源:中冶有色网 2023-03-19
斜板催化反应塔
斜板催化反应塔 1120     
 0

本发明提供了一种斜板催化反应塔,包括底座,底座上设置有反应塔主体,反应塔主体由自下而上的塔底、填料层、塔顶组成;塔底的底部设置有塔底封头,塔底封头连接有排空/排泥阀门,塔底的侧壁设置有臭氧水进水口、废水进水口;填料层内填充有催化剂固体填料;塔顶设置有塔顶封头,塔顶的侧壁设置有废水出水口。本发明的结构简单、成本低、易于操作管理、适用于污水处理的斜板催化反应塔,利用塔内的特殊结构和填充的惰性贵金属催化剂固体填料,催化氧化臭氧产生羟基自由基来氧化降解污水中的易氧化物质,达到消除有机物污染和臭味的目的。能结合臭氧技术应用在大规模污水处理领域。

标签:
固废
江苏 - 南京 来源:中冶有色网 2023-03-19
基于污泥-秸秆-原煤的生物质燃料及其制备方法和燃料炉渣的应用

本发明公开了基于污泥-秸秆-原煤的生物质燃料及其制备方法和燃料炉渣的应用,属于固体废弃物的资源化利用领域。本发明以污泥、秸秆和原煤混合压制成型,污泥、秸秆、原煤的质量比为1~3∶1~3∶3。其步骤为:向采用铝盐混凝剂应用后的脱水污泥中添加生石灰石,其中生石灰石占污泥的质量百分比为1~3%;将污泥和秸秆混合,进行好氧堆肥;将原煤与污泥-秸秆混合物进行混合,经压制成型,即得到生物质燃料。本发明焚烧后炉渣最大吸附量超过25g/kg,可作为人工湿地等填料的替代品。本发明对原料可以快速脱水,并可钝化重金属,且可降低原煤燃烧SO2的释放,生物质燃料焚烧炉渣具有高Ca、Al和Fe含量对磷强吸附性能,可作为污水处理过程中的除磷剂使用。

标签:
固废
江苏 - 南京 来源:中冶有色网 2023-03-19
低浓度VOCs吸附-原位变温催化臭氧氧化处理系统

本实用新型公开了一种低浓度VOCs吸附‑原位变温催化臭氧氧化处理系统,属于有机废气治理领域。该方法是将低浓度VOCs的废气通入吸附床进行富集,富集过程中还包含了低温再生过程和高温再生过程,利用具有高吸附能力和催化臭氧氧化VOCs能力的双功能材料对低浓度VOCs废气进行吸附‑原位变温催化臭氧氧化再生,吸附过程VOCs去除率高,原位再生过程VOCs降解彻底,不产生固体废物,无二次污染,无需更换吸附剂。

标签:
固废
江苏 - 南京 来源:中冶有色网 2023-03-19
节能高效垃圾协同处置回转窑装置

本实用新型公开了一种节能高效垃圾协同处置回转窑装置,其结构包括,包括垃圾焚烧炉本体、垃圾入口、出灰口、出烟口,为解决现有的垃圾成分和热值波动较大,经常存在温度偏低现象,从而出现二嗯英类有害成分污染环境的问题,通过在出烟口的顶部设置了气固分离装置,由导烟管导入燃烧产生的废气,再由热风导管导入高温气体,通过旋风筒导入后形成旋转的气流,带动废气做离心运动,同时对废气进行预加热,废气做离心运动过程中将含有二嗯英类、硫和硝的固体小颗粒旋转到筒体内壁上,使小颗粒沿着导烟管导入集料管内,排入固定筒内导入回转窑内经过高温烧制成水泥熟料,达到充分燃烧、彻底分解有毒有害物质,避免二嚷英的形成的效果。

标签:
固废
江苏 - 南京 来源:中冶有色网 2023-03-19
带有水洗功能的餐厨垃圾处理机

本申请公开了一种带有水洗功能的餐厨垃圾处理机。该带有水洗功能的餐厨垃圾处理机包括生化仓、油水分离装置、废气处理仓和污水处理仓,所述生化仓的内部设置有搅拌装置,所述生化仓的外部设置有驱动所述搅拌装置工作的电机,所述搅拌装置与所述电机的输出轴连接,所述生化仓上设置有入料口、油水排出口和废气排出口,所述生化仓的油水排出口与油水分离装置的进液口连接,所述生化仓的废气排出口与废气处理仓的进气口连接,所述生化仓内设置有多个发酵菌种喷头和多个自来水喷头,所述多个自来水喷头上设置有加热套管,所述多个自来水喷头对准所述搅拌装置。本申请解决了餐厨垃圾处理设备占地面积大、无法将油液与固体残渣进行分离的技术问题。

标签:
固废
江苏 - 南京 来源:中冶有色网 2023-03-19
草甘膦母液资源化回收利用的处理工艺

本发明涉及一种草甘膦母液资源化回收利用的处理工艺,其具体步骤为:草甘膦母液先经预处理后进入膜组合技术进行草甘膦的分离提浓回收,膜过滤后浓液回至草甘膦生产过程中的结晶工段,有效地回收利用了草甘膦资源,淡液进行高效吸附处理,进一步回收利用草甘膦,吸附处理后的溶液经高效催化氧化处理,以回收纯度较高的氯化钠资源。本发明实现了母液中草甘膦最大程度的回收资源化利用及氯化钠的有效分离与资源化回用,工艺经济、高效,系统稳定性好,安全性高,易操作,便于工业化放大等,解决了因施用高含氯化钠水剂造成土壤盐碱化及氯化钠固体废物处理处置及污染环境的问题,有效地回收利用了草甘膦母液中的草甘膦与氯化钠资源。

标签:
固废
江苏 - 南京 来源:中冶有色网 2023-03-19
磁性生物炭的制备方法及应用

本发明提供一种磁性生物炭的制备方法,包括如下步骤:将生物秸秆破碎,过筛后清洗干净并烘干;将废铁屑清洗后,加入酸进行溶解,得到反应液;将烘干后的生物秸秆加入所述反应液中,充分搅拌后进行水热反应,将反应后的产物过筛,得到固体产物;将所述固体产物采用有机溶液洗涤数次后烘干,得到磁性生物炭。本发明使用秸秆和废铁屑制备磁性生物炭,解决了外源添加物制作成本高、易失活、易流失的问题,同时能较好提升厌氧效果。

标签:
固废
江苏 - 南京 来源:中冶有色网 2023-03-19
γ射线屏蔽复合材料及其制备方法

一种γ射线屏蔽复合材料及其制备方法,以重量份计,原料配方包括以下原料:水150~190份、粗骨料1100~1700份、细骨料740~850份、胶凝材料350~640份、减水剂2.1~8.0份、钢纤维30~75份、废铁粉50~100份;其中,所述的粗骨料为钢渣,所述的细骨料为干馏油页岩渣和粉煤灰的混合物,所述的胶凝材料为水泥和干馏油页岩渣的混合物。本发明以钢渣、干馏油页岩渣、粉煤灰和废铁粉这些固体废弃物为原料,不仅对工业废渣回收再利用有着重要意义,还可以解决天然骨料面临日渐枯竭的问题。

标签:
固废
江苏 - 南京 来源:中冶有色网 2023-03-19
早强复合硅酸盐水泥
早强复合硅酸盐水泥 1132     
 0

本发明公开了一种利用废旧玻璃为主要原料制备复合硅酸盐水泥的方法,该复合硅酸盐水泥的配方为:废旧玻璃20~50%,水泥熟料30~60%,石膏2~6%,其他混合材料5~15%,所述比例为质量比。将物料混合均匀后粉磨至80μm筛余量为3~5%,即为该新型复合硅酸盐水泥。本发明工艺简单,成本低,特别适用于难于重新利用的废旧玻璃,有效的保护了环境,推动了固体废弃物的资源化,具有明显的经济效益、环境效益和社会效益。

标签:
固废
江苏 - 南京 来源:中冶有色网 2023-03-19
低浓度VOCs吸附-原位变温催化臭氧氧化处理方法

本发明公开了一种低浓度VOCs吸附‑原位变温催化臭氧氧化处理方法,属于有机废气治理领域。该方法是将低浓度VOCs的废气通入吸附床进行富集,富集过程中还包含了低温再生过程和高温再生过程,利用具有高吸附能力和催化臭氧氧化VOCs能力的双功能材料对低浓度VOCs废气进行吸附‑原位变温催化臭氧氧化再生,吸附过程VOCs去除率高,原位再生过程VOCs降解彻底,不产生固体废物,无二次污染,无需更换吸附剂。

标签:
固废
江苏 - 南京 来源:中冶有色网 2023-03-19
烟气湿法脱硫石膏脱水方法

本发明涉及烟气湿法脱硫石膏脱水方法,用石灰石浆液喷淋吸收烟气中的硫并被空气氧化成石膏,用料浆泵从吸收塔抽出石膏浆,大部分为返流液,小部分送入石膏旋流器,石膏旋流器顶流液一部分为返流液,另一部分送入废水旋流器,石膏旋流器底流浓缩物入真空皮带脱水器脱水得固体石膏;废水旋流器的顶流送废水处理系统;将真空皮带脱水器的滤液、废水旋流器的底流浆液与吸收塔抽出的石膏浆返流液、旋流器顶流返流液一并汇入集流管,通过集流管通入地沟,由地沟通入地坑内,通过地坑泵输送返回吸收塔回收作喷淋浆液。本方法避免了施工设计过程出现的U型弯设计,从而从源头彻底解决了影响旋流器的出力不足的问题、系统管线的堵塞问题和冬季冻结问题。

标签:
固废
江苏 - 南京 来源:中冶有色网 2023-03-19
再生硬化水泥浆体胶凝材料及其制备方法

本发明提供一种再生硬化水泥浆体胶凝材料及其制备方法,该胶凝材料按质量份计含有以下成分:废弃硬化水泥浆体60~80份、粒化高炉矿渣粉8~40份、粉煤灰5~20份、氢氧化钠1.5~5份、水玻璃5~14份、磷酸钠0.5~2份、减水剂0.5~1.5份和水25~40份;所述水玻璃的质量份以水玻璃中的固体含量计,所述水包含水玻璃中带有的液态水。本发明的再生硬化水泥浆体胶凝材料,可大量利用废弃混凝土或废弃砂浆中的硬化水泥浆体,既能节约资源,有利于生态环境保护,又可减少废弃混凝土填埋对土地的占用;制备方法简单、能耗低、凝结快、强度高、耐蚀性好,其组成与性能灵活可调,特别适用于处于侵蚀介质环境的工程。

标签:
固废
江苏 - 南京 来源:中冶有色网 2023-03-19
金属切削加工切削液的回收处理方法

本发明提出一种金属切削加工切削液的回收处理方法,包括步骤:将废液进行水油分离处理,收集分离的油相液体;对剩余的水相液体进行初次过滤,去除废液中的固体杂质;将过滤后的液体送入漩涡分离器,通过漩涡分离将水相液体中初次过滤未滤除的细小颗粒分离出来,得到清液;调节清液的PH值为7‑8,并将调节PH值后的清液进行加温处理;向处理后的清液中加入混凝药剂,使清液中的悬浮颗粒发生凝絮作用,形成凝絮物体;对含凝絮物体的混合液进行反渗透膜过滤,得到清液和浓液,将浓液收集后烘干并与之前得到的杂质一起压成污泥饼,将清液直接排放。本发明可快速实现切削废液的处理,回收其中的有效切削液,去除废液中的高有机物和难降解的物质。

标签:
固废
江苏 - 南京 来源:中冶有色网 2023-03-19
CaO-生物炭脱氧催化剂及其催化油脂类化合物制备液体燃料的方法

本发明公开了一种CaO‑生物炭脱氧催化剂,催化剂包括以下组分:CaO、生物炭载体,所述CaO‑生物炭催化剂是由Ca盐与有机材料混合后在惰性气体氛围下热解制得的。本发明CaO‑生物炭脱氧催化剂制备方法操作简单,集多步操作于一步,载体的合成、金属的负载可同时进行,实现农业或城市固体废物、食品废物、动物废物、碳水化合物等有机材料的资源化利用。本发明还公开了CaO‑生物炭脱氧催化剂催化油脂类化合物制备高品质液体燃料的方法,该方法以油脂类化合物为原料,以CaO‑生物炭脱氧催化剂为催化剂,在惰性气体氛围下进行催化提质,收集液体产物即为高品质液体燃料,实现废弃资源化再利用。

标签:
固废
江苏 - 南京 来源:中冶有色网 2023-03-19
配备自动紧急卸料的垃圾处理装置

本实用新型公开了一种配备自动紧急卸料的垃圾处理装置,包括用于输出固体垃圾的紧急卸料系统、用于发酵固体垃圾的耗氧发酵系统和用于处理耗氧发酵系统排出的气体的废气处理装置,预处理系统的液体出口连通废水处理系统,预处理系统的固体出口连通紧急卸料系统,紧急卸料系统的出料口连通耗氧发酵系统的进料口,紧急卸料系统安装在耗氧发酵系统的进料口处。控制器接收到耗氧发酵系统的料位饱信号或者耗氧发酵系统的搅拌机停止转动故障信号,给出驱动电机工作信号和带式输送机二的工作信号,驱动电机工作带动带式输送机二移动到传输管道中将传输管道封堵,输送机二转动将落料送至临时出料口,无需耗费人工清理预处理系统和输送机一。

标签:
固废
江苏 - 南京 来源:中冶有色网 2023-03-19
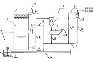
制酸设备
制酸设备 1028     
 0

本实用新型提供一种制酸设备,利用脱硫废液及硫膏或硫泡沫制取浓硫酸,能减少稀硫酸的生成量。本实施例的制酸设备,包括固液分离装置、焚烧炉、冷却装置、浓缩塔和制酸装置,固液分离装置的固体出口与焚烧炉的进料口连接,固液分离装置的液体出口与浓缩塔的进口连接,浓缩塔的出口与焚烧炉的进料口连接,焚烧炉的出气口与冷却装置的进口连接,冷却装置的出口与制酸装置的进口连接。本实施例的制酸设备,经固液分离装置将脱硫废液及硫膏或硫泡沫进行固液分离,得到固体原料和液体原料,液体原料经浓缩塔进行浓缩得到浓缩原料,固体原料和浓缩原料分别同时进入焚烧炉焚烧,大大减少了原料中带入焚烧炉的水的量,进而减少了后续净化工段稀硫酸的生成量,使产生的稀硫酸可以在焦化系统内部完全消耗,而不用增加污水装置处理的负担。

标签:
固废
江苏 - 南京 来源:中冶有色网 2023-03-19
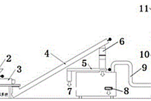
气固型螺杆式热分离机

一种螺杆式热分离机,包括密封机壳、进料装置、分离装置、固体输出装置、加热装置和装在机壳顶部的集气罩,所述分离装置为螺杆搅拌推进式分离装置,进料装置为螺杆推进物料自密封式进料装置,固体输出装置为螺杆推进固体自密封式输出装置,具有密封性能好,热效率高,机内温度较高,产生有一定的正压,使分离的气体能自动从集气罩输出到焚烧炉内焚烧或作其它处理,同时还具有结构简单、分离效果好、运行可靠和操作方便等优点,特别适用于对工业或医疗等危险废物进行气、固分离,是危险废物综合处理系统中的一种重要的配套设备。

标签:
固废
江苏 - 南京 来源:中冶有色网 2023-03-19
采用管式微滤膜的氢氟酸回收处理系统

本实用新型涉一种采用管式微滤膜的氢氟酸回收处理系统,包括调节处理废水槽、浓缩槽、管式膜组件、过滤水槽、污泥贮槽和板框压滤机;所述调节处理废水槽与原水进水口连通,调节处理废水槽的出水口与浓缩槽的入水口连通;浓缩槽的出水口与管式膜组件的进水口端连通;氢氟酸废液经调解处理通过溢流的方式通入浓缩槽,用循环泵输送到管式膜组件进行固液分离。此时大流量的废液在浓缩槽和管式膜组件之间循环,而透过管式膜组件渗出的氢氟酸通过滤水出口端流出,直接回用。此工艺中管式膜组件取代了传统的沉淀池和过滤设备,不再需要沉淀和预过滤,就可直接进行过滤实现固体颗粒和液体的分离。

标签:
固废
江苏 - 南京 来源:中冶有色网 2023-03-19
气体回收装置
气体回收装置 916     
 0

本实用新型公开了一种气体回收装置,包括分离机构,分离机构的左右两端均装配有连接管,固定管的内表面上下两端分别插接有插板,插板均向右倾斜45°,本实用新型设置了一种带有分离机构和连接管的气体回收装置的中部拦截设备,在使用时,通过内部具有冷却管的插板,连接至外部的制冷机,碳带的烘干设备排放出的废气首先经过右侧的连接管,随后经过上方的插板后,在经过左侧下方的插板,最后经过最左侧的插板后进入到废气处理设备,在这个过程中,废气中的蜡蒸汽和固体颗粒废料会被插板冷却捕获,降低后部处理设备的负担,有效的解决了现有的碳带烘干设备的废气内部含有大量的蜡质蒸汽所带来的容易堵塞尾气过滤处理设备的问题。

标签:
固废
江苏 - 南京 来源:中冶有色网 2023-03-19
高浓度固液物料分离浓缩管式膜系统

本实用新型公开了一种高浓度固液物料分离浓缩管式膜系统,它包括:废水均质槽(1),提升泵(2),第一废水浓缩槽(3),第一增压泵(4),管式微滤膜(5),产水槽(6),第一废水浓缩槽(3)的浓缩液出水口与第二废水浓缩槽(7)相连,第二废水浓缩槽(7)与板框压滤机(8)相连。该高浓度固液物料分离浓缩管式膜系统,结构设计合理,设备成套性好、占地空间小,自动化程度高,固液分离效率快,使用寿命更长,尤其选用管式微滤膜,以湍流错流过滤以及大通道膜管可以处理重量比高达5%的高固体含量的液体,不需要投加任何絮凝剂等聚合物,处理后可达到排放或回用要求,可以实现资源的再利用,对环境保护和资源再利用具有重要意义。

标签:
固废
江苏 - 南京 来源:中冶有色网 2023-03-19
智能化厨余垃圾处理设备系统

本实用新型公开了一种智能化厨余垃圾处理设备系统,它包括垃圾处理房,所述垃圾处理房内通过隔断板分隔成设备功能间、工具功能间、油水储藏间和有机物储藏间,所述设备功能间内包括能够自动倒料的提升机,粉碎装置,挤压桶,废料回收仓,油水分离器和废水处理装置,所述废水处理装置包括水解酸化池,IC反应器,缺氧池,一次接触氧化池,二次接触氧化池,二沉池和消毒池,所述垃圾处理房的外表面铺设有若干太阳能光伏板。本实用新型可以将厨余垃圾中的固体垃圾和液态垃圾进行有效的分类处理,并且很好的利用废物资源变废为宝,同时还确保一些电源输送困难区能按时按量处理垃圾。

标签:
固废
江苏 - 南京 来源:中冶有色网 2023-03-19
制酸系统及制酸工艺
制酸系统及制酸工艺 1072     
 0

本发明提供一种制酸系统及制酸工艺,利用脱硫废液及硫膏或硫泡沫制取浓硫酸,能减少稀硫酸的生成量。本实施例的制酸系统,包括固液分离装置、焚烧炉、冷却装置、浓缩塔和制酸装置,固液分离装置的固体出口与焚烧炉的进料口连接,固液分离装置的液体出口与浓缩塔的进口连接,浓缩塔的出口与焚烧炉的进料口连接,焚烧炉的出气口与冷却装置的进口连接,冷却装置的出口与制酸装置的进口连接。本实施例的制酸系统和制酸工艺,经固液分离装置将脱硫废液及硫膏或硫泡沫进行固液分离,得到固体原料和液体原料,液体原料经浓缩塔进行浓缩得到浓缩原料,固体原料和浓缩原料分别同时进入焚烧炉焚烧,大大减少了原料中带入焚烧炉的水的量,进而减少了后续净化工段稀硫酸的生成量,使产生的稀硫酸可以在焦化系统内部完全消耗,而不用增加污水装置处理的负担。

标签:
固废
江苏 - 南京 来源:中冶有色网 2023-03-19
污水处理装置
污水处理装置 785     
 0

一种污水处理装置,污水通入格栅池,经格栅池将固体废弃物破碎为小颗粒后通入沉沙池,沉沙池将污水中的固体颗粒物去除后流入厌氧反应池,污水通过厌氧反应池上部的污水进水口流入厌氧反应池进行厌氧硝化反应;经厌氧反应池处理的污水通过底部的涵孔流入主反应池;主反应池内设有大气泡扩散器、污泥泵和撇水器,主反应池通过加入好氧颗粒污泥进行曝气、沉淀将污水澄清,撇水器将上层清液排出,污泥泵将部分底部污泥回流至厌氧反应池,剩余部分排入污泥脱干室将污泥脱干。本发明的污水处理装置有效的处理各种有机污染污水及合理处置有机污染污水中的固体废弃物,改善污水处理装置周围环境,避免二次污染。

标签:
固废
江苏 - 南京 来源:中冶有色网 2023-03-19
利用生活垃圾焚烧灰渣污泥制备的陶粒及其制备方法

本发明公开了一种利用生活垃圾焚烧灰渣污泥制备的陶粒及其制备方法。该陶粒主要由以下质量百分数的固体原料所制成:生活垃圾焚烧灰渣污泥60%~75%,粉煤灰10~15%,粘土10%~30%,膨胀珍珠岩5~10%;除上述固体原料外,还加入占上述固体原料总质量20%~40%的水。本发明的陶粒主要由生活垃圾焚烧灰渣污泥制备而成,实现变废为宝,化废料为资源;制备的陶粒符合轻集料及其试验方法的标准要求,强度大,密度小;同时本发明的制备方法简单方便,成本低,原料来源广泛,成品周期短。

标签:
固废
江苏 - 南京 来源:中冶有色网 2023-03-19
有机垃圾处理设备
有机垃圾处理设备 1178     
 0

本实用新型属于有机垃圾处理技术领域,尤其涉及一种有机垃圾处理设备,包括依次连接的粉碎装置、固液分离装置、废水预处理装置、油水分离装置和除臭装置,所述固液分离装置的排固口连接有发酵菌发生器,所述发酵菌发生器内设置有发酵菌和吸附材料,所述固液分离装置的排液口与废水预处理装置的进液口连接,所述废水预处理装置包括废水预处理箱,所述废水预处理箱内依次设置有三道过滤机构,所述油水分离装置内设置有收油器和第一加热器。有益效果:本实用新型通过粉碎装置和固液分离装置将有机垃圾进行颗粒细小化,固体残渣和废水分离结合不同种类的菌种充分反应后制成有机肥和对环境无害水体,填补垃圾处理系统中有机垃圾处理的重要一环。

标签:
固废
江苏 - 南京 来源:中冶有色网 2023-03-19
上一页 64 65 66 67 68 ... 98 下一页
共98页    到第

中冶有色为您提供最新的江苏南京有色金属固/危废处置技术理论与应用信息,涵盖发明专利、权利要求、说明书、技术领域、背景技术、实用新型内容及具体实施方式等有色技术内容。打造最具专业性的有色金属技术理论与应用平台!

全国热门有色金属设备推荐
展开更多 +
全国热门有色金属技术推荐
展开更多 +

 

江西省隆恩特环保设备有限公司
宣传

报名参会
更多+

报告下载

有色专家
更多+

矿冶科技集团江苏北矿金属循环利用科技有限公司
书记 / 总经理
江西理工大学
教授
赣州江钨钨合金有限公司
工程师
赣州江钨钨合金有限公司
副总经理
湖南科技大学
所长/教授
赤泥综合利用研究报告2025
推广

热门技术
更多+

推荐企业
更多+

福建省金龙稀土股份有限公司
宣传

发布

在线客服

公众号

电话

顶部
咨询电话:
010-88793500-807