青岛垚鑫智能科技有限公司
宣传

位置:中冶有色 >

有色技术频道 >

分类:
全部
矿山技术
冶金技术
材料制备及加工技术
环境保护技术
分析检测技术
 
全部
功能材料技术
复合材料技术
新能源材料技术
合金材料技术
加工技术
地区:
全部
北京
天津
上海
重庆
河北
山西
辽宁
吉林
黑龙江
江苏
浙江
安徽
福建
江西
山东
河南
湖北
湖南
广东
海南
四川
贵州
云南
陕西
甘肃
青海
内蒙
广西
西藏
宁夏
新疆
其他
其他
展开
 
全部
南昌
九江
上饶
抚州
宜春
吉安
赣州
景德镇
萍乡
新余
鹰潭

江西南昌有色金属材料制备及加工技术理论与应用

免费发布技术信息>>
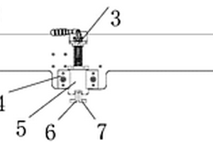
用于吊耳与复合材料舱体连接的预埋连接件

本实用新型提出了一种用于吊耳与复合材料舱体连接的预埋连接件。该连接件包括:减重孔、吊耳螺纹安装孔、连接结构上阶梯、连接结构下阶和弹射冲击区域,吊耳安装在吊耳螺纹安装孔上,连接结构上阶梯具有连接结构上阶梯下形面,连接结构下阶梯具有连接结构下台阶上形面,当吊耳承受外载荷时,外载荷传递到预埋连接件上,预埋连接件通过连接结构下台阶上形面和连接结构上阶梯下形面与复合材料舱体相挤压,传递外载荷。当导弹发射时,弹射载荷作用在预埋连接结构的弹射冲击区域上,连接结构上阶梯下形面与复合材料舱体相挤压,传递由弹射载荷而来的冲击载荷。本实用新型能实现吊耳与舱体可靠连接,并能承受吊耳式连接导弹发射时的冲击载荷。

标签:
复合材料
江西 - 南昌 来源:中冶有色网 2023-03-18
基于多臂碳纳米管的光固化电磁屏蔽复合材料的制备方法

本发明提供了一种基于多臂碳纳米管的光固化电磁屏蔽复合材料的制备方法,包括:将碳纳米管均匀分散在四氢呋喃中;向分散后的碳纳米管中加入甲基乙烯基硅树脂和硅树脂固化剂,然后再800~1000rpm的转速下搅拌,直至甲基乙烯基硅树脂完全溶解在四氢呋喃中,得到混合液;对混合液进行超声震荡,然后在65~75℃的温度下蒸发,直至四氢呋喃被完全蒸发掉,得到沉淀物;对沉淀物进行干燥处理;将干燥处理后的沉淀物进行装模,并在11~13MPa的压力,以及140~160℃的条件下硫化30~40min,最终获得光固化电磁屏蔽复合材料。根据本发明提供的方法制备出的基于多臂碳纳米管的光固化电磁屏蔽复合材料,得益于导电性能优良的多臂碳纳米管,能够减小材料的趋肤深度效应,提升了电磁屏蔽性能。

标签:
复合材料
江西 - 南昌 来源:中冶有色网 2023-03-18
通用复合材料T型截面筋条定位装置

一种通用复合材料T型截面筋条定位装置,其中,卡板安装在支座上部,支座下部安装在成型模上;卡板上设置有定位组件,每个定位组件包括活动支座、压紧器、滑动槽板、定位滑块、左均压板及右均压板,压紧器安装在活动支座上,活动支座安装在卡板上,定位滑块上部与活动支座连接,定位滑块两侧分别有用于将定位滑块固定在卡板上的滑动槽板,定位滑块底部设置有用于进行定位的左均压板与右均压板,成型模上铺设有复合材料蒙皮零件;通过在卡板上设置有多个定位组件,由定位组件配合复合材料T型筋条零件端头凹槽块确保成型过程中筋条位置不会变动,无需单独成型后再进行拼接固化,有效节省了工艺环节和工装数量,极大地提升了生产效率。

标签:
复合材料
江西 - 南昌 来源:中冶有色网 2023-03-18
激光-感应复合熔化沉积梯度长径比的CNTs增强铜基复合材料的方法

本发明公开了一种激光-感应复合熔化沉积梯度长径比的CNTs增强铜基复合材料的方法,其特征是方法步骤为:(1)采用旋转电泳的方法对碳纳米管进行筛选;(2)将筛选获得的碳纳米管按长径比呈梯度增加分别与铜合金粉末在球磨机上混合均匀;(3)采用激光-感应复合熔化沉积的方法,制备梯度长径比的CNTs增强铜基复合材料。本发明的优点是:(1)所用的碳纳米管经过旋转电泳的方法筛选获得;(2)CNTs弥散分布的铜基复合粉末经过了化学镀镍处理,提高了其抗高温氧性能以及CNTs与铜合金的润湿性能;(3)实现不同长径比的CNTs在铜基复合材料内的梯度分布;(4)显著节约贵重材料、降低制造成本与缩短制造周期。

标签:
复合材料
江西 - 南昌 来源:中冶有色网 2023-03-18
高电导率形变Cu-Fe系原位复合材料的制备方法

一种高电导率形变Cu‑Fe系原位复合材料的制备方法,其步骤如下:(1)采用惰性气氛保护对石墨烯、铁粉和铜粉等进行液氮低温球磨,使石墨烯对铁粉进行有效包覆,制备适合石墨烯Cu‑Fe系合金熔铸的混合粉;(2)采用中频感应熔炼炉熔融电解铜块,并在熔融过程中加入球磨混合粉和适量润湿剂,促使混合粉末有效分散,通过石墨模浇铸石墨烯Cu‑Fe系合金铸锭;(3)将浇铸的石墨烯Cu‑Fe系合金铸锭进行预备热处理、热轧和多道次冷拔变形;(4)对最终变形的石墨烯Cu‑Fe系原位复合材料进行时效处理,调控其电导率、强度和塑韧性,制备综合性能良好的高电导率形变Cu‑Fe系原位复合材料。

标签:
复合材料
江西 - 南昌 来源:中冶有色网 2023-03-18
陶瓷增强型复合材料义齿及其制作方法

本发明公开了一种陶瓷增强型复合材料义齿,义齿的齿冠包括内冠和外冠,内冠为PEEK基陶瓷增强型复合材料,外冠为氧化锆陶瓷材料,外冠包覆在内冠的外部,内冠与外冠通过牙科树脂粘接相连,PEEK基陶瓷增强型复合材料是以PEEK为基体,CeO2‑ZrO2为增强相的复合材料。本发明制备的内冠材料韧性好,内在延展性好,抗折强度高,抗断裂能力强,完全可以满足临床应用要求。内冠的弹性模量处于骨弹性模量的区间范围内,可有效缓冲,分担咬合冲击。内冠材料的密度小于钴铬金属和纯钛金属,对于长桥固定修复,既轻又有良好的弹性和延展性能。另外,内冠具有良好的生物相容性;CT影像检查时不产生伪影;质地非常轻,异物感极小;可采用所有常规消毒方法。

标签:
复合材料
江西 - 南昌 来源:中冶有色网 2023-03-18
石墨烯/类石墨相氮化碳/钯纳米粒子多级纳米结构复合材料的制备方法及其应用

一种石墨烯/类石墨相氮化碳/钯纳米粒子多级纳米结构复合材料的制备方法及其应用,涉及一种石墨烯的多级纳米结构复合材料的制备方法及其应用。本发明是要解决现有的目前甲醇氧化催化活性低、比表面积小的技术问题。本发明:一、制备氧化石墨烯溶液、Na2PdCl4溶液和g‑C3N4分散液;二、制备电解液;三电沉积。本发明的复合材料作为甲醇氧化催化剂。本发明的制备方法具有工艺简单,绿色环保,操作快捷的优点;本方法制得的石墨烯/g‑C3N4/钯纳米粒子多级纳米结构复合材料可以广泛用于电催化氧化领域。

标签:
复合材料
江西 - 南昌 来源:中冶有色网 2023-03-18
生物炭银复合材料及其制备方法

本发明公开了一种生物炭银复合材料及其制备方法,首先将生物质材料利用物理和化学处理的方法制备生物质纳米纤维水凝胶,干燥处理得生物质纳米纤维气凝胶,然后置于惰性气氛中高温热解,水蒸气高温活化,制得多孔生物炭,最后利用液相还原的方法制备生物炭银复合材料。本发明原料来源广泛,成本低廉,制备简单,生物炭银复合材料在使用过程中能够将生物炭吸附和银的抑菌杀菌高效地结合在一起,提高了生物炭复合材料的使用价值。

标签:
复合材料
江西 - 南昌 来源:中冶有色网 2023-03-18
复合材料层压板二次胶接结构件分次加压成型工艺

本发明公开了一种复合材料层压板二次胶接结构件分次加压成型工艺。成型工艺步骤为:制做胶接成型组合模,将内装有复合材料层压板胶接组合件的组合模置于热压机内,以接触压对组合模试压,使组合模与热压机的热压板相接触;以1℃~3℃/min的速度逐步升温至胶膜软化呈流动状,然后分3次缓慢加压至合模,每次加压间歇时间为1min,以1℃~3℃/min的速度逐步升温至125℃~135℃,保温保压3h。本发明可将复合材料层压板二次胶接结构件胶膜中的挥发份及空气排除,使复合材料层压板二次胶接结构件内部零件变形小,并且可部分恢复,产生间隙小,有利于提高胶接质量。

标签:
复合材料
江西 - 南昌 来源:中冶有色网 2023-03-18
碳纤维增强尼龙复合材料3D打印线材及其制备方法

本发明公开了一种碳纤维增强尼龙复合材料3D打印线材及其制备方法。所述制备方法包括:先对碳纤维进行等离子体表面处理、硅烷偶联剂接枝等表面预处理,并将表面预处理的碳纤维制备形成碳纤维母粒;再将其与尼龙粒料混合均匀后输入双螺杆挤出机进行混合造粒,制得碳纤维增强尼龙复合材料;之后输入单螺杆挤出机进行料斗挤出、拉丝、绕盘,获得碳纤维增强尼龙复合材料3D打印线材。本发明结合等离子体表面处理和硅烷偶联剂接枝共同作用,物理吸附和化学反应双重作用使碳纤维表面包覆了一层硅烷偶联剂,大幅提高了树脂对碳纤维表面的界面结合;并且本发明的3D打印线材力学性能优异,打印件兼具碳纤维与塑料的优良性能,机械强度高、稳定性好。

标签:
复合材料
江西 - 南昌 来源:中冶有色网 2023-03-18
压电复合材料、压电复合薄膜及其制备方法和压电器件

本发明涉及一种压电复合材料、压电复合薄膜及其制备方法和压电器件。该压电复合材料包括有机聚合物基体、无机压电陶瓷材料及分子铁电材料,所述分子铁电材料选自TMCM‑MnCl3、TMCM‑CdCl3及(TMFM)x(TMCM)1–xCdCl3中的至少一种,其中0≤x≤1,所述无机压电陶瓷材料及所述分子铁电材料分布于所述有机聚合物基体中;在所述有机聚合物基体及所述无机压电陶瓷材料的总量中,所述无机压电陶瓷材料的质量含量为50%~80%;在所述有机聚合物基体、所述无机压电陶瓷材料和所述分子铁电材料的总量中,所述分子铁电材料的质量含量为1%~15%。上述压电复合材料同时具有较高的压电性能和可挠性。

标签:
复合材料
江西 - 南昌 来源:中冶有色网 2023-03-18
高介电常数低损耗金属/聚合物复合材料及其制备方法

本发明涉及一种具有高介电常数和低损耗的聚合物复合材料及其制备方法。本发明通过将平均粒度为800nm的自钝化金属Al粉经硅烷偶联剂处理,然后与聚偏氟乙烯(PVDF)的N,N-二甲基乙酰胺(DMAC)溶液在磁力搅拌和超声分散下混合均匀后,在洁净玻璃板上流延成膜,然后在80℃下真空干燥2h去除溶剂后得到厚度为30~80μm的Al/PVDF复合材料,其中Al用量为PVDF体积百分比含量的10~50%。本发明所提供的Al/PVDF复合材料的介电常数在室温1kHz下高于58,介电损耗低于0.02;其介电常数随Al含量的增加线性增加,因此可以根据需要在一定范围内任意调节;同时其介电常数具有很好的温度和频率稳定性。

标签:
复合材料
江西 - 南昌 来源:中冶有色网 2023-03-18
颗粒梯度分布的铝基复合材料原位合成装置

本实用新型公开了一种颗粒梯度分布的铝基复合材料原位合成装置,包括浇铸模具、原位合成复合材料用电阻炉和梯度材料制备电阻炉,制备时先于梯度材料制备电阻炉中加热并保温浇铸模具,再于原位合成电阻炉中进行铝合金和增强相颗粒的原位合成反应,取出反应后的熔体倒入梯度材料制备电阻炉中保温的浇注模具里,使熔体内增强颗粒有时间充分进行沉降行为,沉淀结束后再出炉进行冷却凝固,即可得到颗粒梯度分布的铝基复合材料,具有广泛的工业实用性,且该制备方法具有结构简单、操作便捷、成本较低的优点。

标签:
复合材料
江西 - 南昌 来源:中冶有色网 2023-03-18
基于水热法合成的电极复合材料及其制备方法

本发明公开一种基于水热法合成的电极复合材料及其制备方法,包括以下原料:氢氟酸溶液、MAX相、高锰酸钾、二氯化锡和1M盐酸,其制备方法包括以下步骤:先将MAX相加入氢氟酸溶液中制得混合溶液,再通过混合溶液制得离心混合物,接着通过离心混合物制得二维纳米碳化钛材料,随后配置悬浊液并制得悬浮液混合物,然后合成MXene材料,最后获取复合材料;本发明采用氢氟酸搅拌的方式剥离碳化钛铝的金属铝,合成呈现层状结构的MXene,通过一步水热法合成复合材料Sn‑MnO2/MX,具有优异的导电性和孔径结构,具备优异的电化学稳定性,增加材料的有效活性表面积,保证电容器电极之间离子电荷的扩散,显著升电容器的电化学性能。

标签:
复合材料
江西 - 南昌 来源:中冶有色网 2023-03-18
基于线性环氧树脂的复合材料的制备方法

本发明提供了一种基于线性环氧树脂的复合材料的制备方法,纳米三氧化钨和纳米二氧化铈能够在一定程度上阻止裂缝的生成,从而达到增加材料力学性能的作用,有机硅偶联剂能够对纳米三氧化钨和纳米二氧化铈的表面进行修饰,降低纳米三氧化钨和纳米二氧化铈在线性环氧树脂中的团聚现象,改性的环氧树脂也会产生塑性形变,吸收一定的冲击能,使得抗冲击强度提高,此外,改性环氧树脂粉末与尼龙6体系共混,在熔融条件下挤出,两相分散均匀,进一步提高了复合材料的拉伸性能,而对于共混材料,无连续的尼龙相承受应力,且体系内部存在较多的应力集中点,因此在一定程度上提高共混体系的弯曲性能,最终使得制备出的复合材料的力学性能得到极大改善。

标签:
复合材料
江西 - 南昌 来源:中冶有色网 2023-03-18
复合材料增强整车主要传递路径承力构件耐撞性分析方法

本发明涉及一种复合材料增强整车主要传递路径承力构件耐撞性分析方法,通过在基础状态白车身进行碰撞试验;采集基础状态白车身碰撞数据;车身进行结构轻量化设计,进行车身碰撞试验;根据碰撞数据确定车身薄弱部位,在车身薄弱部位增加复合材料增强构件,调整搭接区域结构设计;进行车身碰撞试验;确保车身碰撞数据满足设计目标,完成车身轻量化设计目标。本发明复合材料增强整车主要传递路径承力构件耐撞性分析方法,材料轻量化和结构轻量化设计综合考虑,在成本可控、不影响现有制造工艺的前提下,实现汽车车身轻量化。

标签:
复合材料
江西 - 南昌 来源:中冶有色网 2023-03-18
毫米级大孔-介孔碳球/杯[4]-双冠-6互穿复合材料及其制备方法和应用

本发明公开了一种毫米级大孔‑介孔碳球/杯[4]‑双冠‑6互穿复合材料是由杯[4]芳烃‑(苯并)冠‑6‑(甲基丙烯酸苯甲酯)冠‑6定向聚合至毫米级大孔‑介孔碳球内外表面得到,杯[4]芳烃‑(苯并)冠‑6‑(甲基丙烯酸苯甲酯)冠‑6的结构式为;并且公开了一种毫米级大孔‑介孔碳球/杯[4]‑双冠‑6互穿复合材料制备方法,制备方法简单,得到的毫米级大孔‑介孔碳球/杯[4]‑双冠‑6互穿复合材料能够可以用于吸附分离放射性核素Cs,并且吸附分离效果优异。

标签:
复合材料
江西 - 南昌 来源:中冶有色网 2023-03-18
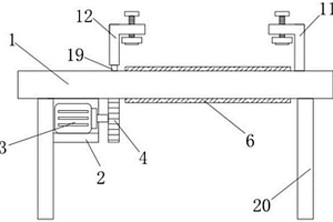
竹塑复合材料加工用抛光装置

本实用新型公开了一种竹塑复合材料加工用抛光装置,包括基台,所述基台的下端固定焊接有不锈钢支撑板,所述不锈钢支撑板上固定安装有电机,所述电机输出轴的一端通过联轴器固定连接有第一圆柱齿轮,所述基台上开设有通孔,所述通孔内部转动连接有抛光辊,所述抛光辊上键连接有第二圆柱齿轮,所述第二圆柱齿轮啮合于第一圆柱齿轮。本实用新型通过设置有电机、第一圆柱齿轮、第二圆柱齿轮、抛光辊、固定夹块和活动夹块,能通过电机带动第一圆柱齿轮转动,第一圆柱齿轮带动第二圆柱齿轮转动,从而带动抛光辊转动对竹塑复合材料板进行抛光,抛光效率高,节约人力资源,并且一定程度上确保了竹塑复合材料板的抛光平面度。

标签:
复合材料
江西 - 南昌 来源:中冶有色网 2023-03-18
金属基复合材料用超声处理设备

本实用新型公开了一种金属基复合材料用超声处理设备,包括括搅拌罐、电机、泵和超声罐,搅拌罐内有搅拌叶,电机与搅拌轴固定连接,搅拌罐的右侧下部的第一出液管经过第一化工泵连接到超声罐的左侧上部,超声罐的左侧下部的第二出液管经过第二化工泵连接到搅拌罐的右侧上部。该设备的搅拌和超声是两个单独的装置,通过泵和水管连接,使得复合材料粉末可以在搅拌罐和超声罐内循环,对材料起到分散、混合均匀、改善流动性的作用,解决复合材料粉末与增强相易团聚,难以均匀混合的问题,便于后续的使用。

标签:
复合材料
江西 - 南昌 来源:中冶有色网 2023-03-18
复合材料修饰电极及其制备方法和应用

本发明涉及修饰电极技术领域,尤其涉及一种复合材料修饰电极及其制备方法和应用,本发明提供的复合材料修饰电极,包括玻碳电极和玻碳电极表面的复合物薄膜;所述复合物薄膜由包括多壁碳纳米管和2‑氨基‑5‑巯基‑1,3,4‑噻二唑的原料制备得到。所述复合材料修饰电极可以实现对Cd2+和Pb2+的高灵敏检测,根据实施例的记载,所述复合材料修饰电极对镉离子的检测限最低可达为0.4μg/L,对铅离子的检测限最低可达0.3μg/L。

标签:
复合材料
江西 - 南昌 来源:中冶有色网 2023-03-18
高抗冲击复合材料制备方法

一种高抗冲击复合材料制备方法,利用3D打印技术,采用高强度金属和高韧性金属两种材料交织堆积结构相同的第一层堆覆与第三层堆覆,使得制备的高抗冲击复合材料具有高强度金属的强度,高韧性材料更好的吸收能量,高抗冲击的性能,第二层堆覆设置在第一层堆覆与第三层堆覆之间,每层堆覆由多个堆覆层组成,每个堆覆层完成之后,均以Z轴为中心旋转90°,用于弥补3D打印过程起点高,终点低的缺陷,使得最终得到平面,同时金属堆覆的方向发生变化,进一步使得两种金属在三维空间内形成交织结构,从而增强高抗冲击复合材料的性能;不能过在第二层堆覆层的高韧性金属材料之间设置有陶瓷块,以减轻高抗冲击复合材料的整体重量。

标签:
复合材料
江西 - 南昌 来源:中冶有色网 2023-03-18
高强度尼龙6复合材料及其制备方法

本发明公开了一种高强度尼龙6复合材料及其制备方法。所述高强度尼龙6复合材料包括按照重量份计算的如下组分:尼龙PA6 75‑81份、碳纳米管母粒1‑3份、碳纤维母粒8‑15份及扩链剂0.3份。本发明先把碳管和碳纤维造粒,然后再和尼龙混合均匀,可以保证塑料母粒中碳管和碳纤维的分布均匀,碳纳米管和碳纤维的协同作用提高了复合材料抗拉强度;本发明的制备方法中主要溶剂是水,避免了有机溶剂的环境污染,同时本发明制备的碳纳米管母粒和炭纤维母粒含量均匀,生产工艺可控。

标签:
复合材料
江西 - 南昌 来源:中冶有色网 2023-03-18
纳米TiO<Sub>2</Sub>改性碳纤维/环氧树脂复合材料的方法

本发明涉及一种纳米TiO2改性碳纤维/环氧树脂复合材料的方法,采用二乙烯三胺作为固化剂,将KH‑550硅烷偶联剂活化处理的纳米TiO2为填料,通过手糊成型制备一种纳米TiO2改性碳纤维/环氧树脂复合材料,其中KH‑550硅烷偶联剂的用量为纳米TiO2质量的5%以内,活性纳米TiO2用量为环氧树脂质量分数的6%以内,二乙烯三胺的用量为环氧树脂质量分数的10%,每层刮涂的环氧树脂胶的用量为碳纤维布质量的50±5%。本发明方法制备工艺简单,生产成本低,成型可操作性好,复合材料的抗疲劳性能优异。

标签:
复合材料
江西 - 南昌 来源:中冶有色网 2023-03-18
三氧化二铁掺杂氧化铈纳米棒复合材料的制备方法

本发明提供一种三氧化二铁掺杂氧化铈纳米棒复合材料的制备方法。本发明采用水热反应法先制备出氧化铈纳米棒,然后以FeCl2为铁源,采用共沉淀法对氧化铈纳米棒进行掺杂,通过控制三氧化二铁的掺杂质量,得到具有优异光催化性能的复合材料。该复合材料相较于单一的氧化铈纳米棒以及三氧化二铁,具有更好的光催化性能,在光催化处理有机污染物领域具有很好的应用前景。

标签:
复合材料
江西 - 南昌 来源:中冶有色网 2023-03-18
镁基复合材料触变塑性成形本构模型的建立方法

一种镁基复合材料触变塑性成形本构模型的建立方法,其特征是:1)根据镁基复合材料的触变塑性成形实验所得的数据,得到应力σ、应变ε、应变速率温度T、液相率fL之间的非线性关系,采用以下式子表达 : 2)本构模型参数的求解,结合触变塑性成形实验数据,计算得到本构关系模型中的参数。本发明可以准确的再现触变塑性成形过程中应力应变变化,为数值模拟提供准确的材料本构模型,获得的模拟结果精确度高,对于分析镁基复合材料的触变塑性成形特性,优化成形工艺参数具有重要的意义。

标签:
复合材料
江西 - 南昌 来源:中冶有色网 2023-03-18
石墨烯增强铝基复合材料的制备方法

本发明属于复合材料制备技术领域。本发明提供了一种石墨烯增强铝基复合材料的制备方法,包括如下步骤:(1)将增强相和基体粉末混合,得到原料混合物;所述增强相为石墨烯或氧化石墨烯;(2)将所述原料混合物装填在铝基包套中,经摩擦挤压,得到石墨烯增强铝基复合材料。本发明将增强相和基体粉末先混合,增强相宏观分散于基体粉末中;然后将原料混合物装填在铝基包套中,进行摩擦挤压,在摩擦挤压过程中,由于软的、热塑性基体的介质保护作用,极大地避免了摩擦棒与增强相的直接接触,从而有效减少了制备过程对增强相的结构的破坏。

标签:
复合材料
江西 - 南昌 来源:中冶有色网 2023-03-18
新型石墨烯增强镁基复合材料及制备方法

本发明涉及镁基复合材料技术领域,且公开了一种新型石墨烯增强镁基复合材料及制备方法,包括以下重量份数配比的原料:15~25g的微米级石墨粉末、10~15g硝酸钠、450~500mL浓硫酸、60~80g高锰酸钾、100g的微米级镁粉、100mL物质的量浓度为10mol/L的十六烷基三甲基溴化铵水溶液。本发明解决了目前石墨烯增强镁基复合材料,由于石墨烯在金属镁中非常容易发生团聚,导致石墨烯增强相无法在Mg基体中实现分布均匀的技术问题。

标签:
复合材料
江西 - 南昌 来源:中冶有色网 2023-03-18
原位Al2O3颗粒增强Al-Si-Cu复合材料半固态浆料的制备方法

本发明公开了一种原位Al2O3颗粒增强Al-Si-Cu复合材料半固态浆料的制备方法。制备方法为:首先将Al-Si-Cu合金锭放入熔化炉内加热到780~800℃,并在此温度静置20~30min后,将质量百分比为1.0%~5.0%的Al粉和B2O3粉球磨破碎后的混合粉末烘干处理并用铝箔包覆,加入到熔体中,保温10min,然后将超声变幅杆伸入合金熔体中,超声10~20min,超声功率为150W~300W,然后快速降温至580~590℃保温10~20min,得到原位Al2O3颗粒增强Al-Si-Cu复合材料半固态浆料。本发明的技术效果是:得到的原位Al2O3颗粒增强Al-Si-Cu复合材料半固态组织均匀、圆整,完全满足半固态成形要求,而且工艺简单,安全可靠,操作方便,且无三废污染。

标签:
复合材料
江西 - 南昌 来源:中冶有色网 2023-03-18
辊压纤维丝束熔融复合材料装置

本实用新型公开了一种辊压纤维丝束熔融复合材料装置。所述辊压纤维丝束熔融复合材料装置包括:固定支架以及与所述固定支架转动配合的第一辊压轮、第二辊压轮,所述第一辊压轮和第二辊压轮的辊面之间具有可供纤维丝束通过的间隙;以及,所述第一辊压轮和第二辊压轮中的至少一者能够于所述固定支架上沿指定方向运动,且所述第一辊压轮和第二辊压轮之间设置有弹性支撑机构,所述第一辊压轮和第二辊压轮之间的间隙宽度能够在外力和弹性支撑机构提供的弹力的合力作用下沿该指定方向进行调节。本实用新型实施例提供的一种辊压纤维丝束熔融复合材料装置,能够对包裹熔融材料的纤维丝束进行辊压,使得纤维丝束均匀复合熔融材料。

标签:
复合材料
江西 - 南昌 来源:中冶有色网 2023-03-18
新型Si<sub>3</sub>N<sub>4</sub>增强MoSi<sub>2</sub>基复合材料及制备方法

本发明涉及MoSi2基复合材料技术领域,且公开了一种新型Si3N4增强MoSi2基复合材料及制备方法,包括以下重量份数配比的原料:20~30份的纳米Si3N4粉末、2~5份的γ‑氨丙基三乙氧基硅烷偶联剂、5~8份的球形纳米Cu粒子、8~10份聚乙烯醇、60~70份的微米级MoSi2粉末。本发明解决了目前制备出的Si3N4增强MoSi2基复合材料,在整个温度范围内都呈现出脆性的技术问题。

标签:
复合材料
江西 - 南昌 来源:中冶有色网 2023-03-18
上一页 63 64 65 66 67 ... 78 下一页
共78页    到第

中冶有色为您提供最新的江西南昌有色金属材料制备及加工技术理论与应用信息,涵盖发明专利、权利要求、说明书、技术领域、背景技术、实用新型内容及具体实施方式等有色技术内容。打造最具专业性的有色金属技术理论与应用平台!

全国热门有色金属设备推荐
展开更多 +
全国热门有色金属技术推荐
展开更多 +

 

江西省隆恩特环保设备有限公司
宣传

报名参会
更多+

报告下载

有色专家
更多+

中南大学
中国工程院院士
武汉理工大学
副主任/研究员
东北大学
院长/教授
郑州大学
校长/党委书记
矿冶科技集团有限公司
所长/研究员级高工
赤泥综合利用研究报告2025
推广

热门技术
更多+

推荐企业
更多+

福建省金龙稀土股份有限公司
宣传

发布

在线客服

公众号

电话

顶部
咨询电话:
010-88793500-807