青岛垚鑫智能科技有限公司
宣传

位置:中冶有色 >

有色技术频道 >

分类:
全部
矿山技术
冶金技术
材料制备及加工技术
环境保护技术
分析检测技术
 
全部
功能材料技术
复合材料技术
新能源材料技术
合金材料技术
加工技术
地区:
全部
北京
天津
上海
重庆
河北
山西
辽宁
吉林
黑龙江
江苏
浙江
安徽
福建
江西
山东
河南
湖北
湖南
广东
海南
四川
贵州
云南
陕西
甘肃
青海
内蒙
广西
西藏
宁夏
新疆
其他
其他
展开
 
全部
南昌
九江
上饶
抚州
宜春
吉安
赣州
景德镇
萍乡
新余
鹰潭

江西南昌有色金属材料制备及加工技术理论与应用

免费发布技术信息>>
碳-碳复合材料的制备方法

一种碳-碳复合材料的制备方法,包括以下步骤:(1)将碳纳米管用气流分散机分散处理,松装比控制在?0.001-0.05g/cm3;(2)用碳纤维编织口袋或模具,将碳纳米管加入其中并封好袋口;(3)将装有碳纳米管的模具放入化学气相渗透装置中,升温到500-1600℃;(4)通入碳氢化合物气体,热分解后碳原子进入碳纳米管基体中,填充间隙,碳原子渗透时间保持2-100小时,炉温降至室温后取出;(5)放入石墨化炉中在2300-3000℃保持2-200小时;(6)冷却到室温后,取出。本发明方法简单、易行。制备的碳/碳复合材料可充分发挥碳纳米管高强度、耐高温、抗氧化、耐腐蚀同时具备很好的柔韧性特点,制造的碳纳米管/碳复合材料,具有优良的导电性能、机械性能、耐高温性能。

标签:
复合材料
江西 - 南昌 来源:中冶有色网 2023-03-18
羧基改性聚苯胺/银/磷酸银复合材料的制备方法

一种羧基改性聚苯胺/银/磷酸银复合材料的制备方法,该方法首先制备出N‑取代羧基聚苯胺,在含有N‑取代羧基聚苯胺的原位聚合体系中引入银源和表面活性剂,反应形成含银的复合材料前驱体;最后引入磷源,利用银与磷间成核机理,且由于N‑取代羧基聚苯胺将部分银离子还原成银单质,最终形成N‑取代羧基聚苯胺/银/磷酸银光电材料。本发明所制得的改性聚苯胺/银/磷酸银复合材料中,由于N‑PANI充当银/磷酸银离子的载体基质,不仅可以有效的防止粒子团聚,提高催化性能,而且由于聚苯胺空穴受体的作用,加速了光生电子‑空穴的分离,降低了磷酸银的光腐蚀性,从而提高了催化剂的稳定性;保证了该复合催化材料的催化效率和循环使寿命。

标签:
复合材料
江西 - 南昌 来源:中冶有色网 2023-03-18
军用滚塑弹药包装专用复合材料

本发明涉及一种军用滚塑弹药包装专用复合材料及其制备方法,属于聚乙烯复合材料领域。其由如下重量份组成:线性低密度聚乙烯LLDPE(100份)、高密度聚乙烯HDPE(40‑60份)、三聚氰胺甲醛树脂MF(10‑20份)、交联剂(2‑5份)、纳米强化颗粒(3‑8份)、成核剂(0.05‑0.5份)。基础聚合物的适度配比获得适度的交联度,即保证了复合材料的抗冲击强度、耐高温、防化学性能等,又克服了表面粗糙生成气泡等现象。三聚氰胺甲醛树脂的加入使得产品阻燃性提高具有耐高温性能。适合军用弹药包装应用要求。

标签:
复合材料
江西 - 南昌 来源:中冶有色网 2023-03-18
功能化稀土长余辉纳米复合材料的制备方法及其潜指纹成像应用

本发明公开了一种功能化稀土长余辉纳米复合材料的制备方法及其在潜指纹成像中的应用,属于生物分析和指纹检测技术领域。将亲和素修饰到氨基功能化的铝酸锶稀土掺杂长余辉纳米材料表面,制备亲和素功能化稀土长余辉纳米复合材料,进而利用生物素与亲和素之间的识别作用,将亲和素化稀土长余辉纳米复合材料连接到标记有生物素化抗体的潜指纹上。铝酸锶稀土掺杂长余辉纳米材料具有长余辉特性,经光源照射并移除光源后,仍保持发光,可实现潜指纹成像。本发明方法快速、简单、无背景干扰。

标签:
复合材料
江西 - 南昌 来源:中冶有色网 2023-03-18
高性能环氧树脂基碳纤维复合材料制备方法

本发明提供了一种高性能环氧树脂基碳纤维复合材料制备方法,把缩水甘油醚型环氧树脂、邻甲酚醛环氧树脂、L-固化剂、丙酮稀释剂、聚芳醚酮增韧剂配置成NY9200GB树脂体系,经热熔法制备成碳纤维或玻璃布预浸料,通过工艺参数研究试验,确定碳纤维预浸料的成型工艺参数,采用热压罐法或模压法制备成复合材料制件。本发明制备的环氧树脂基碳纤维复合材料在自然条件下放15年之久,各项性能指标几乎没有发生变化。

标签:
复合材料
江西 - 南昌 来源:中冶有色网 2023-03-18
镀铜石墨烯铝基复合材料及其制备方法

本发明提供了一种镀铜石墨烯铝基复合材料及其制备方法,所述方法包括以下步骤:S1:将石墨烯粉末表面进行溶液法镀铜处理,制备得到镀铜石墨烯粉末;S2:采用静电自组装法将步骤S1制备得到的镀铜石墨烯粉末和铝粉进行混合,制备得到镀铜石墨烯铝复合粉体;S3:采用放电等离子烧结工艺对步骤S2制备得到的镀铜石墨烯铝复合粉体进行烧结,制备得到镀铜石墨烯铝基复合材料。本发明采用镀铜石墨烯作为增强体,铜颗粒可以均匀的包覆在石墨烯的表面,使石墨烯均匀分散在铝基体中,改善石墨烯和铝基体的界面结合,提高了复合材料的硬度和耐磨性能。

标签:
复合材料
江西 - 南昌 来源:中冶有色网 2023-03-18
颗粒增强铝基复合材料界面制备及其强度测试方法

本发明公开了一种颗粒增强铝基复合材料界面制备及其强度测试方法,包括以下步骤,将与增强颗粒同成分的圆棒放入石墨坩埚底部,在电阻炉中以700~750℃预热30~60min;然后将熔化后的铝液浇入到经上述热处理后的坩埚中,在700~750℃下保温2~3h,并施加超声处理10~20min;冷却成型后取出试样,去除毛刺,得到颗粒增强铝基复合材料界面的拉伸试样;将该试样在拉伸强度试验机上进行拉伸测试,经过计算即可得到其界面结合强度,本发明颗粒增强铝基复合材料界面制备工艺简单,所需设备要求低且易于操作,界面结合强度测试方法高效易于实现,界面制作及测试成本低,适用性好。

标签:
复合材料
江西 - 南昌 来源:中冶有色网 2023-03-18
军用滚塑枪械包装专用复合材料

本发明提供了一种军用滚塑枪械包装专用复合材料,具有良好的耐紫外老化性能,且强度较高,综合性能优越。经硅烷偶联剂、二烯丙基硫醚等改性后的花生壳粉和经硅烷偶联剂、甲基橙等改性后的稻壳粉与线性低密度聚乙烯制得的复合材料具有较好的耐紫外光老化性能,在长时间的紫外辐照下,材料的断裂拉伸应变保留率较高,且经改性后的花生壳粉和稻壳粉在聚乙烯基体中的分散性较好。但采用此复合材料制得的滚塑制品表面会产生一些颗粒,影响成品的使用性能和外观。在采用少量的纤维素酶对花生壳粉和稻壳粉进行酶解后,这一问题得到解决,产品表面的颗粒数量显著减少,产品表面变得光滑。

标签:
复合材料
江西 - 南昌 来源:中冶有色网 2023-03-18
以氧化铝基复合材料为基体的二氧化铱系纳米涂层电极的制备方法

本发明公开了一种以氧化铝基复合材料为基体的二氧化铱系纳米涂层电极的制备方法,属于纳米电极材料制备技术领域。步骤为:(1)微波烧结法制备氧化铝基复合材料;(2)涂覆液的配制;(3)热分解法制备纳米涂层电极。本发明的优点在于以氧化铝基复合材料为基体生长的纳米二氧化铱棒分布密集,纳米棒的尺寸较长,极大地提高了电极比表面积和电催化活性;同时具有生产工艺简单,生产周期短,设备成本低,易于实现产业化等优点。本发明适用于工业电镀、有机物电解合成、阴极保护、金属铜箔的制造、新型电子器件制造、工业废水处理以及气体传感器等领域,具有很好的应用前景。

标签:
复合材料
江西 - 南昌 来源:中冶有色网 2023-03-18
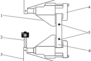
用于陶瓷基复合材料四点弯曲力学实验装置

本实用新型涉及一种用于陶瓷基复合材料(CMCs)四点弯曲力学实验装置,包括四点弯曲夹具,以及分别于四点弯曲夹具连接的声发射装置、数字图像相关技术(DIC)装置,其中陶瓷基复合材料缺口试样由四点弯夹具固定,四点弯夹具由钳口、弯曲梁、延伸杆三部分组成,该四点弯夹具的设计使得十字头的垂直运动通过杠杆机构转换为施加在垂直方向对陶瓷基复合材料缺口试样的弯矩。本实用新型优点:通过声发射技术和数字图像相关技术相结合,能直接获得材料在弯曲过程中损伤的起始和发展详细过程,并与声发射能量数据信号联系起来,具有实时性。

标签:
复合材料
江西 - 南昌 来源:中冶有色网 2023-03-18
制备Fe<Sub>3</Sub>O<Sub>4</Sub>/胶原混肽-大豆异黄酮共价化合物磁性生物复合材料的方法

本发明公开一种制备Fe3O4/胶原混肽‑大豆异黄酮共价化合物磁性生物复合材料的方法,包括以下步骤:1、鱼明胶二步酶解;2、胶原混肽分离纯化(<1000Da);3、高压脉冲电场促羟基自由基生成;4、胶原混肽‑大豆异黄酮共价化合物制备;5、胶原混肽‑大豆异黄酮共价化合物分离纯化;6、Fe3O4/胶原混肽‑大豆异黄酮共价化合物磁性复合材料制备。本发明采用凝胶色谱技术结合高效液相色谱技术分离纯化胶原混肽,提高了分离纯度和效率;利用高压脉冲电场协同超声技术制备胶原肽‑大豆异黄酮共价化合物,大大缩短了合成时间,提高了大豆异黄酮的抗氧化活性;制备的Fe3O4/胶原混肽‑大豆异黄酮共价化合物复合材料具有一定磁性,能为可控释放和靶向作用等提供新思路。

标签:
复合材料
江西 - 南昌 来源:中冶有色网 2023-03-18
钌负载的BiVO<sub>4</sub>@C核壳结构复合材料的制备方法

本发明属于无机纳米复合材料制备领域,涉及一种钌负载的BiVO4@C核壳结构复合材料的制备方法,通过组合RuCl3、BiVO4和葡萄糖,利用葡萄糖水热法碳化得到的含碳多聚糖微球的单分散性好且外层含有大量的羟基亲水性基团构建新型钌负载的BiVO4@C核壳结构复合材料,并对罗丹明B有很高的吸附降解率,大大提高了BiVO4的应用范围。该技术具有方法简单、节能绿色无污染等优点。合成出的材料可广泛用于催化、废水中有机物、重金属离子还原等领域。

标签:
复合材料
江西 - 南昌 来源:中冶有色网 2023-03-18
3D微米花复合材料Fe-CoP@C及其制备方法和应用

本发明涉及功能材料合成技术领域,提供了一种3D微米花复合材料Fe‑CoP@C及其制备方法和应用。其中,方法包括:首先制备3D微米花复合材料Co3O4@MOFs,然后加入铁源,经过部分离子交换和高温磷化处理,制得了具有3D微米花状结构的Fe‑CoP@C复合材料。本发明的微米花材料具有制备工艺简单,价格低廉,形貌均一,结构稳定等优点;其中纳米粒子与碳纳米片之间强耦合作用确保了快速的电子传输和超高的结构稳定性,在电催化析氧方面表现出优良的催化性能。

标签:
复合材料
江西 - 南昌 来源:中冶有色网 2023-03-18
碳纳米管及复合稀土多元增强铝基复合材料的方法

一种碳纳米管及复合稀土多元增强铝基复合材料的方法,按照质量百分比配料:包覆氧化钛的碳纳米管0.5~5.5wt.%,复合稀土0.4~1.6wt.%,其余为铝合金及其不可避免的杂质。以包覆氧化钛的碳纳米管、复合稀土粉和铝合金粉作为原料,加入过程控制剂,在惰性气体保护下进行球磨。球磨后获得的混合粉放入真空炉内进行热压烧结,制得一预制块。将预制块进行热挤压成型处理,制得包覆氧化钛的碳纳米管和稀土多元增强的铝合金复合材料。本发明工艺成本低,安全可靠,操作简单。晶粒细化效果明显,复合材料性能优异。

标签:
复合材料
江西 - 南昌 来源:中冶有色网 2023-03-18
硅酸镁锂凝胶活性炭复合材料及其制备方法

本发明公开了一种硅酸镁锂凝胶活性炭复合材料及其制备方法,通过冷冻干燥法制备硅酸镁锂活性炭凝胶前驱体粉体,采用无机胶凝成型制备复合材料,最后将所得结构放入弱碱性环境中养护;本发明提供的硅酸镁锂凝胶活性炭复合材料的吸附性能比单独使用有机粘结剂或者无机胶凝剂制备的成型活性炭优异,且原料方便易得,价格低廉,制备简易,成本低,适合工业化推广。

标签:
复合材料
江西 - 南昌 来源:中冶有色网 2023-03-18
二氧化钛纳米片嫁接二氧化钛纳米棒异质结复合材料

本发明提供一种二氧化钛纳米片嫁接二氧化钛纳米棒异质结复合材料的制备方法。本发明采用水热反应法先制备出锐钛矿型二氧化钛纳米棒,然后将二氧化钛纳米棒加入二氧化钛纳米片的水热反应中,以二氧化钛纳米棒为基体,使用外延生长的方式使二氧化钛纳米片在二氧化钛纳米棒上生长,通过控制纳米棒与纳米片的质量比,得到具有优异光催化性能的异质结复合材料。该复合材料相较于现有二氧化钛材料,具有优异的光催化性能,在光催化处理有机污染物领域具有很好的应用前景。

标签:
复合材料
江西 - 南昌 来源:中冶有色网 2023-03-18
锐钛矿/板钛矿二氧化钛异质结纳米复合材料

一种锐钛矿/板钛矿二氧化钛异质结纳米复合材料,以二羟基乳酸络钛酸铵,H2O2和尿素为原料,采用水热合成法制备出双晶锐钛矿/板钛矿二氧化钛异质结。本发明制备的双晶锐钛矿/板钛矿二氧化钛异质结是一种球形纳米锐钛矿二氧化钛和棒状纳米板钛矿二氧化钛复合材料,该复合材料具有性能稳定、无毒、制备成本低等优点,在空气净化、水处理等领域具有优异的应用性能,是一种环境友好型光催化材料。

标签:
复合材料
江西 - 南昌 来源:中冶有色网 2023-03-18
二氧化钛纳米颗粒修补纳米线异质结复合材料

一种二氧化钛纳米颗粒修补纳米线异质结复合材料,该材料先采用水热反应法先制备出锐钛矿型二氧化钛纳米线,然后将二氧化钛纳米线加入二氧化钛纳米颗粒的水热反应中,以二氧化钛纳米线为基体,使用外延生长的方式使二氧化钛纳米颗粒在二氧化钛纳米线上生长,通过控制纳米线与纳米颗粒的质量比,得到具有优异光催化性能的异质结复合材料。该复合材料相较于现有二氧化钛材料,具有优异的光催化性能,在光催化处理有机污染物领域具有很好的应用前景。

标签:
复合材料
江西 - 南昌 来源:中冶有色网 2023-03-18
具有二维纳米界面涂层的SiC/SiC微型复合材料的制备方法

本发明公开了一种SiC/SiC微型复合材料二维纳米界面涂层的制备方法,包括以下步骤:(1)配制二维材料悬浮液;(2)电泳沉积法制备SiC纤维涂层;(3)SiC纤维束烘干;(4)先驱体浸渍;(5)先驱体裂解;(6)重复步骤(4)~(5),得到具有二维纳米界面涂层的SiC/SiC微型复合材料,该方法具有流程简易、可常温制备、对SiC纤维损伤小、可提高SiC/SiC微型复合材料力学性能等优点。

标签:
复合材料
江西 - 南昌 来源:中冶有色网 2023-03-18
增强颗粒梯度分布的铝基复合材料原位合成装置和方法

本发明公开了一种增强颗粒梯度分布的铝基复合材料原位合成装置和方法,包括浇铸模具、原位合成复合材料用电阻炉和梯度材料制备电阻炉,制备时先于梯度材料制备电阻炉中加热并保温浇铸模具,再于原位合成电阻炉中进行铝合金和增强相颗粒的原位合成反应,取出反应后的熔体倒入梯度材料制备电阻炉中保温的浇注模具里,使熔体内增强颗粒有时间充分进行沉降行为,沉淀结束后再出炉进行冷却凝固,即可得到颗粒梯度分布的铝基复合材料,具有广泛的工业实用性,且该制备方法具有结构简单、操作便捷、成本较低的优点。

标签:
复合材料
江西 - 南昌 来源:中冶有色网 2023-03-18
适用复合材料层板缺陷的空气耦合兰姆波超声检测D成像方法及其装置

一种适用复合材料层板缺陷的空气耦合兰姆波超声检测D成像方法及其装置,该装置主要由发射探头、接收探头、复合材料层板、发射接收器、外置增幅器、采集卡和PC组成;在复合材料层板上部隔空布置一发射探头和一接收探头,接收探头与发射探头沿同一水平线布置,且发射探头和接收探头具有固定倾角,发射探头和接收探头能够移动进行扫描成像检测。本发明的效果是:扫查成像灵敏度高,适用缺陷广,快速高效。同时空气耦合超声检测以空气作为检测试样和探头质检的声耦合剂,避免了传统接触式检测中液体或固体耦合剂对试样带来的二次污染与损伤等不利因素,可用于传统超声检测手段难以适应的场合,具有非接触式和快速检测的优点。

标签:
复合材料
江西 - 南昌 来源:中冶有色网 2023-03-18
石墨烯模板垂直生长大孔氧化锰纳米片复合材料的制备及其应用

本发明公开了一种石墨烯模板垂直生长大孔氧化锰纳米片复合材料的制备方法及高性能锂离子电池负极应用,属于新能源与纳米材料领域。制备是通过低温水热反应和高温热处理完成,所述氧化锰为开放式大孔结构,尺寸为20‑300nm的纳米片,均匀地生长在或者覆盖在石墨烯表面,组合成的大孔孔径为50‑500nm,表现出大的比表面积。所述复合材料作为锂离子电池负极材料具有明显优势,石墨烯显著提高了氧化锰的导电性,开放式的大孔结构促进了离子/电子的传输速率,致使获得了优异的比功率和循环稳定性能,发展了具有开放式大孔片状结构的过渡金属氧化物在锂离子电池中的应用。本发明设备工艺简单,生产成本低廉,环境友好,适应于大规模工业化生产,所制备的复合材料适用于锂离子电池负极。

标签:
复合材料
江西 - 南昌 来源:中冶有色网 2023-03-18
金属复合材料成型装置

本实用新型公开了一种金属复合材料成型装置,用于金属管的复合材料成型,该装置包括结晶器、密封罩、感应加热器、浇注斗、下浇注包、伺服电机、丝杠、上浇注包、上浇注管、封口罩、引锭杆、升降台、冷水箱和安装架;其中,上浇注包、下浇注包和结晶器从上到下依次安装于所述安装架上;结晶器具有分别用于预热和冷却的内腔和外腔;浇注斗设置于结晶器的上端面上,密封罩固定于浇注斗上,上浇注包升降板连接到丝杠上;引锭杆通过冷水箱封堵结晶器。本实用新型提高了金属复合材料的性能;通过冷水箱实现了对结晶器的密封和浇注液的冷却,并在浇注一段时间后逐步引出部分完成材料复合的金属管,实现了连续不断生产,且提高了生产效率。

标签:
复合材料
江西 - 南昌 来源:中冶有色网 2023-03-18
用于T型加强筋复合材料上壁板的成形模具

一种用于T型加强筋复合材料上壁板的成形模具,其中,所述筋条成型模中左阳模与右阳模通过定位销固定在底座上,所述T型加强筋铺贴在左阳模与右阳模上,并在左阳模上设置有限厚块,所述底座上安装有均压板;所述铺贴共固化成型模中用于铺贴壁板蒙皮的面板设置在框架上,所述定位组件包括定位架、底座及定位块,所述面板两端对称设置有底座,所述定位架安装在底座上,所述定位架上设置有为定位块提供导向的滑块,所述定位块通过螺钉安装在滑块上,同时在所述面板上设置有真空导气凹槽;T型加强筋与蒙皮壁板置于真空袋后进热压罐固化成型,有效避免机械连接对复合材料的机械损伤,从而保证复合材料整体性和优良的力学性能,产品一次合格率高。

标签:
复合材料
江西 - 南昌 来源:中冶有色网 2023-03-18
高效制备超薄高体积分数SiCp增强Al基复合材料的方法

本发明公开了一种高效制备超薄高体积分数SiCp增强Al基复合材料的方法,包括以下步骤:步骤一、SiCp颗粒表面采用化学镀技术镀一层镍膜,得到含镍膜SiCp颗粒;步骤二、将镀镍的SiCp颗粒通过化学粘接剂粘接在作为基板的塑料板上;步骤三、在电磁脉冲成形设备上以铝板为飞板,以粘接有SiCp颗粒的塑料板为基板,使飞板撞击基板上的镀镍SiCp颗粒,SiCp颗粒按照预先粘接时的分布形态嵌入飞板,形成SiCp增强Al基复合材料;步骤四、采用化学去除剂将塑料基板与SiCp颗粒之间的化学粘接剂清除掉,实现飞板与塑料基板的分离,进而获得SiCp增强Al基复合材料。本发明具有强化相颗粒的分布、数量能精确调控的优点。

标签:
复合材料
江西 - 南昌 来源:中冶有色网 2023-03-18
MXene掺杂聚偏氟乙烯复合材料及其制备方法

一种MXene掺杂聚偏氟乙烯复合材料的制备方法,包括以下步骤:1、将氟化镁粉末与浓度为5~12 mol/L的盐酸混合,搅拌均匀至氟化镁完全溶解,制备得到刻蚀剂;2、将MAX粉末加入步骤1制备得到的刻蚀剂中进行刻蚀,刻蚀完成后调节溶液pH值在5~7之间,再将溶液离心水洗后得到沉淀物,最后将沉淀物烘干得到成品MXene;3、将步骤2得到的MXene和聚偏氟乙烯于不同比例混合,加入无水乙醇反复研磨得到预混合物,再采用热压成型工艺将预混合物热压成型,得到片层状的二维纳米材料MXene掺杂聚偏氟乙烯复合材料。本发明提供的方法制备得到的复合材料加工性能好,介电常数高、介电损耗低。

标签:
复合材料
江西 - 南昌 来源:中冶有色网 2023-03-18
用于复合材料制件成型的半刚性均压板及其制备方法

本发明涉及一种用于复合材料制件成型的半刚性均压板及其制备方法。在采用热压罐真空袋成型工艺进行复合材料产品制造时,表面一般会放置均压板以提高产品表面光洁度,均压板一般有刚性均压板和半刚性均压板两种,刚性均压板可以更好的保证产品的表面质量,但是仅适用于型面简单的零件中,当产品型面比较复杂时均压板的制造难度较大、易变形,与模具之间匹配性稍差就会影响复合材料制件的内部质量。本发明的均压板包括1层玻璃布预浸料、16层碳纤维预浸料和未硫化的橡胶,其中:一层玻璃布预浸料上铺贴16层碳纤维预浸料,16层碳纤维预浸料上铺贴未硫化的橡胶。本发明综合了上述两种均压板的优点,可以同时保证产品的内部质量及表面质量。

标签:
复合材料
江西 - 南昌 来源:中冶有色网 2023-03-18
高阻尼石墨颗粒增强镁基复合材料的制备方法

本发明是一种通过在Mg‑Zn‑Y合金中添加石墨颗粒,生成镁基复合材料的制备方法。本实验选用的基体材料为Mg97Zn1Y2镁复合材料,增强体为700‑5000目的石墨颗粒,石墨颗粒的含量为0.5%‑2%,采用搅拌铸造法制备而成。通过能谱分析确定其物相成分为α‑Mg,长周期堆垛结构相(LPSO)及石墨颗粒。复合材料的阻尼性能高于0.01,属于高阻尼材料。本发明制备方法简单、操作简便、材料阻尼能力强,有利于推动高阻尼镁合金在航空、航天、交通等众多领域的广泛应用。

标签:
复合材料
江西 - 南昌 来源:中冶有色网 2023-03-18
制备铜铁双金属复合材料的方法

一种制备铜铁双金属复合材料的方法,所述方法制备铜铁双金属复合材料的配方成分质量百分比为:铁5.0‑91.2,碳0.01‑1.00,其余为铜和杂质;所述方法通过添加微量的碳使得配好的材料熔化后产生富铜相和富铁相两个液相分离,然后通过离心铸造法获得外层是铜、内层是铁的具有冶金结合界面的铜铁双金属复合材料。本发明利用铜铁在一定成分范围内存在液相不混溶区间及微量碳元素加入可有效扩大铜铁液相不混溶区间,使铜铁合金溶化后形成富铜相和富铁相两个液相分离特点,进行配料,从而获得铜铁双金属复合材料。本发明制备工艺简单、效率高、成本低。

标签:
复合材料
江西 - 南昌 来源:中冶有色网 2023-03-18
低介电损耗碳化硅纤维增强陶瓷复合材料的制备方法

本发明提供了一种低介电损耗碳化硅纤维增强陶瓷复合材料的制备方法,包括以下步骤:SiC@SiO2核壳结构的制备、表面沉积氧化镧薄膜的SiC@SiO2核壳结构的制备、低介电损耗碳化硅纤维增强陶瓷复合材料的制备。本发明还提供了上述方法制得的低介电损耗碳化硅纤维增强陶瓷复合材料。本发明提供的低介电损耗碳化硅纤维增强陶瓷复合材料,通过在碳化硅陶瓷中分散碳化硅纤维大大提高了材料的韧性,利用碳化硅纤维制得SiC@SiO2核壳结构,降低了碳化硅纤维的介电参数,同时在碳化硅陶瓷中分散氧化硅等材料,进一步降低了碳化硅陶瓷的介电参数,提高了绝缘性;同时SiC@SiO2核壳结构表面沉积氧化镧薄膜,氧化镧薄膜能有效提升纤维的抗氧化性能,减少由纤维氧化带来的强度损伤化镧,还可以降低配合料熔制过程中氧化硼化合物的挥发量。

标签:
复合材料
江西 - 南昌 来源:中冶有色网 2023-03-18
上一页 64 65 66 67 68 ... 78 下一页
共78页    到第

中冶有色为您提供最新的江西南昌有色金属材料制备及加工技术理论与应用信息,涵盖发明专利、权利要求、说明书、技术领域、背景技术、实用新型内容及具体实施方式等有色技术内容。打造最具专业性的有色金属技术理论与应用平台!

全国热门有色金属设备推荐
展开更多 +
全国热门有色金属技术推荐
展开更多 +

 

江西省隆恩特环保设备有限公司
宣传

报名参会
更多+

报告下载

有色专家
更多+

湖南有色金属研究院
教授级高工/原总工程师
赣州江钨钨合金有限公司
副总经理
江西理工大学
副处长/教授
赣州有色冶金研究所有限公司
副主任/高级工程师
中南大学
院长/教授
赤泥综合利用研究报告2025
推广

热门技术
更多+

推荐企业
更多+

福建省金龙稀土股份有限公司
宣传

发布

在线客服

公众号

电话

顶部
咨询电话:
010-88793500-807