青岛垚鑫智能科技有限公司
宣传

位置:北方有色 >

有色技术频道 >

分类:
全部
矿山技术
冶金技术
材料制备及加工技术
环境保护技术
分析检测技术
 
全部
功能材料技术
复合材料技术
新能源材料技术
合金材料技术
加工技术
地区:
全部
北京
天津
上海
重庆
河北
山西
辽宁
吉林
黑龙江
江苏
浙江
安徽
福建
江西
山东
河南
湖北
湖南
广东
海南
四川
贵州
云南
陕西
甘肃
青海
内蒙
广西
西藏
宁夏
新疆
其他
其他
展开
 
全部
南京
无锡
徐州
常州
苏州
南通
连云港
淮安
盐城
扬州
镇江
泰州
宿迁

江苏泰州有色金属材料制备及加工技术理论与应用

免费发布技术信息>>
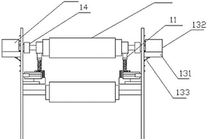
电线用绝缘复合材料生产用拉力机

本实用新型公开了一种电线用绝缘复合材料生产用拉力机,包括拉力机,所述拉力机一侧固定连接有龙门架,两组所述龙门架两端分别设置有第一固定架和第二固定架,两组所述第一固定架和两组第二固定架均固定连接有固定套,所述固定套两侧均通过第一螺栓螺纹连接有夹持组件,所述第一固定架和支撑杆均固定连接于两组龙门架表面。所述夹持组件包括夹持块、第二螺栓、固定块、匚型架,所述第二固定架一侧固定连接有滑动杆,所述滑动杆转动连接有支撑杆,本实用新型的目的在于提供一种电线用绝缘复合材料生产用拉力机,本装置安装便捷,拆卸方便,便于维修,以解决上述背景技术中提出的问题。

标签:
复合材料
江苏 - 泰州 来源:北方有色网 2023-03-18
具有玻纤增强筋结构的复合材料检查井盖

本实用新型涉及一种具有玻纤增强筋结构的复合材料检查井盖,它包括复合填料层(1)、玻纤增强筋(3),复合填料层(1)背面压制有一层玻纤增强筋(3),所述玻纤增强筋呈弧形,弧形几何圆周上均匀分布16-32个增强筋端点,每个端点是四根筋的交汇点(4),四根筋另一端点的其中两个端点分布在交汇点的对称点(9)两侧相邻端点上(6)(7),另两个端点分布在交汇点的对称点两侧第二端点上(5)(8)。本检查井盖具有结构科学合理的玻纤增强筋,每根筋处于最佳受力状态,产品抗疲劳、抗老化效果好,承载能力强,比同等复合材料井盖的承载力提高1.5倍,且其成本低,使用寿命长。

标签:
复合材料
江苏 - 泰州 来源:北方有色网 2023-03-18
KTV用炭纤维低密度复合材料吸声板的制备方法

本发明公开了一种KTV用炭纤维低密度复合材料吸声板的制备方法,采用短纤维针刺体作为预制体骨架,采用树脂浸渍、固化、炭化的工艺进行硬化处理。该方法为:一、采用炭纤维针刺体作为预制体材料;二、树脂浸渍液的配置;三、树脂浸渍;四、固化处理;五、炭化处理;六、机械加工后,制得KTV用炭纤维低密度复合材料吸声板。本发明采用炭纤维作为骨架,树脂炭基体作为增强体的低密度、多孔炭/炭吸声板,具有防水、防火、抗老化、抗冲击能力好,用材低能耗、环保、废弃后对环境无污染,在使用过程中,吸声效果好等优点。

标签:
复合材料
江苏 - 泰州 来源:北方有色网 2023-03-18
建筑用炭纤维低密度复合材料吸声板的制备方法

本发明公开了一种建筑用炭纤维低密度复合材料吸声板的制备方法,采用短纤维针刺体作为预制体骨架,采用树脂浸渍、固化、炭化的工艺进行硬化处理。该方法为:一、采用炭纤维针刺体作为预制体材料;二、树脂浸渍液的配置;三、树脂浸渍;四、固化处理;五、炭化处理;六、机械加工后,制得建筑用炭纤维低密度复合材料吸声板。本发明采用炭纤维作为骨架,树脂炭基体作为增强体的低密度、多孔炭/炭吸声板,具有防水、防火、抗老化、抗冲击能力好,用材低能耗、环保、废弃后对环境无污染,在使用过程中,吸声效果好等优点。

标签:
复合材料
江苏 - 泰州 来源:北方有色网 2023-03-18
氢化丁腈橡胶与对位芳纶纤维复合材料用粘合剂及其制备方法

本发明属于化工领域,公开了一种氢化丁腈橡胶与对位芳纶纤维复合材料专用粘合剂及其制备方法。其配方包含如下组分:主体材料:EPDM4045、SVR3L、SBR1052,活化材料:ZnO、硬脂酸、喹啉系防老剂,填充材料:K10H环烷油、白炭黑255、纳米钙,交联硫化体系:促进剂HMMM,间苯二酚80、促进剂CZ、TMTD80、硫磺S。其制备方法包括如下步骤:将主体材料按顺序进行塑炼,加入活化材料混炼,填充材料进行混炼,加入交联硫化体系混炼后薄通7~12次,打三角包,出料。本发明所制备的粘合剂粘结性能优异,能加强对氢化丁腈橡胶与对位芳纶纤维复合材料与编织层骨架的粘结。

标签:
复合材料
江苏 - 泰州 来源:北方有色网 2023-03-18
稻壳粉/PVC复合材料及其制备方法

本发明公开了一种稻壳粉/PVC复合材料:由塑料、稻壳粉、滑石粉粒子和各种助剂组成,各组分的重量配比为:塑料46~58%,稻壳粉11~20%,滑石粉粒子14~22%,相容剂7~12%,润滑剂6~8%,增韧剂3~4%。本发明还公开了一种稻壳粉/PVC复合材料的制备方法,稻壳粉经蒸汽爆破处理。本发明能规模化利用稻壳粉。

标签:
复合材料
江苏 - 泰州 来源:北方有色网 2023-03-18
纳米复合材料及其制备方法

本发明公开了一种纳米复合材料:由塑料、滑石粉粒子、钛白粉粒子和各种助剂组成,各组分的重量配比为:塑料57~67%,滑石粉粒子3~4%,钛白粉粒子5~6%,相容剂9~11%,增韧剂2~4%。本发明还公开了一种纳米复合材料的制备方法,滑石粉粒子、钛白粉粒子表面设有PMMA包覆层。本发明加入滑石粉粒子、钛白粉粒子,提高本发明拉伸、抗冲击性能。

标签:
复合材料
江苏 - 泰州 来源:北方有色网 2023-03-18
石墨烯包覆四氧化三钴复合材料的制备方法

本发明公开了一种石墨烯包覆四氧化三钴复合材料的制备方法,包括以下步骤:将石墨、硝酸钠、高锰酸钾、浓硫酸混合后在45℃‑70℃搅拌均匀,得到氧化石墨烯溶液;将氧化石墨烯溶液与钴盐溶液按照质量比为1:(200‑500)混合,得到混合溶液;将混合溶液、沉淀剂加入到反应釜中进行沉淀反应,得到四氧化三钴颗粒;将四氧化三钴颗粒达到目标粒径后进行离心洗涤、烘干、煅烧,得到石墨烯包覆四氧化三钴复合材料。本发明有效改善了湿法沉淀过程中四氧化三钴小颗粒的团聚问题,增强了湿法沉淀工艺的稳定性;此外,表面包覆石墨烯的四氧化三钴前驱体具有更好的导电性和稳定性,对应的钴酸锂正极材料电化学性能更优异。

标签:
复合材料
江苏 - 泰州 来源:北方有色网 2023-03-18
用于复合材料脱模的PTFE薄膜胶带制备方法和装置

本发明涉及PTFE薄膜胶带制备技术领域,具体涉及一种用于复合材料脱模的PTFE薄膜胶带制备方法和装置;用于复合材料脱模的PTFE薄膜胶带制备装置包括调节压辊、固定压辊、张力调节辊、固定支架和调节结构,固定支架还设有与调节压辊配合的锁定块和条形槽;调节压辊包括连动支架、调节辊、电机组和联轴器,利用联轴器将电机组与调节压辊连接,再利用连动支架将调节压辊与调节结构连接,从而通过调节调节结构的高度来实现对电机位置的调节,从而使得制备装置能满足生产过程中进行调整的需要,从而有效提升制备装置调节PTFE胶带厚度的方便性。

标签:
复合材料
江苏 - 泰州 来源:北方有色网 2023-03-18
KTV用石墨烯改性低密度复合材料吸声板的制备方法

本发明公开了一种KTV用石墨烯改性低密度复合材料吸声板的制备方法,采用短纤维针刺体作为预制体骨架,采用树脂浸渍、固化、炭化的工艺进行硬化处理。该方法为:一、采用炭纤维针刺体作为预制体材料;二、树脂浸渍液的配置;三、树脂浸渍;四、固化处理;五、炭化处理;六、机械加工后,制得KTV用石墨烯改性低密度复合材料吸声板。本发明采用炭纤维作为骨架,树脂炭基体作为增强体且经过石墨烯改性的低密度、多孔炭/炭吸声板,具有防水、防火、抗老化、抗冲击能力好,用材低能耗、环保、废弃后对环境无污染,在使用过程中,吸声效果好等优点。

标签:
复合材料
江苏 - 泰州 来源:北方有色网 2023-03-18
注塑发泡木塑复合材料及制备工艺

本发明公开了一种注塑发泡木塑复合材料,包括聚丙烯PP、木粉、偶氮二甲酰胺(AC)、低密度聚乙烯(LDPE)、马来酸酐接枝聚丙烯(MAPP)、超微细滑石粉。本发明还公开了一种注塑发泡木塑复合材料制备工艺。本发明能规模化利用木粉,制备工艺效率高。

标签:
复合材料
江苏 - 泰州 来源:北方有色网 2023-03-18
用于板材类产品的无卤阻燃聚碳酸酯复合材料及制备方法

本发明提供了一种用于板材类产品的无卤阻燃聚碳酸酯复合材料及制备方法。本发明的用于板材类产品的无卤阻燃聚碳酸酯复合材料,其特征在于,按重量份数由以下组份组成:聚碳酸酯65~80份,玻璃纤维15~45份,阻燃剂10~40份,抗滴落剂0.3~2份,光稳定剂0.01~0.2份,抗氧剂0.1~2份。将各组按重量份数称取后,在混合机内混合均匀,于双螺杆挤出机内加工,加工温度为265℃~290℃。本发明具有优异力学性能及耐热性,阻燃性达到UL94?V-0(U94?0.8mm)适合用于工程级的板材,且加工简单。

标签:
复合材料
江苏 - 泰州 来源:北方有色网 2023-03-18
防止EVA复合材料凝固的放胶辅助装置

本实用新型公开了一种防止EVA复合材料凝固的放胶辅助装置,包括支撑机构、放胶管道、反应箱、固定机构、驱动机构、连接口、防凝固机构和储存箱,所述支撑机构包括支撑底板、支撑腿、滚轮和支撑架,所述支撑腿设置在支撑底板的下表面,所述支撑架设置在支撑底板的上表面,所述放胶管道设置在支撑架的中间,所述反应箱设置在放置架的上方,所述固定机构包括连接板、螺纹杆和转动钮,所述连接板设置在放胶管道的上方,所述驱动机构包括电机、转动轴、齿轮和齿面,所述电机设置在支撑架的右侧,所述防凝固机构包括吹风机和加热器,所述储存箱设置在放胶管道的下方,本实用新型通过设置防凝固机构避免EVA复合材料在放胶过程中凝固,使放胶效率更快。

标签:
复合材料
江苏 - 泰州 来源:北方有色网 2023-03-18
船用钢铝复合材料的连接结构

本实用新型的一种船用钢铝复合材料的连接结构,包括钢铝过渡接头、肘板、铆钉、隔离层、铝合金上建结构筋板和钢制甲板,钢铝过渡接头的钢制下端焊接在钢制甲板上,钢铝过渡接头的铝合金上端与铝合金上建结构筋板的下端焊接连接,且焊接后的钢铝过渡接头表层涂有防锈材料,肘板的下端固定在钢制甲板上,肘板的上部通过铆钉铆接在铝合金上建结构筋板上,隔离层设置在肘板和铝合金上建结构筋板之间,以避免肘板和铝合金上建结构筋板接触。本实用新型的船用钢铝复合材料的连接结构,使得连接更加稳固、不炸缝不生锈、使用寿命长。

标签:
复合材料
江苏 - 泰州 来源:北方有色网 2023-03-18
聚四氟乙烯薄膜耐高温复合材料除尘袋

本实用新型公开了一种聚四氟乙烯薄膜耐高温复合材料除尘袋,包括除尘袋,所述除尘袋的一端设置有灰尘进入口,另一端设置有灰尘出口,所述灰尘进入口的内部设置有进入口龙骨,所述灰尘出口的内部设置有灰尘出口龙骨,所述除尘袋的内部上方设置有上部倒刺,且除尘袋与上部倒刺的连接位置处设置有上部倒刺固定板;设计的新型除尘袋可耐高温,使用了聚四氟乙烯复合材料来替代了原有的纺织布,使得除尘袋便于清洁而且可以耐高温,在除尘袋内部设计了倒刺网,方便工人清理除尘袋,将除尘袋从机器上拆下时,倒刺网可以防止灰尘从进入口跑出,而且在除尘袋底部设计了灰尘出口,只需要将绑带松掉即可将其倒出,便于操作。

标签:
复合材料
江苏 - 泰州 来源:北方有色网 2023-03-18
复合材料电缆桥架的注塑设备

本发明涉及电缆桥架注塑领域,尤其涉及一种复合材料电缆桥架的注塑设备。技术问题是:电缆桥架与两个模具粘连在一起,脱模困难的情况,并且对电缆桥架凹面和侧板的冷却效果不佳,以及脱模时,电缆桥架易倾倒卡在两个模具之间。技术方案是:一种复合材料电缆桥架的注塑设备,包括有机架和注塑系统等;机架连接有用于对电缆桥架注塑成型的注塑系统。本发明通过将电缆桥架分在凸模和凹模上成型,便于对电缆桥架全方位降温,并且弹簧伸缩板将电缆桥架的上部限位,再将电缆桥架推出,使得电缆桥架下部先完全脱离凹模,再向下掉落,有利于电缆桥架的连续注塑成型,以及通过主动脱离与成型的电缆桥架的接触,有效减少电缆桥架边缘处的粘连。

标签:
复合材料
江苏 - 泰州 来源:北方有色网 2023-03-18
轨道交通用炭纤维低密度复合材料吸声板的制备方法

本发明公开了一种轨道交通用炭纤维低密度复合材料吸声板的制备方法,采用短纤维针刺体作为预制体骨架,采用树脂浸渍、固化、炭化的工艺进行硬化处理。该方法为:一、采用炭纤维针刺体作为预制体材料;二、树脂浸渍液的配置;三、树脂浸渍;四、固化处理;五、炭化处理;六、机械加工后,制得轨道交通用炭纤维低密度复合材料吸声板。本发明采用炭纤维作为骨架,树脂炭基体作为增强体的低密度、多孔炭/炭吸声板,具有防水、防火、抗老化、抗冲击能力好,用材低能耗、环保、废弃后对环境无污染,在使用过程中,吸声效果好等优点。

标签:
复合材料
江苏 - 泰州 来源:北方有色网 2023-03-18
炭纤维复合材料隔音板的制备方法

本发明公开了一种炭纤维复合材料隔音板的制备方法,该方法为:一、采用短切炭纤维、炭粉、石墨粉、硼粉、树脂作为主要原材料;二、按一定比例配置炭纤维混合物;三、压制固化成型;四、炭化处理;五、树脂溶液浸渍、固化、炭化处理;六、机械加工后,制得炭纤维复合材料隔音板。本发明采用炭纤维作为骨架、树脂炭基体、炭粉作为增强体、石墨粉作为润滑剂、硼粉的耐磨性等特点的炭/炭隔音板,具有防水、防火、抗老化、抗冲击能力好,用材低能耗、环保、废弃后对环境无污染,在使用过程中,隔音效果好等优点。

标签:
复合材料
江苏 - 泰州 来源:北方有色网 2023-03-18
建筑用粘胶基炭纤维低密度复合材料吸声板制备方法

本发明公开了一种建筑用粘胶基炭纤维低密度复合材料吸声板的制备方法,采用短纤维针刺体作为预制体骨架,采用树脂浸渍、固化、炭化的工艺进行硬化处理。该方法为:一、采用粘胶基炭纤维针刺体作为预制体材料;二、树脂浸渍液的配置;三、树脂浸渍;四、固化处理;五、炭化处理;六、机械加工后,制得建筑用粘胶基炭纤维低密度复合材料吸声板。本发明采用粘胶基炭纤维作为骨架,树脂炭基体作为增强体的低密度、多孔炭/炭吸声板,具有防水、防火、抗老化、抗冲击能力好,用材低能耗、环保、废弃后对环境无污染,在使用过程中,吸声效果好等优点。

标签:
复合材料
江苏 - 泰州 来源:北方有色网 2023-03-18
纳米增强的环保型AS‑GF复合材料及其制备方法

本发明提供了一种纳米增强的环保型AS‑GF复合材料,按照重量百分比由以下组分组成:AS  60~74%;GF  25~30%;纳米增强剂0.3~5.0%;助剂:0.7~5.0%。本发明具有如下技术效果:本发明通过在产品体系中引入了安全环保的纳米增强剂及其它助剂,与AS和GF协同作用,纳米增强后的AS‑GF复合材料改善了材料强度低和不易达到ROHS要求的技术问题。该材料的拉伸强度有明显的提高,韧性较好,成本低廉、环保效果好、制备工艺简单,可用于制备耐油机械零件、仪表壳(盘)、空调风扇叶片、贯流风叶等。

标签:
复合材料
江苏 - 泰州 来源:北方有色网 2023-03-18
疏水微生物蛋白质/聚乙烯‑乙酸乙烯复合材料及制备方法

本发明公开了一种疏水微生物蛋白质/聚乙烯‑乙酸乙烯复合材料及制备方法,其主要组分及各组分的重量份数为:疏水微生物蛋白质30~60份,聚乙烯‑乙酸乙烯40~70份,润滑剂1~3份,增塑剂1~10份,气味吸附剂1‑3份。制备方法是将疏水微生物蛋白质、润滑剂、增塑剂和气味吸附剂,置于高速搅拌机中充分搅拌10~30分钟;再将聚乙烯‑乙酸乙烯加入到上述混合物中,充分搅拌10~30分钟。混合物置于40~80℃下干燥6~12小时后,通过同向双螺杆挤出机在90~140℃,螺杆转速为100~600转/分钟挤出造粒。本发明的复合材料具有优良的综合性能,可广泛应用于鞋中底、鞋垫、防滑垫、瑜伽垫等领域。

标签:
复合材料
江苏 - 泰州 来源:北方有色网 2023-03-18
聚乙烯复合材料粘接用改性聚乙烯树脂及其制备方法

本发明公开了一种聚乙烯复合材料粘接用改性聚乙烯树脂及其制备方法.。该改性聚乙烯树脂由如下重量百分比配比的组份制备得到:高密度聚乙烯:55-75%,中密度聚乙烯:10-20%,高密度聚乙烯马来酸酐接枝物:15%-25%,抗氧剂:0.1-3%,硅烷:1-5%,纳米碳酸钙:1-15%。其制备方法为:按照配比称取重量,在高速混合机中混合均匀待用;将上述混合物加入双螺杆挤出机料斗中进行熔融反应挤出,主机转速150r/min,喂料转速80r/min,挤出温度140℃-230℃;经切料机造粒,即制备得到本发明的聚乙烯复合材料粘接用改性聚乙烯树脂。本发明是一种能大幅度提高超高复合管材承压能力的聚乙烯复合材料粘接用改性聚乙烯树脂。

标签:
复合材料
江苏 - 泰州 来源:北方有色网 2023-03-18
石墨烯丁苯橡胶导电复合材料制备用原料混合装置

本实用新型涉及复合材料科学技术领域,尤其涉及一种石墨烯丁苯橡胶导电复合材料制备用原料混合装置,包括搅拌釜,搅拌釜顶端设有搅拌盖,搅拌盖两侧均连接有进料口,且搅拌盖顶端固定安装有旋转电机,旋转电机连接有搅拌轴,搅拌釜底部设有连接架,搅拌轴外侧设有螺旋叶片,且搅拌轴两端固定安装有两个连接杆,连接杆的一端连接有刮板,且搅拌釜内壁设有加热模块,搅拌釜底部安装有出料口,且出料口的一端连接有电动阀门,搅拌釜底部连接有支架,搅拌盖顶端连接有两个真空管,且真空管的一端连接有空气处理器。本实用新型,不但能够处理混合装置内的有害气体,而且便于清理,具有极强的实用性。

标签:
复合材料
江苏 - 泰州 来源:北方有色网 2023-03-18
超高阻尼橡胶复合材料及其制备工艺

本发明涉及橡胶技术领域,本发明公开了一种超高阻尼橡胶复合材料,包括以下重量份的组分:丁基橡胶100‑120份、空心微球30‑70份、石油树脂20‑50份、氧化锌5‑10份、硬脂酸5‑10份、偶联剂1‑3份、硫化剂2‑5份、防老剂2‑5份。本发明通过空心微球与粉体分别作为填料加入丁基橡胶中制备橡胶复合材料阻尼性能明显提高,其定伸强度更大,由此制备的橡胶支座承载力更大,制备得到的高阻尼橡胶复合材料具有良好的物理机械性能,其具有低硬度的同时还具有高阻尼性能,同时不会对材料的稳定性产生过度的影响。

标签:
复合材料
江苏 - 泰州 来源:北方有色网 2023-03-18
石墨烯改性炭纤维复合材料隔音板的制备方法

本发明公开了一种石墨烯改性炭纤维复合材料隔音板的制备方法,该方法为:一、采用短切炭纤维、炭粉、石墨粉、硼粉、树脂作为主要原材料,并添加适量的石墨烯材料;二、按一定比例配置炭纤维混合物;三、压制固化成型;四、炭化处理;五、树脂溶液浸渍、固化、炭化处理;六、机械加工后,制得石墨烯改性炭纤维复合材料隔音板。本发明采用炭纤维作为骨架、树脂炭基体、炭粉作为增强体、石墨粉作为润滑剂、硼粉的耐磨性以及石墨烯具有高强度、高导电性以及高导热性能等特点的炭/炭隔音板,具有防水、防火、抗老化、抗冲击能力好,用材低能耗、环保、废弃后对环境无污染,在使用过程中,隔音效果好等优点。

标签:
复合材料
江苏 - 泰州 来源:北方有色网 2023-03-18
重载汽车用耐磨沥青基复合材料刹车片的制备方法

本发明公开了一种重载汽车用耐磨沥青基复合材料刹车片的制备方法,该方法为:一、采用短切炭纤维、炭粉、石墨粉、硼粉、沥青作为主要原材料;二、按一定比例配置炭纤维混合物;三、压制固化成型;四、炭化处理;五、沥青溶液浸渍、固化、炭化处理;六、机械加工后,制得重载汽车用耐磨沥青基复合材料刹车片。本发明采用炭纤维作为骨架、沥青炭基体、炭粉作为增强体、石墨粉作为润滑剂、硼粉的耐磨性等特点制备的重载汽车用耐磨沥青基复合材料刹车片,具有力学性能优异,机械强度高、抗冲击韧性好、耐磨性好、使用寿命长等优点。

标签:
复合材料
江苏 - 泰州 来源:北方有色网 2023-03-18
无机复合材料浇注厨房排气烟道

本发明公开了一种无机复合材料浇注厨房排气烟道,由无机复合材料制作而成,所述无机复合材料由胶凝材料、骨料、添加剂加水混合而成,且胶凝材料、骨料和添加剂的重量百分比为:胶凝材料77~84%、骨料12~20%、添加剂3~4%,且上述各组分重量百分比的总和为100%。本发明提出的厨房排气烟道,固体废弃物利用率高,生产工艺简单,生产成本低,具有防火和防水性能,且质量轻,抗压强度高,通风顺畅阻力小,不易挂污结垢,清理周期长,而且终凝时间短,机械化程度高,模具周转快,产能大,质量稳定可靠,同时厨房排气烟道通过浇铸成型,无需振动,无噪音、无污染,功耗小。

标签:
复合材料
江苏 - 泰州 来源:北方有色网 2023-03-18
PTFE高频金属基纳米复合材料电路基板的制作方法

一种PTFE高频金属基纳米复合材料电路基板的制作方法,包括(1)制作基板纳米复合介质层,采用PTFE粉和TiO2粉按一定比例进行混合并加入半固态纳米复合材料,复合介质材料置于模具中经高温压合形成基板纳米复合介质材料层;(2)制作PTFE分散液与玻璃布浸胶粘结片,然后高温烧结后制得玻璃布浸胶粘胶片;(3)制作PTFE高频金属基纳米复合材料电路基板将绝缘介质材料层设置在铜箔的上方后经高温环境带压加工压制成型;本发明的优点是:具有良好的强度和绝缘性能,制作成本低,适用钻孔、冲剪及切割等常规机械加工,降低加工成本,能承受机械和热应力,适用功率组件表面贴装SMT工艺,无需散热器,体积大大缩小,散热效果极好。

标签:
复合材料
江苏 - 泰州 来源:北方有色网 2023-03-18
复合材料保温模板墙体与保温外墙交接处构造机构

本实用新型提供一种复合材料保温模板墙体与保温外墙交接处构造机构,包括依次设置的现浇混凝土墙体和自保温外墙,其中现浇混凝土墙体和所述自保温外墙的其中一侧均与内表面防水抹面砂浆层连接固定且另一侧与外墙面防水抹面砂浆层和外墙面连接固定;现浇混凝土墙体与所述外墙面防水抹面砂浆层之间设有外墙面复合材料保温模板;外墙面防水抹面砂浆层内嵌入设置外墙面增强网;其中专用锚固钉穿过外墙面复合材料保温模板与所述现浇混凝土墙体连接固定;后置保温锚栓依次穿过外墙面增强网和外墙面防水抹面砂浆层与自保温外墙连接固定;其中内表面防水抹面砂浆层上嵌入固定内表面耐碱玻璃纤维网格布。本实用新型设计合理,不变形,抗压抗噪、固定结合力强。

标签:
复合材料
江苏 - 泰州 来源:北方有色网 2023-03-18
具有盲埋孔的纳米复合材料电路板

本实用新型公开纳米复合材料电路板,属于电路板制作领域,具体涉及一种具有盲埋孔的纳米复合材料电路板;本实用新型为解决现有技术中传统的电路板盲孔和埋孔加工时间长、电磁干扰强烈的问题。一种具有盲埋孔的纳米复合材料电路板,包括基层,基层上部设有布线层,布线层设有盲孔和埋孔,盲孔均上覆电镀层,埋孔内腔均设有接地线插口,基层底部设有覆膜层。本实用新型采用纳米复合材料作为电路板的覆膜层,电路板弹性高,耐磨性好,加工时间短,成型效果好,抗电磁干扰能力强,功能多样,易于实现。

标签:
复合材料
江苏 - 泰州 来源:北方有色网 2023-03-18
上一页 59 60 61 62 63 ... 65 下一页
共65页    到第

北方有色为您提供最新的江苏泰州有色金属材料制备及加工技术理论与应用信息,涵盖发明专利、权利要求、说明书、技术领域、背景技术、实用新型内容及具体实施方式等有色技术内容。打造最具专业性的有色金属技术理论与应用平台!

全国热门有色金属设备推荐
展开更多 +
全国热门有色金属技术推荐
展开更多 +

 

江西省隆恩特环保设备有限公司
宣传

报名参会
更多+

报告下载

有色专家
更多+

蒙纳士苏州校区
中国工程院外籍院士/校长
北京科技大学
教授
石家庄铁道大学
团委书记/副教授
国家钨与稀土产品质量检验检测中心
主任
北京工业大学、中国工程院
中国工程院 院士
赤泥综合利用研究报告2025
推广

热门技术
更多+

推荐企业
更多+

福建省金龙稀土股份有限公司
宣传

发布

在线客服

公众号

电话

顶部
咨询电话:
010-88793500-807