青岛垚鑫智能科技有限公司
宣传

位置:中冶有色 >

有色技术频道 >

> 加工技术

分类:
全部
矿山技术
冶金技术
材料制备及加工技术
环境保护技术
分析检测技术
 
全部
功能材料技术
复合材料技术
新能源材料技术
合金材料技术
加工技术
地区:
全部
北京
天津
上海
重庆
河北
山西
辽宁
吉林
黑龙江
江苏
浙江
安徽
福建
江西
山东
河南
湖北
湖南
广东
海南
四川
贵州
云南
陕西
甘肃
青海
内蒙
广西
西藏
宁夏
新疆
其他
其他
展开
 
全部
广州
韶关
深圳
珠海
汕头
佛山
江门
湛江
茂名
肇庆
惠州
梅州
汕尾
河源
阳江
清远
东莞
中山
潮州
揭阳
云浮

广东佛山有色金属加工技术理论与应用

免费发布技术信息>>
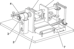
锂电池用自动分离设备

本实用新型涉及一种分离设备,尤其涉及一种锂电池用自动分离设备。本实用新型提供一种能间隔更换锂电池的分离位置,同时能快速将锂电池分离,而且能集中对分离的锂电池进行收集的锂电池用自动分离设备。一种锂电池用自动分离设备,包括有第一底板、支撑架和电机,第一底板顶部左侧固接有支撑架,支撑架顶部通过螺栓固接有电机,还包括有夹紧机构和切割机构,第一底板顶部中间滑动式设有夹紧机构,第一底板顶部中间安装有切割机构,切割机构与电机的输出轴连接。本实用新型通过设有夹紧机构,夹紧机构与切割机构配合,能够实现锂电池的夹紧和分离工作;推送机构与切割机构配合,能间隔的向前侧推动第一支撑块,一下的减轻了工人的劳动强度。

标签:
加工技术
广东 - 佛山 来源:中冶有色网 2023-03-18
锂空气电池系统
锂空气电池系统 702     
 0

本实用新型公开了一种锂空气电池系统,包括锂空气电池和电解质溶剂回收装置;本实用新的锂空气电池系统通过设置电解质溶剂回收装置,将锂空气电池内部蒸发的电解质溶剂进行回收并将回收的电解质溶剂注入锂空气电池中,以稳定且连续地使用锂空气电池,提高锂空气电池的稳定性和耐久性。

标签:
加工技术
广东 - 佛山 来源:中冶有色网 2023-03-18
从退役电池中选择性提锂的方法及其应用

本发明公开了一种从退役电池中选择性提锂的方法及其应用,该方法基于二价锰离子和锂离子之间的离子交换作用,将正极材料和二价锰盐以一定比例混合并制备成浆料,通过球磨过程使二价锰盐和正极材料充分混合,有效地破坏了正极材料的晶格结构,以此降低二价锰离子和锂离子交换的活化能,大大降低了后续提锂过程所需的反应能,将球磨后的混料在较低温度下进行焙烧,使得锰盐中的二价锰占据层状结构中的锂位,直接进行锰锂置换,得到单纯的含锂浸出液,本法极大地提高了锂的浸出率和选择性。本发明采用先球磨混料再焙烧的方式,能耗低,安全性高,锂的浸出率和选择性优良,具有极大的应用前景。

标签:
加工技术
广东 - 佛山 来源:中冶有色网 2023-03-18
电池级碳酸锂的制备方法

本发明公开了一种电池级碳酸锂的制备方法,涉及电池级碳酸锂技术领域。该制备方法包括向含锂母液中加入碳酸钠溶液进行高温沉锂得到粗碳酸锂;对粗碳酸锂进行氢化反应和热分解反应的多段循环操作:将粗碳酸锂与水混合制成纯水浆料,通入二氧化碳进行氢化反应直至碳酸锂完全溶解,过滤得到碳酸氢锂溶液;加热碳酸氢锂溶液至沉淀生成,分离高纯碳酸锂和含锂滤液;将含锂滤液返回与另一份粗碳酸锂混合进行滤液制浆形成滤液浆料;多段循环操作的循环次数至少为4次。本申请通过重复利用热分解反应后的含锂滤液制浆,大大减少纯水用量。由于碳酸锂溶解度的问题,纯水用量越少,相应溶解的碳酸锂就会越少,固体碳酸锂转化率得到较大提升。

标签:
加工技术
广东 - 佛山 来源:中冶有色网 2023-03-18
具有阻燃能力的铝锂合金

本发明公开了一种具有阻燃能力的铝锂合金,所述铝锂合金的化学成分及重量百分比为:Li为1.0~1.4%、Si为1.0~1.4%、Mg为1.3~1.5%、Ag为0.1~0.13%,Zr为0.08~0.1%、La为0.4~0.6%、Sc为0.1~0.5%、Cd为1.0%~1.5%、B为0.5%~1.0%,余量为Al。本对所述铝锂合金采用真空熔炼,多道次轧制的制备方法。本发明通过优化所述铝锂合金的成分配比,并添加稀土元素La及Sc,改变了熔体表面生成的氧化膜和氮化膜的类型,成分和含量,从而有效地防止在熔炼状态下铝锂合金发生燃烧现象进行烧损;优化所述铝锂合金的相结构及微观组织,使得所述铝锂合金具有高强度及优异的塑韧性。本发明用于在使用温度为200℃以下结构件并具有极其显著的轻量化和减振效果。

标签:
加工技术
广东 - 佛山 来源:中冶有色网 2023-03-18
高密度动力型镍钴锰酸锂正极材料的制备方法

本发明公开了一种高密度动力型镍钴锰酸锂正极材料的制备方法。这种高密度动力型镍钴锰酸锂正极材料的制备方法,包括以下步骤:1)将镍钴锰氢氧化物和锂源混合,加入助研剂,球磨,再加入分散剂,搅拌,得到颗粒团聚物;2)将颗粒团聚物放入模具中,压实,得到坯料;3)将坯料在空气气氛下加热,再通入氧气进行热等静压烧结,得到镍钴锰酸锂粗产品;4)将镍钴锰酸锂粗产品破碎,得到镍钴锰酸锂正极材料。本发明制备得到的镍钴锰酸锂正极材料具有很高的振实密度,有利于改善高镍材料的电性能。

标签:
加工技术
广东 - 佛山 来源:中冶有色网 2023-03-18
具有防摔功能的固态锂电池

本实用新型涉及锂电池技术领域,具体涉及一种具有防摔功能的固态锂电池,包括锂电池装置本体,所述锂电池装置本体的下表面抵触有减震装置,所述减震装置包括支撑板、第二滑块、第二滑槽、第一弹簧、限位杆、滑套、第二弹簧、凹槽、保护箱、保护板和连接杆,所述支撑板的下表面铰接有连接杆,所述连接杆的下表面铰接有第二滑块,所述第二滑块滑动连接在第二滑槽内,所述第二滑槽开设在保护箱内壁的下表面。该装置设置有减震装置第一弹簧、连接杆、第二滑块、第二滑槽、第二弹簧,可以实现本装置对蓄电进行弹性保护,当本装置受到碰撞或撞击时,可以防止锂电池装置本体会与保护箱之间产生撞击损坏,保障了锂电池装置本体的使用寿命。

标签:
加工技术
广东 - 佛山 来源:中冶有色网 2023-03-18
高强度镁锂合金
高强度镁锂合金 682     
 0

本发明公开了一种高强度镁锂合金,包括下述以重量百分数计的组分:Li 3~11%、Al 0.4~4.3%、Zr 0.1~1.2%、Si 0.2~1.3%、Y 0.1~1.1%、Nd 0.1~0.6%,余量为Mg。本发明通过同时添加Y及Nd两种元素,并且合理控制其添加量,使得提高了所述镁锂合金的热稳定性,并对镁锂合金基体起到了强化作用;并且本发明中所述镁锂合金中还添加了Zr,Zr元素能细化镁锂合金的铸态组织,对镁锂合金具有细晶强化的效果,能进一步提高所述镁锂合金的力学性能;本发明中所述镁锂合金还添加Si,其具有提高镁锂合金的蠕变抗力和稳定性能的作用。

标签:
加工技术
广东 - 佛山 来源:中冶有色网 2023-03-18
硅酸锂基吸附剂的制备方法及其应用

本发明公开了一种硅酸锂基吸附剂的制备方法及其应用,该方法包括将甲基丙烯酸丁酯、酸和有机溶剂混合搅拌,得到第一溶液,向第一溶液中加入硅酸锂、引发剂和N,N′‑亚甲基双丙烯酰胺,加热搅拌反应,得到第二溶液,第二溶液经低温脱水、降温、干燥,得到硅酸锂基聚合物,将硅酸锂基聚合物与第三溶液混合,在缺氧条件下进行低温碳化,即得硅酸锂基吸附剂,第三溶液由棉纤维、酒石酸和羧甲基纤维素与水混合得到。本发明制备得到的硅酸锂基吸附剂材料具有选择性吸附废水中的COD的功能,硅酸锂基吸附剂材料上锂的位点较多,对锂的吸附相应弱,吸附锂的能力较差,因此具有选择性吸附废水中COD,而对废水中锂的干扰小。

标签:
加工技术
广东 - 佛山 来源:中冶有色网 2023-03-18
石墨体系的不合格锂离子电池中负极材料再生利用方法

本发明公开了一种石墨体系的不合格锂离子电池负极材料再生利用方法,包括以下步骤:(1)将不合格锂离子电池负极极片投放于分离溶剂中,溶解石墨片料与集流体间的增稠剂,使石墨片料不再牢固的依附于集流体上;(2)将经过步骤(1)处理的石墨和集流体进行筛分,获得石墨渣料;(3)对石墨渣料进行氧化反应处理,除去石墨渣料中的金属杂质,获得初步提纯的石墨浆料;(4)将石墨浆料置于马弗炉中在650~700℃保温1~2h,除去石墨浆料中杂质,获得高纯的石墨粉料;(5)对石墨进行表面改性,获得电池级用的石墨粉料。该方法可高效回收负极材料中的石墨,实现石墨的回收与循环再生。

标签:
加工技术
广东 - 佛山 来源:中冶有色网 2023-03-18
锂电池正极材料再生利用的方法

本发明公开了一种锂电池正极材料再生利用的方法,通过对正极片进行碱浸去锂、两段补锂烧结,最终得到单晶型三元正极材料。首先,通过氢氧化钠溶液溶解掉正极片上残余的铝,并在溶解铝的过程中使正极材料中的锂进入溶液,使正极材料空出离子电位,经洗涤避免钠离子污染,干燥后与金属锂、硫化锂加热反应,使其晶格发生改变;二段补锂在一段补锂升温的基础上直接在氧气氛围下与锂源烧结,控制烧结方式与温度,得到单晶型三元正极材料团聚物,再经破碎后,经洗涤以除去表面残留的锂,干燥后即得到单晶型三元正极材料,其性能接近首次合成的单晶型正极材料。

标签:
加工技术
广东 - 佛山 来源:中冶有色网 2023-03-18
锂离子电池正极材料及其制备方法

本发明属于电池材料领域,具体涉及一种锂离子电池正极材料及其制备方法。该锂离子电池正极材料,包括氟掺杂的磷酸铁锂纳米材料和包覆在所述氟掺杂的磷酸铁锂纳米材料表面的碳包覆层,且所述氟掺杂的磷酸铁锂纳米材料的通式为:Li1+xFePO4Fx;其中,x>0。该锂离子电池正极材料,相对现有的磷酸铁锂材料,具有更好的充放电容量及倍率性的电化学性能。

标签:
加工技术
广东 - 佛山 来源:中冶有色网 2023-03-18
用于锂电池生产的卷绕注液装置

本实用新型涉及锂电池生产技术领域,公开了一种用于锂电池生产的卷绕注液装置,包括柜体,所述柜体下方的四角均设置有支腿,所述柜体上方的一端设置有储液箱,所述储液箱的一侧设置有出液管,所述出液管的底端贯穿在柜体的内部,所述出液管的底部设置有注液头,所述出液管上靠近注液头的上方设置有密封圈,所述出液管上设置有液体流量传感器。本实用新型通过在柜体的内部设置有放置槽,放置槽上设置有防滑垫,便于将锂电池放置在放置槽上,利用两侧的夹板对锂电池进行固定,防止锂电池在移动的过程中出现晃动,同时夹板和放置槽之间均设置有弹簧,便于可以根据锂电池的大小调节夹板之间的距离,使得放置槽的适用性更好。

标签:
加工技术
广东 - 佛山 来源:中冶有色网 2023-03-18
可循环使用软包锂电池模块

本实用新型公开了一种可循环使用软包锂电池模块,包括极耳汇流条、安全极耳和软包锂离子二次电池,所述极耳汇流条上开有极耳槽、极耳固定孔和汇流条连接孔,所述安全极耳的后端与软包锂离子二次电池内部的电芯极片焊接,所述安全极耳伸出软包锂离子二次电池外部分处设置有过电流熔断保险丝;该电池模块根据锂电池模块的工作需要,通过合理的结构改良,尤其是通过极耳汇流条和安全极耳结构的优化,通过安全极耳前端的固定螺栓和极耳汇流条上的极耳固定孔可以固定和拆卸塑膜软包锂离子二次单体电池,方便电池拆卸更换,不会损伤电池组,安全极耳过电流熔断保险丝设计,可在短路和大电流条件下及时熔断保护电池。

标签:
加工技术
广东 - 佛山 来源:中冶有色网 2023-03-18
生物炭/氢氧化锂复合材料及其制备方法

本发明涉及一种生物炭/氢氧化锂复合材料及其制备方法,属于低温化学蓄热材料的技术领域。本发明采用碱活化的生物炭与一水合氢氧化锂进行复合得到生物炭/氢氧化锂复合材料,将两者的优势相结合,提升了一水合氢氧化锂的蓄热密度,同时提高了体系的稳定性。本发明制备的生物炭/氢氧化锂复合材料相比于相同水合时间下的氢氧化锂单体,具有更高的蓄热密度;由于生物炭良好的吸附性,载体内的氢氧化锂与水分子结合的速率也大于氢氧化锂单体与水分子的结合速率。该生物炭/氢氧化锂复合材料水合仅10min后,其蓄热密度达到3089.6kJ/kg,比当前报道复合材料的蓄热密度显著提高。

标签:
加工技术
广东 - 佛山 来源:中冶有色网 2023-03-18
动力型镍钴锰酸锂的制备设备及方法

本发明公开了一种动力型镍钴锰酸锂的制备设备及方法。这种动力型镍钴锰酸锂的制备设备包括扰动氧气氛烧结装置和螺杆挤压烧结装置。还公开了一种动力型镍钴锰酸锂的制备方法,包括以下步骤:1)将镍钴锰氢氧化物和锂源混合均匀,得到混合粉;2)将混合粉投入这种制备设备中,依次进行扰动氧气气氛烧结和螺杆挤压烧结,得到镍钴锰酸锂粗产品;3)将镍钴锰酸锂粗产品破碎筛分,得到动力型镍钴锰酸锂正极材料。通过本发明的制备设备制备动力型镍钴锰酸锂,能显著提高镍钴锰酸锂的振实密度,进而提高电池材料的比容量;同时正极材料整体结构致密,颗粒不易断裂和粉化,寿命大大延长。

标签:
加工技术
广东 - 佛山 来源:中冶有色网 2023-03-18
锂离子电池结构及其制备方法

本发明公开了一种锂离子电池结构及其制备方法,其包括有电芯及其引出电极,所述电芯外包裹有至少一层包装膜,包装膜是铝塑复合膜或塑料复合膜,且引出电极延伸出包装膜外;此款锂离子电池及其制备方法,采用多层铝塑复合膜或塑料复合膜作为包装膜,经多次封口工序,制备成使用寿命长的锂离子电池,采用此结构的电池,可有效防止包装膜角处和其他部位破裂,防止包装膜封口处开裂,减少电池鼓气现象,提高包装膜的阻隔性能和密封性能,延长电池的使用寿命,特别适用于大功率长寿命动力电池。

标签:
加工技术
广东 - 佛山 来源:中冶有色网 2023-03-18
用于共享充电的锂电池

本实用新型涉及共享充电设备技术领域,具体涉及一种用于共享充电的锂电池,包括主体机构,所述主体机构包括锂电池本体,所述锂电池本体的两侧固定有缓冲机构,所述缓冲机构包括第一固定块、第一固定板、第二固定块、第二固定板、第一伸缩杆、第一弹簧、第二伸缩杆。本实用新型设置有第一固定块和第一固定板,配合第一伸缩杆和第一弹簧,使锂电池本体在遇到震动的时候能有缓冲,避免锂电池本体受到损伤,在遇到震动时,第一弹簧对锂电池本体进行拉扯和回弹,减少锂电池本体晃动的幅度,提升装置的安全性,提高装置的工作效率。

标签:
加工技术
广东 - 佛山 来源:中冶有色网 2023-03-18
基于动力锂电池的行程计量的电池租赁系统

本实用新型公开了一种基于动力锂电池的行程计量的电池租赁系统,当动力锂电池安装在电动自行车或电动汽车上使用时,通过采用动力锂电池在租赁期内实际的行驶行程占动力锂电池在使用寿命内所能转化的总行驶行程的百分比,根据百分比计算租赁期内的动力锂电池的租赁费用,这种计费方式是基于用户实际使用动力锂电池的情况而进行的,无论用户租赁期的长短,只有当用户实际使用动力锂电池才会进行计费,符合实际,满足用户对动力锂电池交易消费的要求;这种计费方式也会促进动力锂电池生产企业进行技术升级,提升动力锂电池的质量参数,提高动力锂电池的市场竞争能力。

标签:
加工技术
广东 - 佛山 来源:中冶有色网 2023-03-18
利用废旧磷酸氧钒锂电池制备正极材料的方法

本发明公开了一种利用废旧磷酸氧钒锂电池制备正极材料的方法,包括以下步骤:(1)将废旧磷酸氧钒锂电池拆解得到正极,粉碎后得到粉料;(2)将粉料焙烧后,与碱性溶液混合,反应后固液分离,得到固态物;(3)将固态物进行氧化处理,得到氧化产物;(4)检测步骤(3)得到的氧化产物中的锂、钒及磷元素的含量,并根据检测结果补充锂源、钒源或磷源与所述氧化产物进行混料,得到混合物,使混合物中锂、钒及磷元素的摩尔比为(1‑1.5):(1‑1.5):1;(5)将步骤(4)得到的混合物进行煅烧后破碎过筛,得到磷酸氧钒锂正极材料。该方法能直接从废旧磷酸氧钒锂电池中回收制备磷酸氧钒锂正极材料,工艺简单。

标签:
加工技术
广东 - 佛山 来源:中冶有色网 2023-03-18
复合锂离子电池隔膜及其制备方法

本发明公开了一种复合锂离子电池隔膜及其制备方法。复合锂离子电池隔膜包括作为骨架的无纺布和由聚甲基丙烯酸甲酯聚合物混合液在无纺布上形成的具有三维交联网络的复合膜。本发明采用无纺布骨架、聚合物修复的复合结构,达到改善锂离子电池功率性能,提高锂离子电池安全性能。本发明所述的复合锂离子电池隔膜的制备方法,使用PMMA作为聚合物进行浸涂,通过在PMMA溶液中添加适量交联剂,在适当的条件下引发其聚合,形成三维交联网络,在PMMA聚合物中起一定的骨架作用,犹如钢筋混泥土中的钢筋作用类似,以显著提高隔膜的力学强度,同时降低对隔膜的透气性、电解液浸润性等性能影响。

标签:
加工技术
广东 - 佛山 来源:中冶有色网 2023-03-18
燃料发电配套用锂电池检测方法及系统

本发明提供燃料发电配套用锂电池检测方法及系统,方法包括接收用户的查询指令,并将所述查询指令发送给电池管理设备;接收电池管理设备返回的查询数据,所述查询数据由电池管理设备根据查询指令查询得到;所述查询数据包括以下一种或几种数据的组合:SOC、总电压、最低单体电压、最高单体电压、最高单体温度和最低单体温度;对所述查询数据进行分析,得到锂电池的安全状态。该方法可以监控锂电池的多种数据,包括SOC、总电压、最低单体电压、最高单体电压、最高单体温度和最低单体温度,并根据监控到的数据分析锂电池的安全状态,能够全面地监测锂电池的使用情况。

标签:
加工技术
广东 - 佛山 来源:中冶有色网 2023-03-18
废旧锂离子电池阴极材料的回收与再生的方法

本发明公开了一种废旧锂离子电池阴极材料的回收与再生的方法,属于锂离子电池材料制备和废旧资源循环再生利用领域。其技术方案的要点是:把回收的废旧电池进行分选,经过剥离去壳后和锂离子电池生产过程中产生的阴极废料(进行分选后)直接将其破碎、研磨,在不同的条件下进行除铝、酸浸、萃铜以及化学除杂等几种程序,分别生成氢氧化铝、炭黑、石墨、硫酸铜等副产品材料,经过上述程序后再往其中加一定浓度比例的沉淀剂即进行液相沉淀,加上锂源,二者在高温的环境下即可生成阴极材料。该技术方案成功实现了废旧锂离子电池阴极材料的有价成分回收和阴极材料再生。

标签:
加工技术
广东 - 佛山 来源:中冶有色网 2023-03-18
扣式锂电池封口装置
扣式锂电池封口装置 901     
 0

一种扣式锂电池封口装置,包括支撑架、压合组件及传输组件,压合组件包括导杆、滑块、冲头及成型模,滑块滑设于导杆,冲头安装于滑块,成型模与冲头配合压合扣式锂电池;传输组件包括输送链、送料件、出料件、送料感应件及出料感应件,输送链传送扣式锂电池,输送链安装于成型模的一侧,送料件与出料件分别设置于输送链的两侧,送料件推送输送链的扣式锂电池至成型模,出料件推送成型模的扣式锂电池至输送链,送料感应件与出料感应件间隔设置于输送链上。本装置的输送链将扣式锂电池传送至送料感应件,送料件再将锂电池推送至成型模,冲头与成型模配合压合扣式锂电池,出料件再将锂电池推送至出料感应件,输送链再次传送锂电池,实现自动封口。

标签:
加工技术
广东 - 佛山 来源:中冶有色网 2023-03-18
应用于电动汽车可拉回家充电的便携式锂电池

本实用新型提出了一种应用于电动汽车可拉回家充电的便携式锂电池,包括电池本体,电池本体套接配合箱体,电池本体设置有电池输出口、家用充电口和充电桩充电接口,箱体设置有套接槽,套接槽靠近电池本体底部设置有第一绝缘缓冲垫,套接槽靠近电池本体顶部设置有封盖,封盖靠近电池本体的一侧设置有第二绝缘缓冲垫,箱体滑动配合拉杆机构。通过设置了可移动的箱体存储锂电池,方便将锂电池取下拿回家充电,避免因没有充电桩而导致无法充电的问题;在锂电池上设置了电池输出口、家用充电口、充电桩充电接口,可以实现电动汽车锂电池的可取下;设置拉杆机构,实现拉杆的自动锁定及按钮解锁的伸缩动作。

标签:
加工技术
广东 - 佛山 来源:中冶有色网 2023-03-18
锂离子电池复合极片
锂离子电池复合极片 1046     
 0

本实用新型一种锂离子电池复合极片,电池制备领域,具体涉及锂离子电池制备领域,其特征在于:复合极片的中间设有集流体层(1),集流体层(1)的上下两面各设有底涂层(2),两面底涂层的外面各设有活性物质层(3),活性物质层的外面各设有喷涂层(4),本实用新型不但解决了目前锂离子电池安全性能差、一致性难以控制等方面的缺陷,而且制备简单、一致性好、安全性高的锂离子复合极片,并应用于锂离子电池。

标签:
加工技术
广东 - 佛山 来源:中冶有色网 2023-03-18
退役锂离子电池电极材料回收方法及其应用

本发明公开了一种退役锂离子电池电极材料回收方法及其应用,包括将退役锂离子电池进行拆解,分离出负极片,将负极片用水或酸进行冲洗或浸泡,得到含锂溶液和脱锂负极片,含锂溶液经沉淀处理得到碳酸锂;将脱锂负极片在真空或惰性气氛下先进行低温煅烧使粘结剂融化,再进行高温煅烧使粘结剂碳化,得到碳包覆石墨材料。本发明对石墨负极的SEI膜中的锂资源进行回收,通过对负极片中的SEI膜进行冲洗或浸泡,使锂离子进入溶液中,实现了锂资源的回收,将负极片进行分步煅烧,使粘结剂PVDF先融化包覆于石墨表面,再在高温下使PVDF热解碳化,形成原位碳包覆的回收石墨材料,经过修饰的石墨仍然可以作为电极材料实现重复利用。

标签:
加工技术
广东 - 佛山 来源:中冶有色网 2023-03-18
锂电池防盗装置
锂电池防盗装置 748     
 0

本实用新型公开了一种锂电池防盗装置,包括箱体和锂电池,所述箱体内腔固定设有锂电池,所述锂电池顶部表面固定连接有正极,所述正极一侧固定设有负极,所述箱体内腔底部固定设有断电感应器。本实用新型通过箱体的内底部设有断电感应器,断电感应器通过电线与锂电池顶部的正极和负极进行连接,且断电感应器一侧通过电线与报警器经行连接,当有人盗窃锂电池的时候,将电线剪短造成断电时断电感应器则感应到断电,则将信号传播给报警器,报警器就会鸣叫发出警报声,引起注意,从而阻碍盗窃者盗取,箱体的顶部盖子上设有散热器,散热器对箱体内腔锂电池散发的热气进行驱散,提高锂电池的使用寿命,适合广泛使用并推广。

标签:
加工技术
广东 - 佛山 来源:中冶有色网 2023-03-18
用于扣式锂电池托盘的自动分离装置

本实用新型涉及一种用于扣式锂电池托盘的自动分离装置,包括装载组件与取料组件,装载组件包括支撑架与连接支撑架的载盘,载盘用于放置扣式锂电池托盘,取料组件包括固定架、横向滑块、升降滑块、位置感应件、吹气件及取料件,横向滑块滑设于固定架,升降滑块滑设于横向滑块,位置感应件、取料件及吹气件均安装于升降滑块上,位置感应件用于感应扣式锂电池托盘的位置,吹气件用于朝相邻的两个扣式锂电池托盘的间隙吹气。本用于扣式锂电池托盘的自动分离装置通过位置感应件感应扣式锂电池托盘的位置而控制升降滑块的移动,通过吹气件吹开相邻的两个扣式锂电池托盘,确保取料件每次只取走一个扣式锂电池托盘,使用方便、提高效率。

标签:
加工技术
广东 - 佛山 来源:中冶有色网 2023-03-18
锂电池组网上租赁系统
锂电池组网上租赁系统 1020     
 0

本实用新型公开了一种锂电池组网上租赁系统,用户通过锂电池网上租赁,可以在互联网上实现不同生产商锂电池的性能品质,通过租赁实现锂电池的租赁使用,当发现锂电池不能满足使用要求时,可以更换其他锂电池进行使用,在满足锂电池使用要求的同时,促进锂电池的行业升级,淘汰落后产能;将交易数据上传至云端服务器,云端服务器可以对这些数据进行统计分析,将分析结果反馈至各锂电池企业,促进锂电池行业的发展。

标签:
加工技术
广东 - 佛山 来源:中冶有色网 2023-03-18
上一页 54 55 56 57 58 ... 60 下一页
共60页    到第

中冶有色为您提供最新的广东佛山有色金属加工技术理论与应用信息,涵盖发明专利、权利要求、说明书、技术领域、背景技术、实用新型内容及具体实施方式等有色技术内容。打造最具专业性的有色金属技术理论与应用平台!

全国热门有色金属设备推荐
展开更多 +
全国热门有色金属技术推荐
展开更多 +

 

江西省隆恩特环保设备有限公司
宣传

报名参会
更多+

报告下载

有色专家
更多+

西北稀有金属材料研究院宁夏有限公司
党委书记 / 董事长
东北大学
院长/教授
蒙纳士苏州校区
中国工程院外籍院士/校长
中南大学
中国工程院院士
中国瑞林工程技术有限公司
中国工程院院士
赤泥综合利用研究报告2025
推广

热门技术
更多+

推荐企业
更多+

福建省金龙稀土股份有限公司
宣传

发布

在线客服

公众号

电话

顶部
咨询电话:
010-88793500-807