青岛垚鑫智能科技有限公司
宣传

位置:中冶有色 >

有色技术频道 >

分类:
全部
矿山技术
冶金技术
材料制备及加工技术
环境保护技术
分析检测技术
 
全部
功能材料技术
复合材料技术
新能源材料技术
合金材料技术
加工技术
地区:
全部
北京
天津
上海
重庆
河北
山西
辽宁
吉林
黑龙江
江苏
浙江
安徽
福建
江西
山东
河南
湖北
湖南
广东
海南
四川
贵州
云南
陕西
甘肃
青海
内蒙
广西
西藏
宁夏
新疆
其他
其他
展开
 
全部
上海

上海有色金属材料制备及加工技术理论与应用

免费发布技术信息>>
碳玻混杂纤维复合材料压缩疲劳防失稳的工装

一种碳玻混杂纤维复合材料压缩疲劳防失稳的工装,包括:主体机构、锁紧块和辅料橡胶块,锁紧块与主体机构两侧连接,辅料橡胶块与主体机构内侧连接,主体机构通过辅料橡胶块与试样连接。其中,主体机构包括:第一主体块、第二主体块、第一防失稳固定导块和第二防失稳固定导块。本实用新型与传统技术相比,通过在主体机构上增设防失稳固定导块,能有效防止压缩疲劳试样左右偏移,工字型内部贴合辅料橡胶块与压缩疲劳试样测试区域接触,橡胶块的弹性既能起到固定作用,又不影响疲劳测试过程循环运动。

标签:
复合材料
上海 - 上海 来源:中冶有色网 2023-03-18
复合材料预防面料缠绕装置

本实用新型公开了一种复合材料预防面料缠绕装置,本实用新型预防面料缠绕装置,突破性地改进了原有技术上的缺陷,提升了我司自主研发创新的科技含量和技术水平,相比技术背景中存在的问题,现在新型预防面料缠绕装置的效益在于,面料从此不会倒缠到滚筒上,减少了面料破损,也就减少了原料无谓的损耗,从而降低了生产投入成本,提高了生产毛利率;又因复合设备不再会因面料倒缠,而被迫停机拆卸,保证了整个生产的连续性;提高了机器运转率和生产进度;更重要的是消除了因面料倒缠而产生的安全隐患,减少了工伤事故。

标签:
复合材料
上海 - 上海 来源:中冶有色网 2023-03-18
环保型复合材料的花袋

本实用新型涉及一种环保型复合材料的花袋,该花袋包括前袋、后袋和袋口,所述的前袋、后袋的截面为层状结构,其中,中间层为纸层,两面为淋膜层。与现有技术相比,本花袋两个面的承重能力由两层淋膜之间的纸层来承担,大大减少了聚乙烯的用量,所需信息印刷在纸层上,再进行双面淋膜,消除了包装印刷对商品造成污染的可能性,材料的配比灵活,适用范围广泛,采用热封压方式制造花袋,根据承受的重量大小来调整热封压线宽窄度,袋子的热封边会更加牢固。

标签:
复合材料
上海 - 上海 来源:中冶有色网 2023-03-18
热塑性蜂窝夹层复合材料

本实用新型涉及一种热塑性蜂窝夹层复合材料,包括上面板、无纺布层、胶粘层、塑料蜂窝芯材层及下面板,胶粘层有两层,分别设置在塑料蜂窝芯材层的上下表面,胶粘层与塑料蜂窝芯材层之间设置有无纺布层,上面板及下面板设在材料的上下表面,面板与胶粘层之间设有无纺布层。与现有技术相比,本实用新型具有很强的设计性、成型简单、成本较低、产品性能优良等优点。

标签:
复合材料
上海 - 上海 来源:中冶有色网 2023-03-18
仿刻花彩绘玻璃复合材料装饰板

本实用新型是一种仿制刻花彩绘的复合材料装饰板,它包括由短纤维与按比例混合而成的增强胶层1,由连续纤维编织而成的韧性牵连层2以及渗入防紫外线物质而形成的紫外线防护胶层3,所述的仿刻花彩绘的复合装饰板是在模具内浇注加压成型,经浇注热压上述的增强胶层1和韧性牵连层2的分界面已溶为一体,韧性牵连层2和紫外线防护层3的分界面已溶为一体。本实用新型可广泛用于现代建筑构件中。

标签:
复合材料
上海 - 上海 来源:中冶有色网 2023-03-18
基于光纤多参量传感自监测和微胶囊自修复的复合材料

本实用新型涉及一种基于光纤多参量传感自监测和微胶囊自修复的复合材料。包括聚合物材料基体(1),宽带光源(2),长周期光纤光栅(3),分束器(4),布喇格光纤光栅;材料固化前,在其关键部位埋入布喇格光纤光栅作为敏感元件,宽带光源的输出光经长周期光纤光栅(3)调制后,经1×n的分束器后被均分进入光纤布喇格光栅(5-13),光纤布喇格光栅的透射光进入光电转换模块(14)中相应的光电转换二极管中,然后均进入数据采集卡(15)和计算机(16),最后进行数据的处理和显示。本实用新型具有较高的智能性、安全性及可靠性,对于航空航天、建筑、军工、国防等领域具有重要意义。

标签:
复合材料
上海 - 上海 来源:中冶有色网 2023-03-18
桃皮绒贴合聚氨酯薄膜贴合桃皮绒的复合材料

本实用新型涉及一种桃皮绒贴合聚氨酯薄膜贴合桃皮绒的复合材料,包括:底面层和表面层;所述的底面层和表面层是桃皮绒;在所述的底面层和表面层之间安置一聚氨酯薄膜;所述的聚氨酯薄膜的双面通过聚氨酯树脂与底面层和表面层复合在一起;本实用新型的有益效果是:质地柔韧性好、良好的防水、良好的防油污、高剥离强度、适合医用的防体液、耐酸碱性和高清洁性洗涤;可广泛用于:医用隔离服、医用防化服、医用手术服。

标签:
复合材料
上海 - 上海 来源:中冶有色网 2023-03-18
低收缩耐刮擦高光泽免喷涂聚丙烯复合材料及其制备方法

本发明公开了一种低收缩耐刮擦高光泽免喷涂聚丙烯复合材料及其制备方法;该低收缩耐刮擦高光泽聚丙烯由以下重量份数的原料组成:聚丙烯树脂65‑85份,聚苯乙烯8‑15份,苯乙烯‑丁二烯嵌段共聚物4‑7份,相容剂5‑8份,高密度聚乙烯5‑10份,耐刮擦剂0.3‑0.6份,辅助助剂0.4‑0.8份,免喷涂效果粉0.6份。本发明的低收缩耐刮擦高光泽聚丙烯的收缩率为0.8‑1.2,其表面光泽度为82‑87,其能够匹配聚丙烯填充矿物的尺寸要求,又能赋予材料较高的光泽度和耐刮擦性能。该材料在家电、玩具和文具领域具有广泛的应用前景。

标签:
复合材料
上海 - 上海 来源:中冶有色网 2023-03-18
树枝状大分子包裹的纳米金颗粒复合材料及其制备和应用

本发明涉及一种树枝状大分子包裹的纳米金颗粒复合材料及其制备和应用,以第五代聚酰胺‑胺树状大分子为载体,在其表面修饰螯合和靶向分子,然后经过原位还原合成法包裹金纳米颗粒,最终负载CpG,即得。本发明制备工艺周期短,材料在使用剂量下毒性小,生物相容性好,不仅可以实现PET/CT双模态成像,还可以起到抗肿瘤免疫反应,具有潜在临床应用价值。

标签:
复合材料
上海 - 上海 来源:中冶有色网 2023-03-18
碳碳复合材料人造骨骼

本发明公开了一种碳碳复合材料人造骨骼,涉及医疗用品材料技术领域。本发明应用于人体或动物体内的人造骨骼材料领域,包括碳纤维预制体、热解石墨或热解碳及表面涂层;表面涂层采用羟基磷灰石层、珍珠层、高强度矿化水凝胶中一种,表面涂层方法包括浸渍、原位生长或喷涂;热解石墨或热解碳的填充具体采用气相沉积或浸渍烧结工艺;制造工艺包括:制造碳纤维预制体、填充增密并通过精密机加工形成胚体、表面涂层的方式获得人造骨骼。本发明相对于不锈钢以及钛合金金属质量更轻,密度更小的优点,具体密度可根据不同部位进行密度设计,满足不同部位的结构密度和强度要求,具有良好的生物相容性,并且各向异性,强度可以根据实际预制体进行设计。

标签:
复合材料
上海 - 上海 来源:中冶有色网 2023-03-18
树脂组合物、复合材料及其制备方法

本发明公开了一种树脂组合物、复合材料及其制备方法。本发明具体公开了一种树脂组合物,其包括组合物A和纤维增强体100‑500份;所述的组合物A包括:双环戊二烯为20‑95份、环氧树脂5‑80份、环氧树脂固化剂30‑70份、固化促进剂0.1‑3份和催化剂组合物0.1‑4份;所述的催化剂组合物包括如式I所示的钌卡宾化合物或其盐,和氯化石蜡;所述的氯化石蜡的含氯量为5%‑65%。本发明的树脂组合物可长期储存,由该树脂组合物制得的树脂材料具有良好的力学性能例如拉伸强度、拉伸模量和断裂伸长率,另外,该树脂材料的制备工艺适用于工业化连续生产。

标签:
复合材料
上海 - 上海 来源:中冶有色网 2023-03-18
FSAE赛车复合材料轮辋及其成型方法

本发明涉及一种FSAE赛车复合材料轮辋及其成型方法,包括内轮辋、外轮辋以及连接盘,所述内轮辋为圆筒状,所述外轮辋为圆盘状,所述外轮辋通过连接件安装在所述内轮辋端面,所述外轮辋与内轮辋均由纤维材质制得,内部设有夹心层,所述外轮辋包括外轮辋本体以及与外轮辋本体一体成型的辐条,所述辐条的端部与所述连接盘连接为一体。与现有技术相比,本发明使得FSAE赛车轮辋轻量化程度更高,在保证车轮制动盘的散热性能的同时,有效减轻赛车簧下质量,提高轮辋的侧向刚度以及抗冲击性能。

标签:
复合材料
上海 - 上海 来源:中冶有色网 2023-03-18
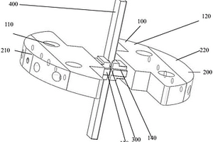
复合材料层合板双向压缩试验夹具

本发明提供一种复合材料层合板双向压缩试验夹具,用于夹持压缩试件,包括:底座,包括均具有凹槽的上座体和下座体,且上座体固定有上滑块,下座体上固定有下滑块;以及框架,包括设置于上座体和下座体之间的左框架和右框架,且左框架的内侧固定有用于带动左框架在上滑块和下滑块上移动的左移动滑块,右框架的内侧固定有用于带动右框架在上滑块和下滑块上移动的右移动滑块,其中,左框架和右框架的底端均具有与下座体的凹槽内向下凸出第一凸起部相配合的第二凸起部,且通过左框架和右框架在下座体的凹槽内左右滑动来调节距离。本发明的夹具能保证压缩试件能够均匀承受面内双向压缩载荷,适用于不同尺寸压缩试件的双向压缩试验使用。

标签:
复合材料
上海 - 上海 来源:中冶有色网 2023-03-18
利用植物生产石墨烯复合材料的方法

本发明公开了一种利用植物生产石墨烯复合材料的方法,其具体的操作方法步骤如下:利用无土栽培法或有土栽培法将含石墨烯的营养液培育植物;利用植物的生长需求把石墨烯共生在植物的植物液、叶片、叶径、花辨、果实、纤维中,形成石墨烯片层和植物分子共同体;检测石墨烯营养液的电阻和有土栽培法土层电阻,可测算岀植物吸收石墨烯的重量。采用本技术方案,本发明采用植物吸收石墨烯水溶液,使石墨烯片层和植物的分子共同生长,并沉积在植物的植物液、叶片、叶径、花辨果实、纤维中,形成石墨烯片层和植物分子共同体,利用电场可使植物中的石墨烯聚集到植物要利用的部位沉积,体现出石墨烯的各种优越特性。

标签:
复合材料
上海 - 上海 来源:中冶有色网 2023-03-18
聚乳酸/纳米纤维素/羟基磷灰石复合材料及其制备

本发明涉及一种聚乳酸/纳米纤维素/羟基磷灰石复合材料及其制备,按重量百分比,组分包括:聚乳酸50~90%,纳米纤维素0.1~40%,羟基磷灰石0.1~40%。制备:将纳米纤维素/羟基磷灰石共混料与聚乳酸通过双螺杆挤出机在120~170℃熔融共混5~8min,即得。本发明方法操作简单、简单可行,并且可以提高聚乳酸材料的强度,并使其降解时间可以控制。

标签:
复合材料
上海 - 上海 来源:中冶有色网 2023-03-18
高流动性高强高韧聚丙烯复合材料及其制备方法

本发明公开了一种高流动高强高韧聚丙烯复合材料,由以下重量百分比计的原料组成:聚丙烯69‑97wt%;无机纳米填料1‑20wt%;超支化高分子1‑30wt%;抗氧剂0.1‑1wt%。相比于传统线性增韧剂,超支化高分子呈空间球形结构,具有更小的流体力学半径,表现出显著的润滑性低熔体粘度特性,在提升材料冲击强度的同时可大大改善PP等聚烯烃材料的熔体流动性,对无机纳米粒子具有更好的分散性能,从而进一步改善达到无机纳米粒子对材料的增强效果,所以此产品尤其在无机纳米增强体系性能表现优异。

标签:
复合材料
上海 - 上海 来源:中冶有色网 2023-03-18
用于飞机复合材料工字型加筋壁板共胶接成形的工艺方法

本发明提供一种用于飞机复合材料工字型加筋壁板共胶接成形的工艺方法,包括步骤:蒙皮铺贴;工艺盖板放置:将工艺盖板放置在铺贴完成的蒙皮上,所述工艺盖板具有多个用于放置工字型长桁的长桁预留槽;长桁准备;长桁预装配;长桁与蒙皮胶接组合;长桁芯模填充;真空袋封装;固化;脱模。

标签:
复合材料
上海 - 上海 来源:中冶有色网 2023-03-18
铜钯双金属负载介孔碳与碳纳米管复合材料的制备

本发明涉及一种铜钯双金属负载介孔碳与碳纳米管复合材料的制备方法。该方法包括:将苯酚与甲醛混合后反应,加入三聚氰胺和氢氧化钠继续反应,再加入F127继续反应,加入水继续反应,然后与活化后的碳纳米管混合后稀释,加入钯源和铜源,水热反应,离心,洗涤,干燥,煅烧。该方法工艺简单,成本较低,制得的介孔碳球粒径大小可控,碳纳米管均匀穿插形成一种三维骨架结构,催化组分分散性好,导电性较好,催化活性高,生成氮气选择性高,稳定性好,并且能够重复使用。

标签:
复合材料
上海 - 上海 来源:中冶有色网 2023-03-18
甲硫氨酸/聚苯胺防腐蚀复合材料的制备方法

本发明涉及一种甲硫氨酸/聚苯胺防腐蚀复合材料的制备方法,采用原位氧化聚合法进行合成,具体步骤为:以十二烷基硫酸钠的水溶液作为乳化剂、以苯胺和乙苯的混合溶液作为疏水物,将疏水物加入到乳化剂中,同时加入甲硫氨酸作为抑制剂,得到混合溶液;将混合溶液搅拌均匀,在冰浴条件下,超声乳化得到微乳液;将聚乙烯醇水溶液与微乳液混合,再加入硫酸铵水溶液,进行聚合,将聚合后的溶液离心,产物经洗涤、干燥,即得到产品。与现有技术相比,本发明所合成的甲硫氨酸/聚苯胺为纳米球,提高了防腐蚀性能,且可改善聚苯胺本身机械性能差,分散性不高的缺点,有利于抑制剂的分散,抑制剂释放过程可控,适合应用于工业生产。

标签:
复合材料
上海 - 上海 来源:中冶有色网 2023-03-18
长纤维复合材料随机结构生成及其弹性性能预测方法

一种长纤维复合材料随机结构生成及其弹性性能预测方法,通过粒子群算法生成纤维模型,并根据纤维跳跃处理对纤维模型进行优化后得到用于生成三相RVE有限元模型的粒子空间随机分布信息;并通过对三相RVE有限元模型进行有限元仿真计算得到预测结果。本发明基于粒子群算法的代表性体积单元生成策略,在代表性体积单元生成的过程中,通过粒子群优化算法实现纤维之间的距离控制,在保证纤维随机分布的同时达到对材料体积分数的要求。在高效生成代表性体积单元的基础上,基于均匀化理论,建立弹性预测有限元模型,施加周期性边界条件,通过细观有限元仿真,得到材料的弹性性能预测结果,提高了弹性性能预测的效率。

标签:
复合材料
上海 - 上海 来源:中冶有色网 2023-03-18
石墨烯/碳复合材料的制备方法

本发明涉及一种制备石墨烯/碳复合材料的方法。这种方法的主要特征在于:利用天然的化合物在水热条件下生成水热碳对氧化石墨烯进行包覆,从而原位的制备石墨烯的碳包覆材料。这种方法操作非常简便,对环境友好,所用原料简单易得,具有大规模制备潜力,具有广阔的应用前景。

标签:
复合材料
上海 - 上海 来源:中冶有色网 2023-03-18
防火复合材料的生产方法

一种新型防火复合材料的生产方法,属于防火材料的生产及应用技术领域。所述防火材料是由浆料与填充料搅拌混匀后放入适当的模具,在室温下压制而生产成型。成型时间可控制在几分钟至数十分钟之间。其中浆料的各成分比例(质量百分比):表面处理氧化镁粉体30-60%;磷酸氢盐20-60%;细纱0-50%;粉煤灰0-50%;硼砂0-20%;水15-30%。填充料的选择:发泡聚苯乙烯颗粒、植物纤维类填料、包括木粉、木削、竹纤维等本身不具有防火阻燃性能的材料。上述填充料在型材中的质量百分比为20-70%;体积百分比为80-97%。本发明中的浆料在与易燃材料混合成型后,使得上述易燃填充物的防火防燃性大幅度提高,达到A1燃烧等级。

标签:
复合材料
上海 - 上海 来源:中冶有色网 2023-03-18
不掉粉夹层结构超级绝热气凝胶复合材料的生产方法

本发明属于隔热和隔音材料制造领域,具体涉及一种不掉粉夹层结构超级绝热气凝胶复合材料的生产方法。本发明在纳米多孔气凝胶材料外表面粘贴无机防火布,在保持气凝胶材料轻质和超级绝热等性能的同时解决了其极易掉粉的问题,避免其生产和使用过程中纳米粉尘的产生,使之更加安全、健康、环保,使用寿命也更长。此外,由于该夹层材料可选择的外层无机防火布种类较多,可方便的进行外观设计,并且相对未复合的气凝胶材料来说更加平整、均匀,外型更加美观。本发明具有原料便宜易得、制造过程安全简单、成本低廉等特点,所得到的材料兼具纳米多孔材料隔热性能优良和普通材料结实耐用的优点,在船舶舱室、车体、飞机、工业管道、建筑墙体等隔热保温领域有广泛的应用。

标签:
复合材料
上海 - 上海 来源:中冶有色网 2023-03-18
纤维状纳米粘土/聚乳酸复合材料的制备方法

本发明涉及一种纤维状纳米粘土/聚乳酸复合材 料的制备方法,其主要步骤为:(1)将纤维状纳米粘土置于90~ 900℃煅烧0.5~10.0小时,在20~150℃条件下,将经煅烧后 的纤维状纳米粘土、分散介质、分散剂和催化剂混合后得活性 纳米粘土;(2)将乳酸单体、活性纳米粘土和溶剂置于反应器中, 在温度为80~160℃、真空度为-0.1~0Mpa的条件下反应5~ 60h后制得目标物;其中:以100重量份数的乳酸单体为基准, 纤维状纳米粘土的用量为1~30重量份数,催化剂的用量为 0.01~20重量份数,分散介质的用量为0~500重量份数,分 散剂的用量为0~50重量份数,溶剂的用量1~500重量份数。

标签:
复合材料
上海 - 上海 来源:中冶有色网 2023-03-18
汽车用碳纤维复合材料保险杠结构

一种碰撞冲力阻尼领域的汽车用碳纤维复合材料保险杠结构,本体与汽车的前纵梁相连,拖钩块与填充泡沫包覆于本体的内部,本体包括:两个对称位于后侧面的两侧且分别与汽车的前纵梁相连承载和传递牵引力的背板区域、位于前侧面用于抵抗低速碰撞压缩破坏的第一抗击区域、位于上侧面、下侧面和后侧面且三个面连续设置用于抵抗低速碰撞拉伸破坏的第二抗击区域、两个分别位于后侧面且分别连接一个背板区域和第二抗击区域用于实现拖钩块预埋的平台结构,以及位于两端部且各个侧面边界分别与背板区域、第一抗击区域和第二抗击区域相连用于吸收碰撞能量的吸收区域。本发明能够提高汽车的耐撞安全性。

标签:
复合材料
上海 - 上海 来源:中冶有色网 2023-03-18
注塑成型的大平面复合材料模板及其成型方法和成型模具

一种注塑成型的大平面复合材料模板,包括一个大平面工作面板及连接在工作面板背面的加强框架。上述模板的成型方法,是根据模板的长度设计制造出具有凹、凸球面的阳模与阴模组成模具,并采用此模具用玻璃纤维增强聚丙烯作原料注塑成型为模板。一种制备上述模板的成型模具,其阳模与阴模的工作面板分型面为相互配合的凹、凸球面。本发明的模板强度好,周转次数在50次以上。其成型方法生产效率高,成本低。其成型模具设计成相互配合的凹、凸球面形状,使注塑成型的模板在冷却后表面平整,达到设计要求。

标签:
复合材料
上海 - 上海 来源:中冶有色网 2023-03-18
高光泽增强增韧聚对苯二甲酸乙二醇酯纳米复合材料及其制备方法

本发明涉及一种高光泽增强增韧PET复合材料。它是按重量份数组成:PET 100份、改性纳米增强剂0.5~5.0份、成核促进剂0.1~10份、增韧剂5.0~25份、玻璃纤维10~45份、扩链剂0.1~1.0份、抗氧剂0.1~0.5份和润滑剂0.3~0.5份。其制备方法是将以上各组分在高速搅拌机上混合均匀,通过双螺杆挤出机熔融共混制成。本发明的优点是结晶速率快,光泽度高,综合力学性能优良。

标签:
复合材料
上海 - 上海 来源:中冶有色网 2023-03-18
防静电聚氯乙烯复合材料及其制备方法

本发明提供一种防静电聚氯乙烯复合材料及其 制备方法。其配方包括:PVC糊树脂、增塑剂、稳定剂和填料。 其特征在于配方中还包括了导电云母粉、钛酸酯偶联剂和少量 纳米银线粉体,它复合使用了导电云母粉和经钛酸酯偶联剂处 理的纳米银线粉体作为导电填料,涂膜后表面电阻率达 106~ 107Ω。本发明中所用的钛酸酯偶 联剂使纳米银线均匀的分散在PVC树脂中,有效解决了纳米 粉体的团聚问题。与现有技术相比,本发明材料成本低、抗静 电效果持久稳定且生产简单,易于施工。

标签:
复合材料
上海 - 上海 来源:中冶有色网 2023-03-18
连续磨抛的超硬复合材料装置

本实用新型提供一种连续磨抛的超硬复合材料装置,所述装置沿着加工方向依次包括粗磨组件、中磨组件、粗抛组件和精抛组件;所述粗磨组件、中磨组件、粗抛组件和精抛组件均包括磨抛管、设于所述磨抛管外的外壳体、传动机构、密封加料部件;所述磨抛管为中空圆柱体,且中空圆柱体的侧面上设有若干贯通的第一通孔。本申请中装置能够在加工使用过程中及时补充金刚石磨料和切削液,并及时将磨屑及金刚石磨粉、切削液等排出,能使得磨抛效率和精度得到保证,并且能够对加工材料进行连续、不间断的磨抛及在线检测,并可根据检测结果自动进行工艺调整。

标签:
复合材料
上海 - 上海 来源:中冶有色网 2023-03-18
复合材料制作的高铁设备舱转向架裙板

本实用新型涉及一种复合材料制作的高铁设备舱转向架裙板,包括主板和两个金属件、两个金属件组成金属件组件,主板上开有若干个安装锁的锁孔,每一个锁孔内安装一组金属件组件。金属件组件包括内金属件和外金属件,内金属件外径略小于外金属件的内径,使内金属件刚好套在外金属件内。本实用新型经过铺层设计使得该转向架裙板在各个角度都能得到很高的强度,增加芳纶设计提供高强冲击性;转向架裙板主板身采用模压成型工艺,保证产品装配精度;热压成型工艺使得树脂含量很低,大大减轻转向架裙板主板身的重量;外型设计美观大方,性能强,较铝合金减重55%~65%,有较好的应用前景。

标签:
复合材料
上海 - 上海 来源:中冶有色网 2023-03-18
上一页 506 507 508 509 510 ... 729 下一页
共729页    到第

中冶有色为您提供最新的上海有色金属材料制备及加工技术理论与应用信息,涵盖发明专利、权利要求、说明书、技术领域、背景技术、实用新型内容及具体实施方式等有色技术内容。打造最具专业性的有色金属技术理论与应用平台!

全国热门有色金属设备推荐
展开更多 +
全国热门有色金属技术推荐
展开更多 +

 

江西省隆恩特环保设备有限公司
宣传

报名参会
更多+

报告下载

有色专家
更多+

矿冶科技集团江苏北矿金属循环利用科技有限公司
书记 / 总经理
湖南有色金属研究院
教授级高工/原总工程师
中国瑞林工程技术有限公司
中国工程院院士
矿冶科技集团
中国工程院院士
中南大学
教授、博士生导师
赤泥综合利用研究报告2025
推广

热门技术
更多+

推荐企业
更多+

福建省金龙稀土股份有限公司
宣传

发布

在线客服

公众号

电话

顶部
咨询电话:
010-88793500-807