青岛垚鑫智能科技有限公司
宣传

位置:中冶有色 >

有色技术频道 >

分类:
全部
矿山技术
冶金技术
材料制备及加工技术
环境保护技术
分析检测技术
 
全部
功能材料技术
复合材料技术
新能源材料技术
合金材料技术
加工技术
地区:
全部
北京
天津
上海
重庆
河北
山西
辽宁
吉林
黑龙江
江苏
浙江
安徽
福建
江西
山东
河南
湖北
湖南
广东
海南
四川
贵州
云南
陕西
甘肃
青海
内蒙
广西
西藏
宁夏
新疆
其他
其他
展开
 
全部
上海

上海有色金属材料制备及加工技术理论与应用

免费发布技术信息>>
超高分子量聚乙烯薄膜的复合材料及其制备方法

本发明涉及一种超高分子量聚乙烯薄膜的复合材料及其制备方法,制备过程中首先用复合改性剂对超高分子量聚乙烯进行改性,制得复合专用料;制备的复合专用料通过双螺杆挤出机进行造粒;将得到的复合专用料粒子通过单螺杆挤出机上的模头挤出成薄片,而后薄片经过多辊压延机进行压延,进而卷绕成薄膜。与现有技术相比,本发明可实现UHMWPE薄膜的连续成型,大幅度提升了生产效率,降低生产成本,且无需使用溶剂,更加环保,同时UHMWPE薄膜还具备优异的力学性能,能够作为耐磨层衬附在其它材料表面。

标签:
复合材料
上海 - 上海 来源:中冶有色网 2023-03-18
硼掺杂的硅碳复合材料的制备方法

本发明涉及一种硼掺杂的硅碳复合材料的制备方法。该方法包括:在单质硅外面均匀的包覆一层酚醛树脂,通过热处理得到介孔碳壳,然后与硼酸水溶液混合,冷冻干燥,热还原。该方法工艺简单,成本较低,可以通过改变硼酸的含量获得不同硼掺杂量的硅碳复合负极材料,可有效的改善硅基负极材料的循环稳定性。

标签:
复合材料
上海 - 上海 来源:中冶有色网 2023-03-18
复合材料剪切性能测试的夹具

一种复合材料剪切性能测试的夹具,其能够对V型开槽试样进行有效加载。其中上、下带槽腔体用于置放V型开槽试样的第一、二端,分别包括上、下槽和上、下连接孔,上、下槽的在第一方向上相邻于试样剪切面的第一、五侧为开放侧,上、下连接孔从与在第一方向上与第一、五侧相反的第二侧贯穿上带槽腔体,上、下楔块用于塞入第一、二端和上、下槽的上、下表面之间,借此将上、下槽内的第一、二端楔紧;上、下连接件连接上、下楔块,并从上、下连接孔中穿出,用于向上、下楔块施加拉力,以使上、下楔块沿楔紧的方向移动。

标签:
复合材料
上海 - 上海 来源:中冶有色网 2023-03-18
具有复合钝化层的CZT膜复合材料、核辐射探测器件及其制备方法

本发明公开了一种具有复合钝化层的CZT膜复合材料、核辐射探测器件及其制备方法,属半导体探测材料制造技术领域。本方法是先通过近空升华法在导电玻璃衬底上沉积碲锌镉膜,在进行抛光和腐蚀之后,再在碲锌镉膜上通过磁控溅射方法依此沉积碲化镉、硫化锌的复合钝化层。之后在N2氛围下进行退火。经过光刻和干法刻蚀后,使用电子束蒸发方法继续在膜上上沉积金电极。钝化层的存在使得抛光、腐蚀后的碲锌镉膜表面受到良好的保护,碲锌镉膜表面漏电流减小,从而改善碲锌镉探测器的性能,本发明制备的薄膜材料对于公共安全、军事、核工业、核医学、科学研究以及航空航天等领域安全监控、辐射防护方面具有重要意义和应用前景。

标签:
复合材料
上海 - 上海 来源:中冶有色网 2023-03-18
制备CoFe合金/氧化石墨烯/碳纳米管复合材料的方法

本发明涉及一种制备CoFe合金/氧化石墨烯/碳纳米管复合材料的方法,采用尿素处理Fe、Co双金属。首先将铁盐、钴盐和尿素加入到去离子水中并油浴混合搅拌直至干燥;将获得的粉末与氧化石墨烯粉末研磨均匀,在Ar2条件下进行煅烧,首先将温度以3‑10℃/min升高到550℃并保温2小时,然后再以3‑10℃/min将管式炉升温到600‑900℃保温2小时,自然冷却到室温,制得CoFe合金/多孔氧化石墨烯/碳纳米管多维复合结构的氧还原催化剂。本发明制备工艺简单、成本低,材料结构均匀性好,具有结晶度高,电化学性能优良等优点,用于制作锌‑空气电池阴极的氧还原催化剂,克服了贵金属催化剂成本高、制备工艺复杂和很难实现产业化的缺点。

标签:
复合材料
上海 - 上海 来源:中冶有色网 2023-03-18
低气味、高性能、植物纤维增强再生聚丙烯复合材料及其制备方法

本发明公开了一种低气味、高性能、植物纤维增强再生聚丙烯复合材料及其制备方法,其包括以下重量份计的原料:聚丙烯再生料:34.5‑69.5;植物纤维:20‑50;弹性体:5‑10;气味改善母粒:0‑5;相容剂:1‑3;偶联剂:0.5‑2;抗氧剂:0‑1;其它助剂:0‑3;本发明的优点为:本发明使用的气味改善母粒是采用物理吸附与化学除味相结合的方式,即活性碳的高比表面的特性,可快速有效的吸附气味分子,同时纳米二氧化钛,在可见光催化作用下,能有效分解材料体系散发出的有机小分子,它与具有物理吸附功能的多孔活性碳发挥协同作用,共同改善材料体系的气味散发性能。

标签:
复合材料
上海 - 上海 来源:中冶有色网 2023-03-18
乳腺癌靶向的壳聚糖接枝聚合物载药复合材料的制备方法

本发明涉及一种乳腺癌靶向的壳聚糖接枝聚合物载药复合材料的制备方法,包括:将CS‑g‑PNIPAM溶于HAc溶液中,搅拌至溶解,调节pH为4‑6,加入活化的K237肽溶液继续搅拌反应,透析,冷冻干燥,得到K237‑CS‑g‑PNIPAM溶于DMF中,加入PTX搅拌反应,透析,冷冻干燥,得到K237‑CS‑g‑PNIPAM/PTX。本发明的新型载药材料具有pH敏感型释放及乳腺癌细胞靶向的特点,可以用于抗肿瘤研究,有着很好的实用价值。

标签:
复合材料
上海 - 上海 来源:中冶有色网 2023-03-18
复合材料薄板面内剪切试验夹具和试验方法

本发明公开了一种复合材料薄板面内剪切试验夹具,包括插头、夹板、压板。插头为T型结构,一端为圆柱形接头,圆柱形接头的远端设有通孔,近端设有螺纹,用于与试验机的夹具端口固定连接,插头的另一端为与圆柱形接头的轴向垂直的连接板;夹板与插头的连接板固定连接,夹板和压板上还设有位置对应的通孔,被设置为可以通过紧固件将待测试件固定;插头、夹板和压板为两组,分别用于固定连接在待测试件的两边。本发明还相应公开了使用该试验夹具的试验方法以及适用于该试验夹具的待测试件制作方法。本发明公开的试验夹具可以利用普通试验机实现剪切加载,具有加载装置简单、加载灵活,剪应力场均匀等优点。

标签:
复合材料
上海 - 上海 来源:中冶有色网 2023-03-18
高度有序多孔的石墨烯/聚苯胺复合材料及其制备方法

本发明公开了一种高度有序多孔的石墨烯/聚苯胺复合材料及其制备方法。该方法在冰浴的条件下,通过控制体系的pH,使苯胺单体在氧化石墨烯原位生长,得到有序的聚苯胺纳米线阵列,并且通过加入适当的表面活性剂作为软模板,使得石墨烯基体形成了有序的多孔结构。本发明制备方法简便,原料便宜,并且重复性好。制备得到的材料具有高度有序的三维多孔结构,比表面积大;另外,这种材料还具备导电性高、柔性好,内阻小,电化学性质稳定等优点。特别是作为超级电容器性能时,显示出良好的电化学性能和电化学稳定性,在电流密度为1A/g时,比电容量达到485F/g,充放电5000次之后,容量依然能够保持90%。

标签:
复合材料
上海 - 上海 来源:中冶有色网 2023-03-18
碳纤维复合材料混合成型方法

一种碳纤维复合材料混合成型方法,首先将碳纤维渍树脂形成纱片,制成复材制品预型件;同时制作硅胶芯轴;其次将气袋埋入预型件直管位置以及可以形成回路的三角位置;接着在预型件的异形管处装置硅胶芯轴;再者将预型件置于成型模具中,在模具加压加温的同时,对气袋进行加热加压;最后开模,待成型后的复材制品冷却后,取出气袋与硅胶芯轴,便完成具体异形部位的复材制品的成型。本发明通过硅胶芯轴热胀冷缩易变形的特点,将其填置于复材异形位置进行复材制品的成型,可以实现具有异形部位复材制品的一体成型,令复材制品的成型制程更加简单易行,并可保证管件的强度及外观的整体性;另外硅胶芯轴可以反复使用,进一步降低复材制品的制作成本。

标签:
复合材料
上海 - 上海 来源:中冶有色网 2023-03-18
高强度耐腐蚀聚丙烯复合材料及其制备方法

本发明涉及一种高强度耐腐蚀聚丙烯复合材料及其制备方法,(1)按以下组分及重量份含量秤取原料:PP?30-80、PE?10-40、碳纤维5-20、耐腐蚀改性剂0.5-5、相容剂0-10、抗氧剂0.1-0.5;(2)将PP、PE、耐腐蚀改性剂、相容剂、抗氧剂混合的原料放入螺杆机中,碳纤维从侧喂料计量进入,挤出造粒,控制螺杆机的转速为180-600rpm,温度为190-220℃,熔融挤出造粒即得到产品。与现有技术相比,本发明同传统的玻纤增强聚丙烯材料相比,机械强度高,良好的流动性,耐酸碱腐蚀性好,特别适用于对耐化学腐蚀较强的管道及泵体材料中。

标签:
复合材料
上海 - 上海 来源:中冶有色网 2023-03-18
高流动、耐划痕抗冲改性聚丙烯复合材料及其制备方法

本发明公开了一种高流动、耐划痕抗冲改性聚丙烯复合材料及其制备方法,按以下重量百分比计的原料配制而成:聚丙烯64~89%,聚乙烯蜡0.1~5%,POE5~15%,增韧剂SEBS5~15%,抗氧剂0.1~2%。本发明利用聚乙烯蜡的润滑性及与聚丙烯优良的相容性,结合POE、SEBS的协同增韧,所制备的改性聚丙烯材料在保持聚丙烯流动性的同时,也改善了聚丙烯的耐划痕及抗冲击性能。可用于制作对流动性和耐划痕及抗冲性能要求高的制品。

标签:
复合材料
上海 - 上海 来源:中冶有色网 2023-03-18
聚对苯二甲酸乙二醇酯复合材料及其制备方法

本发明涉及一种聚对苯二甲酸乙二醇酯(r-PET)复合材料。它是由60~80份的r-PET、20~40份的复配阻燃剂、0.1~0.5份的复配抗氧剂、1~5份的增韧剂和0.1~0.3份的扩链剂组成,其中复配阻燃剂为无机/有机复配阻燃剂。其制备方法是将r-PET与各种助剂在高速混合机中充分混合后,加入双螺杆挤出机中挤出造粒。本发明的产品具有优异的阻燃性能、增强的力学性能与较好的加工性能,可广泛应用于室外建筑、非食品包装等注塑产品的生产。

标签:
复合材料
上海 - 上海 来源:中冶有色网 2023-03-18
用复合材料制造的音箱

本发明涉及一种用复合材料制造的音箱,音箱由聚酯树脂和纤维材料以及无机复合泥涂覆并覆盖制成。其制造工艺是第一步开具阳模,在阳模外层涂覆聚酯树脂,覆盖纤维材料,成型后脱模成为阴模;第二步成型壳体,涂脂、覆纤二层以上,成型后脱模;第三步将该成型壳体放回阴模内涂脂、覆纤,再浇制无机复合泥,待干燥后再脱模,并作修正。本发明制造容易、快捷,可方便地、低成本地制造各种款式的音箱壳体,且基本上无箱体振动。

标签:
复合材料
上海 - 上海 来源:中冶有色网 2023-03-18
水滑石阻燃聚丙烯复合材料及其制备方法

本发明涉及一种水滑石阻燃聚丙烯复合材料及其制备方法,该材料包括以下组分和重量百分含量:聚丙烯(PP)50-85%,相容剂1-10%,阻燃剂10-35%,水滑石1-10%,抗氧剂0.1-1%,润滑分散剂0.1-0.5%。按重量配比称取原料,将聚丙烯、相容剂、阻燃剂、水滑石、抗氧剂、润滑分散剂依次放入高混机中混合2-7分钟,出料,将混合好的原料放入双螺杆挤出机挤出造粒,加工温度在170-210℃,螺杆转速在160-600转/分钟。与现有技术相比,本发明产品阻燃效果好并且稳定,光泽度好,低比重和良好的机械性能,产品加工工艺简单,广泛应用,具有经济价值。

标签:
复合材料
上海 - 上海 来源:中冶有色网 2023-03-18
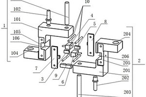
用于复合材料风扇叶片前缘金属加强边的支撑工装

本实用新型的目的在于提供一种用于复合材料风扇叶片前缘金属加强边的支撑工装,其包括底部工装以及顶部工装,底部工装具有支撑边,支撑边与第二侧共形;顶部工装顶部具有开口部,内部具有多个支撑部以及形成于支撑部之间的容纳空间,开口部与容纳空间相连通。其中,在支撑状态下,工件的第二侧由支撑边支撑,顶部工装设置于底部工装上方,以将工件夹设于顶部工装与底部工装之间,在此状态下,支撑部支撑V型槽的槽底且容纳空间与V型槽相连通。通过本支撑工装能够降低叶片金属加强边的制造难度。

标签:
复合材料
上海 - 上海 来源:中冶有色网 2023-03-18
基于复合材料为保温层的空调铜管

本实用新型公开了保温材料技术领域的基于复合材料为保温层的空调铜管,包括管道主体,所述管道主体的外部有包裹设有第一保温层,所述第一保温层外部包裹设有第二保温层,所述第二保温层外部包裹设有第三保温层,所述第三保温层外部包裹设有防护层,所述防护层外部涂设有抗氧化层,通过设置第一保温层、第二保温层和第三保温层,有利于提高管道主体的保温效果,通过设置防护层和抗氧化层,有利于对管道主体提供防护作用,从而有利于延长管道主体的使用寿命。

标签:
复合材料
上海 - 上海 来源:中冶有色网 2023-03-18
热塑性复合材料用平板压机

本实用新型公开了一种热塑性复合材料用平板压机,包括沿工艺方向依次设置的热压机和冷压机,所述热压机和冷压机之间设置有轨道,所述轨道上活动设置有兼做传导板的载物推车,所述热压机和冷压机与驱动系统连接,所述驱动系统与控制装置连接。

标签:
复合材料
上海 - 上海 来源:中冶有色网 2023-03-18
海绵复合材料结构
海绵复合材料结构 847     
 0

本实用新型公开了一种海绵复合材料结构,其中,包括有基层为人造革层,中间层为海绵层,表层为无纺布层,所述人造革层的厚度为3mm-10mm,所述海绵层的厚度为1mm-3mm,所述无纺布层厚度为0.1mm-1mm。通过上述结构和厚度,可以最优化使上述材料在汽车上的应用,达到不同用户要求的满足。

标签:
复合材料
上海 - 上海 来源:中冶有色网 2023-03-18
用于加油站埋地油罐改造的高分子复合材料三维中空内衬

本实用新型公开了一种用于加油站埋地油罐改造的高分子复合材料三维中空内衬,该内衬用于既有加油站的埋地单层钢制油罐改造为双层油罐领域,该内衬包括第一高分子层、织物层、第二高分子层,织物层位于第一高分子层和第二高分子层之间。本实用新型节省成本,节约资源,停业时间短,安装便捷,防止腐蚀。

标签:
复合材料
上海 - 上海 来源:中冶有色网 2023-03-18
用于制作细长复合材料发动机壳体的组合芯模

本实用新型涉及发动机技术领域,特别是指一种用于制作细长复合材料发动机壳体的组合芯模,包括骨架和设于骨架外表面的石膏层,所述骨架包括主轴组件、筒段分板隔板组件、左分瓣模组件、右分瓣模组件、左封头、右封头、长螺杆组件和铝管,所述主轴组件由主轴和设于主轴两端的锁紧螺母组成,所述左分瓣模组件、若干组筒段分板隔板组件、右分瓣模组件逐一套接与主轴上,所述长螺杆组件穿过所有筒段分板隔板组件,并固定于左分瓣模组件和右分瓣模组件上,所述左封头穿过主轴安装于左分瓣模组件外侧,所述右封头穿过主轴安装于右分瓣模组件外侧,所述左封头和右封头外侧分别通过锁紧螺母锁紧,所述铝管安装于筒段分板隔板组件径向外侧。

标签:
复合材料
上海 - 上海 来源:中冶有色网 2023-03-18
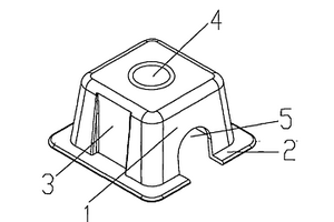
复合材料井盖
复合材料井盖 1184     
 0

本实用新型涉及一种复合材料井盖,由底座和盖子组成,底座和盖子均由玻璃纤维布充任的下表面层、由彩石和树脂混合而成的粘合物充任的上表面层,由玻璃纤维纱与树脂粘合制成的玻纤架或玻纤盘充任中间骨架和位于上下表面层和中间骨架之间的由石英砂和树脂混合而成的粘合物充任的上下填充层构成。上表面美观且耐磨,彩石可以按需选用,有效克服了现有技术井盖所存在表面色彩单一,外形欠美观和与环境吻合性差的不足之处,具有很强的实用性。

标签:
复合材料
上海 - 上海 来源:中冶有色网 2023-03-18
复合材料真空灌注用的注胶底座

本实用新型涉及一种复合材料真空灌注用的注胶底座,该注胶底座包括壳体、底座、楔形槽、进胶口和出胶口,所述的底座设置在壳体底部,所述的楔形槽设置在壳体两侧,所述的进胶口设置在壳体顶部,所述的出胶口设置在壳体下部。与现有技术相比,本实用新型具有结构简明,操作方便,稳定性好等优点。

标签:
复合材料
上海 - 上海 来源:中冶有色网 2023-03-18
全棉贴合聚氨酯薄膜贴合全棉的复合材料

本实用新型涉及一种全棉贴合聚氨酯薄膜贴合全棉的复合材料,包括:底面层和表面层;所述的底面层和表面层是全棉毛巾布;在所述的底面层和表面层之间安置一聚氨酯薄膜;所述的聚氨酯薄膜的双面通过聚氨酯树脂与底面层和表面层复合在一起;本实用新型的有益效果是:质地柔韧性好、良好的防水、良好的防油污、高剥离强度、适合医用的防体液、耐酸碱性和高清洁性洗涤;可广泛用于:医用隔离服、医用防化服、医用手术服。

标签:
复合材料
上海 - 上海 来源:中冶有色网 2023-03-18
全棉贴合聚氨酯薄膜的复合材料

本实用新型涉及一种全棉贴合聚氨酯薄膜的复合材料,包括:底面层和表面层;所述的底面层是全棉毛巾布材料;所述的表面层是聚氨酯薄膜;聚氨酯薄膜通过聚氨脂树脂与全棉毛巾布材料复合在一起。本实用新型的有益效果是:质地柔韧性好、良好的防水、良好的防油污、高剥离强度、适合医用的防体液、耐酸碱性和高清洁性洗涤;可广泛用于:医用隔离服、医用防化服、医用手术服。

标签:
复合材料
上海 - 上海 来源:中冶有色网 2023-03-18
适用于大孔径比固体火箭发动机复合材料壳体及缠绕成型方法

本发明提供了一种适用于大孔径比固体火箭发动机复合材料壳体及缠绕成型方法,包括:步骤S1:在壳体两端的金属法兰上预硫化橡胶,将预硫化好的金属法兰安装在模具上;步骤S2:将橡胶散片铺覆在模具上并预硫化成型;步骤S3:采用分段式变角度的缠绕方法在预成型好的橡胶上进行缠绕;步骤S4:采用旋转固化装置进行旋转固化;步骤S5:固化后脱模。

标签:
复合材料
上海 - 上海 来源:中冶有色网 2023-03-18
低吸水率PA56/PBT复合材料及其制备方法

本发明提供一种PA56/PBT复合材料,由以下重量份的原料组分制成:PA56:20‑80份;PBT:20‑80份;相容剂:1‑15份;抗氧剂:0.2‑1份;润滑剂:0.2‑1份,与现有技术相比,本发明采用生物基PA56制备的PA56/PBT合金,结合了PA56与PBT的自身优点,拉伸强度、弯曲强度均有明显的提升,大幅降低了PA56的吸水率并提高了其尺寸稳定性,且生产工艺简单,适于大规模生产。

标签:
复合材料
上海 - 上海 来源:中冶有色网 2023-03-18
氯氧镁增强复合材料及其制备方法

本发明公开了一种氯氧镁增强复合材料,包括如下重量份的组分:石膏160‑180份、氧化镁90‑110份、氯化镁60‑90份、玻璃纤维增强材料32‑38份、填料5‑12份、改性剂5‑8份、水230‑260份;其中,填料包括氧化铝粉末和聚丙烯腈纤维;改性剂包括苯丙乳液、硅烷偶联剂、聚氨酯胶黏剂。材料具有优异的物理力学性能和耐水性能,由其制得的产品具有防潮防水、强度高、环保、造价低、使用寿命长、保温和隔音效果优异、质轻等特点。

标签:
复合材料
上海 - 上海 来源:中冶有色网 2023-03-18
基于锡酸铜/二维碳化钛复合材料的有机腐蚀性气体传感器的制备方法

本发明公开了一种基于锡酸铜/二维碳化钛复合材料的有机腐蚀性气体传感器的制备方法,将CuCl2·2H2O和SnCl4·5H2O添加至Ti3C2溶液中,摩尔比为CuCl2·2H2O:SnCl4·5H2O:Ti3C2=20:10:1~2:1:10;得到以Cu2SnO4修饰的Ti3C2,将其作为敏感材料采用滴涂法均匀涂覆于石英晶体微天平晶振的电极表面。所选用的Cu2SnO4具有良好的化学敏感性和热稳定性;Ti3C2是一种新兴的二维层状纳米材料,具有与石墨烯类似的大比表面积及良好导电性,其表面存在的丰富的官能团和缺陷位点可提升其对腐蚀性气体分子的吸附能力;二者复合能够有效提高气体传感器性能。

标签:
复合材料
上海 - 上海 来源:中冶有色网 2023-03-18
Yb:YAG掺杂石英玻璃复合材料及其制备方法

一种高性能Yb:YAG掺杂石英玻璃复合材料的制备方法,采用溶胶凝胶结合纳米粉末烧结工艺制备。从溶液出发,制备出掺杂均匀的氧化硅粉末;对粉末进行脱碳、脱羟基和球磨造粒处理,再经高温熔制成透明性良好的微晶玻璃。本发明通过向镱铝钇共掺石英玻璃中引入一定量的氧化钡作为成核剂,通过诱导石英玻璃分相并析出Yb:YAG纳米晶。该材料可作为潜在的高效增益介质用于高功率激光领域。

标签:
复合材料
上海 - 上海 来源:中冶有色网 2023-03-18
上一页 504 505 506 507 508 ... 729 下一页
共729页    到第

中冶有色为您提供最新的上海有色金属材料制备及加工技术理论与应用信息,涵盖发明专利、权利要求、说明书、技术领域、背景技术、实用新型内容及具体实施方式等有色技术内容。打造最具专业性的有色金属技术理论与应用平台!

全国热门有色金属设备推荐
展开更多 +
全国热门有色金属技术推荐
展开更多 +

 

江西省隆恩特环保设备有限公司
宣传

报名参会
更多+

报告下载

有色专家
更多+

鞍钢集团有限公司
中国工程院院士
矿冶科技集团有限公司
所长/研究员级高工
昆明理工大学
校长
紫金矿业信息化研发中心
副总经理
石家庄铁道大学
团委书记/副教授
赤泥综合利用研究报告2025
推广

热门技术
更多+

推荐企业
更多+

福建省金龙稀土股份有限公司
宣传

发布

在线客服

公众号

电话

顶部
咨询电话:
010-88793500-807