青岛垚鑫智能科技有限公司
宣传

位置:中冶有色 >

有色技术频道 >

分类:
全部
矿山技术
冶金技术
材料制备及加工技术
环境保护技术
分析检测技术
 
全部
功能材料技术
复合材料技术
新能源材料技术
合金材料技术
加工技术
地区:
全部
北京
天津
上海
重庆
河北
山西
辽宁
吉林
黑龙江
江苏
浙江
安徽
福建
江西
山东
河南
湖北
湖南
广东
海南
四川
贵州
云南
陕西
甘肃
青海
内蒙
广西
西藏
宁夏
新疆
其他
其他
展开
 
全部
上海

上海有色金属材料制备及加工技术理论与应用

免费发布技术信息>>
挤出成型复合材料腰孔建筑模板

本实用新型涉及一种挤出成型复合材料腰孔建筑模板,该模板包括上底面,下底面,以及上底面与下底面相对两侧与其垂直的腰孔面,该腰孔面上设有腰孔。与现有技术相比,本实用新型具有很高的强度、硬度、刚度、韧性等优点。

标签:
复合材料
上海 - 上海 来源:中冶有色网 2023-03-18
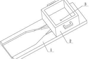
复合材料油箱检漏自动夹具

本实用新型涉及油箱生产技术领域,尤其为复合材料油箱检漏自动夹具,包括运输装置,所述运输装置顶部设有控制箱,所述控制箱顶部设有机械臂,所述控制箱底部两侧均设有安装板,所述安装板底部设有夹具,所述控制箱底部位于安装板之间设有活动板,所述活动板顶部两侧均设有限位伸缩套节,所述控制箱沿着宽度方向的两侧均设有第二驱动电机,所述控制箱内部底端设有驱动气缸,所述控制箱内部位于驱动气缸一侧设有接触传感器,所述控制箱内部位于驱动气缸的前后两侧均设有调节组件,所述控制箱内部位于驱动气缸的一侧设有捡漏组件,通过调节组件与捡漏组件相互配合,可以防止芯材材料缺少的情况出现,保证制作出来的油箱质量合格,避免造成损失。

标签:
复合材料
上海 - 上海 来源:中冶有色网 2023-03-18
用于复合材料单梁起重机的防撞机构

本实用新型公开一种用于复合材料单梁起重机的防撞机构,防撞机构包括底座,所述底座上转动设有操作装置,底座上固定有用于驱动操作装置转动的伺服电机,伺服电机与操作装置紧固连接,操作装置上设有牵引装置,牵引装置上设有防护装置,防护装置与操作装置紧固连接。本实用新型防撞机构通过伺服电机驱动操作装置转动,能够便于在操作中全方位的工作,操作装置的配合工作能够调节单梁起重机臂的转动角度,同时牵引装置更加便于取料,在夹取、放料时防护装置能够缓冲与地面及其他物品的撞击力,减少起重机梁的损伤,延长使用寿命。

标签:
复合材料
上海 - 上海 来源:中冶有色网 2023-03-18
复合材料后背门加强件装配结构

本实用新型属于汽车轻量化技术领域,尤其涉及复合材料后背门加强件装配结构,其包括注塑一体成型的尾门内板,以及固定于尾门内板上的钣金加强件。钣金加强件通过十字筋定位件固定于尾门内板上;且尾门内板与钣金加强件之间通过定位柱定位;尾门内板与钣金加强件之间还设有螺钉、铆钉、卡片式等紧固部件。尾门内板先注塑成型后,二者之间通过十字筋定位件和定位柱定位,将钣金加强件安装于尾门内板上,再通过螺钉、铆钉、金属卡子等紧固件锁紧即可。本申请通过螺钉、金属卡子等紧固件固定钣金加强件到尾门上,可以优化塑料尾门本体注塑模具结构,及降低钣金加强件开发难度,解决了现有技术中钣金加强件定位不良、注塑周期较长、合格率低等问题。

标签:
复合材料
上海 - 上海 来源:中冶有色网 2023-03-18
包括复合材料储氢瓶的储氢装置

一种包括复合材料储氢瓶的储氢装置,包括储氢瓶,储氢瓶内含有储氢颗粒,该储氢颗粒的平均直径为20微米至200微米,具有被多孔壁环绕的内部空腔;在储氢瓶的一端设置有气孔,气孔内设置有过滤器;所述储氢瓶包括壳体,所述壳体包括铁基多孔金属材料内胆和是碳纤维增强层。

标签:
复合材料
上海 - 上海 来源:中冶有色网 2023-03-18
纸基复合材料接驳机构
纸基复合材料接驳机构 1233     
 0

本实用新型提供了一种纸基复合材料接驳机构,包括封口板及位于封口板上方的固定板,气缸固定在固定板上,气缸活塞杆的端部设于封口板内,在固定板底部设有不锈钢包罩,其特征在于:在所述封口板顶部设有电阻片,电阻片的两端分别固定在一燕尾滑块上,燕尾滑块可滑动得固定在固定板上,在燕尾滑块与固定板之间设有弹簧,压板设于燕尾滑块的顶部。本实用新型的加热方式采用电阻式低压大电流瞬间加热,这样加热器不变形可以对超宽的包材接驳,不存在加热不均匀的问题,又节省电源,机器温度又能降低,改善操作人员工作环境。

标签:
复合材料
上海 - 上海 来源:中冶有色网 2023-03-18
复合材料长箱体立式脱模装置

本实用新型公开了复合材料长箱体立式脱模装置,包括立式脱模框架、支撑机构、油压顶出机构和起吊机构;立式脱模框架包括支架[11]与底座[17];支撑机构包括上压板[8]将箱体[10]压在下面,箱体[10]的下部通过下压板[13]和三角架[14]安装在支架[11]的内板上;油压顶出机构包括液压油缸[15]和液压油车[16];液压油缸[15]上竖直放置芯模[6],芯模[6]的外面包裹箱体[10];起吊机构包括吊棒[3]和吊索[2]。本实用新型消除了脱模时芯模和箱体之间的摩擦带来热烧蚀产品和模具受损等问题,取得提高产品内表面质量,提高脱模效率,降低了脱模成本等效果。

标签:
复合材料
上海 - 上海 来源:中冶有色网 2023-03-18
电缆隧道用复合材料组件

一种电缆隧道用复合材料组件。包括安装孔、钢筋条、复合层,其特征在于:钢筋条上钻有安装孔,整个钢筋条包裹有复合层;复合层采用环氧树脂、纤维布多轴向织物复合叠加包裹钢筋条。与现有技术相比,首先是克服了重量重,需要费时、费工的刷漆保养的缺陷,无锈蚀现象发生,免除了费时、费工的刷漆保养,排除了隧道内因刷漆而产生的有毒、有害气体,节约了大量的人力物力,有效保证了隧道内的安全。

标签:
复合材料
上海 - 上海 来源:中冶有色网 2023-03-18
钢架加强高分子复合材料检查井支

本实用新型设计了一种钢架加强高分子复合材料检查井支。井盖包括高分子材料制成的井盖主体、包裹在井盖主体中的钢制骨架、设置在井盖主体底侧的加强肋条和设置在井盖主体侧边的防盗机构,支架包括高分子材料制成的支架主体、设置在支架主体内缘的支撑条和与井盖主体侧边的防盗机构相匹配的缺口。井盖复合于支架上,防盗机构相与缺口相配合,用于锁紧井盖。采用建设部CJ/T标准对本实用新型的井支进行检测,其承载力可达到360KN,其强度完全符合有关部门的要求,同时该产品耐腐蚀,耐候性好不易老化,车辆通过时无碾压噪音,并具有防盗机构降低了维护保养成本。

标签:
复合材料
上海 - 上海 来源:中冶有色网 2023-03-18
碳/碳复合材料板材吊装沉积工装

本实用新型公开一种碳/碳复合材料板材吊装沉积工装,包括若干石墨基座、对应分别插入石墨基座的若干石墨立柱,及一石墨横梁,若干石墨立柱上端分别开有圆弧豁口,石墨横梁置于圆弧豁口内将若干石墨立柱连接一体。本实用新型结构简单,可使板材在重力作用下具有高的板材平整度,不发生结构变形,经过化学气相沉积后可得到高强度的板材。

标签:
复合材料
上海 - 上海 来源:中冶有色网 2023-03-18
热固性复合材料连续管

一种热固性复合材料连续管,包括内层管、纤维热固层,纤维热固层为纤维管状叠层与环氧树脂浸润热固结构体,其特征在于:纤维管状叠层为若干层纤维束螺旋线缠绕层、纤维束编织层中的一种纤维层自相叠合或是两种纤维层混编叠合。优点在于:可提供各种需求较为适中档次、性价比的连续管,目前市场上尚缺。

标签:
复合材料
上海 - 上海 来源:中冶有色网 2023-03-18
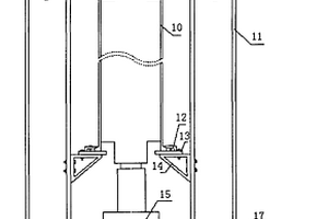
复合材料层合板的水切割设备

本实用新型公开了一种复合材料层合板的水切割设备,包括箱体(11),箱体(11)的上方放置工作台(7),工作台(7)包括格栅(18)、升降装置(16)和压紧装置(9);格栅(18)由若干块竖直且间隔排列的钢板组成,每块钢板下端均开有若干个槽口,各块钢板下端槽口的数量和位置完全相同;格栅(18)下方设置由若干根钢丝(17)组成的钢丝网,钢丝(17)穿过槽口,钢丝网沿钢丝长度方向的两端连接与升降装置(16)连接;压紧装置(9)包括橡胶压板(20)、三节连杆(21)和两个液压缸(22);橡胶压板(20)下端为锯齿形;箱体(11)的上方装有将工作台围住的可拆卸防护玻璃(8)。本实用新型结构简单,体积小,且试件切割效率和切割精度高。

标签:
复合材料
上海 - 上海 来源:中冶有色网 2023-03-18
复合材料压机四点定位螺杆测量装置

本实用新型公开了一种复合材料压机四点定位螺杆测量装置,包括固定配置在压机立柱上的位移传感器和与所述位移传感器配合的测量部件,所述测量部件与一定位连接件连接,所述位移传感器与PLC控制系统连接。本实用新型的有益效果在于:本实用新型增加位移传感器,替代现有的旋转编码器,位移传感器直接固定在压机立柱上,磁环滑块通过位移传感器可测量连接件伸缩长度的位置,达到同一平面内,误差小于0.25mm。另外,PLC控制系统设定为零位,由于位移传感器测量的是测量部件的位置,因此电机空转也不会影响测量值。

标签:
复合材料
上海 - 上海 来源:中冶有色网 2023-03-18
高效前驱体转化法制备复合材料的装置

本实用新型提供了一种高效前驱体转化法制备复合材料的装置,其特征在于,包括成型模具、耐压横梁、带压力表千斤顶、温控数显仪、加热棒和热电偶,所述的成型模具设于耐压横梁和带压力表千斤顶之间,成型模具内设有加热棒和热电偶,加热棒和热电偶连接温控数显仪。与现有技术相比,本实用新型的优点是:本实用新型操作简便,生产效率高,带压力表千斤顶可根据材料转化过程的需要精确控制压力,温控数显仪能够精确监控成型模具内部温度,实现参数可控。

标签:
复合材料
上海 - 上海 来源:中冶有色网 2023-03-18
多孔陶瓷结构功能一体化梯度复合材料一体模具

本实用新型涉及模具技术领域,具体为一种多孔陶瓷结构功能一体化梯度复合材料一体模具,包括支撑机构、模具机构和密封机构,所述支撑机构的顶部滑动连接有模具机构,所述模具机构的底部螺纹连接有密封机构,所述支撑机构包括固定底座、第一滑槽、凹槽、第二滑槽和导向槽,所述固定底座顶部的一侧开设有第一滑槽。本实用新型的优点在于:密封机构的密封柱封堵通孔,避免冲压成型时,原料从通孔处被压出,导致通孔被原料堵塞,影响后期脱模的问题,脱模时,取下密封机构,空气可以经过通孔进入到模具与陶瓷结构间隙内,平衡气压,达到便于脱模的目的,提高了生产效率,通过设置导向槽,方便了将模具机构连接在支撑机构内,结构简单实用。

标签:
复合材料
上海 - 上海 来源:中冶有色网 2023-03-18
含有复合材料储氢瓶的储氢装置

一种含有复合材料储氢瓶的储氢装置,包括储氢瓶,储氢瓶内含有储氢颗粒,该储氢颗粒的平均直径为20微米至200微米,具有被多孔壁环绕的内部空腔;在储氢瓶的一端设置有气孔,气孔内设置有过滤器;所述储氢瓶包括壳体,所述壳体包括铝合金内胆和碳纤维增强层。

标签:
复合材料
上海 - 上海 来源:中冶有色网 2023-03-18
可以负压排气的复合材料成型模具

本实用新型公开了一种可以负压排气的复合材料成型模具,包括上凸模、下凸模和围框,围框设置于上凸模和下凸模之间,上凸模、下凸模和围框之间构成成模腔,围框的至少一个侧面设置抽气口,抽气口连通所述成模腔,围框的上侧和下侧都设置定位凸起,上凸模的内侧和下凸模的内侧都与定位凸起位置对映的设置定位凹槽。本实用新型解决了现有技术中对薄型产品脱模不容易,容易产生报废品,在对产品边缘有小圆角或无圆角要求时,对阴模要求较高,增加加工难度和加工成本的问题。

标签:
复合材料
上海 - 上海 来源:中冶有色网 2023-03-18
叶麻纤维复合材料
叶麻纤维复合材料 1185     
 0

本实用新型涉及一种叶麻纤维复合材料,其特征在于,在两层叶麻纤维复合毡中间设置一层聚氨酯发泡基材。所述的叶麻纤维复合毡由叶麻纤维、短切涤纶纤维、短切丙纶纤维或ES复合纤维复合热轧而成,密度50克/m2~500克/m2。本实用新型的优点是节能、环保、成本低。

标签:
复合材料
上海 - 上海 来源:中冶有色网 2023-03-18
纤维增强复合材料与基体粘结性能新型试验装置

本实用新型提供了一种纤维增强复合材料与基体粘结性能新型试验装置,包括上锚具、下锚具和一个回绕铝块,上锚具和下锚具结构对称,回绕铝块设置在下锚具内部,上锚具和下锚具分别包括拉杆、盖板、侧板和底板,其中拉杆垂直设置在盖板的中心位置,两个侧板的一端垂直连接在盖板上,另一端垂直连接在底板的两端。这种装置可实现自然对中加载,操作简单、加载方便。

标签:
复合材料
上海 - 上海 来源:中冶有色网 2023-03-18
模块化复合材料驾驶室

本实用新型公开了一种模块化复合材料驾驶室,其包括前围、侧围以及顶棚,所述侧围和顶棚由聚氨酯玻纤增强蜂窝板制成,所述顶棚和侧围为三明治结构,上层和下层均是聚氨酯玻纤增强层,中间层是PP蜂窝层,所述顶棚上间隔有凸起,所述顶棚与侧围通过铸件和螺栓配合连接,所述铸件为T形结构,所述螺栓拧入具有内螺纹的T形铸件的直管内将所述顶棚与侧围固定连接。本实用新型的在汽车驾驶室上由传统的钣金件换成了优质的新材料——聚氨酯玻纤增强蜂窝板,保证汽车强度的同时,减轻汽车重量。在结构上,用模块化的结构一层板代替了传统汽车的外板、内板、内饰板的三层结构,简化了汽车结构。

标签:
复合材料
上海 - 上海 来源:中冶有色网 2023-03-18
用于管状复合材料产品内部对接成型的模具

本实用新型公开了一种用于管状复合材料产品内部对接成型的模具,包括左端板和右端板,左端板的左侧设置左密封盖板,右端板的右侧设置右密封盖板,左端板和右端板之间沿中心轴设置连接螺杆,左端板和右端板的圆周设置硅胶皮,硅胶皮的左端部压设于左端板与左密封盖板之间,硅胶皮的右端部压设于右端板与右密封盖板之间,左端板、右端板和硅胶皮之间围成密封腔,还包括连通密封腔的气体通道。本实用新型可以将对接操作移至产品内部,使料片在管件内部接缝处固化,完成内部对接,不影响外观和外部尺寸,甚至对已经在安装位的管件的对接修复液可以不用拆除已有安装,在原位即能实现内部对接修复,使用方便。

标签:
复合材料
上海 - 上海 来源:中冶有色网 2023-03-18
玻璃纤维增强聚丙烯复合材料的造粒后干燥装置

本实用新型公开一种玻璃纤维增强聚丙烯复合材料的造粒后干燥装置,包括筒体和螺旋输送机,筒体顶部设置进料口,筒体底部设置出料口并与螺旋输送机连通;筒体内部设置振动板,在振动板下方的筒体内部设置多个环形喷气管,多个环形喷气管同圆心布置且等距离间隔,每个环形喷气管的顶部均匀周向设置多个喷气头,在最内圈的环形喷气管所围成的区域内设置支撑板,支撑板上设置供气管和多个支气管,供气管通过多个支气管与多个环形喷气管连通,在靠近筒体内顶部的筒体两侧分别设置用于气体回流的回流管;本实用新型提高了干燥效率,有效去除粒料表面残余的水分,保证粒料的水分含量满足产品仓储和使用标准,为下游生产加工制造业提供高质量的原材料。

标签:
复合材料
上海 - 上海 来源:中冶有色网 2023-03-18
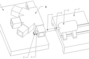
复合材料多通接头打孔装置

本实用新型提供了一种复合材料多通接头打孔装置,包括可调平台、六角薄螺母、刀具、传动轴、联轴器、驱动电机、导轨平台。将接头固定在可调平台上,采用接头上预先加工的对穿孔定位,调整好可调平台与驱动电机中心的位置,通过六角薄螺母固定,驱动电机通过联轴器带动传动轴和刀具转动和轴向移动,可以实现对内侧大孔径的加工。本打孔装置能够解决由于内部空间较小,造成“内大外小”类对穿孔中的大孔不易加工的难题,操作方便,加工精度高,同时该装置结构简单,能够有效减小设备成本。

标签:
复合材料
上海 - 上海 来源:中冶有色网 2023-03-18
用于制备复合材料预浸料捻子条的工艺设备

本实用新型提供用于制备复合材料预浸料捻子条的工艺设备,包括:预浸料收放卷系统,其包括支架以及依次安装在支架的一侧上的预浸料放卷(1)、余料收卷(2)和离型纸收卷(3),还包括安装在所述支架上的三向分切刀(4)、多个过渡辊(5)以及压辊(6);热压系统,其包括依次布置的烘箱(7)、预定型器(8)和定型器(9);牵引系统,其包括切割装置(10)、夹紧牵引装置(11)和定位器(12);以及控制系统,其对所述工艺设备进行控制与协调。

标签:
复合材料
上海 - 上海 来源:中冶有色网 2023-03-18
净水器陶瓷滤芯复合材料

本实用新型公开了一种净水器陶瓷滤芯复合材料,包括陶瓷壳体层、离子交换树脂层、空心活性碳棒层组成;所述陶瓷壳体层内由外向内依次为离子交换树脂层、空心活性碳棒层;所述陶瓷壳体层为硅藻土微孔陶瓷或负离子陶瓷;在饮用水首先经陶瓷壳体层进行第一层过滤后,进入离子交层树脂层进行第二层过滤,最后经空心活性碳棒层进行第三层过滤。所述空心活性碳棒4中芯设有超滤膜;所述陶瓷壳体层1内壁设有银离子涂层;消毒抗菌,可改善水的口感。本实用新型结构合理,可有效过滤水中的有害物质、保留了水中的矿物质和微量元素;经净化的水质细腻、口感甘甜。

标签:
复合材料
上海 - 上海 来源:中冶有色网 2023-03-18
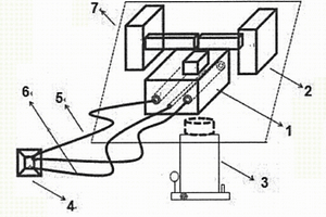
橡胶复合材料弯曲刚度试验装置

一种橡胶复合材料弯曲刚度试验装置,包括一个机架、一个电动推杆和一个直线位移传感器,电动推杆固定设置在机架上,前端设置有加载压头,加载压头的前端端面呈半圆柱状,加载压头的前端的上缘和下缘分别设置有向前突出的托杆,机架上平行设置有两个支撑滚筒,支撑滚筒关于加载压头对称分布,直线位移传感器设置在机架与活动杆、或者载压头之间,加载压头与活动杆的前端之间设置有压力传感器。支撑滚筒与被测试件两端形成简支梁力学模型,电动推杆对被测试件中部加载压力,压力传感器测量压力值,直线位移传感器测量加载压头的位置,将被测试件达到指定曲挠变形时需要的压力,转换得到被测试件的弯曲刚度,得到轮胎局部沿断面方向的弯曲刚度分布。

标签:
复合材料
上海 - 上海 来源:中冶有色网 2023-03-18
钢塑复合材料的卧式离心泵

本实用新型涉及离心泵技术领域的一种钢塑复合材料的卧式离心泵,包括泵体、电机、支撑轴承座、联轴器、机械密封、机械密封压盖、金属外壳、泵轴和支架,电机通过联轴器连接泵轴,其特征在于:所述泵体包括泵壳、泵盖和叶轮、机械密封座和机械密封压盖,所述泵壳、泵盖、叶轮、机械密封座和机械密封压盖由钢制骨架外一次性模压包覆聚偏二氟乙烯包缚层制成;所述泵轴上安装有支撑轴承座,支撑轴承座固定在支架上,所述机械密封包括机封静环和机封动环,机械密封套接在轴套外部,通过机械密封压盖固定在泵体上。本实用新型的具有增加耐腐蚀性能、提高使用寿命和降低维修成本等优点。

标签:
复合材料
上海 - 上海 来源:中冶有色网 2023-03-18
具有生物活性的硼硅非晶态溶胶包覆金属有机框架的复合材料及其制备方法

本发明公开了具有生物活性的硼硅非晶态溶胶包覆金属有机框架的复合材料的制备方法:将金属离子溶液和配体溶液分别超声分散并在水浴中混合,得到MOFs的生长溶液,离心干燥得到A样品;将A样品溶于溶剂中,超声分散并置于水浴中;缓慢滴加氨水溶液,并反应得到B溶液;将一定量的正硅酸乙酯溶于乙醇中,滴入B溶液中反应得到C溶液;称取H3BO3和NaH2PO4溶于去离子水中,滴入C溶液反应得到D溶液;向D溶液中滴加氯化钙溶液,反应得到E溶液;将E溶液离心、冻干得到复合样品。本方法包括:以金属有机框架(简称MOFs)为核,富含硼硅等生物活性离子的溶胶为壳的复合体系的构建,以及基于硼硅非晶态溶胶的组成及含量对MOFs包覆后的微球形貌影响和壳层厚度的调控。

标签:
复合材料
上海 - 上海 来源:中冶有色网 2023-03-18
非金属氮掺杂碳复合材料及其制备方法和应用

本发明涉及一种非金属氮掺杂碳复合材料及其制备方法和应用,通过二氧化锰纳米线表面包裹聚多巴胺再进行碳化并酸洗而得。本发明采用的多巴胺中的氮元素提高了材料的电催化性能,是一种绿色环保的氧还原催化剂,并且具有良好的循环稳定性,就有良好的市场应用前景。

标签:
复合材料
上海 - 上海 来源:中冶有色网 2023-03-18
低气味耐刮擦的聚丙烯复合材料及其制备方法

本发明的一种低气味耐刮擦的聚丙烯复合材料,包括以下质量分数的原料制备而成:聚丙烯:44.6%~96.6%,滑石粉:0~40%,抗氧剂:0.4%~4%,除味剂1:1%~5%,除味剂2:1%~5%,耐刮擦助剂:1%~5%;所述除味剂1为水、六甲基二硅烷、六甲基二硅氧烷、三乙基桂醇、八甲基三硅氧烷中的一种或几种;所述除味剂2为负载有乙二胺四乙酸盐、亚甲基三胺五亚甲基磷酸、乙二胺四亚甲基磷酸、2,4‑二硝基苯肼中的至少一种的介孔二氧化硅或13X型沸石分子筛。本发明的产品具有优异的低气味和耐刮擦性,降低了气味、散发性和耐刮擦性之间的拮抗作用,最终实现产品在气味、散发性以及刮擦性的平衡。

标签:
复合材料
上海 - 上海 来源:中冶有色网 2023-03-18
上一页 503 504 505 506 507 ... 729 下一页
共729页    到第

中冶有色为您提供最新的上海有色金属材料制备及加工技术理论与应用信息,涵盖发明专利、权利要求、说明书、技术领域、背景技术、实用新型内容及具体实施方式等有色技术内容。打造最具专业性的有色金属技术理论与应用平台!

全国热门有色金属设备推荐
展开更多 +
全国热门有色金属技术推荐
展开更多 +

 

江西省隆恩特环保设备有限公司
宣传

报名参会
更多+

报告下载

有色专家
更多+

长春黄金研究院有限公司
总经理
鞍钢集团有限公司
中国工程院院士
北京科技大学
主任/教授
赣州江钨钨合金有限公司
工程师
湖南科技大学
所长/教授
赤泥综合利用研究报告2025
推广

热门技术
更多+

推荐企业
更多+

福建省金龙稀土股份有限公司
宣传

发布

在线客服

公众号

电话

顶部
咨询电话:
010-88793500-807