青岛垚鑫智能科技有限公司
宣传

位置:中冶有色 >

有色技术频道 >

分类:
全部
矿山技术
冶金技术
材料制备及加工技术
环境保护技术
分析检测技术
 
全部
功能材料技术
复合材料技术
新能源材料技术
合金材料技术
加工技术
地区:
全部
北京
天津
上海
重庆
河北
山西
辽宁
吉林
黑龙江
江苏
浙江
安徽
福建
江西
山东
河南
湖北
湖南
广东
海南
四川
贵州
云南
陕西
甘肃
青海
内蒙
广西
西藏
宁夏
新疆
其他
其他
展开
 
全部
上海

上海有色金属材料制备及加工技术理论与应用

免费发布技术信息>>
阻燃胶及具有背胶的保温复合材料

一种阻燃胶,按重量百分比,主要由60%~70%油性压敏胶和30%~40%阻燃剂组成。将阻燃胶作为粘合剂,与铝箔玻纤布和三聚氰胺树脂泡沫等制取复合材料。本发明提供的阻燃胶,其氧指数≥32,阻燃性能达到TBT3237标准,以及DIN5510、EN45545、BS6853和NFP130等标准,具有很好的防火性能,有效的保证了交通工具在高速下的运行安全。经测试,将本发明阻燃胶应用于树脂泡沫制成的保温棉,其粘贴使用寿命能达到20年以上。

标签:
复合材料
上海 - 上海 来源:中冶有色网 2023-03-18
复合材料四氟的换热器及其制备方法

一种复合材料四氟的换热器及其制备方法。该换热器包括换热管束,换热管束包括若干换热管和管板,若干换热管的两端分别设置在管板上,换热管包括金属管,金属管上设有四氟乙烯热缩管。它利用了金属管的机械强度好、换热效率高和聚四氟乙烯材料表面能低不易粘污的特点,在金属管外面套用非常容易购买的聚四氟乙烯热缩管,组合成为复合型的换热管。该热缩管和聚四氟乙烯管具有同样的功能,但热缩管的厚度只有聚四氟乙烯管的1/5~1/20,这样导热效率和单一材料的聚四氟乙烯管换热器相比提高了5倍以上,由于金属管作为热缩管的支撑,其机械强度和普通管壳式换热器基本一样,可以应用在较高压力的工艺流程上,且应用的领域广。

标签:
复合材料
上海 - 上海 来源:中冶有色网 2023-03-18
具有金属缓冲层的CZT薄膜复合材料及其制备方法

本发明公开了一种具有金属缓冲层的CZT薄膜复合材料及其制备方法,所述碲锌镉薄膜采用衬底‑缓冲层‑半导体的三明治结构的组合形式,依次由衬底、金属缓冲层和碲锌镉三部分进行层叠组装结合的结构。本发明在传统碲锌镉薄膜生长过程中加入金属缓冲层。与传统生长方式相比,本发明所采用的金属缓冲层技术,得到的薄膜生长速度更快,薄膜晶粒尺寸更大,薄膜晶体质量更高。本发明制备的薄膜材料对于公共安全、军事、核工业、核医学、科学研究以及航空航天等领域安全监控、辐射防护方面具有重要意义和应用前景。

标签:
复合材料
上海 - 上海 来源:中冶有色网 2023-03-18
低气味、高性能、环境友好型聚丙烯复合材料及其制备方法

本发明公开了一种低气味、高性能、环境友好型聚丙烯复合材料及其制备方法,其包括以下重量份计的原料:聚丙烯再生料:57.5‑75.5;滑石粉:10‑20;弹性体:6‑10;功能母粒:3‑10;相容剂:1‑5;抗氧剂:0‑1;其它助剂:0‑3;本发明的优点在于:本发明为缓解聚丙烯塑料产生的环境污染压力,在改性聚丙烯再生料材料配方中引入一种高效的功能母粒来改善其气味散发性能。功能母粒中的橘子皮颗粒主要成分有果胶、纤维素、木质素等,具有疏松多孔的结构,表现较好的吸附能力,能够吸附聚丙烯再生料在熔融挤出产生的小分子物质;还有橘子皮中的果胶表现出一定的橘子果香味道,它的存在能改善材料体系的整体味型,且该橘子果香味对人体无害绿色环保。

标签:
复合材料
上海 - 上海 来源:中冶有色网 2023-03-18
复合材料壳体成型模具

本发明涉及模具技术领域内的一种复合材料壳体成型模具,包括筒体、芯轴以及端板;沿筒体的轴向方向切割为多块条状的瓣模,多块瓣模合抱于芯轴后围成筒体,芯轴的两端位于筒体之外,瓣模的周向包络尺寸小于筒体的两端开口中至少一端开口的尺寸;端板包括第一端板和第二端板,第一端板与第二端板分别套接于芯轴的两端,瓣模夹紧于第一端板和第二端板之间。本发明通过将壳体成型中用于纤维缠绕的筒体进行轴向分割为条状结构的瓣模,且瓣模的周向包络尺寸的设计,在壳体成型后可极为方便地将瓣模抽出,解决了脱模难的问题,提高成型壳体的质量,同时瓣模可重复利用,降低了生产成本。

标签:
复合材料
上海 - 上海 来源:中冶有色网 2023-03-18
树状大分子修饰多壁碳纳米管复合材料负载阿霉素的制备

本发明涉及一种树状大分子修饰多壁碳纳米管复合材料负载阿霉素的制备方法,包括:(1)制备G5-FI;(2)制备G5-FI-FA;(3)制备MWCNT-G5-FI-FA;(4)制备MWCNT-G5-FI-FA-Ac;(5)制备载药复合物DOX/MWCNT-G5-FI-FA-Ac。本发明制备过程简单,实验条件为常温常压,易于操作,所采用的制备程序可用于制备其它功能化树状大分子的制备,具有很好的实用价值。

标签:
复合材料
上海 - 上海 来源:中冶有色网 2023-03-18
相分离导电高分子复合材料

本发明公开的一种相分离导电高分子复合材料,其组成为:连续相树脂60-95份;分散相树脂5-40份;导电填料5-15份;相容剂0.1-5份;抗氧剂0.1-2份;润滑剂0.1-5份,按照本发明方案中的成分配比,聚丙烯树脂形成连续相,SBS树脂形成分散相,同时SBS树脂在聚丙烯基体连续相树脂当中形成连续网络结构的导电通路。在制备过程中对挤出成形的产品采用辐照交联,进一步提高了材料的重复稳定性和PTC强度。本发明在降低导电填料的用量的同时,保持了材料的导电能力和PTC强度,可以作为一种优良的PTC材料使用。

标签:
复合材料
上海 - 上海 来源:中冶有色网 2023-03-18
耐寒、抗冲击和高强度聚酰胺复合材料及其制造方法

本发明公开了一种耐寒、抗冲击和高强度聚酰胺 复合材料及其制造方法一种,各原料组分及重量份数如下:聚 酰胺单体100份,表面处理剂0.05~1份, SiO2单体1~5份,分散介质20 份,增韧剂5~15份。聚酰胺单体为ε-己内酰胺或己二酸己 二胺盐;复合表面处理剂是含抗氧剂即四[β-(3,5-二叔丁 基-4′-羟基苯基)丙酸]季戊四醇脂和复合偶联剂即氨丙基 三乙氧基硅烷和异丙基三异硬脂酰基钛酸脂经酒精溶解后的 有机溶液,浓度为10%;分散介质为水;增韧剂为经改性具有 与聚酰胺接枝反应基端的EVA或POE或EPDM增韧剂。本发 明具有耐寒抗冲高强特性,原材料广泛易得、制造成本低、生 产周期短的优点;适用于在低温恶厉环境下的使用,如:东北、 大西北等寒冷地区、山区小半径区间等地区的铁路轨道事业、 室外工程塑料工件、工具、汽车、电器以及机械另部件等的应 用。

标签:
复合材料
上海 - 上海 来源:中冶有色网 2023-03-18
填充方钴矿基热电复合材料及其制备方法

本发明涉及一种填充方钴矿基热电复合材料及 其制备方法,属于热电材料领域。该材料的组成式为 IyA4B12/zIOx,I为Yb或Eu或Ce或La或Nd或Ca或Sr中的一 种,A为Sb或者Sb和Ge或Sn或Te或Se中一种的混合,B 为Co或者Co和Fe或Ni中一种的混合,y为I元素的实际填 充量,y+z=m,m大于填充方钴矿原子的填充极限。该材料采 用先采用熔融法合成块体材料,即按I∶Co∶Sb=m∶4∶12 摩尔比配料后,封入密闭的石英管中。将原料加热至熔融状态, 经过充分化学反应并冷却后,获得块体材料,再用机械粉碎并 研磨成粉末。然后将上述粉末用脉冲直流通电快速烧结成致密 的块体。该材料在降低晶格热导率同时不影响材料的电传输性 能,从而提高材料的热电转换性能。

标签:
复合材料
上海 - 上海 来源:中冶有色网 2023-03-18
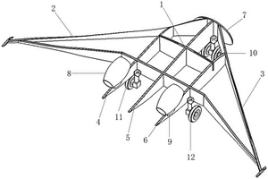
复合材料非载人器骨架

本实用新型提供了非载人器技术领域一种复合材料非载人器骨架,包括机身、发动机以及起落架,机身前端固定设置有机头,机身左右两端固定设置有机翼,机身后端固定设置有尾翼。发动机固定设置在尾翼上,起落架固定设置在机身、机翼以及尾翼上。本实用新型通过设置采用泡沫夹芯板相互连接形成骨架,整体骨架重量轻,便于航空飞行;泡沫夹芯板之间以及泡沫夹芯板与发动机之间均是以卡槽和胶接形式相互连接,保证了结构整体强度;结构设计巧妙,可以提高生产效率,降低生产成本,整体结构匀称且具有美观性。

标签:
复合材料
上海 - 上海 来源:中冶有色网 2023-03-18
复合材料军用箱组成型模具

本实用新型公开了一种复合材料军用箱组成型模具,其包括一底板;四侧立板,四侧立板的底部均通过螺栓可拆卸的安装在底板上,并且,四侧立板的首尾依次通过螺栓可拆卸连接;一盖板,盖板通过螺栓可拆卸的安装在四侧立板上;一硅胶软模;以及一尼龙气袋,尼龙气袋置于硅胶软模内。采用本实用新型的成型模具生产军用箱组,在生产加工成型模具时,即可在侧立板和底板上铺设符合材料预浸料,提前批量化生产具有铺层的成型模具,无需在成型模具组装完成后再进行铺层制作,在平板上进行铺层制作,具有操作简单、速度快的优点,并且能够进行批量化生产,从而利用本实用新型的成型模具能够提高军用箱组的生产效率以及实现批量化生产。

标签:
复合材料
上海 - 上海 来源:中冶有色网 2023-03-18
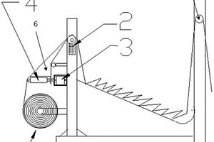
复合材料液压拉挤往复牵引机

本实用新型涉及牵引机技术领域,具体为一种复合材料液压拉挤往复牵引机,包括丝杆牵引机,所述丝杆牵引机上螺纹连接有连接臂,且连接臂的表面固定连接有横架,所述横架的数量为两个,且两个横架对称设置于连接臂的上下两侧,通过U形罩同步于压盘的外侧对物料进行二次压固,一方面可利用内外不同位置的压固进一步加强夹持固定的效果,另一方面可在内部压盘的压固失效后,利用U形罩于外部进行应急锁定,避免物料快速崩弹造成安全隐患,通过U形罩于抵柱、压盘的固定区域外侧进行环罩,可对夹持部件进行一定的防护,避免受到外界影响,还可对外界反向提供防护,避免夹持件损伤、夹持失效时造成溅射等危险伤人、伤物。

标签:
复合材料
上海 - 上海 来源:中冶有色网 2023-03-18
飞机蒙皮复合材料检测用轮式相控阵探头

本实用新型公开了一种飞机蒙皮复合材料检测用轮式相控阵探头,声头通过限位螺钉固定在声头右侧空心轴和声头左侧空心轴之间,轴承内侧盖板、轴承外盖板和轴承安装在声头右侧空心轴和声头左侧空心轴上,轴承内盖板安装在两边轴承内侧,轴承外盖板安装在两边轴承外侧,轮胎左右两侧固定在轴承内盖板上,轴承内盖板通过盖板密封螺钉固定密封,压电晶片的上表面通过磁控溅射镀有声头负电极层,压电晶片的下表面通过磁控溅射镀有声头正电极层,声头正电极层的下表面通过环氧固化粘接有匹配层,正极引线焊接在声头正电极层上,负极引线焊接在声头负电极层上,压电晶片放置在声头屏蔽外壳中,声头屏蔽外壳内灌入配好的声头背衬。

标签:
复合材料
上海 - 上海 来源:中冶有色网 2023-03-18
碳纤维复合材料产品生产加工用废料收集装置

本实用新型属于纤维复合废料收集技术领域,尤其为一种碳纤维复合材料产品生产加工用废料收集装置,包括收集室,所述收集室的顶部固定连接有进料管道,且所述进料管道与所述收集室相连通;第二电机的输出轴可以通过第一转轴带动滚筒进行旋转,滚筒在进行旋转的时候,可以带动转轮进行旋转,从而对经由坡道向下滑落的废料进行不间断的碾压作业,从而对废料的体积进行缩减,使得人们可以通过收集箱或废料箱对废料进行更多的收集,方便人们对废料进行堆叠和码放,保证收集效率,且由于转轮的外部设有刮板,从而转轮在通过旋转对废料进行碾压作业的同时,刮板可以对滑落的物料进行推送,避免卡料的情况。

标签:
复合材料
上海 - 上海 来源:中冶有色网 2023-03-18
木棉纤维包覆复合材料
木棉纤维包覆复合材料 1082     
 0

本实用新型公开了一种木棉纤维包覆复合材料,属于纺织材料技术领域。具有:由碳纤维材料制成的中间体;周向包覆于中间体的包裹体,其由木棉纤维材料制成;所述中间体与包裹体构成的材料为供纺织面料使用的丝状结构。本实用新型的有益效果是:由于包覆纤维是两种或两种以上的纤维组合而成的一种复合纤维。故而包覆纤维除了具有特殊的结构以外,它的优势在于可利用芯纤维的优良性能以及外包纤维的性能,与此同时,还可利用表向特征,充分发挥两种纤维的特长并发挥二者的功能。

标签:
复合材料
上海 - 上海 来源:中冶有色网 2023-03-18
复合材料制作的医用机械臂

本实用新型涉及一种复合材料制作的医用机械臂,包括中空的主杆、插件一、插件二和插件三,插件一和插件二分别插在主杆的两端,插件三为销轴,插件一上留有销孔,将插件一插在主杆上后,将插件三插在插件一的销孔上。采用分步胶合金属插件一、插件二和插件三,降低了密闭产品胶合时内腔产生杂物风险;经过铺层设计使得该机械臂在各个角度都能得到很高的强度,特别在横向上增加0°铺层,提高整体横向承载力。

标签:
复合材料
上海 - 上海 来源:中冶有色网 2023-03-18
复合材料气动焊接装置

本实用新型公开了一种复合材料气动焊接装置,本实用新型气动焊接装置,完全改进了原有技术上存在的缺陷,增加了自动机械化科技含量,相比技术背景中存在的问题,现在新型技术的有益效果在于:由于是机械设备自动焊接面料,减少了手工操作,减轻了工人的劳动强度,提高了劳动生产效率;同时,减少了因原来人工操作造成的原材料污损成本,提高了产品毛利率;并能够保证生产工艺对生产连续性的要求。

标签:
复合材料
上海 - 上海 来源:中冶有色网 2023-03-18
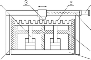
新型复合材料格栅自动成型装置

本实用新型涉及一种新型复合材料格栅自动成型装置,包括机架,所述机架上安装有液压缸和支撑脚;所述液压缸和支撑脚上放置有栅格式铸塑模具;所述栅格式铸塑模具两侧设有用于完成上模和脱模的导向机构;所述栅格式铸塑模具上方设置有3D坐标运动式智能机器人本体机构;所述3D坐标运动式智能机器人本体机构包括机器人基座,所述机器人基座安装在第一导轨上,并能沿第一导轨移动,所述第一导轨安装在第二导轨上,并能沿第二导轨移动,所述第一导轨和第二导轨相互垂直;所述第一导轨和第二导轨通过各自的驱动机构实现运动;所述机器人基座上安装有机器人执行机构。本实用新型能够有效实现优质玻璃钢格栅的自动化化生产。

标签:
复合材料
上海 - 上海 来源:中冶有色网 2023-03-18
纤维增强复合材料零件成型工艺

本发明提供了一种纤维增强复合材料零件成型工艺,包括零件本体,零件本体中心区域由连续纤维增强热塑性树脂板材模压预成型后通过加热装置预热和注塑模具合模的锁模力进行二次模压加工成型;零件本体非中心区域由非连续纤维塑料粒子或纯树脂塑料粒子注塑成型;其制造工艺实现模压‑注塑工艺复合制造。本申请零件具有轻量化,减少零件全周期碳轨迹的优势,符合碳中和、碳达峰环保发展的理念。

标签:
复合材料
上海 - 上海 来源:中冶有色网 2023-03-18
生物基可降解复合材料的双螺杆挤出机

本发明公开了一种生物基可降解复合材料的双螺杆挤出机,包括双螺杆挤出机,所述双螺杆挤出机顶面的位置处设置有进料管,所述进料管顶面的位置处设置有喇叭口进料管,所述喇叭口进料管顶面的位置处设置有连接盖板,所述连接盖板中间的位置处设置有推进杆;本装置通过在进料管内侧加装了调节板,一方面能够对物料起到一定的夹持固定效果,另外一方面能够配合多种大小不统一的物料,推进杆可以在不打开连接盖板的前提下,对进料管内部的物料进行有序的推进,本装置结构简单,方便操作,同时在操作的过程中,可以对物料进行一定的限位效果,避免其在挤压的过程中,发生剧烈晃动,且可以保护操作人员的人身安全。

标签:
复合材料
上海 - 上海 来源:中冶有色网 2023-03-18
碳纤维增强复合材料加固圆管结构空间K’T型节点的方法

本发明公开一种碳纤维增强复合材料加固圆管结构空间K’T型节点的方法,采用外贴碳纤维布的方式加固节点区域,按照先后顺序共计六个环节——单向碳纤维布加固K型间隙区域、双向碳纤维布加固主管、单向碳纤维布加固支管、单向碳纤维布加固联系杆、双向碳纤维布加固主管和端部锚固。本发明的优点是碳纤维布协同管节点变形,分担一部分荷载,强化节点的力学性能,提高了节点的刚度、延性、承载力等静力性能及疲劳性能。

标签:
复合材料
上海 - 上海 来源:中冶有色网 2023-03-18
用于制造树脂基纤维复合材料缠绕单向板的模具及方法

本发明涉及一种用于制造树脂基纤维复合材料缠绕单向板的模具及方法,其包括顶板、底板、限位板、脱模棒和垫片组成的缠绕组件,与缠绕机床套设的连接杆、顶针连接杆,以及用于尺寸限位的盖板。限位板为厚度1mm的金属长片,针对不同类型的试样自行定义其数量。采用本技术方案,缠绕单向板的层厚可自行定义,以满足不同测试类型的试样尺寸需求,试样尺寸及性能稳定,同时模具组件的装配、拆卸及试样脱模简单便捷,提高制样效率。

标签:
复合材料
上海 - 上海 来源:中冶有色网 2023-03-18
基于纳米线的非金属吡啶氮掺杂碳复合材料及其制备方法和应用

本发明涉及一种基于纳米线的非金属吡啶氮掺杂碳复合材料及其制备方法和应用,通过二氧化锰纳米线表面包裹聚多巴胺和吡啶二甲醛再进行碳化并酸洗而得。本发明采用的多巴胺和吡啶二甲醛中的吡啶和氮对提高材料的电催化性能起到关键作用,是一种绿色环保的氧还原催化剂,并且具有良好的循环稳定性,具有良好的市场应用前景。

标签:
复合材料
上海 - 上海 来源:中冶有色网 2023-03-18
树脂基复合材料天线罩喷射成型装置与方法

本发明公开了提供了一种树脂基复合材料天线罩喷射成型装置,其包括:阳模;套设在阳模上的增强纤维织物;设置在阳模下方的旋转转台,其用于驱动阳模和增强纤维织物绕自身垂直轴线回转;喷射装置,其用于将树脂雾化并喷射在增强纤维织物中;与喷射装置连接的二维移动装置,其用于驱动喷射装置沿阳模外型线的偏置曲线做二维移动;与喷射装置连接的树脂发生装置,其用于加热树脂并输送至喷射装置。采用高压气流将树脂喷射到增强纤维织物上,树脂更容易浸透到织物内部,材料均匀性更好;本发明的喷射成型过程可以直接通过肉眼等手段进行监测,并可对成型过程存在的缺陷进行实时处理,提高了成型质量和合格率。

标签:
复合材料
上海 - 上海 来源:中冶有色网 2023-03-18
高光免喷涂聚丙烯复合材料及其制备方法

本发明涉及汽车制造材料技术领域,具体涉及一种高光免喷涂聚丙烯复合材料及其制备方法,其中,材料组份按重量份数包括:聚丙烯粉体:100份;铝颜料:1份~4份;相容剂:10份~30份;增韧剂:5份~15份;成核剂:0.1份~0.4份;主抗氧剂:0.1份~0.5份;辅助抗氧剂:0.1份~0.5份;润滑剂:0.1份~0.5份;光稳定剂:0.1份~0.5份;吸附剂:1份~5份;偶联剂:0.1份~1份。本发明解决了免喷涂塑料的流痕问题,使产品具有较高的附加值,具有绿色环保的特点,具有低成本的优势,具有很强的市场竞争力,可被广泛应用于汽车零部件的制备。

标签:
复合材料
上海 - 上海 来源:中冶有色网 2023-03-18
复合材料拉挤型材在线填充发泡材料的方法

本发明公开了一种复合材料拉挤型材在线填充发泡材料的方法,包括如下步骤:(1)型材持续从模具中拉挤成型,型材内部带有至少一个腔体;(2)在模具中设置第一导料管,发泡材料前驱物从第一导料管的出料口流出并注入腔体;随着型材的前进,前驱物分布在腔体中的不同位置;(3)注入腔体中的前驱物在离开出料口合适距离的位置进行发泡并充满所在的腔体,最后整个腔体被发泡材料均匀充满。本发明的有益效果:利用在线填充发泡材料一次成型替代后填充,提高生产效率;利用拉挤生产过程中的热量和传动,替代加热和高压注入,降低能耗,节约成本;在线填充发泡材料,生产参数可控,实现发泡材料的均匀填充,保证的产品质量的稳定性。

标签:
复合材料
上海 - 上海 来源:中冶有色网 2023-03-18
AlN/含硅芳炔树脂复合材料及其制备方法和应用

本发明公开了一种AlN/含硅芳炔树脂复合材料及其制备方法和应用。所述制备方法包括如下步骤:在溶剂中,对AlN颗粒进行表面改性,然后与含硅芳炔树脂混合均匀,待含硅芳炔树脂完全溶解后,冷却,脱除溶剂,即可;所述AlN颗粒的质量分数为20%~60%,所述百分比为占原料中AlN颗粒和含硅芳炔树脂的质量之和的百分比。本发明是用导热填料氮化铝改性含硅芳炔树脂,所制得的材料有高的导热系数,同时提高了树脂的热稳定性,保留了树脂优良的电绝缘性能。

标签:
复合材料
上海 - 上海 来源:中冶有色网 2023-03-18
聚四氟乙烯与聚苯硫醚双组分复合材料定量分析方法

提供一种PTFE与PPS双组分复合材料定量分析方法,包括以下步骤:选样,去除杂质,裁剪规整,烘干至恒重,称取样品总质量M1;放入水热反应罐,加入萘卤代物,样品与萘卤代物浴比为1:100,密封反应罐;将反应罐放入烘箱,升温至180℃~250℃,反应30min~60min,将反应罐取出,冷却至室温;过滤反应罐中的溶液,收集滤渣;将滤渣浸入100%乙醇溶液中,在超声清洗仪中超声30min,将溶剂洗净,置入80℃~100℃烘箱,烘至绝干;将反应后的样品称重,得到M2,计算PTFE组分、PPS组分的含量。本发明提供的方法适用性广,可通过常规试验室仪器设备完成,便于实施,方便快捷。

标签:
复合材料
上海 - 上海 来源:中冶有色网 2023-03-18
高延性水泥基复合材料及其制备方法

本发明公开了一种高延性水泥基复合材料及其制备方法,包括A组分、B组分和C组分,A组分包括:环氧树脂、乳化剂水、增稠剂;所述B组分包括:水性环氧固化剂、消泡剂、水;所述C组分包括:52.5白水泥、河沙、消泡剂、减水剂和膨胀剂。本发明的产品氯离子、碱含量低,有利于混凝土的耐久性。生产过程无污染,不含甲醛,符合ISO14000环境保护管理国际标准,是一种绿色环保产品。在保证抗压强度的同时、能够提高产品韧性。

标签:
复合材料
上海 - 上海 来源:中冶有色网 2023-03-18
制作高纤维含量的复合材料圆筒防起皱方法和装置

本发明的目的在于提供一种制作织物缠绕高纤维含量的复合材料圆筒防起皱的方法和装置。其中该方法包括在芯模上缠紧织物;将缠紧织物的芯模封闭在真空装置内,对真空装置抽取真空,利用真空压实芯模上的织物在上、下外模合模之后,拆除所述真空装置。

标签:
复合材料
上海 - 上海 来源:中冶有色网 2023-03-18
上一页 501 502 503 504 505 ... 729 下一页
共729页    到第

中冶有色为您提供最新的上海有色金属材料制备及加工技术理论与应用信息,涵盖发明专利、权利要求、说明书、技术领域、背景技术、实用新型内容及具体实施方式等有色技术内容。打造最具专业性的有色金属技术理论与应用平台!

全国热门有色金属设备推荐
展开更多 +
全国热门有色金属技术推荐
展开更多 +

 

江西省隆恩特环保设备有限公司
宣传

报名参会
更多+

报告下载

有色专家
更多+

北京科技大学
教授
湖南有色金属研究院
教授级高工/原总工程师
有研资源环境技术研究院(北京)有限公司
副总经理/教授级高工
重庆大学
副院长/教授
中铝检测科技(郑州)有限公司/国家轻金属质量检验检测中心
正高级工程师
赤泥综合利用研究报告2025
推广

热门技术
更多+

推荐企业
更多+

福建省金龙稀土股份有限公司
宣传

发布

在线客服

公众号

电话

顶部
咨询电话:
010-88793500-807