青岛垚鑫智能科技有限公司
宣传

位置:北方有色 >

有色技术频道 >

分类:
全部
矿山技术
冶金技术
材料制备及加工技术
环境保护技术
分析检测技术
 
全部
功能材料技术
复合材料技术
新能源材料技术
合金材料技术
加工技术
地区:
全部
北京
天津
上海
重庆
河北
山西
辽宁
吉林
黑龙江
江苏
浙江
安徽
福建
江西
山东
河南
湖北
湖南
广东
海南
四川
贵州
云南
陕西
甘肃
青海
内蒙
广西
西藏
宁夏
新疆
其他
其他
展开
 
全部
南京
无锡
徐州
常州
苏州
南通
连云港
淮安
盐城
扬州
镇江
泰州
宿迁

江苏无锡有色金属材料制备及加工技术理论与应用

免费发布技术信息>>
聚吡咯锂硫电池材料
聚吡咯锂硫电池材料 905     
 0

本发明公开了一种聚吡咯锂硫电池材料,包括正极、负极,其特征在于,所述的正极包括集流体和重量比为1:20‑30的活性材料a、活性材料b,本发明将聚吡咯、乙炔炭黑组成的复合活性物质a与单质硫、多孔碳组成的复合活性物质b共混干燥成型,能够增强复合活性物质a与碳硫复合材料之间结合紧密,更好的抑制硫及放电产物溶于电解液,阻止“穿梭效应”,提高硫的利用率,从而提高了成品材料的循环稳定性和容量保持率。

标签:
复合材料
江苏 - 无锡 来源:北方有色网 2023-03-18
新型防水涂料的制备方法

本发明公开了一种新型防水涂料的制备方法,该方法以聚醚220、聚醚3050、聚醚330N为主要原料,同时引入CNT/PANI纳米复合材料,通过物理复配、化学合成等方法,制备出具有高强度和耐穿刺能力的新型防水涂料。本发明制备的新型防水涂料与传统的涂料相比,涂料反应固化后能够形成无接缝、完整的涂膜防水层,提高工程抗渗防水能力,适用于交通、建筑、市政工程等多领域,具有很好的推广应用价值。

标签:
复合材料
江苏 - 无锡 来源:北方有色网 2023-03-18
类火龙果肉形貌的多层次一氧化锰复合微米球的制备方法

本发明涉及类火龙果肉形貌的多层次一氧化锰复合微米球的制备方法,包括如下步骤:1)将锰源和盐酸多巴胺依次加入去离子水中,搅拌溶解;2)在步骤1)所得溶液中引入碱性和碳酸根离子,利用原位聚合和自组装反应制备球形碳酸锰与聚多巴胺前驱体;3)将步骤2)所得前驱体干燥后在预定温度下和惰性气体氛围中进行煅烧,即得类火龙果肉形貌复合颗粒堆叠而成的一氧化锰与氮掺杂碳多层次微米球复合材料。本发明采用液相原位自聚合/组装和煅烧的制备方法,合成了一种类火龙果肉形貌复合颗粒堆叠而成的一氧化锰/氮掺杂碳多层次微米球电极材料。该材料作为锂离子电池负极材料,比容量高,倍率性能好,特别是具有超长的循环寿命。该材料合成工艺简单,重复性好,适合规模化生产,具有良好的市场推广价值。

标签:
复合材料
江苏 - 无锡 来源:北方有色网 2023-03-18
高强度的隔热尼龙材料及其制备方法与应用

本发明属于复合材料领域,公开了一种高强度的隔热尼龙材料,包括以下组分:尼龙66 50‑75份,相容剂3‑15份,偶联剂0.1‑1份,润滑剂0.2‑1.2份,抗氧剂0.1‑1.5份,玻璃纤维22‑28份。本发明还公开了所述隔热尼龙材料的制备方法,包括以下步骤:(1)按照配比称取各组分,除玻璃纤维外,其他物料进行混合,得到预混物;(2)将预混物和玻璃纤维投入挤出设备,经熔融挤出,冷却,制得隔热尼龙材料。所述隔热尼龙材料具备良好的机械强度,可用于制备高品质的隔热条,以替代进口隔热条的使用。

标签:
复合材料
江苏 - 无锡 来源:北方有色网 2023-03-18
改性复合纤维、其制备方法和应用

本发明公开了一种改性复合纤维、其制备方法和应用,属于复合材料制备领域。包括称量、研磨、纺丝、极化四个步骤,在合成纤维中掺杂有压电陶瓷颗粒,其中,压电陶瓷颗粒的分子式为。本发明通过将微米级别的压电陶瓷颗粒加入合成纤维的纺丝溶剂中,随着合成纤维的纺丝形成改性复合纤维,为压电陶瓷颗粒提供一个载体,在保证其压电性能的同时,规避了压电陶瓷纤维硬和脆的特性,降低压电陶瓷颗粒的使用量,节省其使用成本。

标签:
复合材料
江苏 - 无锡 来源:北方有色网 2023-03-18
铝空气电池用燃料铝的制备方法

本发明属于铝空气电池及新能源材料领域,具体涉及一种铝空气电池用燃料铝的制备方法;步骤为:将燃料铝(铝合金)在铝空气电池中消耗后,生成含有合金杂质的Al(OH)3,经500℃‑1200℃焙烧处理后,形成含合金氧化物的氧化铝;再将该氧化铝作为非碳阳极熔盐铝电解工艺的原料,经过电解,氧化铝和合金氧物直接生成铝合金,即燃料铝;非碳阳极熔盐铝电解工艺,采用陶瓷合金制作非碳阳极,TiB2‑C复合材料作阴极;电解质采用氟化盐体系,电解温度700‑950℃;电解过程非碳阳极发生析氧反应,排放氧气;铝及合金金属在阴极析出的同时合金化;通过本发明的方法能够使燃料铝的生产、应用和回收形成清洁环保的闭循环,安全环保。

标签:
复合材料
江苏 - 无锡 来源:北方有色网 2023-03-18
利用碳纤维布真空灌注技术加固修复金属管道的方法

一种利用碳纤维布真空灌注工艺加固修复金属管道的方法,包括将玻璃纤维布缠绕在待加固修复的金属管道表面;在该玻璃纤维布表面缠绕碳纤维布;③利用真空灌注技术,将浸渍树脂导入金属管道并浸渍纤维布;④在室温或升温条件下,使浸渍树脂固化;⑤对固化后碳纤维布表面进行涂层处理。本发明具有施工强度低,施工质量高,可以采用高面密度碳纤维布等优势,促进碳纤维复合材料在金属管道修复加固中的应用。

标签:
复合材料
江苏 - 无锡 来源:北方有色网 2023-03-18
用于封闭沿空煤巷煤壁的涂层材料

本发明公开了一种用于封闭沿空煤巷煤壁的涂层材料,由以下物质组成:水泥100份、环保型界面聚合物固体料3‑6份、矿物混合料及其它添加剂10‑15份;环保型界面聚合物固体料由质量份的丙烯酸酯聚合物固体100份、聚乙烯合成树脂8‑9份组成:上述的矿物混合料及其它添加剂由质量份的硅灰5‑10份、普通粉煤灰或矿渣10‑15份、高效减水剂1‑2份、玄武岩短切纤维微量份组成;是一种喷浆用的新型复合材料,满足对沿空煤巷煤壁封堵的要求。

标签:
复合材料
江苏 - 无锡 来源:北方有色网 2023-03-18
(3,3-二甲基-1-丁炔)六羰基二钴的精制方法

本发明涉及精细化工领域,具体关于一种(3,3‑二甲基‑1‑丁炔)六羰基二钴的精制方法;本发明操作简便,方法简单;在加热单元和收集单元之间增加了吸附单元,通过磁感应精准控温加热方式为(3,3‑二甲基‑1‑丁炔)六羰基二钴的气化提供热量,在吸附单元中加入一种金属有机骨架‑碳硅复合材料,能吸附随(3,3‑二甲基‑1‑丁炔)六羰基二钴蒸汽一起的烷烃杂质,进一步提升产品的质量百分比含量。本发明具备精准控温功能,对吸附单元的精准控温能防止产品在吸附小球上凝结;本发明能作为大量制备高纯度的(3,3‑二甲基‑1‑丁炔)六羰基二钴产品的制备工艺,非常具备应用前景。

标签:
复合材料
江苏 - 无锡 来源:北方有色网 2023-03-18
层状镍铁铜氢氧化物电催化剂及其制备方法和应用

本发明公开了一种层状镍铁铜氢氧化物电催化剂及其制备方法和应用。该电催化剂以层状NiFe‑LDH为基体,并通过掺杂Cu金属离子对其进行电催化性能改性获得。本发明提供的层状镍铁铜氢氧化物电催化剂中,通过掺杂铜金属离子实现对NiFe‑LDH基体的晶体结构和电子结构的改变,从而调控材料的物理和化学特性,降低催化剂的过电势,使得掺杂后的层状复合材料的电催化性能大幅提高。实验表明,本发明提供的层状镍铁铜氢氧化物电催化剂的过电势,电流密度为10mA cm‑2时,从1.53 V降低到1.39 V。此外,本发明提供的制备方法及实验操作简单,利于大规模生产。

标签:
复合材料
江苏 - 无锡 来源:北方有色网 2023-03-18
二维片状SiC材料的制备方法

本发明涉及一种二维片状SiC材料的制备方法,属于微波合成技术领域。本发明的二维片状SiC材料的制备方法,包括以下步骤:1)将主要由溶胶和膨胀碳材料组成的分散体系进行凝胶化处理,得到前驱体凝胶;所述溶胶为硅溶胶或由硅源经过水解、缩合得到;2)将所得的前驱体凝胶进行干燥,得到复合粉体;3)将所得的复合粉体进行反应烧成,即得。本发明的二维片状SiC材料的制备方法,以膨胀碳材料作为碳源,分散体系中的硅溶胶颗粒分布于膨胀碳材料的片层状结构表面,也呈片状分布,经过烧成反应后,即可得到具有纳米片状结构的二维片状的SiC材料,具有比表面积更大、更易分散的优点,并且层状结构能够改善其在复合材料的界面润湿性。

标签:
复合材料
江苏 - 无锡 来源:北方有色网 2023-03-18
具有自放大能力的磁电薄膜传感器

本发明属于磁电传感器技术领域,涉及一种具有自放大能力的磁电薄膜传感器,所述磁电薄膜传感器由磁电复合材料与MOS管复合而成的多层异质结构及密绕在所述多层异质结构上下两侧的铜线圈构成,多层异质结构具体包括衬底层、本征层、n+型半导体层、p+型半导体层、第一金属接触层、第二金属接触层、第一输出电极、第二输出电极、绝缘层、两个磁致伸缩层和压电层。本发明中n+型半导体层、p+型半导体层和磁致伸缩层分别作为MOS管的源极、漏极和栅极,栅极电压变化引起MOS管内沟道感应电荷量变化,导致其导电沟道变宽,此时MOS管由截止状态工作在放大(即可变电阻区)状态,实现磁电电压的自放大功能,可用于较低信噪比环境下弱磁场的高灵敏度探测。

标签:
复合材料
江苏 - 无锡 来源:北方有色网 2023-03-18
保温板材用气凝胶复合泡沫芯材及其制备方法

本发明属于轻质聚合物基复合材料技术领域,公开一种保温板材用气凝胶复合泡沫芯材及其制备方法。所述保温板材用气凝胶复合泡沫芯材由二氧化硅气凝胶毡及与其一体成型的泡沫层组成。步骤如下:按重量份计,称取以下各种物料:液体环氧树脂100份、可膨胀微球发泡剂10‑15份、固化剂60‑150份、促进剂0‑3份、偶联剂0‑5份,将上述物料混合均匀,得到可发泡预浸料;将二氧化硅气凝胶毡浸渍于可发泡预浸料中;浸渍完成后取出二氧化硅气凝胶毡,进行热压固化成型,即得。本发明制备得到的复合泡沫芯材同时结合泡沫良好的力学性能和气凝胶毡优异的隔热保温特性。

标签:
复合材料
江苏 - 无锡 来源:北方有色网 2023-03-18
满足EN45545阻燃标准的OoA工艺用预浸料

本发明公开了一种满足EN45545阻燃标准的OoA工艺用预浸料,包括碳纤维和阻燃树脂基体;阻燃树脂基体包括一定质量组分的环氧树脂、阻燃剂、固化剂;且阻燃剂至少为2种。其通过最优的阻燃剂组合,分别于燃烧的不同阶段实现阻燃效果,使得阻燃树脂既满足EN45545阻燃标准中HL1或HL2级别,又适用低成本OoA工艺,降低对最终产品力学性能的影响,使得其经预浸料固化后具有优异的力学性能。同时界面改性剂改善阻燃剂和树脂之间的界面极性,让树脂在完全浸润粉体后更加充分的接触和浸润纤维,实现纤维和树脂间的应力传递,充分发挥碳纤维复合材料优异力学性能的特点。

标签:
复合材料
江苏 - 无锡 来源:北方有色网 2023-03-18
胶粘剂及应用其的电化学装置

本发明涉及胶粘剂及应用该胶粘剂的装置。所述胶粘剂主要含有环氧树脂,所述胶粘剂还含有具有环氧官能团的超支化聚硅氧烷,其中所述胶粘剂中所述环氧树脂与所述超支化聚硅氧烷的重量比为100:(5~30)。本发明的胶粘剂通过在环氧树脂结构胶中引入具有环氧官能团的超支化聚硅氧烷,通可在基本不损失环氧树脂粘度的前提下,提高环氧树脂抗疲劳性能的改性剂,并最终达到提高其对复合材料和金属嵌件之间粘接可靠性的效果。

标签:
复合材料
江苏 - 无锡 来源:北方有色网 2023-03-18
用于海洋环境的石墨烯防腐涂料及其制备方法

本发明公开了一种用于海洋环境的防腐涂料的制备方法:将苯胺单体分散至5‑磺基水杨酸中,超声20~40分钟后,加入氧化石墨烯水溶液,搅拌20~40分钟,超声20~40分钟后,逐滴滴加过硫酸铵,搅拌11~13小时;5‑磺基水杨酸、过硫酸铵与苯胺的摩尔比皆在4:5至5:4之间;将经搅拌后所得溶液以抽滤形式用去离子水溶液和乙醇洗涤数次至清洗液为中性;60~70摄氏度下将沉淀物真空干燥20~28小时,得到氧化石墨烯/聚苯胺复合材料;将纳米二氧化钛分散到浓度为0.02M~1M的5‑磺基水杨酸中后,加入浓度为0.25~0.75mg/ml的氧化石墨烯/聚苯胺复合溶液中,持续搅拌11~13小时后离心,蒸馏水洗涤、乙醇洗涤和烘干,得到氧化石墨烯/聚苯胺/二氧化钛复合纳米粉体。

标签:
复合材料
江苏 - 无锡 来源:北方有色网 2023-03-18
缓释心肌补片材料及其应用

本发明提供一种缓释心肌补片材料,采用明胶作为基底物质,通过添加结冷胶,氧化石墨烯,多巴胺,甲基丙烯酸酐,不仅提高的组合物的导电性,械延展性,更重要的是通过加入伊桐苷和Fmoc‑FF并摸索不同物质的配比和制备工艺,获得一种可以在体内缓慢释放自由基清除物质的心肌补片材料,能更好的恢复心肌梗死部位活性的心肌补片复合材料,具有良好的市场前景和社会公益价值。

标签:
复合材料
江苏 - 无锡 来源:北方有色网 2023-03-18
超导发动机上舱盖
超导发动机上舱盖 867     
 0

本项发明为克服《一种超导迈斯纳效应过程做功连续输出装置》(授权公告号CN 105429432 B,授权公告日2017.10.13)专利上部敞开的缺陷而设置。专利CN 105429432 B应简称为“超导发动机”。因其上部敞开无法阻止冷媒所挥发的气体逃逸,造成极大资源和能源浪费,缺乏实用价值,通过设置上舱盖(1),并与下部分机舱利用低温密封技术适当密封粘合,预留冷媒和气体进出管道,可有效阻止气体逃逸,降低气体液化及净化成本,有利于实现冷媒的液气循环转化利用,提高超导发动机运转机械效率。具体实施需根据超导发动机特征进行,如上舱盖的结构、形状、尺寸等可根据发动机输出功率大小确定,其制造材料应具有一定的耐低温特性,如特种合金制成的杜瓦,耐低温复合材料等。

标签:
复合材料
江苏 - 无锡 来源:北方有色网 2023-03-18
结构色膜稳定剂及其制备方法

本发明公开了一种结构色膜稳定剂及其制备方法,涉及结构色稳定剂技术领域,本发明采用石墨烯和聚多巴胺复合材料作用为黑色吸光物质,一方面有利于提升结构色膜的颜色比对度,同时由于石墨烯和聚多巴胺的复合结构的多样性,有利于调节结构色膜的角度,降低结构色膜观察的角度依赖性,同时通过乙醇和表面活性剂的添加量,调节结构色膜的的溶剂挥发性和胶体微球的收缩性,从而提升结构色膜的稳定性。

标签:
复合材料
江苏 - 无锡 来源:北方有色网 2023-03-18
微观结构均匀的聚晶金刚石复合片的制备方法及产物

本发明属于超硬复合材料技术领域,尤其涉及一种微观结构均匀的聚晶金刚石复合片的制备方法及产物,所述方法包括对硬质合金基体内装配金刚石微粉及催化剂完成后的高温高压烧结步骤,所述高温高压烧结步骤包括顺次进行的至少两个阶段的高温高压烧结处理,且每个高温高压烧结处理的温度顺次升高、压力相同或顺次升高。本发明通过多个高温高压烧结处理的顺次进行,解决聚晶金刚石复合片界面催化剂喷发式渗透形成的局部团聚的问题,从而大幅度提高复合片的热稳定性、抗冲击性等,进而提高复合片在使用过程中的抗崩、抗脱层效果。

标签:
复合材料
江苏 - 无锡 来源:北方有色网 2023-03-18
含ABS的高耐磨树脂组合物

本发明公开了一种含ABS的高耐磨树脂组合物,它主要由如下重量份的组分制成:ABS 70~130份,合成橡胶100份,白矿油70~130份,聚苯乙烯50~100份。本发明所提供的医疗材料用树脂组合物,通过调整树脂和增塑料等特定组分及其用量至一定的比例后得到的透明医用聚烯烃复合材料。该材料透明性和力学性能高、与ABS材料密度接近、成本低,可以替代进口医用透明ABS。

标签:
复合材料
江苏 - 无锡 来源:北方有色网 2023-03-18
废纸衍生多孔碳电极材料的制备方法

一种废纸衍生多孔碳电极材料的制备方法,其特征在于,它是以原木浆办公废纸、KOH、去离子水为原材料,分别经过球磨、鼓风干燥1、高温煅烧、离心洗涤、鼓风干燥2等步骤实现。本发明低成本的多孔碳复合材料制备方法简单可行,节能环保、成本低,性能优越,节能减排,本发明煅烧出的粉末成黑色,不会出现深灰偏白色,证明本发明煅烧出的产品质量好,无杂质,XRD图可明显观察到碳特征峰,产品制备方法稳定性好,产品电循环稳定性好,经过5000次循环后,比电容量还能保持原本的85%以上,值得市场推广应用。

标签:
复合材料
江苏 - 无锡 来源:北方有色网 2023-03-18
大型齿轮
大型齿轮 1154     
 0

本发明公开了一种大型齿轮,包括轮齿、固定环和填充基体,所述轮齿有多个并独立设置,所述轮齿包括外露齿和位于外露齿下端的下埋齿根,所述轮齿通过下埋齿根固定安装在所述固定环上,所述填充基体由复合材料浇筑而成,所述填充基体位于所述固定环内并与所述固定环固定相连。本发明的大型齿轮结构新颖,设计巧妙,整个齿轮由多个部件组合而成,方便大齿轮的加工生产,此外还能提高轮齿的强度,提高整个齿轮的使用效果。

标签:
复合材料
江苏 - 无锡 来源:北方有色网 2023-03-18
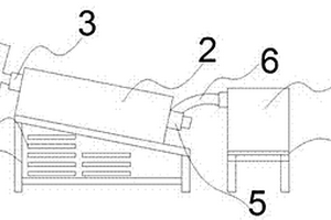
新型改进散热污泥脱水机

本发明公开了一种新型改进散热污泥脱水机,其特征在于,包括底座(1),在底座(1)上设置侧板(2),在侧板(2)一侧设置电机支架(3),在电机支架(3)一侧设置电机(4),在侧板(2)另一侧设置进水桶(5),在进水桶(5)上设置冲洗水管(6),冲洗水管(6)连接存储箱(7),在存储箱(7)下设置进水口(8),在底座(1)上设置通风口(9),本发明的有益效果是:本发明设计合理,结构简单。该新型改进散热污泥脱水机在工作时,将达到预期效果,大多电机支架都需要有耐高温要求配置,而此发明从材料上达到了要求,电机支架采用加强复合材料,使其加固提高使用安全性。

标签:
复合材料
江苏 - 无锡 来源:北方有色网 2023-03-18
高铝粉煤灰合成托贝莫来石复合保温材料的方法

本发明涉及一种高铝粉煤灰合成托贝莫来石复合保温防火材料的方法,属于无机保温材料领域。该方法以高铝粉煤灰为主要原料,与氧化钙或氢氧化钙混合后磨细,再加入微量添加剂,将所述两种原料与水混合均匀制浆后进行动态水热合成反应,反应后依次进行过滤和干燥处理,得到莫来石与托贝莫来石复合保温防火材料。本发明的主要原料高铝粉煤灰是高铝煤炭经电厂煤粉炉燃烧后得到的固体废弃物;本发明大大降低了复合材料的生产成本,原料来源广泛,与此同时,本发明的制备莫来石与托贝莫来石复合保温防火材料的方法简单,反应时间短,可以大规模消纳火力发电厂产生的固体废弃物,适于产业化推广。

标签:
复合材料
江苏 - 无锡 来源:北方有色网 2023-03-18
基于3D喷印的墙体智能综合粉刷工艺

本发明公开了一种基于3D喷印的墙体智能综合粉刷工艺,包括步骤如下:A、基层处理:将表面尘土、污垢清扫千净;B、现场测量:通过3D喷印装置的智能室内三维测量仪对室内墙面进行扫描进行测量,并且经数据进行整理,找出墙面最高值与最低值,以最低峰值建立基准面,并且以最高峰值作为粉刷成型面,形成立体模型;C、材料准备:将二水硫酸钙、半水硫酸钙、氢氧化钙、增强材料和粘筋材料按照一定比例进行混合搅拌,得到喷涂材料备用;智能粉墙技术的应用环保复合材料生成墙面,比传统粉刷技术生成的墙面平整度更均匀,用料更省,施工周期更短,墙面效果一致,并且具有一定范围的自发调节室内空气湿度和温度的功效。

标签:
复合材料
江苏 - 无锡 来源:北方有色网 2023-03-18
实心轮胎
实心轮胎 656     
 0

本发明属于轮胎技术领域,具体涉及一种实心轮胎,所述轮胎具有外层和内芯的结构;所述外层是橡胶或热塑性聚氨酯弹性体材料;所述内芯是发泡粒子和CPU的复合材料。本发明实心轮胎无需充气,具有轻质、耐磨、高负荷以及优异的力学性能。

标签:
复合材料
江苏 - 无锡 来源:北方有色网 2023-03-18
高性能合金渣混凝土及其制备方法

本发明提供了一种高性能合金渣混凝土及其制备方法,由水泥13~15份、合金渣5~7份、矿粉1~3份、水5~7份、砂石50份、碳纤维复合材料0.5~1.5份、助剂3~6份、氯化铝1~3份、氧化铝1~3份、氢氧化钾2~4份、尿素6~8份、N‑甲基吡咯烷酮3~7份制成。主要克服混凝土抗压强度低、抗折强度差的不足,提供了一种制备工艺简单的高性能合金渣混凝土的制备方法,该高性能合金渣混凝土具有轻质、高强、高韧的优点,有望未来直接应用于批量化的工业生产。

标签:
复合材料
江苏 - 无锡 来源:北方有色网 2023-03-18
锂离子动力电池正极材料锰酸锂的制备方法

本发明公开了一种锂离子动力电池正极材料锰酸锂的制备方法,具体包括以下步骤:S1、锰矿物的破碎研磨处理,S2、锰矿物的溶解,S3、锰酸锂溶液的混合配制,S4、锰酸锂溶液的掺杂及酸碱度调配,S5、糊状锰酸锂混合物的制备,S6、锂电池正极的成形,本发明涉及锂电池生产技术领域。该锂离子动力电池正极材料锰酸锂的制备方法,可实现通过对锰酸锂进行表面修饰和掺杂来有效改性其电化学性能,很好的达到了通过在锰酸锂中加入纳米导电复合材料,来增强锰酸锂的导电和导热性能的目的,实现了通过在锰酸锂分子的表面包裹一层聚吡咯导电材料,来避免锰酸锂容量过快衰减,容量高,容量衰减大大减慢,高温时循环性得到增强。

标签:
复合材料
江苏 - 无锡 来源:北方有色网 2023-03-18
回收电镀污泥中锡制备锂离子电池负极材料的方法

本发明属于电镀污泥处理技术领域,公开了一种回收电镀污泥中锡制备锂离子电池负极材料的方法。将电镀污泥经干燥研磨过筛后加入无机碱溶液,搅拌均匀后水热反应,过滤得到电镀污泥提纯液;将细菌纤维素加入到PDDA溶液中,振荡搅拌混合后用蒸馏水润洗,得到改性细菌纤维素;将所得改性细菌纤维素加入到电镀污泥提纯液中,搅拌混合,然后洗涤干燥得到复合材料前驱体,最后在惰性或者还原气氛下高温煅烧,得到Sn@C锂电负极材料。本发明的制备方法不但解决了电镀污泥的环境问题,而且利用里细菌纤维素独特的形貌制备高值化的锂离子电池负极材料,为实现环境废物的变废为宝提供了可行的思路。

标签:
复合材料
江苏 - 无锡 来源:北方有色网 2023-03-18
上一页 505 506 507 508 509 ... 786 下一页
共786页    到第

北方有色为您提供最新的江苏无锡有色金属材料制备及加工技术理论与应用信息,涵盖发明专利、权利要求、说明书、技术领域、背景技术、实用新型内容及具体实施方式等有色技术内容。打造最具专业性的有色金属技术理论与应用平台!

全国热门有色金属设备推荐
展开更多 +
全国热门有色金属技术推荐
展开更多 +

 

江西省隆恩特环保设备有限公司
宣传

报名参会
更多+

报告下载

有色专家
更多+

北京科技大学
主任/教授
中国矿业大学(北京)
院长/教授
赣州江钨钨合金有限公司
副总经理
云南锡业集团(控股)有限责任公司
副总经理
中国铝业集团有限公司
中国铝业股份有限公司党委书记
赤泥综合利用研究报告2025
推广

热门技术
更多+

推荐企业
更多+

福建省金龙稀土股份有限公司
宣传

发布

在线客服

公众号

电话

顶部
咨询电话:
010-88793500-807