青岛垚鑫智能科技有限公司
宣传

位置:中冶有色 >

有色技术频道 >

分类:
全部
矿山技术
冶金技术
材料制备及加工技术
环境保护技术
分析检测技术
 
全部
废水处理技术
大气治理技术
固/危废处置技术
土壤修复技术
地区:
全部
北京
天津
上海
重庆
河北
山西
辽宁
吉林
黑龙江
江苏
浙江
安徽
福建
江西
山东
河南
湖北
湖南
广东
海南
四川
贵州
云南
陕西
甘肃
青海
内蒙
广西
西藏
宁夏
新疆
其他
其他
展开
 
全部

有色金属环境保护技术理论与应用

免费发布技术信息>>
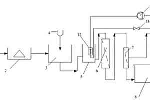
单塔加压汽提处理煤气化废水的方法及其装置

本发明涉及一种单塔加压汽提处理煤气化废水的方法及装置。所述方法包括将煤气化废水分冷、热两股从带侧线抽出的酸气/氨汽提塔的上部和中上部进入汽提塔,从塔顶汽提出混合气经分相、洗涤而分离出轻油、酸气等,从侧线采出氨水气经两级分凝、精制得液氨,从塔底采出釜液与有机溶剂逆流萃取、精馏分离出粗酚和有机溶剂,萃余相经溶剂汽提塔汽提回收有机溶剂。所述方法使用的装置含有油酸气/氨汽提塔、萃取塔、酸气洗涤塔、溶剂汽提塔、溶剂回收塔、油水分离器,分凝器、泵、贮槽。本发明可以缓解铵盐结晶和结垢,避免蒸氨时的溶剂损耗,同时将酚的回收率提高至92%以上,大幅度降底废水的污染。本发明适用于煤气化高浓度有机废水的治理。

标签:
废水处理
广东 - 广州 来源:中冶有色网 2023-03-19
多用途氨氮废水处理系统

本实用新型涉及废水处理技术领域,具体地说,涉及一种多用途氨氮废水处理系统,包括废水处理箱,废水处理箱的顶部靠近中心位置处设有过滤塔,过滤塔的内部设有过滤网板和活性炭板,且过滤网板位于活性炭板的上方,废水处理箱的内部设有搅拌结构,搅拌结构包括电机,电机的输出轴端部同轴连接有转杆,转杆的外壁上焊接有多个转块,转块的外壁上对称设有多个搅拌杆,且搅拌杆与转块之间紧密焊接,废水处理箱的顶壁靠近右侧处设有添料装置,添料装置包括添料斗,该多用途氨氮废水处理系统,可有效地将氨氮废水中的氨氮处理干净,增强了处理效果,具有泄压功能,安全性能高。

标签:
废水处理
湖南 - 长沙 来源:中冶有色网 2023-03-19
合成氨废水处理系统
合成氨废水处理系统 914     
 0

本实用新型公开了一种合成氨废水处理系统,包括安装底座、废水处理筒和顶盖,所述安装底座呈圆盘结构,所述安装底座顶端面中间位置竖直设置有废水处理筒,且所述废水处理筒呈空心阶梯圆柱结构,所述废水处理筒内侧底部设置有脱水筒,所述脱水筒的周侧开设有用于甩水的水孔,且所述脱水筒底端面中间位置设置有旋转电机,且所述旋转电机通过减速器与脱水筒固定连接,所述废水处理筒和脱水筒的内底端面均设置为弧形结构,所述旋转电机周侧环形阵列焊接有四组倾斜支撑杆,四组所述倾斜支撑杆的另一端均与废水处理筒内底端面固定焊接。该合成氨废水处理系统,不仅便于淤泥的脱水,增加淤泥储存量,且能够加快沉淀的速度。

标签:
废水处理
浙江 - 杭州 来源:中冶有色网 2023-03-19
基于物联网的酸碱废水处理装置

本实用新型提供了一种基于物联网的酸碱废水处理装置,其中,所述酸碱废水处理装置包括废水池,所述废水池上设置有进水管和出水管,所述废水池底部设置有多个酸碱度检测设备,所述酸碱废水处理装置还包括分别与所述酸碱度检测设备、第一智能开关和第二智能开关电连接的物联网控制单元;酸碱度检测设备将检测到的废水酸碱度信息传输至物联网控制单元,物联网控制单元根据信息开启或关闭酸液管或碱液管,从而达到中和废水的目的。

标签:
废水处理
山东 - 日照 来源:中冶有色网 2023-03-19
造纸废水处理回收池
造纸废水处理回收池 889     
 0

本实用新型公开了一种造纸废水处理回收池,包括底座,底座上端桶体,桶体底部侧壁上设有进料管,桶体内设有绞龙,绞龙连接杆穿过桶体底端与电机A输出端固定连接,电机A固定在底座顶端。本实用新型结构通过多级无轴的滚圆筛对造纸废水进行全面的筛分,使造纸废水流动更顺畅,这样保证工作效率的同时也能保证筛分出的造纸废水能更均匀,而且最终滚圆筛的筛网块也能实现杂质与造纸废水的分离,这样也降低了人力的投入和人工的劳动强度,造纸废水筛分除杂的效率显著提高,并且通过采用绞龙和吹风机,造纸废水内杂物更分散,提高处理效率,从而保证造纸废水的洁净度,这样可以有效的节约更多的时间,节约更多的成本,提高工作效率。

标签:
废水处理
广东 - 东莞 来源:中冶有色网 2023-03-19
利用铁改性火山石强化有机废水厌氧消化的方法

本发明公开了一种利用铁改性火山石强化有机废水厌氧消化的方法,具体为:将火山石用水冲洗,然后利用铁盐改性;将铁改性火山石置于厌氧反应器内,随后加入驯化好的厌氧颗粒污泥,填充在火山石之间的缝隙中;用泵将有机废水由厌氧反应器底部以一定流速持续通入厌氧反应器内,有机废水由底部进入,经由污泥和火山石的混合层流向顶部,并由顶部排出。通过改性的火山石具有更强的生物亲和力和强化微生物活性的能力,微生物可更加稳固的附着在火山石表面,且微生物群落结构发生改变,具有更强的有机物降解能力。本发明方法可以加快厌氧消化过程中水解酸化微生物的生长和富集,增加废水中有机物与微生物的接触时间,大大的提高有机物的厌氧消化效率。

标签:
废水处理
河南 - 郑州 来源:中冶有色网 2023-03-19
电镀废水处理工艺
电镀废水处理工艺 1162     
 0

本发明公开了一种电镀废水处理工艺,包括以下步骤:a)将废水引入废水调节池内;b)将调节池内的废水泵入PH调节池,在PH调节池中采用自动加药装置加入盐酸或硫酸对PH值进行调节;c)将处理后的废水引入还原池,在还原池内采用自动加药装置加入还原剂;d)将经还原处理后的废水通入中和池内,采用自动加药装置加入氢氧化物对三价铬进行中和处理;e)在混凝池中进行混凝和助凝处理后,通入沉淀池进行沉淀处理。本发明废水处理工艺流程简单、处理效果稳定,处理投入成本较低;经处理后的废水中总铬含量≤0.30mg/L,其中六价铬的含量≤0.2mg/L,满足排放的要求。

标签:
废水处理
四川 - 德阳 来源:中冶有色网 2023-03-19
去除废水中钴离子的金属有机骨架材料及其制备方法

本发明公开了一种去除废水中钴离子的金属有机骨架材料及其制备方法,该方法是先制备UiO‑66‑NH2,再制备UiO‑66‑R1,最后制得含双希夫碱官能团的金属有机骨架材料;将其用于废水中钴离子的吸附处理。即对含钴废水吸附处理,考察其不同pH的含钴溶液,不同吸附温度,不同吸附时间和不同原始钴离子浓度等因素对吸附剂UiO‑66‑Schiff base吸附钴离子的影响。该吸附剂在优选条件下对钴离子的吸附量可达256mg/g。本发明制备方法具有工艺简单、无二次污染以及吸附量高的特点;金属有机骨架材料可循环利用、节约资源,降低成本等特点;为含钴废水中钴离子的去除找到了一种新方法。

标签:
废水处理
四川 - 成都 来源:中冶有色网 2023-03-19
利用微生物的生物降解有机废水的方法

本发明是一种利用微生物的生物降解有机废水的方法,工艺如下:1)利用芦苇作为填料以及生物载体;2)生物流化床或固定床进行有机废水处理。优点:1)利用生物质芦苇作为填料,不会产生二次污染,同时芦苇本身比重接近于水,流化动力消耗少,强度大,易于挂膜启动,负载生物量较大。2)芦苇生物填料释放的有机物可作为反硝化脱氮的固体碳源,尤其是对废水中总氮的去除具有较好的效果。3)工艺简单,占地面积小,是一种高效低成本的复合工艺处理方法。4)能同时去除废水中有机物、氨氮、总磷、总氮。5)出水水质稳定,均能达到国家一级排放的标准,应用范围广。可推广到污水处理中,尤其是小型污水处理中,必将产生良好的社会、环境效益。

标签:
废水处理
江苏 - 南京 来源:中冶有色网 2023-03-19
印染废水的零排放处理工艺

本发明涉及废水处理技术领域内一种印染废水的零排放处理工艺,包括将印染废水依次经过如下处理过程:第一过滤器、第一缓冲罐、第一吸附塔、中和罐、第二过滤器、第二缓冲罐、第二吸附塔、第三缓冲罐、第三过滤器和MVR蒸发系统。本发明的印染废水的零排放处理工艺,将废水经一级过滤、吸附以处理掉废水中的大部份的固体杂质、有机物、染料及浆料等,然后进行酸度中和,以中和废水中的硫酸根离子,此过程中,经一级吸附塔的吸附作用可以吸附掉废水中的大部分有机蜡质等成分,避免酸碱中和反应中酸焦油成分的产生,减少后序处理环节的处理难度,并有效保证排放水的质量。

标签:
废水处理
江苏 - 扬州 来源:中冶有色网 2023-03-19
己内酰胺废水的膜法处理工艺

本发明公开了一种己内酰胺生产废水的膜法处理工艺。其技术方案是:己内酰胺废水首先经过混凝-砂滤系统除去废水中的悬浮物、SS等;然后经纳滤和反渗透系统截留废水中金属离子、有机物等大部分污染物,透析液即可达到回用水质标准。该工艺具有资源消耗低、环境污染少、经济效益好等优势。

标签:
废水处理
湖南 - 长沙 来源:中冶有色网 2023-03-19
氰废水破氰装置
氰废水破氰装置 722     
 0

本实用新型提供了一种氰废水破氰装置,属于氰废水处理装置领域,包括壳体,壳体的内部空腔为破氰池,壳体上设置有分别与破氰池连通的氰废水进口和氰废水出口,壳体上还设置有分别与破氰池连通的碱液投药口、酸液投药口以及次氯酸钠投药口,破氰池内设置有用于检测氰废水的氧化-还原电位的ORP探头和用于检测氰废水的PH值的PH探头。本实用新型提供的氰废水破氰装置能够进行两级氧化反应,结构简单,大大降低了成本,而且操作简便,氰废水的检测更精准,更容易达到排放标准,并且更容易实现自动化破氰,节省人力和药品费用。

标签:
废水处理
重庆 - 重庆 来源:中冶有色网 2023-03-19
废水余热回收系统
废水余热回收系统 876     
 0

本实用新型公开了一种废水余热回收系统,包括废水回收吸盘、回收保温水箱和回收波纹盘管,所述的废水回收吸盘的出水口通过管路与所述的回收保温水箱上端进行连接;所述的保温水箱下端设有废水排出口,所述的回收波纹管盘旋的设置在保温水箱内。所述的回收波纹管为无缝不锈钢管。在本方案中,废水回收吸盘将洗浴后的废水收集后送到保温水箱中,自来水通过设置在保温水箱中的回收波纹管或铜铝串片管与洗浴后的废水进行热量交换,从而提高自?来水的温度,降低排出的废水的温度,提高热源利用率,有利于环境保护。

标签:
废水处理
河南 - 许昌 来源:中冶有色网 2023-03-19
复合酶/活性污泥法含酚废水治理方法

一种采用复合酶制剂强化活性污泥法处理含酚废水的方法,在含酚废水治理的活性污泥 法生物处理单元不定时投加复合酶制剂,使其激活活性污泥中土著微生物,从而使其对水体 中的污染物进行消化降解,除去酚类等有毒有机物,使污水的化学需氧量大大降低,从而将 其继续回用。在活性污泥法处理含酚废水的好氧系统中,当出水CODCr明显升高,色泽加深 时,在处理池入水端按80000∶1~40000∶1加入1N复合酶制剂,很快就可使出水质色泽变 淡、CODCr降低。该法可应用于普通活性污泥法、间歇周期活性污泥法(SBR)生物处理单 元,氧化沟、接触氧化法、生物滤池、周期循环活性污泥法(CASS)、完全混合加速曝气法、 延时曝气法以及生物转盘处理单元。本法成本低廉,操作方便,设备成本低,处理效果好, 处理强度大,可完全满足煤气发生炉洗涤废水循环利用的需要。

标签:
废水处理
山东 - 青岛 来源:中冶有色网 2023-03-19
从化成箔酸洗废水中回收磷酸盐的方法

本发明涉及一种借助调节废水的酸碱度,离心与过滤分离,蒸发重结晶等工艺从化成箔酸洗废水中回收磷酸铝和十二水磷酸钠的水处理方法。其优势在于,与石灰沉淀法相比,化成箔酸洗废水中的有效资源可全部获得回收,水处理成本明显降低,并且可实现化成箔酸洗废水处理的零排放。

标签:
废水处理
湖北 - 武汉 来源:中冶有色网 2023-03-19
苯加氢废水的处理装置及处理方法

本发明涉及一种苯加氢废水的处理装置及处理方法。该处理装置包括:焦炉桥管,其内储存有荒煤气;喷射器,安装于所述焦炉桥管,用于向所述焦炉桥管内喷洒苯加氢废水,以使所述苯加氢废水与所述荒煤气进行换热,从而使所述苯加氢废水热解气化;降温机构,安装于所述喷射器的进口位置,所述苯加氢废水进入所述降温机构对所述喷射器的接触面进行冷却,并经由所述降温机构进入所述喷射器,通过所述喷射器喷洒至所述焦炉桥管内。本发明能够利用焦炉桥管荒煤气余热对苯加氢工艺产生的废水进行热解气化,使其成为荒煤气组分,实现资源再次利用,从而避免苯加氢工艺的废水污染环境,同时,降低苯加氢工艺的废水处理费用,增加化工产品的产量。

标签:
废水处理
河北 - 邢台 来源:中冶有色网 2023-03-19
维生素B2发酵过程废水的处理工艺及系统

本发明涉及一种维生素B2发酵过程废水的处理工艺及系统,属于废水处理技术领域。包括以下步骤:步骤(a),将维生素B2精制过程得到的废水采用粗过滤的方法去除较大的悬浮物、菌种;步骤(b),将步骤(a)中得到的废水中加入絮凝剂进行絮凝处理;步骤(c),将步骤(b)中的废水进行超滤膜进行过滤,将絮凝体和大分子物质去除;步骤(d),将步骤(c)中得到的废水通过纳滤膜进行浓缩;步骤(e),步骤(d)中得到的纳滤膜清液送入生化处理工序,得到的纳滤膜浓缩液干燥后得到维生素B2。一方面可以回收废水中的维生素B2,另一方面使废水达标排放。

标签:
废水处理
江苏 - 南京 来源:中冶有色网 2023-03-19
隔油气浮式含油废水处理方法

发明涉及废水处理技术领域,尤其是隔油气浮式含油废水处理方法。该方法的步骤为:a)将含油废水送入调节池内进行搅拌与预曝气处理;b)废水在隔油池内进行隔油处理,隔离出来的油排走回收;c)废水在气浮处理装置内进行悬浮物的分离,去除悬浮物后的废水送入;d)废水在二氧化钛光催化氧化器内;e)超频振动UF系统内过滤好的废水则送入超频振动RO系统内。本发明的二氧化钛光催化氧化反应条件温和,能在紫外光照和太阳光下发生,反应速率快,几乎能降解所有有机物,没有二次污染。通过超频振动UF膜和RO膜进行过滤分离处理,去除水中的色度、剩余小分子,运行维护成本较低。

标签:
废水处理
江苏 - 苏州 来源:中冶有色网 2023-03-19
废水过滤净化处理装置
废水过滤净化处理装置 1116     
 0

本发明涉及废水处理设备技术领域,且公开了一种废水过滤净化处理装置,包括过滤箱,所述过滤箱顶部的两侧均固定连接有支撑板,两个所述支撑板的顶端活动套接有旋转轴,所述旋转轴的两端均固定套装有位于两个支撑板之间的绕线轮,一个所述支撑板侧面的顶部固定连接有托板,所述托板的顶部固定安装有驱动电机,所述驱动电机的输出轴与旋转轴的一端固定连接,所述过滤箱的顶部固定连接有竖板。该废水过滤净化处理装置,通过将过滤网绕过滤水箱底部的孔口,在废水过滤时,转动滚动轴使得新的过滤网移动倒滤水箱孔口处,从而防止废水持续过滤的过程中,废水中的垃圾堵塞过滤网,确保废水过滤的正常进行,提高了废水的过滤效率。

标签:
废水处理
广东 - 广州 来源:中冶有色网 2023-03-19
黄姜废水的分离回收系统

本实用新型公开了一种黄姜废水的分离回收系统,包括膜堆、黄姜废水罐、废料槽、冷凝槽和鼓风机,鼓风机安装在膜堆上方,所述膜堆的黄姜废水进口通过料液管与黄姜废水罐的出口相接,膜堆的蒸汽出口通过热风管与冷凝槽相接,废水出口通过出料管与齿轮泵相接,部分通到废料槽,其余回到黄姜废水罐,所述膜堆包括外壳和平面复合膜,所述平面复合膜为聚丙烯材质,孔的直径为0.1-0.5微米,所述黄姜废水中含有淀粉和糖,水体本身有热度,水质为酸性。所述冷凝槽冷凝得到的废水供回用或者排放,本实用新型可以克服蒸馏法设备庞大,投资高昂,能耗大的缺点.具有投资低,能耗小的优点。

标签:
废水处理
陕西 - 西安 来源:中冶有色网 2023-03-19
PDMDAAC改性膨润土处理含油废水的方法

一种PDMDAAC改性膨润土处理含油废水的方法,涉及一种处理含油废水的方法,该方法首先将钠基膨润土提纯:然后配制改性剂溶液,再制备PDMDAAC改性膨润土:取一定量PDMDAAC改性剂溶液,加入适量钠基膨润土,室温下搅拌2h,洗涤2次,真空抽滤,于80℃下烘干,在105℃下活化,研磨过筛,得到PDMDAAC改性膨润土。将PDMDAAC改性膨润土投加到含油废水中,调节含油废水的PH至6.5-7,按照每升废水投放25克PDMDAAC改性膨润土,搅拌10-25min,含油废水中油污去除率可达到85%以上,吸附去除废水中的油污废水可达标排放(GB8978-1996)。

标签:
废水处理
辽宁 - 沈阳 来源:中冶有色网 2023-03-19
高盐有机废水资源化处理的系统及方法

一种高盐有机废水资源化处理的系统及方法,所述系统包括原水提浓、雾化热解、硫酸钠纯化、盐酸回收和尾气处理五个单元。原水提浓单元对高盐有机废水进行浓缩;雾化热解单元向浓缩液中加入酸化剂进行酸化,同时添加氧化剂后经雾化热解将水中有机物彻底氧化去除,分离获得氯化氢气体和硫酸钠混盐;硫酸钠纯化单元对分离出的硫酸钠混盐进行溶解、除杂、蒸发结晶,硫酸钠通过重结晶得到提纯;盐酸回收单元对分离出的氯化氢气体进行过滤、冷凝,回收盐酸;尾气处理单元对盐酸回收单元剩余尾气进行脱酸净化。所述系统和方法能够实现高盐废水中有机物的高效去除,同时回收盐酸和硫酸钠结晶盐;实现高盐有机废水的资源化处理,具有较好的应用前景。

标签:
废水处理
北京 - 北京 来源:中冶有色网 2023-03-19
造纸废水专用水处理剂FPAS-4及制备方法

本发明公开了造纸废水专用水处理剂FPAS-4及制备方法,本发明产品FPAS-4的化学结构式如式(1)所示:,,本发明用硫酸亚铁为原料经水溶解后,投加硫酸、催化剂,然后加辅助剂,使之共聚复合,得到外观呈褐色粘稠状的FPAS-4型产品。本发明的FPAS-4型产品,在进行造纸废水处理时再添加有机高分子化合物,从而实现有效去除废水中COD,高效脱除废水中有机色素,并快速絮凝沉降,实现清水有效、快速分离的效果。

标签:
废水处理
湖南 - 长沙 来源:中冶有色网 2023-03-19
高悬浮有机废水的处理方法

一种高悬浮有机废水的处理方法,涉及一种废水的处理方法,该方法包括以下步骤:(1)首先用稀硫酸将废水PH值调节到7~7.5;(2)在废水中加入0.1%~0.5%的聚合氧化铝和0.2%~1.0%的有机硅,加热至45~55℃;(3)静置15分钟,悬浮物即可有效沉淀。本发明的制作工艺简单,成本低,治理高悬浮效果好。

标签:
废水处理
辽宁 - 沈阳 来源:中冶有色网 2023-03-19
离子型稀土矿区低浓度氨氮废水的微生物处理方法

本发明提供一种离子型稀土矿区低浓度氨氮废水的微生物处理方法,属于环境工程技术领域。该方法首先测定离子型稀土矿区低浓度氨氮(50mg/L以下)废水中的氨氮浓度,加入碳源,使C/N比调节为4‑6左右,添加部分微量元素,配成异养硝化细菌培养基;接入耐盐异养硝化细菌,使废水中菌体初始浓度为104—106CFU/mL,放置摇床培养24h后,废水中氨氮浓度可低于5mg/L,符合国家环保排放要求。本发明方法碳源添加量少,显著降低了离子型稀土矿区低浓度氨氮废水的处理成本;该方法工艺简单易行、处理时间短、环境友好,适合应用于大规模处理离子型稀土矿区低浓度氨氮废水。

标签:
废水处理
江西 - 赣州 来源:中冶有色网 2023-03-19
焦化废水的处理方法及系统

本发明涉及一种焦化废水的处理方法及系统,属于废水处理技术领域。具体涉及一种焦化废水的处理方法,包括如下步骤:预处理步骤,废水进行油水分离,分离后的废水进行氧化分解反应;生化处理步骤,预处理步骤完成后的废水进行生物分解,生物分解重复两次;深度处理步骤,生化处理步骤完成后的废水进行絮凝反应,絮凝反应后的废水进行Fenton反应。还涉及一种焦化废水的处理系统,一种焦化废水的处理系统,使用上述的焦化废水的处理方法,包括依次顺序连通的预处理系统、生化处理系统及深度处理系统;本发明在生化处理系统前降低难降解有机物的浓度或改变其分子结构,提高焦化废水的可生化性,保障废水处理后的出水水质。

标签:
废水处理
重庆 - 重庆 来源:中冶有色网 2023-03-19
家庭污废水分流处理装置

本实用新型公开了一种家庭污废水分流处理装置,包括:生活污水产生模块、生活废水产生模块、废水处理设备及污水处理设备;所述废水处理设备包括固液分离模块及二次发酵模块;所述污水处理设备包括一级降解模块、二级降解模块及固液分离模块;所述生活废水产生模块通过管路连通至废水处理设备的固液分离模块,所述废水处理设备的固液分离模块的固体出口通过管路连通至二次发酵模块,所述二次发酵模块通过管路连通至一级降解模块,所述生活污水产生模块通过管路连通至一级降解模块,所述一级降解模块通过管路连通至二级降解模块,所述二级降解模块通过管路连通至污水处理设备的固液分离模块,本实用新型可使污废水得到充分处理且整体处理效率高。

标签:
废水处理
福建 - 厦门 来源:中冶有色网 2023-03-19
废水中和前过滤装置
废水中和前过滤装置 1104     
 0

本实用新型公开了一种废水中和前过滤装置,包括废水箱,所述废水箱的右侧固定连通有进水管,所述进水管的表面设置有第一阀门,所述废水箱的顶部贯穿设置有过滤架,所述过滤架的底部贯穿至废水箱的内腔,所述废水箱的顶部固定连接有固定箱,过滤架的底部贯穿固定箱的内腔,过滤架的右侧开设有滑动槽,滑动槽的内腔滑动连接有滑块。本实用新型通过废水箱、过滤架、滑块、弹簧槽和固定块的配合使用,解决了该废水中和前过滤装置不便于拆卸和安装且浪费使用者大量时间的问题,具备方便使用者对过滤网的及时清洗,简化了拆卸和安装的操作,减少时间浪费的优点,给使用者带来便利,提高装置的实用性,值得推广。

标签:
废水处理
江西 - 赣州 来源:中冶有色网 2023-03-19
新型催化氧化法处理焦化废水的系统

本实用新型公开了一种新型催化氧化法处理焦化废水的系统,涉及焦化废水处理技术领域。包括二沉池,废水进水管道,双氧水加料管线,催化氧化塔,废水溢出管道,二氧化氯氧化池,二氧化氯发生器,出水池;二沉池出口通过废水进水管道与催化氧化塔塔底进水区相连,废水进水管道上设置双氧水加料管线;催化氧化塔内从下到上依次装填有FeooH催化剂层、石英砂层、FeooH和MnooH混合催化剂层;催化氧化塔塔顶出水区通过废水溢出管道与二氧化氯氧化池进口一相连,二氧化氯发生器与二氧化氯氧化池进口二相连,二氧化氯氧化池出口与出水池进口相连。本实用新型避免调节pH值,减少污泥排放,有效降低废水中COD和氰化物的含量,出水达到GB16171‑2012标准要求。

标签:
废水处理
河北 - 保定 来源:中冶有色网 2023-03-19
废水检测用加热装置
废水检测用加热装置 969     
 0

本实用新型提供了一种废水检测用加热装置。所述废水检测用加热装置包括:底板;箱体,所述箱体的底部固定于所述底板的顶部;活动箱,所述活动箱的底部固定于所述箱体的顶部;转动轴,所述转动轴的两端分别通过轴承转动连接于所述活动箱的内壁的两侧,所述转动轴的外表面固定从左至右依次固定连接有第一皮带轮和转动轮。本实用新型提供的废水检测用加热装置,通过搅拌杆的旋转,从而可以很好的对废水进行搅拌,以便于废水受热均匀,提高了废水加热的效率,节约了大量的时间,并且可以大范围的对水蒸气进行分采集,大大的提高了水蒸气采集的效率,便于检测对废水进行不同反面的检测,从而大大的提高了废水检测的效果。

标签:
废水处理
湖南 - 郴州 来源:中冶有色网 2023-03-19
上一页 4955 4956 4957 4958 4959 ... 5000 ... 5981 下一页
共5981页    到第

中冶有色为您提供最新的有色金属环境保护技术理论与应用信息,涵盖发明专利、权利要求、说明书、技术领域、背景技术、实用新型内容及具体实施方式等有色技术内容。打造最具专业性的有色金属技术理论与应用平台!

全国热门有色金属设备推荐
展开更多 +
全国热门有色金属技术推荐
展开更多 +

 

江西省隆恩特环保设备有限公司
宣传

报名参会
更多+

2025年10月15日 ~ 17日
2025年10月17日 ~ 19日
2025年10月31日 ~ 11月02日
2025年11月07日 ~ 09日

报告下载

有色专家
更多+

昆明理工大学
副校长
太原理工大学
院长/教授
蒙纳士苏州校区
中国工程院外籍院士/校长
湖南有色金属研究院
教授级高工/原总工程师
江西理工大学
副处长/教授
赤泥综合利用研究报告2025
推广

热门技术
更多+

推荐企业
更多+

福建省金龙稀土股份有限公司
宣传

发布

在线客服

公众号

电话

顶部
咨询电话:
010-88793500-807