青岛垚鑫智能科技有限公司
宣传

位置:中冶有色 >

有色技术频道 >

分类:
全部
矿山技术
冶金技术
材料制备及加工技术
环境保护技术
分析检测技术
 
全部
功能材料技术
复合材料技术
新能源材料技术
合金材料技术
加工技术
地区:
全部
北京
天津
上海
重庆
河北
山西
辽宁
吉林
黑龙江
江苏
浙江
安徽
福建
江西
山东
河南
湖北
湖南
广东
海南
四川
贵州
云南
陕西
甘肃
青海
内蒙
广西
西藏
宁夏
新疆
其他
其他
展开
 
全部
南京
无锡
徐州
常州
苏州
南通
连云港
淮安
盐城
扬州
镇江
泰州
宿迁

江苏苏州有色金属材料制备及加工技术理论与应用

免费发布技术信息>>
高强单壁碳纳米管铝基复合材料及其制备方法

本发明提供一种高强单壁碳纳米管铝基复合材料,包括单壁碳纳米管为0.01wt%~0.15wt%,铝基体为99.85wt%~99.99wt%;其铝基体为铝合金的预合金粉,并通过称取单壁碳纳米管和铝基体原料在超声波分散混合均匀进行混合,热压烧结、热墩和热轧加工得到高强铝基复合材料;其单壁碳纳米管作为增强相提高了复合材料的强度,其制备过程及多向锻造进一步提高铝基复合材料的致密度和强度,使该铝基复合材料具有优异的综合性能。

标签:
复合材料
江苏 - 苏州 来源:中冶有色网 2023-03-18
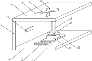
复合材料缠绕装置
复合材料缠绕装置 854     
 0

一种复合材料缠绕装置,包括底板,底板顶部设有顶板,底板与顶板之间固定设有侧板,底板顶部表面设有安装板,安装板顶部设有电机,电机顶部设有转动盘,转动盘与电机输出轴传动连接,安装板顶部表面螺纹连接有缠绕座,缠绕座外侧环绕设有缠绕板。本实用新型能通过设有活动板和检测板,检测板表面的红外传感器检测复合材料缠绕过程中的速度,并将检测数据反馈至PLC控制器,当数据异常时警报器响起提醒工作人员查看,缠绕前将复合材料通过限位座,并在限位座表面安装另一限位座,液压升降杆往复工作推动活动板上下移动,使复合材料可缠绕的高度不间断的变化,从而能够调节缠绕位置,避免复合材料缠绕过程中容易出现堆积在一个部位的情况。

标签:
复合材料
江苏 - 苏州 来源:中冶有色网 2023-03-18
纳米粒子复合材料
纳米粒子复合材料 1158     
 0

本发明提供一种纳米粒子复合材料,包括以下重量份数的各组分:PTT 50~60份,天然纤维20~30份,无机纳米粒子5~8份,SiC纳米粉末2~5份,偶联剂0.1~0.5份、增容剂4~8份、抗氧剂0.1~0.5份。本发明的纳米粒子复合材料通过使用PTT替代普通纳米材料中的塑料,并与无机纳米粒子,及其他组分在特定的配比下结合,得到的复合材料具有优异的力学性能、加工性能和耐热性能,并且抗冲击强度高,硬度高;并且加入无机纳米粒子,使得复合材料的强度和韧性都较高,扩大了复合材料的应用范围。此外,天然纤维的加入是的制得的复合材料易于回收、利用;SiC纳米粉末的加入能够增加复合材料的强度和耐磨性强。

标签:
复合材料
江苏 - 苏州 来源:中冶有色网 2023-03-18
碳纤维增强聚碳酸酯复合材料及其产品

本发明涉及高分子材料技术领域,具体是涉及一种应用于IMR成型中的碳纤维增强聚碳酸酯复合材料及其产品。所述复合材料按重量份数表示包括:聚碳酸酯树脂100份;碳纤维10‑60份;阻燃剂5‑30份;所述阻燃剂为两种或两种以上的复配阻燃剂。所述产品,为经所述碳纤维增强聚碳酸酯复合材料成型后产生的产品。本发明的碳纤维增强聚碳酸酯复合材料及其产品,不仅能保证复合材料的阻燃性、流动性,又可降低复合材料的注塑温度,使复合材料可应用于IMR成型中,使IMR薄膜应用于高端超薄产品中,而且还能够注塑出外观漂亮的结构件产品。

标签:
复合材料
江苏 - 苏州 来源:中冶有色网 2023-03-18
增强型绝缘硅复合材料及其制备方法

本发明公开了一种增强型绝缘硅复合材料及其制备方法,所述增强型绝缘硅复合材料,包含中间绝缘层;所述中间绝缘层的上表面和下表面分别设置有单晶硅片;所述中间绝缘层,包含二氧化硅基多元无机复合材料层;所述二氧化硅基多元无机复合材料层的上表面设置有第一二氧化硅膜层;所述二氧化硅基多元无机复合材料层的下表面设置有第二二氧化硅膜层;所述二氧化硅基多元无机复合材料层的材质的化学式为SiO2-ZnO-B2O3;本发明方案能够保持有完整的单晶硅晶格结构,不需采用复杂昂贵设备,整体制备工艺简单、易行、低成本;所述增强型绝缘硅复合材料的制备方法可调节中间绝缘层的各组分的厚度和深度分布,不需采用复杂昂贵设备,整体制备工艺简单、易行且制成的产品的电学性能优良。

标签:
复合材料
江苏 - 苏州 来源:中冶有色网 2023-03-18
新型复合材料管体的连接结构

本发明涉及一种新型复合材料管体的连接结构,其包括两处复合材料管体,所述两处复合材料管体之间设置有补充管体,所述补充管体的外径和壁厚与复合材料管体的外径和壁厚相同,所述两处复合材料管体和补充管体的外周面上包覆有包裹体。该新型复合材料管体的连接结构可以把两段新型复合材料管道进行连接并密封,操作方便,施工效率高,施工成本低。

标签:
复合材料
江苏 - 苏州 来源:中冶有色网 2023-03-18
多层复合材料的切割方法

本发明涉及材料切割技术领域,公开一种多层复合材料的切割方法。其中多层复合材料的切割方法包括如下步骤:第一刀具切割多层复合材料的阻焊油层和绝缘胶层;第二刀具在所述第一刀具切割的切割槽的基础上,切割所述多层复合材料的硅层;第三刀具在所述第二刀具切割的切割槽的基础上,切割所述多层复合材料的环氧树脂胶水层和玻璃层。本发明解决了一把刀具单次切割造成良品率低,断刀严重,无法正常量产的问题,实现了多层复合材料的顺利量产,提高了多层复合材料的良品率,增加了刀具的使用寿命,降低了生产成本。

标签:
复合材料
江苏 - 苏州 来源:中冶有色网 2023-03-18
具有吸音功能的无纺复合材料的加工方法

一种具有吸音功能的无纺复合材料的加工方法,所述的无纺复合材料包括,涤纶短纤、中空短纤、低熔纤维,还包括以下步骤:a.开松、混棉,将所述的涤纶短纤、中空短纤、低熔纤维的丝束均匀伸展并混合搅拌;b.梳理成网,将a步骤混合的复合材料进行整洁;c.铺网叠加,将b步骤的复合材料多层叠加;d.针刺,对叠加后的复合材料,采取正、反、正三道工艺进行刺紧;e.烘干;f.切边成型。本发明提供一种无纺复合材料的加工方法,加工出的无纺复合材料具有良好的吸音性。

标签:
复合材料
江苏 - 苏州 来源:中冶有色网 2023-03-18
光/生物双降解的PS复合材料及其制备方法

本发明公开了一种光/生物双降解的PS复合材料及其制备方法。复合材料包括以下重量份数的原料:PS:55‑85份;木薯淀粉:15‑30份;增塑剂:3‑5份;抗氧剂:0.1‑0.5份;光敏剂:0.2‑0.6份;抗老剂:1‑3份;相容剂:0.5‑2份。本发明制备的光/生物双降解PS复合材料具有优良的降解性能。将木薯淀粉与PS共混不仅可以提高复合材料的力学性能还可以提升其生物降解性能,而光敏剂的加入赋予复合材料优异的光降解性能,采用多种光敏剂复合使用可以提高材料光降解速率。该光/生物双降解PS复合材料可以调控降解开始的时间与周期,是一类新型环保的可降解材料。

标签:
复合材料
江苏 - 苏州 来源:中冶有色网 2023-03-18
钛酸锂-二氧化钛复合材料及其制备方法与应用

本发明公开了一种钛酸锂‑二氧化钛复合材料及其制备方法与应用,属于锂电池技术领域。本发明的方法将锂源与微米级二氧化钛进行混合,然后在160~200℃反应10~20h,反应后在空气中700℃煅烧2h得到所述的钛酸锂‑二氧化钛复合材料。本发明的方法能够将微米级TiO2合成Li4Ti5O12材料,并且在TiO2表面形成纳米级Li4Ti5O12,提高材料的表面积,减少锂离子和电子在Li4Ti5O12材料上的传输距离,并且本发明在钛酸锂‑二氧化钛的复合材料两相界面处产生掺杂,使得制备得到的Li4Ti5O12材料可以与纳米级TiO2合成的Li4Ti5O12材料媲美。

标签:
复合材料
江苏 - 苏州 来源:中冶有色网 2023-03-18
功函可调的聚合物复合材料、其制备方法及应用

本发明公开了一种功函可调的聚合物复合材料、其制备方法及应用。所述聚合物复合材料包含:至少一种导电聚合物;至少一种掺杂剂;以及,至少一种溶剂,用以与聚合物复合材料中的各组分配合形成均匀混合体系。本发明还公开了基于所述复合材料的复合墨水、复合薄膜及其制备方法。所述聚合物复合材料、复合墨水、复合薄膜可用于制备光电器件为代表的半导体器件。藉由本发明提供的聚合物复合材料可形成功函数能在4.0‑5.2eV之间调节的导电复合物薄膜,使之可以作为阳极电极、阴极电极的修饰层,并改善电极与光活性层之间的界面接触性能,使形成的器件性能表现出更低的薄膜厚度依赖性,从而能够降低对器件制备的工艺要求,有利于提高器件的良品率。

标签:
复合材料
江苏 - 苏州 来源:中冶有色网 2023-03-18
用于羽毛球拍的复合材料及其制备方法

本发明属于运动器材技术领域,具体涉及用于羽毛球拍的复合材料及其制备方法。该用于羽毛球拍的复合材料包括按照质量份数计的如下原料:钴20-22份、碳纤维5-12份、环氧树脂1-4份、竹纤维1-3份、镍3-6份、铜1-2份、硅1-2份、钼2-4份、锰0.5-1份、氧化锌1-3份、碳化硅1-5份、氟化钙1-2份、氮化硼1-4份。本发明的复合材料强度高、韧性好,利用其制得的羽毛球拍轻便、耐用,且手柄处透气不易湿滑;本发明制备方法简便,适于工业生产。

标签:
复合材料
江苏 - 苏州 来源:中冶有色网 2023-03-18
颗粒增强铝基复合材料的制备方法

本发明公开了一种颗粒增强铝基复合材料的制备方法,包括如下步骤:A、预制块的制备:将纯铝粉、陶瓷颗粒、金属粉末和功能助剂投入球磨机中进行研磨,制得粒径在0.5-5毫米之间的复合颗粒,然后将复合颗粒封入金属包套中,制成复合颗粒包,复合颗粒包经预热后进行热轧,然后去除金属包套,得到由复合颗粒热轧而成的预制块,预制块呈片状;B、铸造:将预制块放入浇道中,然后进行铝液浇注,冷却凝固制得颗粒增强铝基复合材料;复合颗粒中,各组分的质量分数如下:纯铝粉80%-96%;金属粉末1.0%-5.0%;陶瓷颗粒2%-10%;功能助剂1.0%-5.0%;与现有技术比较,采用本发明所述的制备方法可以使颗粒增强铝基复合材料的极限抗拉强度提高23.0~26.0%。

标签:
复合材料
江苏 - 苏州 来源:中冶有色网 2023-03-18
高导热、耐高温聚酰亚胺复合材料的制备方法

本发明涉及一种高导热、耐高温聚酰亚胺复合材料的制备方法,属于高分子材料领域,包括如下步骤:利用均苯四羧酸二酐和4, 4-二氨基二苯醚反应生成聚酰胺酸树脂溶液;对聚酰胺酸进行热环化反应生成聚酰亚胺,并分离得到聚酰亚胺溶液;将聚酰亚胺溶液进行紫外光照射10-15分钟后干燥形成聚酰亚胺粉末;将经过紫外照射的聚酰亚胺粉末与填料AlN或Al2O3混合后搅拌,熔融挤出复合材料;将复合材料涂布于制件表面并热压固定,冷却;将复合材料从制件表面剥离并通过机加工形成复合材料样条。本发明的有益之处在于:将聚酰亚胺溶液进行紫外光照射10-15分钟,有助于提高溶液粘度,即提高聚酰亚胺分子量,进而提高聚酰亚胺复合材料的强度。

标签:
复合材料
江苏 - 苏州 来源:中冶有色网 2023-03-18
具有泡沫-粉末夹芯结构的高温隔热复合材料

本发明公开了一种具有泡沫‑粉末夹芯结构的高温隔热复合材料,其特征在于由芯材、陶瓷基复合材料壳层和粘结层构成,芯材为陶瓷粉末填充的多孔陶瓷泡沫,所填充的陶瓷粉末具有多层结构,由上至下依次为碳化硅层、单斜相氧化锆层、α相氧化铝层、单斜相氧化锆层和氧化硅层,陶瓷基复合材料壳层为碳纤维增强的碳化硅陶瓷基复合材料、碳化硅纤维增强的碳化硅陶瓷基复合材料,粘结层位于壳层和芯材之间。该材料导热系数低,能够在超高温度(≤2000℃)环境下使用,随着温度的升高材料导热系数变化不明显,且充分考虑各组分粉体优点进行结构化设计,使得复合材料的隔热性能达到最优。

标签:
复合材料
江苏 - 苏州 来源:中冶有色网 2023-03-18
硅树脂复合材料及其制造方法、照明器件、应用

一种硅树脂复合材料,其包括纳米荧光粉、纳米量子点及无色透明的硅树脂,其中所述纳米荧光粉和纳米量子点均匀分散于该无色透明的硅树脂中,所述硅树脂复合材料为固化结构,所述纳米荧光粉和纳米量子点作为发光材料,所述硅树脂作为第一封装材料。本发明还揭示了该硅树脂复合材料的制造方法、含有该硅树脂复合材料的照明器件、及该硅树脂复合材料作为照明器件的应用。本发明的有益效果是:通过混合纳米级的荧光粉及纳米级的量子点,使本发明的硅树脂复合材料具有改进的混合均匀性和良好的发光性能,适用于光电器件或LED固体照明器件及其封装。

标签:
复合材料
江苏 - 苏州 来源:中冶有色网 2023-03-18
流动性PC/ABS复合材料及其成型品

本发明涉及高分子材料技术领域,具体是涉及一种流动性PC/ABS复合材料,按重量份数表示包括:PC树脂、ABS树脂、增韧剂、流动改性剂、阻燃剂、增强材料,其中,所述流动改性剂为磷酸锆及其衍生物、超支化聚磷酸酯中的至少一种。本发明的流动性PC/ABS复合材料,通过在复合材料中添加流动改性剂,该流动改性剂有效改善了复合材料的物理流动性能及冲击强度,由此得到的复合材料具有较高的冲击强度,并且可以保证复合材料的延伸率在60%的同时,熔融指数(MI)达到40g/10min(260℃/2.16Kg)。

标签:
复合材料
江苏 - 苏州 来源:中冶有色网 2023-03-18
注塑级高耐热短切碳纤维尼龙复合材料及其制备技术

注塑级高耐热短切碳纤维尼龙复合材料,由以下组份按重量份制备而成:树脂基体120份,碳纤维20 份,偶联剂0 ~ 1 份,抗氧剂0.05 ~ 0.5 份,润滑剂0.05 ~ 0.25 份,冠醚0.05 ~ 0.25 份。其有益效果如下:冠醚为风洞状网格结构,具有极强的耐磨性,因此选用冠醚改性碳纤维复合材料,可以在不剪切碳纤维的前提下提高复合材料的耐磨性;同时进一步提高复合材料的整体耐热性;有效降低复合材料体系中树脂含量,在材料成型过程中增加固相含量,降低收缩率,从而提高整体尺寸稳定性;有效降低复合材料的综合成本;制备工艺简单,适于大规模工业化生产。

标签:
复合材料
江苏 - 苏州 来源:中冶有色网 2023-03-18
氮掺杂石墨烯包覆纳米硫正极复合材料、其制法及应用

本发明公开了一种氮掺杂石墨烯包覆纳米硫正极复合材料、其制法及应用。该复合材料包括:主要由氮掺杂石墨烯相互交叠形成有效的三维导电网络,以及被氮掺杂石墨烯片层均匀包裹的纳米硫颗粒。该复合材料的制法包括:将氮掺杂石墨烯分散于至少含有硫源及酸的液相反应体系中,通过硫源与酸的原位化学反应沉积纳米硫颗粒,从而制得目标产物。本发明的复合材料具有高导电性,硫的利用率和倍率性能高,可有效地抑制锂硫电池中的溶解和穿梭效应,提高电池的循环稳定性,以该氮掺杂石墨烯包覆纳米硫正极复合材料作为正极材料组装的锂硫电池具有高容量、高循环稳定性、高倍率性能等特点,且该复合材料的制备工艺简单,成本低廉,适于规模化生产。

标签:
复合材料
江苏 - 苏州 来源:中冶有色网 2023-03-18
低散发的改性聚丙烯复合材料及其制备方法

本发明属于改性聚丙烯复合材料领域,涉及一种适用于制造汽车内饰件的低气味、低散发的改性聚丙烯复合材料,包括:聚丙烯、矿物填料、气味吸附剂和助剂,按照重量份,上述成份的重量份分别为:聚丙烯60~90;矿物填料0~40;气味吸附剂1~5;助剂0.1~1;所述气味吸附剂选自:粘土、膨润土、多孔二氧化硅、活性氧化铝或分子筛中的三种的混合物。本发明所制得改性聚丙烯复合材料表面光泽度高,具有较好的耐冲击性能及强度,熔体流动性,力学性能,而且由于使用多种气味吸附剂,产品气味散发性低,总碳值为13.7~24.5μgC/g;同时所需原材料来源广泛,方便易得。

标签:
复合材料
江苏 - 苏州 来源:中冶有色网 2023-03-18
用于笔记本电脑外壳陶瓷复合材料

本发明公开了一种用于笔记本电脑外壳陶瓷复合材料,包括:所述用于笔记本电脑外壳陶瓷复合材料上层包括特种无机纤维、中间层的金属复合材料和最下层的氮化硅合金组合而成,所述特种无机纤维包括玻璃纤维、石英玻璃纤维、三氧化二铝,所述的特种无机纤维占用于笔记本电脑外壳陶瓷复合材料总体分量的35%‑45%,所述金属复合材料占用于笔记本电脑外壳陶瓷复合材料总体分量的45%‑50%,所述氮化硅合金占用于笔记本电脑外壳陶瓷复合材料总体分量的10%‑15%。通过上述方式,本发明生产成本低,使用价值高,具有强度高,优良的耐高温性能,能够大幅度提高笔记本电脑外壳耐刮性能的优点。

标签:
复合材料
江苏 - 苏州 来源:中冶有色网 2023-03-18
激光增材制造用Si3N4/Al-8Mg基复合材料粉末的制备方法

本发明一种激光增材制造用Si3N4/Al‑8Mg基复合材料粉末的制备方法,以纯Al、纯Mg、Si3N4纳米陶瓷颗粒为原材料,采用机械搅拌+超声铸造工艺制备出微纳米颗粒增强Al‑8Mg合金复合材料,通过真空气雾化方法制备Si3N4颗粒增强铝基复合材料粉末。粉末颗粒中值粒径在1μm~300μm可控,球形率>94%,收得率≥90%。纳米级Si3N4颗粒均匀弥散分布于Al‑Mg基体中,复合材料晶粒组织为均匀细小的等轴晶,其晶粒尺寸约为1.6μm。本发明方法制备的铝基复合材料粉末激光吸收率较高、尺寸较小、球形度较好,适用于激光增材制造技术。

标签:
复合材料
江苏 - 苏州 来源:中冶有色网 2023-03-18
绝缘复合材料及其制备方法

一种绝缘复合材料及其制备方法,涉及材料技术领域,复合材料包括基体材料和表面涂层,其中基体材料的主要成分为氮化硅陶瓷粉,在陶瓷粉表面包覆有氧化锆纳米粒子层,表面涂层由以下质量份数的各个组分构成:有机硅树脂40-65份、玻璃纤维5-10份、硅烷偶联剂5-10份和固化剂4-10份。一种绝缘复合材料的制备方法,包括利用化学气相沉积技术包覆氧化锆;高温固相;最后涂覆表面涂层。本发明绝缘复合材料及其制备方法提供的绝缘复合材料,具有非常高的绝缘性能,同时材料的硬度和韧性较好,稳定性较高,可广泛适用于电气、电力等领域。

标签:
复合材料
江苏 - 苏州 来源:中冶有色网 2023-03-18
螺旋弹簧用复合材料及其制备方法

本发明提供了一种螺旋弹簧用复合材料及其制备方法,所述的复合材料由螺旋纳米碳纤维和环氧树脂648制备而成,所述的制备方法包括如下步骤:a)制备螺旋纳米碳纤维,b)氧化处理螺旋纳米碳纤维,c)制备复合材料。本发明揭示了一种螺旋弹簧用复合材料及其制备方法,该复合材料具有轻质、高强度、耐酸碱的优异性能,同时具有出众的弹性和力学性能,应用前景广阔。

标签:
复合材料
江苏 - 苏州 来源:中冶有色网 2023-03-18
石墨烯/蚕丝/沙柳纳米复合材料及其制备方法

本发明公开了一种石墨烯/蚕丝/沙柳纳米复合材料及其制备方法,步骤如下:将沙柳去皮、粉碎、过筛、烘干、冷却、提纯后得到沙柳纤维素;使用高碘酸钠改性沙柳纤维素;使用液氮、冷冻干燥处理得到蚕丝/沙柳磁性多孔复合材料;最后浸渍在氧化石墨烯溶液中,再使用还原剂还原最终得到石墨烯/蚕丝/沙柳纳米复合材料。本发明首先制备了磁性蚕丝/沙柳三维多孔复合材料,然后以三维多孔复合材料为基材,将石墨烯进行有效自组装,最终得到石墨烯/蚕丝/沙柳纳米复合材料。该复合材料具备绿色环保、机械性能好、组织结构规整、孔隙率高、可重复利用等诸多优点,在污水处理、光电器件等领域有重要的应用价值。

标签:
复合材料
江苏 - 苏州 来源:中冶有色网 2023-03-18
聚乳酸复合材料的制备方法、可降解光学膜的制备方法

本发明提供了一种聚乳酸复合材料的制备方法、可降解光学膜的制备方法。该复合材料的制备方法,包括以下步骤:将丙交酯、增塑剂、助剂、催化剂加入至溶剂中,混合均匀,然后加入晶态纳米纤维素,分散后,于第一温度下反应,然后升温至第二温度,继续反应,即得聚乳酸复合材料。该制备方法,利用晶态纳米纤维素改性制备得到改性聚乳酸复合材料,晶态纳米纤维素自身具有极好的光学性能和力学性能,使制备得到的聚乳酸复合材料具有类“嵌段”结构,这种结构有助于提高改性聚乳酸复合材料的结晶性能,在不影响聚乳酸自身降解性能、光学性能(透明度和光泽度)下,改性后的聚乳酸复合材料的玻璃化温度和杨氏模量大大提高,从而改善抗冲击性能和韧性。

标签:
复合材料
江苏 - 苏州 来源:中冶有色网 2023-03-18
具有纹路与图案的复合材料外观件及其制作方法

本发明公开了一种具有纹路与图案的复合材料外观件及其制作方法,主要是在模具内同时放置复合材料叠构和装饰成型膜,在复合材料成型的同时将装饰成型膜与复合材料接合成一体,装饰成型膜在模具内受压后,其纹路层上的纹路能够传递至其产品表面UV材料层,使固化后的产品表面UV材料层具有与所述纹路层相同的纹路,开模后撕除装饰成型膜上的载体部分,制得具有纹路与图案的复合材料外观件,不仅简化了复合材料外观件表面处理的工艺,而且实现了传统复合材料不能达到的外观效果,同时可以通过表面纹路的触感将产品外观感受由视觉上升至触觉感受。

标签:
复合材料
江苏 - 苏州 来源:中冶有色网 2023-03-18
高抗冲低体积电阻的ABS阻燃复合材料及其制备方法

本发明公开了一种高抗冲低体积电阻的ABS阻燃复合材料,其原料由ABS树脂、苯乙烯‑丁二烯共聚物、阻燃剂、抗静电剂、结构强度增强剂和适配改性剂组成,所述原料的质量份配比为ABS树脂100份、苯乙烯‑丁二烯共聚物20‑30份、阻燃剂3‑10份、抗静电剂1‑4份、结构强度增强剂0.5‑2份和适配改性剂1‑5份。本发明所述的高抗冲低体积电阻的ABS阻燃复合材料通过苯乙烯‑丁二烯共聚物的添加以提高复合材料中抗静电剂的抗静电性能,同时提高复合材料体系的韧性;通过添加结构强度增强剂来提高复合材料的抗冲击、抗拉伸等力学性能;而且本发明的抗静电剂和阻燃剂之间互不干扰,得到的ABS阻燃复合材料具有优良的抗冲击强度、较好/稳定的抗静电性能以及优良的阻燃性能。

标签:
复合材料
江苏 - 苏州 来源:中冶有色网 2023-03-18
原位三维树脂复合材料及其应用

本发明公开了一种原位三维树脂复合材料及其应用,主要以热固性树脂体系、聚苯醚、固化剂及纤维布为原料,经热压固化处理得到一种具有原位三维编织结构的复合材料。本发明制备的复合材料具有优异的弯曲强度及层间剪切性能,且明显优于未添加聚苯醚的复合材料的力学性能。本发明技术有效解决了纤维增强复合材料层强度差的问题,所制备的复合材料在航空、航天等领域具有突出的应用价值。

标签:
复合材料
江苏 - 苏州 来源:中冶有色网 2023-03-18
尼龙/石墨烯复合材料及其制备方法

本发明公开了一种尼龙/石墨烯复合材料及其制备方法。所述的尼龙/石墨烯复合材料,包括以下组分重量份数的组分:尼龙树脂50-85份、石墨烯粉末10-30份、改性聚四氟乙烯5-18份、玻璃纤维1-6份、水镁石纤维2-10份、聚对苯二甲酸乙二醇酯2-5份、环氧树酯1-5份、丙烯酸树酯1-3份、聚苯颗粒2-6份、硝酸铅1-8份、硅烷偶联剂3-7份和助剂0.5-1份。本发明还公开了上述尼龙/石墨烯复合材料的制备方法。本发明所制备的尼龙/石墨烯复合材料,不仅制备工艺简单,而且实验结果显示所制备的尼龙/石墨烯复合材料的导热性明显改善,因而可扩大尼龙/石墨烯复合材料的实际应用。

标签:
复合材料
江苏 - 苏州 来源:中冶有色网 2023-03-18
上一页 493 494 495 496 497 ... 500 ... 515 下一页
共515页    到第

中冶有色为您提供最新的江苏苏州有色金属材料制备及加工技术理论与应用信息,涵盖发明专利、权利要求、说明书、技术领域、背景技术、实用新型内容及具体实施方式等有色技术内容。打造最具专业性的有色金属技术理论与应用平台!

全国热门有色金属设备推荐
展开更多 +
全国热门有色金属技术推荐
展开更多 +

 

江西省隆恩特环保设备有限公司
宣传

报名参会
更多+

报告下载

有色专家
更多+

矿冶科技集团有限公司
中国工程院院士
湖南有色金属研究院
教授级高工/原总工程师
江西理工大学
副处长/教授
北京科技大学
副院长/教授
长沙矿冶院检测技术有限责任公司
总经理
赤泥综合利用研究报告2025
推广

热门技术
更多+

推荐企业
更多+

福建省金龙稀土股份有限公司
宣传

发布

在线客服

公众号

电话

顶部
咨询电话:
010-88793500-807