青岛垚鑫智能科技有限公司
宣传

位置:中冶有色 >

有色技术频道 >

分类:
全部
矿山技术
冶金技术
材料制备及加工技术
环境保护技术
分析检测技术
 
全部
功能材料技术
复合材料技术
新能源材料技术
合金材料技术
加工技术
地区:
全部
北京
天津
上海
重庆
河北
山西
辽宁
吉林
黑龙江
江苏
浙江
安徽
福建
江西
山东
河南
湖北
湖南
广东
海南
四川
贵州
云南
陕西
甘肃
青海
内蒙
广西
西藏
宁夏
新疆
其他
其他
展开
 
全部
北京

北京北京有色金属材料制备及加工技术理论与应用

免费发布技术信息>>
金刚石复合薄膜及其制备方法和应用

本发明涉及金刚石复合材料技术领域,尤其是涉及一种金刚石复合薄膜及其制备方法和应用。所述金刚石复合薄膜,包括金刚石和依次沉积在金刚石表面的钛层、钼层和镍层。所述制备方法,包括如下步骤:在金刚石表面依次沉积形成钛层、钼层和镍层,即得所述金刚石复合薄膜。本发明通过在金刚石表面沉积钛层、钼层和镍层,在金刚石表面形成钛钼镍金属化结构体系,提高金刚石复合薄膜的抗拉强度同时赋予金刚石良好的焊接高强和气密性能,满足作为窗口材料的高强度、低损耗、气密焊接性能好等技术要求,可用于大功率电真空器件的输出窗。

标签:
复合材料
北京 - 北京 来源:中冶有色网 2023-03-18
3D打印结合真空消失模制备金属基SHS耐磨涂层的方法

一种3D打印结合真空消失模制备金属基SHS耐磨涂层的方法,属于金属基复合材料制备技术领域。本发明采用3D打印打印出任意形状的空心模具,将其代替传统实心的泡沫模型的消失模模具,结合真空消失模铸造及自蔓延高温合成技术,实现耐磨涂层与金属铸件材料的同步制备。采用3D打印技术制备的空心模具形状尺寸不受限制,可以有效降低金属浇铸液在真空消失模铸造过程中的热量损失,有利于维持SHS反应完全,同时去除了泡沫塑料分解造成的碳残留及夹杂问题,从而保证了金属基体与涂层的力学与物理性能。具有操作简单、生产效率高、产品精度高、形状可复杂化、无污染与夹杂、基体与涂层性能优异等优点。

标签:
复合材料
北京 - 北京 来源:中冶有色网 2023-03-18
在碳纤维表面化学镀镍的方法

一种在碳纤维表面化学镀镍的方法,涉及利用化学镀技术制备复合材料。具体为在利用化学镀对碳纤维表面镀镍时,在化学镀液中放入电极电位低于金属镍的其他金属,利用电极电位低于金属镍的其他金属在镀液中被氧化释放出电子,并通过电极电位低于金属镍的其他金属与碳纤维接触而将电子传导至碳纤维上,使镀液中的镍离子于碳纤维表面获得电子,被还原沉积于碳纤维表面形成活化点,进而在镀液中还原剂的作用下,镀液中镍离子以碳纤维表面活化点为基础在碳纤维表面继续沉积形成镀镍层。

标签:
复合材料
北京 - 北京 来源:中冶有色网 2023-03-18
酶电极、酶生物传感器及其制备方法和应用

本发明涉及一种酶电极、酶生物传感器及其制备方法和应用。所述酶电极包括基底电极,所述基底电极表面附有碳化蛋壳膜,所述碳化蛋壳膜上固定化有纳米金属颗粒和酶。本发明的酶电极以蛋壳膜和纳米金属颗粒复合材料作载体,来实现酶分子的有效固定和酶与电极之间的直接电子转移,提高酶分子催化活性和传感器的灵敏度。与现有技术相比,本发明的酶电极以蛋壳膜为材料,实现废弃物重复利用,制作方法简单、成本低廉,电极和酶之间的电子传递速率高;本发明的酶生物传感器检测灵敏度高、快捷准确、稳定性和重复性好。

标签:
复合材料
北京 - 北京 来源:中冶有色网 2023-03-18
纳米核壳结构高效分子筛干燥剂的制备方法

本发明公开了一种纳米核壳结构高效分子筛干燥剂的制备方法,包括:步骤1,蒙脱土与第一混合单体混合,匀速搅拌静置形成稳定的蒙脱土插层分散液;步骤2,在搅拌状态下向蒙脱土插层分散液加入混合乳化剂与适量的水,搅拌均匀后加入氧化还原型引发剂,聚合完成后,得到插层种子乳液;步骤3,将混合乳化剂、第二混合单体、氧化还原型引发剂、1,2-二乙烯基苯在73~76℃的温度条件下以恒定的速度加入到步骤2制得的插层种子乳液中,滴加完毕后再继续保温熟化得到核壳乳胶粒子;步骤4,核壳乳胶粒子破乳、干燥并粉碎后制得最终产品。本发明利用低皂乳液聚合制备,在保证所需机械强度的前提下,大大提高了纳米复合材料的吸水性能。

标签:
复合材料
北京 - 北京 来源:中冶有色网 2023-03-18
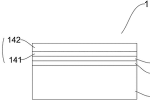
硅氧比梯度变化的耐高温抗腐蚀复合涂层

本发明提供一种硅氧比呈梯度变化的耐高温抗腐蚀复合涂层,涉及有机树脂、有机硅、无机含硅化物和隔热填料的复合材料及其涂层技术,用于低熔点金属或合金(如镁合金和铝合金)的隔热和耐腐蚀保护。本发明的涂层具有如下特征:1)从金属基体到涂层表面其氧硅比为0(基体材料):1(硅烷):1.5(聚倍半硅氧烷):2(二氧化硅及硅酸盐)梯度复合;2)有高温隔热特性?3)室温耐海洋环境腐蚀;4)从室温到500℃的宽工作温度范围;5)与基体优异的结合力。

标签:
复合材料
北京 - 北京 来源:中冶有色网 2023-03-18
双弧面非贯通型气体基线聚焦空气耦合传感器

本发明涉及一种双弧面非贯通型气体基线聚焦空气耦合传感器,属于声学换能器技术领域,其作用是把激励端产生的电信号转换为压电材料的振动进而产生超声波,同时接收从被测件反射回的声波信号,并将其转换为电信号。本发明采用双弧面非贯通型气体基压电复合材料作为激励接收敏感元件,与上电极、下电极、透射层、背衬层、阻抗匹配电路、金属外壳、BNC接头等组合成双弧面非贯通型气体基线聚焦空气耦合传感器,该传感器具有声阻抗低、能量传输效率高、声能量集中等优点,完全可以满足实验需要。

标签:
复合材料
北京 - 北京 来源:中冶有色网 2023-03-18
分段式次镜高稳定性支撑结构

一种分段式次镜高稳定性支撑结构,包括第一前镜筒(1)、第二前镜筒(2)和次镜支撑组件(3);次镜支撑组件(3)包括辐板组件(4)、次镜框(5);每组辐板组件(4)包括辐板(10)、辐板基座;辐板(10)一端与辐板基座连接,另一端与次镜框(5)连接且圆形的次镜框(5)相切;各辐板基座分别固定安装在第二前镜筒(2)一端,第二前镜筒另一端与第一前镜筒(1)连接。本发明中复合材料镜筒和柔性辐板结构实现了对次镜的高稳定性支撑。支撑结构也采用了三层夹心结构辐板结构,既减轻了重量,提高了结构刚度,又一定程度上对热应力进行了卸载。

标签:
复合材料
北京 - 北京 来源:中冶有色网 2023-03-18
石墨烯镍复合导电防腐蚀聚硫密封胶

本发明属于高分子材料密封胶技术领域,涉及一种石墨烯镍复合导电防腐蚀聚硫密封胶。本发明由组分A基膏和组分B硫化膏组成,组分A为基膏,组分B为硫化膏。本发明使用石墨烯镍复合填料作为导电剂,可以使得密封胶具有很高的导电率,同时使用石墨烯可以使得密封胶具有优异的防腐蚀性能。本发明采用偶联剂复合技术,制备了石墨烯镍复合导电剂作为密封胶的导电填料,制备成高导电的复合材料,解决了石墨烯与液体聚硫橡胶混合过程中的团聚现象,实现石墨烯在液体聚硫橡胶中的良好分散及均匀分布;本发明石墨烯粒径小,可以很好的填充在镍粉中间,添加了导电接触面积,利用石墨烯的高导电性,配合镍粉一起组成导电体系,接触电阻由0.8降到0.03Ω‑0.01Ω。

标签:
复合材料
北京 - 北京 来源:中冶有色网 2023-03-18
高模量聚酰亚胺纤维及其制备方法和应用

本发明属于高性能纤维技术领域,具体地说,涉及一种高模量聚酰亚胺纤维及其制备方法和应用。所述的高模量聚酰亚胺纤维的拉伸模量为120‑160GPa,断裂强度为2000‑2800MPa,断裂伸长率为1.5‑2.5%,界面剪切强度为30‑60MPa,热分解温度为610‑680℃。本发明所提供的高模量聚酰亚胺纤维的制备方法为:将聚酰亚胺纤维采用混合碱液进行碱解,所述的混合碱液为氢氧化钾与N,N‑二甲基乙酰胺的混合水溶液。与现有技术相比,本发明提供的高模量化聚酰亚胺纤维的制备方法经济、环保,制得的高模量聚酰亚胺纤维性能价格比优良,可以广泛应用于防护服、电子柔性显示,及航天航空复合材料等方面,可以得到广泛应用。

标签:
复合材料
北京 - 北京 来源:中冶有色网 2023-03-18
石墨烯/二氧化硅复合粒子的制备方法

一种石墨烯/二氧化硅复合粒子的制备方法属于纳米复合材料领域。解决石墨烯和二氧化硅在橡胶中分散的难题。本发明主要采用构建石墨烯气凝胶,然后将二氧化硅分散于气凝胶的微孔中。避免了两者的聚集。本发明以氧化石墨烯为前驱体,通过控制氧化石墨烯的性质、化学还原类型、干燥工艺,获得具有特殊形貌、尺寸和优异物理性能的石墨烯/二氧化硅气凝胶,具有低密度、高孔隙率、高比表面、低热导率稳定的化学性质等。把气凝胶加入到橡胶中,保证石墨烯片层在橡胶基体中均匀分散、提高石墨烯与橡胶的界面作用等问题。本发明气凝胶是具有大孔隙率和比表面积的三维碳材料,可以作为优异的材料应用在橡胶补强中,制备工艺相较于以往工艺有很大提升。

标签:
复合材料
北京 - 北京 来源:中冶有色网 2023-03-18
低振动噪声的阳极饱和电抗器

本发明公开了一种低振动噪声的阳极饱和电抗器,包括壳体,九对“跑道型”铁芯和五匝线圈,所述线圈用碳纤维增强铜基复合材料导线进行缠绕,壳体内的空间用聚氨酯弹性体材料填充。本发明阳极饱和电抗器能有效降低阳极饱和电抗器的振动,尤其对高频振动及噪声具有明显抑制效果,为阳极饱和电抗器设计提供一种思路。

标签:
复合材料
北京 - 北京 来源:中冶有色网 2023-03-18
前舱外盖板结构
前舱外盖板结构 831     
 0

本发明涉及纯电动车前舱外盖板总成,前舱外盖板本体是由复合材料制成,再由同样材料制成的骨架形加强板与前舱外盖板本体连接在以此来保证前舱外盖板的强度。加强板与周边外饰件设置支撑、限位、固定等结构相互配合控制外观配合间隙段差,最后由前舱锁固定。加强板上设置前后限位结构防止前舱外盖板在打开过程中弹离车身,较好的解决了前舱外盖板总成拆装、外观品质问题。

标签:
复合材料
北京 - 北京 来源:中冶有色网 2023-03-18
RFI成型树脂膜封装和气路设置方法

本发明属于树脂基复合材料液体成型技术,涉及一种RFI成型树脂膜封装和气路设置方法。本发明是针对改进后的RFI工艺的一种气路设置和树脂膜封装方式。本方法按壁板所需树脂渗透的区域采用导胶材料、密封条、隔离膜将树脂膜封装在壁板内侧模具表面。通过在壁板预成型体与模具间设置气路引导树脂由上向下渗透,实现树脂对预成型体的完全浸润,避免干斑产生。本方法可以使壁板预成型体与模具组装时达到良好的配合,避免树脂铺放、树脂转移过程中树脂流动造成的壁板预成型体纤维变形,在保证壁板内、外型面质量的前提下实现树脂对预成型体的完全浸润。

标签:
复合材料
北京 - 北京 来源:中冶有色网 2023-03-18
纳米级氧化物弥散强化镍基复合粉末的制备方法

本发明涉及一种纳米级氧化物弥散强化镍基复合粉末的制备方法,属于纳米复合材料制备领域。具体步骤为:首先将硝酸镍、弥散相硝酸盐、还原剂和有机添加剂按照一定比例溶于去离子水,配成溶液,加热溶液直至发生氧化还原反应,得到含有氧化镍和弥散相氧化物的前驱体粉末;然后将得到的前驱体粉末在氢气或分解氨气氛中进行选择性还原,还原温度为250~700℃,还原时间为0.5~3小时,得到弥散相颗粒细小、分布均匀的纳米氧化物弥散强化镍基复合粉末。该方法制备的复合粉末纯度高,颗粒粒径小,分散性好,产品性能稳定;同时该方法原料易得,设备简单,工艺简短,能耗低,安全性好,效率高,可规模化生产,为高性能纳米级氧化物弥散强化镍基复合粉末的制备提供了新的思路。

标签:
复合材料
北京 - 北京 来源:中冶有色网 2023-03-18
预热爆炸焊接制备高结合强度纯钨复合板的方法

本发明公开了一种预热爆炸焊接制备高结合强度纯钨复合板的方法,可以制备厚度较大的纯钨复合板,制备的复合材料无裂纹,具备较高结合强度;该方法包括:步骤一、以纯钨板为基板,将基板置于电加热板上;步骤二、以其他金属板为覆板,将覆板通过支撑物平行置于基板之上,基板与覆板之间预留空隙;所述其他金属为与纯钨熔点和脆性差异大的金属;步骤三、在覆板表面敷设等厚度炸药,炸药敷设尺寸与覆板尺寸相同,均大于基板尺寸;步骤四、接通电加热板对基板进行加热;步骤五、当基板达到预定温度后,通过雷管引爆炸药,完成爆炸焊接,制备出高结合强度纯钨复合板。

标签:
复合材料
北京 - 北京 来源:中冶有色网 2023-03-18
高岭土-硅烷嵌合插层改性复合物的制备方法

本发明涉及一种制备高岭土-硅烷有机插层复合物的方法。将硅烷嫁接入高岭土层间,形成高岭土-层间硅烷嵌合插层体,其特征在于其层间距d(001)在2.0nm到5.9nm之间。本发明方法是将硅烷以化学键合作用方式嫁接入层内,且嫁接率高,不同于以往简单的表面吸附的改性过程。可以将硅烷的多个功能基团与高岭土的特有功能特性相互结合补偿,形成具有更好分散性、吸附性、表面活性的复合物,甚至与有机母质在原位发生结合而使片层剥离,达到纳米尺度上的充填。本发明在纳米复合材料、橡胶塑料填充材料领域具有较大的应用前景。

标签:
复合材料
北京 - 北京 来源:中冶有色网 2023-03-18
油品电化学催化还原脱硫的方法

一种适合于油品脱硫的方法,该方法是以某非水 溶性离子液体为媒质支持电解质,采用自制大比表面积高吸附 性能多孔复合材料为阴极,对油品进行电化学还原处理,使油 品中硫化物的硫被还原为H2S 而脱除。本发明与传统的油品脱硫方法相比,具有节约能源、 设备简单、投资少、无污染、简化生产过程、易于实现自动控 制等优点。

标签:
复合材料
北京 - 北京 来源:中冶有色网 2023-03-18
抗氧化二肽药物插层水滑石及其制备方法

本发明公开了属于二肽类药物技术领域的一种抗氧化二肽药物插层水滑 石及其制备方法。其化学式为:(Mg2+)1-x(Al3+)x(OH)a(L-Carnosine)b·mH2O。其 制备方法分为共沉淀法和离子交换法。其中共沉淀法的晶化阶段和离子交换法 的反应过程均采用了微波水热的方法。本发明的优点在于:制备肌肽插层水滑 石的过程中采用了微波水热的方法,大大缩短了共沉淀法的晶化时间和离子交 换法的反应时间;所制得的二肽药物——肌肽插层水滑石复合材料由于利用了 水滑石的空间限域作用和主客体之间的相互作用,因而在通常情况下具有较好 的热稳定性和一定的缓释性能,有利于其存贮和开拓新的给药途径。

标签:
复合材料
北京 - 北京 来源:中冶有色网 2023-03-18
汽车散热器复合钎焊铝箔材料及其制造方法

一种用于散热器的铝合金复合材料及生产这种材料的方法,其包括:将下列各化学成分按质量比:硅0.05~0.08%,铁0.20~0.30%,铜0.30~0.40%,锰1.0~1.8%,铬0.005~0.035%,钛0.12~0.20%,其余为铝,将重熔用工业纯铝锭(AL99.70A)熔化、搅拌,除渣后按上述比例加入铁剂、铜剂、锰剂、铬剂、钛硼细化剂调整成分静置后进行铸造,然后浇铸成热轧锭坯,在两侧覆盖一层铝硅类型钎焊材料,加热到520℃~540℃,保持10个小时后热轧,获得热轧板坯,将热轧板坯进行冷轧加工。

标签:
复合材料
北京 - 北京 来源:中冶有色网 2023-03-18
铁纳米带及其制备方法

本发明涉及一种铁纳米带及其制备方法。该铁纳米带的厚度为20-40纳米,长度为5微米-1厘米,宽度为100-500纳米。上述铁纳米带的制备方法包括以下步骤:将铜铁复合材料丝材放入侵蚀液中浸泡2-20个小时,溶解掉铜,捞取剩下的固体,在乙醇中进行超声清洗,利用红外灯烘干,得到所述铁纳米带;其中,侵蚀液由去离子水和浓度为25wt.%的氨水按1∶9-1∶5的体积比混合而成。本发明所提供的铁纳米带的厚度为纳米级,而长度可以达到微米级,甚至厘米级,在多个领域都有广阔的前景。本发明提供的铁纳米带的制备方法具有成本低、能耗低、工艺简单、产量大等特点,可大规模生产不同长度的纳米带。

标签:
复合材料
北京 - 北京 来源:中冶有色网 2023-03-18
风力发电机组风轮叶片制造方法

本发明涉及一种风力发电机组风轮叶片制造方法。根据本发明的风力发电机组风轮叶片制造方法,用于由玻璃钢复合材料制成风轮叶片,在叶片模具上铺设玻璃纤维布的过程中,在铺设好一层玻璃纤维布后,在玻璃纤维布上布置至少一块或数块磁铁,在铺设下一层玻璃纤维布前,移除磁铁。在叶片模具上叶根部(园柱段)、最大弦长位置的内腔中,当玻璃纤维布擀平后放置磁铁,以固定而使玻璃纤维布不致移动或滑落,使每一层玻璃纤维布较好贴合叶片模具,消除叶片层铺过程中产生褶皱的问题,提高风力发电机组的风轮叶片的制造质量,降低由于褶皱而产生的断裂的风险,延长叶片的使用寿命、以提高机组的可利用率。

标签:
复合材料
北京 - 北京 来源:中冶有色网 2023-03-18
用于贵金属催化剂原位固载的磁性聚合物微球的制备方法

本发明一种用于贵金属催化剂原位固载的磁性聚合物微球的制备方法,属于高分子材料和纳米复合材料领域。首先利用溶剂热法制备亲水性、高磁响应性的磁性Fe3O4纳米粒子,然后通过吸附作用与亲水性功能单体形成氢键,利用原位自由基聚合的方法制备单分散、表面带有官能基团、高磁响应性的磁性聚合物微球。利用表面官能基团与贵金属盐溶液静电吸附,原位负载贵金属纳米粒子用于污染物的降解,表现出稳定高效的催化活性。

标签:
复合材料
北京 - 北京 来源:中冶有色网 2023-03-18
锂离子电池硅银复合负极材料的制备方法

本发明属于化工材料制备方法技术领域,特别涉及一种锂离子电池硅银复合负极材料的制备方法。该方法以聚乙烯吡咯烷酮(PVP)为表面活性剂,氨水为络合剂,硼氢化钠为还原剂,还原AgNO3来制备粒径均匀分布的纳米银颗粒,并使其均匀附着在平均粒径为30nm~500nm的纳米硅颗粒表面,来获得硅银复合负极材料。本发明生产工艺简单,不使用任何复杂设备,反应都是在常温常压下进行,容易实现工业化生产。本发明所制备的硅银复合材料密度高,能利用银金属良好的导电性和延展性提高硅的电导率,在充放电过程中缓解和抑制硅的粉化问题,提高Si基负极材料的性能;同时可以提高硅负极材料的电导率,使得纳米硅银复合负极材料实现大电流充放电。

标签:
复合材料
北京 - 北京 来源:中冶有色网 2023-03-18
磁悬浮垂直风叶转笼驱动多台发电机的风力发电机

一种磁悬浮垂直风叶转笼驱动多台发电机的风力发电机,转笼外侧装有16个以上垂直安放的风叶,风叶是拉挤复合材料制成的外凸内凹、内凹面有多条挡风筋;转笼内安装的大型内齿轮带动八台发电机上的齿轮旋转发电,转笼由磁悬浮悬起,摩擦阻力小,设备只有齿轮和发电机,全部由国产材料生产,功率可达到12兆瓦以上。

标签:
复合材料
北京 - 北京 来源:中冶有色网 2023-03-18
碳纳米管掺杂改性钨及其爆炸固结制备方法

本发明属于能源材料领域,涉及一种碳纳米管掺杂改性钨及其爆炸固结制备方法。其特征是以碳纳米管与钨粉为原料,先将分散在有机溶剂N-甲基吡咯烷酮的碳纳米管和超细钨粉混合,然后在碳纳米管/钨复合粉末的酒精悬浊液进行超声震荡分散,使碳纳米管均匀分散在钨粉体中;然后采用爆炸固结的方法制备碳纳米管掺杂改性钨块体复合材料(CNTs/W)。利用爆炸成型工艺将分散均匀的碳纳米管/钨粉体材料固结,可以在瞬间(十几微秒)完成固结,改性材料与基体来不及反应,保持碳纳米管的高强、高韧、高热导等优异特性,由于碳纳米管的掺杂改性,固结后钨块体材料相比纯钨块体断裂韧性及热导都有提高,其断裂韧性提高30%左右,热导率提高5%左右。

标签:
复合材料
北京 - 北京 来源:中冶有色网 2023-03-18
碳纳米管/聚吡咯复合海绵及其制备方法

一种碳纳米管/聚吡咯复合海绵及其制备方法,属于碳纳米复合材料合成与应用领域,碳纳米管/聚吡咯复合海绵由具有微观芯壳结构的复合管堆叠缠绕而成,具有多孔结构,复合管由碳纳米管及包覆在碳纳米管外的一层厚度均匀的聚吡咯构成,该复合海绵中聚吡咯的质量含量可控,该复合海绵具有良好的弹性、循环压缩稳定性,和优异的电化学性能,该碳纳米管/聚吡咯复合海绵采用化学气相沉积法、吸附复合法和电化学聚合法相结合的方式制备;该制备方法构思巧妙,简单易操作。

标签:
复合材料
北京 - 北京 来源:中冶有色网 2023-03-18
控温型水土保持控制剂及生产工艺

本发明涉及一种用于水土保持控制使用的高分子复合材料,使用后可以减少各种水土流失,包括水土侵蚀、风蚀等,其组成主要以水溶性的聚阴离子成份-磺化尿素三聚氰胺甲醛树脂(磺化脲-蜜胺甲醛树脂),将该缩合物与一定比例的腐植酸钾和(或)碳黑混合,得到增温型水土保持控制剂,将该缩合物与高岭土类物质按一定比例混合,得到降温型水土保持控制剂;通过向该缩合物中加入磷酸钾、氯化钾、硼砂等,该高分子材料具有了更多的营养功能。这种成分的水合溶液喷射到土壤表面或机械性地混合改进了土壤结构,处理后的土壤增强了对风,雨水的抵抗力,可以提高或降低土壤的温度。此外,这种材料也提供了植物所需要的氮,磷,钾营养成分,为植物生长提供了有利条件。

标签:
复合材料
北京 - 北京 来源:中冶有色网 2023-03-18
由聚氨酯/纳米蒙脱土制备的体育场地耐磨层材料及其制备方法

本发明属于高分子复合材料,特别涉及由聚氨酯/纳米蒙脱土制备的体育运动场地耐磨层材料及其制备方法。将聚醚二元醇抽真空,加入甲苯二异氰酸酯,制备出A组份;将纳米蒙脱土与聚醚三元醇混合,抽真空脱水脱气,在混入3,3-二氯-4,4-二氨基二苯基甲烷、无机填料及颜料和氯化石蜡油,抽真空,制备出B组份;将A和B组份按重量比1∶2~1∶4混合,再加入异辛酸盐催化剂,搅拌,聚合固化,制备出体育场地铺装耐磨层用的纳米聚氨酯胶板,将胶板加工成颗粒。本发明的材料提高了物理性能,增强了粘接力,提高了场地的铺装质量,延长了场地的使用寿命。

标签:
复合材料
北京 - 北京 来源:中冶有色网 2023-03-18
超导导线组件及其制备方法

本发明涉及超导导线组件及其制备方法,其包含至少一根具有超导性能的单根超导导线,其特征在于所述超导导线的外表面上至少有一层复合材料覆盖层,所述覆盖层至少局部覆盖所述超导导线的外表面,利用该方法制备的超导导线组件具有较高的机械强度。

标签:
复合材料
北京 - 北京 来源:中冶有色网 2023-03-18
上一页 490 491 492 493 494 ... 500 ... 871 下一页
共871页    到第

中冶有色为您提供最新的北京北京有色金属材料制备及加工技术理论与应用信息,涵盖发明专利、权利要求、说明书、技术领域、背景技术、实用新型内容及具体实施方式等有色技术内容。打造最具专业性的有色金属技术理论与应用平台!

全国热门有色金属设备推荐
展开更多 +
全国热门有色金属技术推荐
展开更多 +

 

江西省隆恩特环保设备有限公司
宣传

报名参会
更多+

报告下载

有色专家
更多+

西北稀有金属材料研究院宁夏有限公司
党委书记 / 董事长
东北大学
院长/教授
中南大学
中国工程院院士
中国铝业集团有限公司
中国铝业股份有限公司党委书记
中铝郑州有色金属研究院有限公司
正高级工程师/总经理
赤泥综合利用研究报告2025
推广

热门技术
更多+

推荐企业
更多+

福建省金龙稀土股份有限公司
宣传

发布

在线客服

公众号

电话

顶部
咨询电话:
010-88793500-807