青岛垚鑫智能科技有限公司
宣传

位置:中冶有色 >

有色技术频道 >

分类:
全部
矿山技术
冶金技术
材料制备及加工技术
环境保护技术
分析检测技术
 
全部
功能材料技术
复合材料技术
新能源材料技术
合金材料技术
加工技术
地区:
全部
北京
天津
上海
重庆
河北
山西
辽宁
吉林
黑龙江
江苏
浙江
安徽
福建
江西
山东
河南
湖北
湖南
广东
海南
四川
贵州
云南
陕西
甘肃
青海
内蒙
广西
西藏
宁夏
新疆
其他
其他
展开
 
全部
广州
韶关
深圳
珠海
汕头
佛山
江门
湛江
茂名
肇庆
惠州
梅州
汕尾
河源
阳江
清远
东莞
中山
潮州
揭阳
云浮

广东深圳有色金属材料制备及加工技术理论与应用

免费发布技术信息>>
废旧磷酸铁锂电池放电装置、放电方法及应用

本发明提供了一种废旧磷酸铁锂电池放电装置、放电方法及应用。该放电装置包括:金属壳体、导电粉体、绝缘组件及测试电路模块,导电粉体充满金属壳体中,在对废旧磷酸铁锂电池放电时,将废旧磷酸铁锂电池模块放置于金属壳体中,使废旧磷酸铁锂电池模块埋没在导电粉体中,即可对废旧磷酸铁锂电池进行放电。由于金属壳体连接测试电路模块,能够在放电过程中实时反映放电深度,无需人为进行抽样检测电池的放电深度,因此安全性更高,且能够实时反映整个电池模块的放电情况,检测效率及准确性更高。该废旧磷酸铁锂电池放电装置应用于废旧磷酸铁锂电池回收,能够提升操作安全系,且易于监控放电情况。

标签:
加工技术
广东 - 深圳 来源:中冶有色网 2023-03-18
磷酸铁锂正极材料废料的再生方法

本发明提供一种磷酸铁锂正极材料废料的再生方法,包括以下步骤:1)将磷酸铁锂正极材料废料在80℃~200℃干燥0.5H~12.0H;2)将干燥后的磷酸铁锂正极材料废料粉碎,使粒度组成符合磷酸铁锂正极浆料的配制要求。经本发明方法处理所得的磷酸铁锂正极再生料与正常料具有相近的电化学性能;本发明方法工艺简单,实施方便,费用低廉;采用本发明方法可以很容易地实现磷酸铁锂正极材料废料的回收再利用,降低了电池生产的综合成本;避免对磷酸铁锂正极材料废料处理不当而造成环境污染。

标签:
加工技术
广东 - 深圳 来源:中冶有色网 2023-03-18
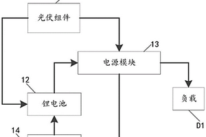
配备锂电池的太阳能发电系统

一种配备锂电池的太阳能发电系统,其主要包括光伏组件、锂电池、电源模块、激活模块。其中,光伏组件用于输出光伏电能;锂电池与光伏组件连接,用于存储或释放电能;电源模块与光伏组件和锂电池连接,用于将光伏组件或锂电池输出的直流电转换为交流电以供负载使用;激活模块与锂电池、电源模块连接,用于利用电源模块为锂电池提供激活电能以达到保护荷电状态。本申请技术方案能够在锂电池深度放电之后被快速激活,在没有通讯控制的情况下能够利用光伏电能或市电电能对锂电池进行小电流充电,使得锂电池的荷电状态逐步增加,实现对锂电池的激活功能,从而保证锂电池正常参与太阳能发电系统的储能工作,维持系统工作的稳定性。

标签:
加工技术
广东 - 深圳 来源:中冶有色网 2023-03-18
具有自动灭火防爆功能的锂电池电池箱

本发明涉及一种具有自动灭火防爆功能的锂电池电池箱,属于锂电池的防火防爆领域,解决了现有锂电池技术中,锂电池因热失控导致起火爆炸的问题;本方案包括电池箱壳以及安装在电池箱壳内的锂电池装置与触发泵,锂电池装置包括多组锂电池机构,锂电池机构包括壳组、设置在壳组顶部的上触发构件、设置在壳组底部的下触发构件、设置在壳组内部的锂电池单体,上触发构件用于在锂电池单体温度达到预设温度值时被触发与触发泵连通,触发泵内储存有灭火的水介质,在上触发构件被触发与触发泵连通时,水通过上触发构件流入至壳组内,实现对锂电池单体的防火防爆,下触发构件用于在壳组内注满水时被触发向外排水。

标签:
加工技术
广东 - 深圳 来源:中冶有色网 2023-03-18
锂电池组充放电管理方法及系统

本申请公开了一种锂电池组充放电管理方法及系统,其涉及锂电池管理技术领域,该方法包括如下步骤:获取锂电池组的历史数据,所述历史数据包括历史电池温度数据和历史功率数据,所述锂电池组的数量为多组;基于所述历史数据将所述锂电池组划分为多个区域,并分别获取各个区域内所述锂电池组的实时数据,所述实时数据包括实时电池温度数据和实时功率数据;基于各个区域内所述锂电池组的所述实时数据分别分析各个区域的区域运行状态,并根据所述区域运行状态实时调整各个区域内锂电池组的运行模式。本申请具有锂电池使用过程中不需要消耗大量的人力进行管理的效果。

标签:
加工技术
广东 - 深圳 来源:中冶有色网 2023-03-18
柔性全固态薄膜锂电池及其制备方法

本发明提供了一种柔性全固态薄膜锂电池,包括聚合物薄膜层,在聚合物薄膜层上形成锂电池功能系层;所述锂电池功能系层包括功能层、正极集流层、正极薄膜层、固态电解质薄膜层、负极薄膜层、负极集流层以及封装薄膜层。本发明还提供了一种柔性全固态薄膜锂电池的制备方法,包括如下步骤:在衬底的表面上形成界面层;在界面层的表面上形成聚合物薄膜层;在聚合物薄膜层的表面上形成锂电池功能系层;将界面层与衬底分离,得到全固态薄膜锂电池。本发明与现有技术相比,通过在制作锂电池的衬底上设置界面层以聚合物层,在锂电池制作完成后将衬底与界面层进行剥离即可,以使聚合物层及锂电池功能系层完整良好的实现转移,从而实现提高效率,降低成本。

标签:
加工技术
广东 - 深圳 来源:中冶有色网 2023-03-18
磷酸铁锂正极材料制备方法

一种磷酸铁锂正极材料制备方法,包括如下步骤:步骤1、按照化学计量比1:1:1的比例分别称取碳酸锂、磷酸二氢铵、草酸亚铁,加入无水乙醇混合均匀后进行以350~450rpm转速球磨6~10h,然后在60~100℃真空干燥10~20h得到磷酸铁锂前驱体粉;步骤2、将步骤1中所制得的磷酸铁锂前驱体在纯氮气氛保护的管式炉里350~450℃保温4~6h,继续升温至600~800℃煅烧6~10h后自然冷却到室温得到磷酸铁锂正极材料;步骤3、称取步骤1得到的磷酸铁锂质量的1wt.%~3wt.%的铜薄片和磷酸铁锂质量的4wt.%~10wt.%的蔗糖加入到步骤2所得的磷酸铁锂材料中,球磨1~3h后用乙醇洗涤、离心后烘干,在纯氮气氛中600~800℃煅烧1~3h后即得到铜与碳共同包覆的磷酸铁锂正极材料。

标签:
加工技术
广东 - 深圳 来源:中冶有色网 2023-03-18
锂电池安全保护装置
锂电池安全保护装置 1040     
 0

本实用新型涉及锂电池保护领域,具体为一种锂电池安全保护装置,包括锂电池本体,所述锂电池本体的外壁罩设有罩壳;所述锂电池本体的两侧壁均固定安装有限位板,所述罩壳的内腔两侧壁均固定连接有连杆,所述连杆的外端和限位板连接,所述罩壳的两侧壁下侧均插接有螺栓,所述螺栓贯穿罩壳且限位于锂电池本体的底部。本实用新型通过罩壳对锂电池本体进行罩护,从而在雨水天气时,雨水会直接作用于罩壳表面,从而无法对锂电池本体造成影响,有效的保护了锂电池,延长了使用寿命,而且罩壳和锂电池本体通过插接的方式进行限位连接,从而使得拆装方便快捷,方便进行充电以及维护,较为实用,适合广泛推广与使用。

标签:
加工技术
广东 - 深圳 来源:中冶有色网 2023-03-18
便于拆卸的锂电池极耳固定结构

本实用新型公开了一种便于拆卸的锂电池极耳固定结构,包括锂电池固定框,所述锂电池固定框上表面靠近两侧的位置开设有电池放置槽,所述电池放置槽的内部前表面开设有负极槽,所述电池放置槽的内部后表面开设有正极槽,所述正极槽的内侧固定有正极固定框,所述负极槽的内部前表面固定有负极挤压片。本实用新型所述的一种便于拆卸的锂电池极耳固定结构,通过按压锂电池固定框上矩形开口内的挡板就可以取出锂电池本体,不需要从锂电池固定框两端扣取,使得拆装锂电池过程更加简单方便,通过设正极固定框与负极挤压片可以固定住锂电池本体上负极耳与正极耳的位置,与负极耳与正极耳接触面积更大,避免接触不良,从而无法使用锂电池。

标签:
加工技术
广东 - 深圳 来源:中冶有色网 2023-03-18
便于散热的锂离子电池
便于散热的锂离子电池 1094     
 0

本实用新型公开了一种便于散热的锂离子电池,包括固定箱体、锂离子电池本体、固定板、固定螺栓、散热孔、导热管、热导介质层和散热鳍片,所述固定箱体内部安装有锂离子电池本体。本实用新型结构科学合理,使用安全方便,设置了固定板,能够有效的对锂离子电池本体进行固定,能够有效的防止锂离子电池本体在使用的过程中出现掉落现象,设置了散热风扇,能够有效的对锂离子电池本体进行散热处理,能够有效的防止锂离子电池本体温度过高影响使用寿命,能够有效的提高锂离子电池本体的工作效率,设置了减震装置,能够有效的防止锂离子电池本体在使用的过程中出现震动,能够有效的防止震动对锂离子电池本体造成损坏。

标签:
加工技术
广东 - 深圳 来源:中冶有色网 2023-03-18
提高锂离子电池安全性的涂层材料及其制法和电池应用

一种提高锂离子电池安全性的涂层材料及其制法和电池应用。该涂层材料含有钛酸锂、或钛酸锂和二氧化锰的复配物以及胶黏剂。其中钛酸锂的化学式为LixTiyMaOz,其中2≤x≤4,3≤y≤5,0<a<0.05,7≤z≤12,M选自铝、镁,钇、镧、锆或铈中的一种或两种以上元素,含量0.01wt%~0.3wt%。本发明的涂层材料通过将钛酸锂、或钛酸锂和二氧化锰溶于胶黏剂溶液中形成浆料,涂布到隔离膜或正极片上,并经过干燥形成。含本涂层材料的锂离子电池安全性能显著提升,可用于动力型电动车,移动存贮电源,储能电站设备中。

标签:
加工技术
广东 - 深圳 来源:中冶有色网 2023-03-18
锂电池续航能力检测装置

本发明公开了一种锂电池续航能力检测装置,包括:锂电池本体、检测机构、按压机构以及检测台,检测机构、锂电池本体、按压机构设置在检测台上,按压机构包括承载架、电池放置槽、电池导电机构以及控制器,锂电池本体设置在电池放置槽内,控制器用于控制电池导电机构,使得电池导电机构导通锂电池本体、检测机构。该锂电池续航能力检测装置包括锂电池本体、检测机构、按压机构以及检测台,以方便在实验室内对锂电池本体进行续航能力检测;同时该按压机构包括承载架、电池放置槽、电池导电机构以及控制器,操作人员将锂电池本体安装在电池放置槽,使用控制器启动电池导电机构将锂电池本体和检测机构连通起来,代替了人工接线进而提高了检测效率。

标签:
加工技术
广东 - 深圳 来源:中冶有色网 2023-03-18
废弃锂亚氯酰电池资源回收方法

本发明公开了一种废弃锂亚氯酰电池资源回收方法,包括如下步骤:步骤一,将废弃锂亚氯酰电池进行拆解,分别收集正极金属片、负极金属片、电解液、以及正极的硫/碳黑混合物;步骤二,硫/碳黑混合物用乙醇清洗,过滤后得到滤渣;将滤渣加入到酸溶液中,加热、搅拌、过滤,用水清洗至中性,干燥;步骤三,于含有静电稳定剂的醇溶液中将磁性材料均匀分散,并加入表面修饰剂;然后加入氯化锂、氯化铝和氢氧化钠,反应得到磁性微孔锂吸附剂;将磁性微孔锂吸附剂浸入含有锂的电解液,使其中至少部分的锂离子被磁性微孔锂吸附剂吸附。解决了针对锂电池资源回收没有合理方法,对锂电池随便丢弃,不仅污染环境,还造成资源浪费的问题。

标签:
加工技术
广东 - 深圳 来源:中冶有色网 2023-03-18
锂吸附剂及其制备方法
锂吸附剂及其制备方法 1137     
 0

本发明公开了一种锂吸附剂及其制备方法。该锂吸附剂的化学式为LiCl·AlxMy(OH)3x+ny·mH2O,其中x+y=2,3<3x+ny<10,0

标签:
加工技术
广东 - 深圳 来源:中冶有色网 2023-03-18
锂离子电池正极材料固相法掺杂铝的制备方法

本发明涉及一种锂离子电池正极材料固相法掺杂铝的制备方法,包括以下步骤:控制一定的反应条件制备镍、钴及/或锰氢氧化物前驱体,将得到的前驱体与锂盐、纳米级铝化合物混合均匀,在空气或氧气氛中经过高温处理一定的时间,冷却,粉碎,即得到固相法掺杂包覆铝的锂离子电池正极材料,本发明的包覆铝的锂离子电池正极材料可显著改善锂离子电池高温安全性能和循环特性,可用于动力电池。

标签:
加工技术
广东 - 深圳 来源:中冶有色网 2023-03-18
锂聚合物电池跟踪充电的方法

一种锂聚合物电池跟踪充电的方法,其特征在于:包括如下步骤:(1)先用100毫安~2安的电流向锂聚合物电池试探充电,跟踪测量锂聚合物电池电压的变化;(2)当锂聚合物电池电压与预设电压保持一致;(3)检测到锂聚合物电池充满电后,停止对其充电。采用以上技术方案后,先用电流向锂聚合物电池进行试探充电,待电池电压上升后跟踪其上升曲线,根据上升曲线变化情况不断调整充电电流,使电池电压上升曲线与预设电压上升曲线保持一致,充电完成后自动停止充电。因此不需要人工选择充电倍率且无法自动对充电进行跟踪调整。

标签:
加工技术
广东 - 深圳 来源:中冶有色网 2023-03-18
正极补锂添加剂及其制备方法和正极材料、二次电池

本申请涉及锂离子电池添加剂技术领域,提供了一种正极补锂添加剂,包括补锂材料和包覆在补锂材料表面的包覆层,包覆层的材料含有碳和/或氮。本申请提供的正极补锂添加剂,由于含有用于补锂的补锂材料,当电池在首圈充电过程中,补锂材料可以补充负极形成SEI膜而消耗的锂离子,使电池体系内的锂离子保持充裕,从而提高电池首次充电效率和整体电化学性能。由于所含的包覆层是包覆在补锂材料的表面,可以隔绝补锂材料与空气接触,避免空气中的水、氧气和二氧化碳等对补锂材料腐蚀,因此提高了补锂材料的稳定性。另外,由于包覆层具有导电性,可以增加正极补锂添加剂整体的导电性,因此能确保在充电过程中电压变化相对平稳。

标签:
加工技术
广东 - 深圳 来源:中冶有色网 2023-03-18
电池隔膜及锂离子电池

本申请提供了一种电池隔膜,所述隔膜包括多孔基膜和附着在多孔基膜一侧的补锂涂层,所述补锂涂层包括补锂材料和第一粘结剂,所述补锂材料包括核和位于核表面的包覆层,所述核的材料包括锂离子化合物,所述包覆层的材料包括导电聚合物;所述锂离子化合物的首次脱锂容量大于首次嵌锂容量,或所述锂离子化合物的脱锂产物的嵌锂电位小于等于3V;本申请还提供了一种锂离子电池,包括正极、负极和隔膜,所述电池隔膜的补锂涂层与正极相对;本申请通过在电池隔膜的其中一侧形成补锂涂层,且将该隔膜的补锂涂层与正极片相对制备成电池,电池容量会大大提高;同时隔膜还具有良好的机械性能和耐高温性能。

标签:
加工技术
广东 - 深圳 来源:中冶有色网 2023-03-18
锂电池制造方法
锂电池制造方法 1147     
 0

本发明公开了一种锂电池制造方法。该方法包括以下步骤:A、制造机台制造锂电池,锂电池包括电池本体、正极构件和负极构件,正极构件和负极构件分别设置在电池本体的两端,正极构件的材料为无水硫酸铁,负极构件的材料为锂;B、分拣机台接收第一锂电池组合,并对第一锂电池组合中处于分散状态的至少两锂电池进行分拣,并输出第二锂电池组合,第二锂电池组合包括至少两经过分拣的锂电池,至少两经过分拣的锂电池以阵列的形式排列;C、输送机台将第二锂电池组合输送至包装机台,输送机台与分拣机台连接;D、包装机台对至少两经过分拣的锂电池进行包装,包装机台与输送机台连接。本发明能使得产出的锂电池组合中的至少两锂电池排列一致。

标签:
加工技术
广东 - 深圳 来源:中冶有色网 2023-03-18
锂电池分拣方法
锂电池分拣方法 1090     
 0

本发明公开了一种锂电池分拣方法。所述方法包括以下步骤:A、接收机台接收第一锂电池组合,其中,所述第一锂电池组合包括至少两锂电池,至少两所述锂电池处于分散状态,所述锂电池包括电池本体、正极构件和负极构件,所述正极构件和所述负极构件分别设置在所述电池本体的两端,所述正极构件的材料为无水硫酸铁,所述负极构件的材料为锂,所述锂电池的一端粘附有磁铁块;B、与所述接收机台连接的分拣机台利用磁场对所述第一锂电池组合中的至少两所述锂电池进行分拣,并输出第二锂电池组合,其中,所述第二锂电池组合包括至少两经过分拣的锂电池,至少两所述经过分拣的锂电池以阵列的形式排列。本发明能实现锂电池的自动化分拣。

标签:
加工技术
广东 - 深圳 来源:中冶有色网 2023-03-18
极片预锂化系统
极片预锂化系统 1005     
 0

为克服现有预锂化装置存在无法检测极片锂嵌入均匀性的问题,本实用新型提供了一种极片预锂化系统,包括电化学预锂模块和取样测试模块,所述电化学预锂模块和所述取样测试模块沿预设输送方向依次设置;所述电化学预锂模块用于对极片进行预锂化操作;所述取样测试模块包括取样装置和称重装置,所述取样装置用于对预锂化后的极片进行取样;所述称重装置用于对取样的样本进行称重。本实用新型提供的极片预锂化系统能够有效实现极片上不同位置锂嵌入量的均匀性调控,提高极片预锂化质量,进而提升组装的电池的循环性能和安全性能。

标签:
加工技术
广东 - 深圳 来源:中冶有色网 2023-03-18
用于锂电池盖组的封装装置

本实用新型涉及锂电池技术领域,具体为一种用于锂电池盖组的封装装置,所述操作台的上侧后端设置有推杆固定架,所述推杆固定架的上侧安装有封装推杆,所述推杆固定架的内侧下端位置处设置有锂电池盖固定架,所述锂电池盖固定架的下侧设置有锂电池盖,所述操作台的上侧一端设置有侧支撑板,所述侧支撑板的内侧设置有清洁条,所述锂电池箱固定架的上侧左右端位置处均设置有弹性夹板,所述弹性夹板的外侧设置有弹簧。本实用新型通过锂电池箱固定架与锂电池盖固定架对锂电池盖组进行自动封装,提高工作效率,降低人工封装的风险,锂电池盖组安装后通过清洁条对其接缝处进行清洁,有利于锂电池工作的安全性。

标签:
加工技术
广东 - 深圳 来源:中冶有色网 2023-03-18
耐振动和冲击的锂电池
耐振动和冲击的锂电池 1082     
 0

本实用新型公开了一种耐振动和冲击的锂电池,涉及锂电池技术领域,包括锂电池本体,所述锂电池本体的两侧设置有减震机构,所述锂电池本体的外壁设置有抗冲击机构,所述抗冲击机构包括有减震箱。本实用新型通过采用抗冲击板、活动杆、保护箱、缓冲软球、乳胶凸块、弹性缓冲片和活动板的配合,当锂电池的外壁受到冲击时,带动抗冲击板和活动杆向保护箱的内腔挤压缓冲软球和弹性缓冲片,使得缓冲软球和弹性缓冲片产生形变,吸收并减缓冲击力,避免了现有锂电池的外壁保护措施,一旦与外界的物品发生碰撞,极易损坏锂电池的外壁,导致锂电池的安全性较差,并增加使用成本的问题,使得提高锂电池抗冲击性,同时提高了锂电池抗冲击性。

标签:
加工技术
广东 - 深圳 来源:中冶有色网 2023-03-18
锂电池隔离膜背衬结构
锂电池隔离膜背衬结构 1028     
 0

本实用新型公开了一种锂电池隔离膜背衬结构,包括锂电池防暴铝包裹层,所述锂电池防暴铝包裹层的外侧包裹有锂电池外防爆膜,且锂电池防暴铝包裹层的内部嵌入有隔离膜正极背衬板,所述锂电池防暴铝包裹层与隔离膜正极背衬板对应的一侧嵌入有隔离膜负极背衬板,本实用新型的锂电池隔离膜通过隔离膜背衬板固定在锂电池的正负极之间,使锂电池隔离膜的固定更牢固,安装更快捷方便,且隔离膜的横向长度要大于锂电池正负电池板的长度,当隔离膜受热发生微小的变形时也不会导致正负电池板接触,同时隔离膜背衬板内部嵌入有防爆网,增加了锂电池的防爆强度,能够防止电池意外爆炸时对人员造成伤害,提高了安全性。

标签:
加工技术
广东 - 深圳 来源:中冶有色网 2023-03-18
估算锂离子电池内温的方法和装置、介质、设备

本公开涉及一种估算锂离子电池内温的方法和装置、介质、设备。所述方法包括:分别在锂离子电池的多个荷电状态下,获取与锂离子电池的多个内温一一对应的多个CPE数值;根据多个荷电状态下的多个内温和多个CPE数值,拟合得到当锂离子电池内温小于零摄氏度时的第一对应关系,第一对应关系为锂离子电池的内温和锂离子电池的CPE数值这二者之间的线性关系;确定所述锂离子电池的当前CPE数值;在第一对应关系中查找出与所述当前CPE数值对应的内温;若所查找的内温小于零摄氏度,则将所查找的内温确定为所述锂离子电池当前的内温。本方案能够在小于零摄氏度时,较准确地确定出锂离子电池的内温,并且方案简单、数据处理速度快。

标签:
加工技术
广东 - 深圳 来源:中冶有色网 2023-03-18
硅氧复合负极材料及其制备方法和锂离子电池

本发明提供了硅氧复合负极材料及其制备方法和锂离子电池。所述硅氧复合负极材料包括纳米硅、硅氧化物和硅酸锂,所述硅酸锂中含有掺杂元素。所述方法包括:将SiOy与掺杂元素源混合,得到掺杂硅源;及将所述掺杂硅源与锂源进行复合和焙烧,得到所述硅氧复合负极材料。本发明提供的硅氧复合负极材料通过均匀分布在硅酸锂中的掺杂元素,可以提升硅酸锂的电子导电性能,减少材料中原位生成的硅酸锂因导电性差而导致内部硅失活带来的容量损失;通过控制掺杂元素的含量,既可以提升硅酸锂的导电性,使表面包裹有硅酸锂的硅被激活从而发挥容量,又可以避免因为引入掺杂元素过多而带来的容量降低。

标签:
加工技术
广东 - 深圳 来源:中冶有色网 2023-03-18
磷酸镍铁锂正极材料及其合成方法

一种磷酸镍铁锂正极材料及其合成方法,该磷酸镍铁锂正极材料的通式为:LiAy(NixFe1‑x)PO4/Cz,其中0.2≤x≤0.8,A为掺杂元素,与主体材料的质量百分比为小于3%,C为碳源,与主体材料的质量百分比小于5%。所述磷酸镍铁锂正极材料是由锂源、镍源、铁源、磷源以及掺杂元素和碳源通过混料、捏合、造粒、预烧、粉碎、高温合成,使用该方法制得的磷酸镍铁锂正极材料制造的锂离子电池比磷酸铁锂电池放电电压高、能量密度大,比磷酸镍锂电池导电性强、寿命长,材料无毒无害,对环境友好等,是一种优良的锂离子电池正极材料。

标签:
加工技术
广东 - 深圳 来源:中冶有色网 2023-03-18
用于软包锂电池高温化成工艺的温度测控系统

本发明公开了一种用于软包锂电池高温化成工艺的温度测控系统,涉及温度测控技术领域,解决了现有技术中软包锂电池在进行高温化成工艺前无法进行准确分容的技术问题,根据分析将软包锂电池进行等级分化,分析实时软包锂电池的性能,能够提高温度测控的准确性,防止出现温度控制不当,导致软包锂电池的使用寿命受到影响,大大降低了温度测控的工作效率;将分容后的软包锂电池进行静置分析,防止出现软包锂电池性能参数改变,导致分容出现误差,造成软包锂电池的化成工艺出现安全风险;对实时软包锂电池进行第一次小电流充电,充电的目的是为了使负极表面形成一层保护膜。

标签:
加工技术
广东 - 深圳 来源:中冶有色网 2023-03-18
具有减震隔热功能可防止鼓包的锂电池

本实用新型公开了一种具有减震隔热功能可防止鼓包的锂电池,包括锂电池本体以及设置在锂电池本体外侧的防护外壳,锂电池本体的一侧设置有连接端头,锂电池本体的四角均连接有缓冲板条,缓冲板条的一端与锂电池本体内侧的四角相连接,锂电池本体通过转动件与缓冲板条相连接,锂电池本体两端的四角均通过缓冲板条设于防护外壳的内部,且使锂电池本体与防护外壳之间存在空心腔,可防止户外的热量大量传递至防护外壳的内部,利用散热风扇对锂电池本体不断进行散热,利用透气槽以排出热量,且通过空心腔以扩大锂电池本体的散热空间,以便于加速锂电池本体的热量流动,以避免因温度过高造成电池鼓包变形的问题,进而延长锂电池本体的使用寿命。

标签:
加工技术
广东 - 深圳 来源:中冶有色网 2023-03-18
新型锂离子电池组
新型锂离子电池组 1150     
 0

本实用新型公开了一种新型锂离子电池组,包括模组盒体,盖合在模组盒体上的盒盖,若干个位于模组盒体内的锂离子电池,若干组连接在模组盒体内壁上且用于固定锂离子电池的夹板,相邻夹板间设有散热风扇;所述夹板包括若干个贴合锂离子电池侧面边缘的子夹板,所述子夹板夹持面设有若干个防滑锯齿,所述盒盖上设有若干个散热孔,所述散热孔位于散热风扇正上方。本实用新型提供的新型锂离子电池组,锂离子电池能够被夹板稳定地固定在模组盒体内,锂离子电池可通过导热硅胶以及风扇进行快速散热,且每个锂离子电池可同步散热,提高了散热效率,延长了锂离子电池组的使用寿命。

标签:
加工技术
广东 - 深圳 来源:中冶有色网 2023-03-18
上一页 485 486 487 488 489 ... 500 ... 771 下一页
共771页    到第

中冶有色为您提供最新的广东深圳有色金属材料制备及加工技术理论与应用信息,涵盖发明专利、权利要求、说明书、技术领域、背景技术、实用新型内容及具体实施方式等有色技术内容。打造最具专业性的有色金属技术理论与应用平台!

全国热门有色金属设备推荐
展开更多 +
全国热门有色金属技术推荐
展开更多 +

 

江西省隆恩特环保设备有限公司
宣传

报名参会
更多+

报告下载

有色专家
更多+

江西铜业集团有限公司
党委书记、董事长
赣州江钨钨合金有限公司
工程师
赣州有色冶金研究所有限公司
副主任/高级工程师
有研资源环境技术研究院(北京)有限公司
副总经理/教授级高工
中国有色金属工业协会
副会长兼秘书长
赤泥综合利用研究报告2025
推广

热门技术
更多+

推荐企业
更多+

福建省金龙稀土股份有限公司
宣传

发布

在线客服

公众号

电话

顶部
咨询电话:
010-88793500-807