青岛垚鑫智能科技有限公司
宣传

位置:北方有色 >

有色技术频道 >

> 固/危废处置技术

分类:
全部
矿山技术
冶金技术
材料制备及加工技术
环境保护技术
分析检测技术
 
全部
废水处理技术
大气治理技术
固/危废处置技术
土壤修复技术
地区:
全部
北京
天津
上海
重庆
河北
山西
辽宁
吉林
黑龙江
江苏
浙江
安徽
福建
江西
山东
河南
湖北
湖南
广东
海南
四川
贵州
云南
陕西
甘肃
青海
内蒙
广西
西藏
宁夏
新疆
其他
其他
展开
 
全部
广州
韶关
深圳
珠海
汕头
佛山
江门
湛江
茂名
肇庆
惠州
梅州
汕尾
河源
阳江
清远
东莞
中山
潮州
揭阳
云浮

广东深圳有色金属固/危废处置技术理论与应用

免费发布技术信息>>
废弃物处理装置
废弃物处理装置 1073     
 0

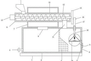
本实用新型公开了一种废弃物处理装置,由以下多个结构组成:支撑架、收集箱、过滤结构、干燥结构和搅拌处理结构,本申请通过将收集箱采用带有微孔的挡板划分为两个区域,从而实现了一次简单的过滤,实现固液分离;固体废弃物进行收集后进行其他形式的无害化处理,而液体废弃物进行装置中进行后续的处理,液体废弃物在搅拌处理结构中通过与添加的成分进行反应,从而进行无害化处理,在处理的过程中,可能会后固体析出,然后通过吸附泵将其吸入至过滤结构中进行过滤,实现固液的分离,然后将分离后的固体进行烘干处理,最终得到实现废弃物的无害化处理。

标签:
固废
广东 - 深圳 来源:北方有色网 2023-03-19
针对高盐难降解废水的高效异相类芬顿反应器与应用

本发明涉及一种针对高盐难降解废水的高效异相类芬顿反应器及其高盐难降解废水处理方法。所述反应器包括:滤床,进水系统,氧化剂投加系统,曝气系统,非均相芬顿固体催化剂颗粒填料,温控系统。本发明对难降解废水的深度处理有着显著优势,尤其是对于高氯条件下难降解废水的处理,废水在非均相固体催化剂颗粒表面以及溶液中发生芬顿及类芬顿反应,高效持续产生羟基自由基从而对废水中难降解有机物进行去除。本滤床反应器及处理方法具有处理效果好,减少药剂投加,运行成本低,氯离子影响小,管理方便等优势,应用前景广泛。

标签:
固废
广东 - 深圳 来源:北方有色网 2023-03-19
冲版机显影液废液零排放处理设备

本实用新型公开了一种冲版机显影液废液零排放处理设备,包括调节匹配式密封盖,所述调节匹配式密封盖包括密封主体、支撑体、第一调节杆、皮带、第二调节杆、第一加固体和第二加固体,所述密封主体设在调节匹配式密封盖的内部,所述支撑体均匀固定安装在密封主体的下端四角,所述第一调节杆和第二调节杆对称转动安装在支撑体的内侧端,所述皮带的内侧端活动支撑在第一调节杆和第二调节杆的前部外侧端,所述第一加固体和第二加固体对称螺纹安装在第一调节杆和第二调节杆的后部外侧端。本实用新型能够将废弃影液回收至任意空瓶内部,方便了废弃影液后续化学萃取利用,更好的满足使用需要。

标签:
固废
广东 - 深圳 来源:北方有色网 2023-03-19
化工废水资源化回收高价值物料的方法

本发明属于环保废水治理技术领域,尤其涉及一种化工废水资源化回收高价值物料的方法,至少包括以下步骤:对原废水进行pH调节,对经pH调节后的废水进行一级膜分离处理,滤液去二级膜分离处理,二级膜浓液与一级膜浓液合并经预沉淀后去污泥脱水,二级膜滤液去三级膜分离处理,三级膜浓液去蒸发提浓,经蒸发提浓后的浓液去烘干处理,得到有机相产品。三级膜滤液去树脂吸附工艺进行吸附,经吸附后的滤液去四级膜工艺进行浓缩,滤液经四级膜浓缩后去蒸发结晶,得到半固体的浓盐水,浓盐水去离心分离,得到固体盐。本工艺可确保废水100%达标排放,可回收废水中95%以上的有价值物料,且回收的物料纯度可达到90%以上,回收的无机盐为固体氯化钠。

标签:
固废
广东 - 深圳 来源:北方有色网 2023-03-19
餐饮包装废弃物处置方法

本发明公开了一种餐饮包装废弃物处置方法,包括:收集餐饮包装废弃物;将所述餐饮包装废弃物进行粗破碎,破碎后产生废弃碎料和一次废弃液;将所述废弃碎料进行翻滚清洗,使用温水冲洗,产生清洗后的废弃料和二次废弃液;将所述清洗后的废弃料进行干燥,得到干燥后的废弃料;将所述干燥后的废弃料进行分选,得到非食物废料及残留固体食物;将所述残留固体食物收集至餐饮垃圾收集桶的步骤。本发明的餐饮包装废弃物处置方法,可以以商业区、大学、园区为单位进行集中收集处置,极大的降低垃圾的混合率,提高分类效率和资源利用率。

标签:
固废
广东 - 深圳 来源:北方有色网 2023-03-19
餐厨废弃油脂收集装置以及收集车

本发明涉及餐厨废弃油脂处理技术领域。所提供的餐厨废弃油脂收集装置,包括底板、收集箱、水平调节机构、竖直调节机构、固体输送机构以及液体输送机构;所述收集箱固定安装于所述底板上;所述水平调节机构的第一端固定安装于所述底板上;所述竖直调节机构的顶端固定安装于所述水平调节机构的第二端;所述固体输送机构的顶端固定安装于所述竖直调节机构的底端;所述固体输送机构与所述液体输送机构固定连接;所述固体输送机构与所述液体输送机构的收集端均朝下;所述固体输送机构的出料口以及所述液体输送机构的出料口均与所述收集箱的进料口连接。本发明提供的餐厨废弃油脂收集装置可同时收集液态和固态两种形态的餐厨废弃油脂。

标签:
固废
广东 - 深圳 来源:北方有色网 2023-03-19
废旧锂离子电池的回收方法及其装置

本发明公开一种废旧锂离子电池的回收方法及其装置,本发明通过将废旧锂离子电池放电处理后,拆解成单体电芯,通过洗涤干燥单体电芯后转移至手套箱式回收釜,进一步拆解电芯包装材料,将暴露出内部结构的电芯置于回收釜内的箱体中,然后打开回收釜上方的溶剂喷洒口,喷淋、浸泡3?4次,回收废旧锂离子电池电解液,并同时将电芯固体废料分类回收。本发明采用溶剂浸提法回收废旧锂离子电池电解液,不仅实现分类回收,提高物料回收率,而且实现了废旧锂离子电池电解液的回收再利用。通过本发明上述方法有效解决了废旧电池回收带来的电解液环境污染问题,将回收的电解液经过处理后再次用于电池生产,降低电池生产成本。

标签:
固废
广东 - 深圳 来源:北方有色网 2023-03-19
术后护理用废物处理装置

本实用新型公开一种术后护理用废物处理装置,包括机体,所述机体的内部设置有固体回收箱和液体回收箱,所述固体回收箱的中部设置有横梁,所述横梁上固定安装有粉碎装置,所述液体回收箱的顶部固定安装有喷淋管,所述固体回收箱和液体回收箱之间焊接有连接板,所述连接板的顶部固定安装有消毒箱。该术后护理用废物处理装置,通过固体回收箱将收集的固体医疗废品进行粉碎,高压喷头喷洒消毒液进行消毒,粉碎的废物通过电动伸缩杆带动挤压板从出料口排出,将收集的液体医疗废品倒入液体回收箱,雾化喷头喷洒消毒液进行消毒处理,同时紫外线消毒灯进行双重消毒,除去医疗废品中的病菌、病毒,缩小空间占用,减少对环境的污染。

标签:
固废
广东 - 深圳 来源:北方有色网 2023-03-19
基于净化生活废水用污水处理设备

本发明提供一种基于净化生活废水用污水处理设备,涉及污水处理领域。该基于净化生活废水用污水处理设备,包括箱体,所述箱体的底部固定连接有底座,所述箱体的左侧安装有除固箱,所述除固箱的背面开设有注水孔。该基于净化生活废水用污水处理设备,通过除固箱、挤压板、通孔、滑块、电机、连接块、滑槽、螺栓、竖杆、连接杆、升降杆、活动孔、连接件、活动块、空腔、转动孔、固定板和螺纹孔之间的相互配合,达到可以进行生活废水中的固体垃圾预先处理,有效避免固体垃圾随着废水进入污水处理设备内部,解决了由于生活废水中经常含有固体垃圾,如果不进行预先清理,容易导致污水处理设备内部堵塞和损坏的问题。

标签:
固废
广东 - 深圳 来源:北方有色网 2023-03-19
带防堵塞功能的废水处理装置

本实用新型涉及一种带防堵塞功能的废水处理装置,包括:废水箱、位于该废水箱内的过滤网以及位于该废水箱内的清理装置;其中所述废水箱设有进水口和出水口,废水经所述进水口流入废水箱内;所述过滤网位于进水口和出水口之间,以初步过滤废水中的固体颗粒;以及所述清理装置适于清理附着在过滤网上的固体颗粒;本实用新型的带防堵塞功能的废水处理装置在废水箱内设有用于清理附着在过滤网上的固体颗粒的清理装置,通过所述清理装置,能够有效解决过滤网因长时间使用而发生堵塞的问题,确保过滤网保持畅通,提高过滤效率。

标签:
固废
广东 - 深圳 来源:北方有色网 2023-03-19
造纸废水初步处理设备
造纸废水初步处理设备 1075     
 0

本发明涉及一种废水初步处理设备,尤其涉及一种造纸废水初步处理设备。要解决的技术问题是:提供一种可以将木渣和固体颗粒于废水隔离、处理全面的造纸废水初步处理设备。技术方案为:一种造纸废水初步处理设备,包括有底座、支杆、框体、第一挡板、空心螺栓、第二挡板、收集箱、出水管、阀门、缸体、进水管、活塞板、第一弹簧等;底座顶部左侧和右侧均设有支杆,支杆顶端连接有框体,框体底部开有出水孔,出水孔内右侧上部设有第一挡板,出水孔内通过螺纹连接有空心螺栓。本发明通过第二挡板与第一挡板配合将出水孔堵住,使得沉淀后的木渣和固体颗粒与废水进行分离,如此在将废水放出时,就不会影响到沉淀完毕的废水,使得废水的处理更加方便。

标签:
固废
广东 - 深圳 来源:北方有色网 2023-03-19
一体化医疗废水处理设备

本实用新型公开了一种一体化医疗废水处理设备,包括废水池、废水处理箱和位于废水处理箱内部且分别与废水处理箱固定连接的固体处理池、氧化池、消毒池、过滤池,通过所述压力传感器和所述电磁阀门的相互配合,让滞留在所述过滤片上的固态颗粒流入所述固体处理池中,将医疗废水中的固体颗粒分离出来单独进行处理,以防止固体颗粒对所述废水处理箱中的管道造成堵塞;同时所述废水处理箱中依次设置有氧化池、消毒池和过滤池,多次对医疗废水进行净化处理,使医疗废水中的有害物质得到了消除,从而使医疗废水达到排放的标准。

标签:
固废
广东 - 深圳 来源:北方有色网 2023-03-19
生活或医疗废弃物的处理系统

本实用新型提供了一种生活或医疗废弃物的处理系统,其包括中央控制子系统、次氯酸消毒水子系统、废弃物搅碎消毒子系统、气体处理子系统和固体处理子系统,所述废弃物搅碎消毒子系统、气体处理子系统分别与中央控制子系统连接,所述次氯酸消毒水子系统分别与废弃物搅碎消毒子系统、气体处理子系统和固体处理子系统连接,所述废弃物搅碎消毒子系统与气体处理子系统、固体处理子系统连接。采用本实用新型的技术方案,结构简单,消毒效果好,处理效率高,消除生活或医疗废弃物的危害,并达到环保、高效的目的。

标签:
固废
广东 - 深圳 来源:北方有色网 2023-03-19
高浓度赖氨酸发酵废液制备有机碳肥的方法

本发明提供了一种高浓度赖氨酸发酵废液制备有机碳肥的方法,具体方法为:将赖氨酸废水用酸碱调节剂调节pH值为6.0~7.0;加热至40?60℃,加入的金属硫酸二价盐,搅拌反应20?60分钟;再加入絮凝剂,反应40?60分钟;反应液产生沉淀,静置30?60分钟,进行离心处理,离心转数为500~2000转/分,离心后的上层液体为有机碳液体肥,下层沉降固体为有机碳固体肥;所述金属硫酸二价盐的用量占赖氨酸废水质量的1%?5%,所述絮凝剂与金属硫酸二价盐的质量比为2~5:1~5。处理后的废液和沉淀均可用于肥料生产,且废液中水不溶物减少,可直接可应用于滴灌、喷灌等设施施肥,降低能耗和生产成本,提高资源利用率,缩短生产周期,制备的有机碳肥肥效优良。

标签:
固废
广东 - 深圳 来源:北方有色网 2023-03-19
锂离子电池废料的钴金属回收方法及其设备

本发明公开了一种锂离子电池废料的钴金属回收方法及其设备;回收方法包括以下:步骤一、固体废料与碱金属溶液混合,充分反应,螯合形成钴‑有机物中间体;步骤二,对含有钴‑有机物中间体的溶液与固体的混合物进行固液分离;步骤三,对含有钴‑有机物中间体的溶液进行水热反应,结晶出氢氧化钴粉末;其中,步骤一中所述的固体废料为锂离电池中含有钴元素的废料,在与碱金属溶液混合时,进行粉碎和干燥的预处理;在步骤二的固液分离时,对固体物表面进行水洗和/或醇洗。本发明在密闭系统中,利用碱金属溶液与固体混合物反应,将钴元素提取出来,反应条件温和且不向外界环境排放废弃,其中的溶剂还可回收再利用,反应快,成本低,是有效回收锂电池中钴元素的简便节能的方法。

标签:
固废
广东 - 深圳 来源:北方有色网 2023-03-19
可再生混凝土废水处理装置

本申请涉及混凝土废水处理的技术领域,尤其是涉及一种可再生混凝土废水处理装置,包括减速池、设置在减速池一侧的沉降池以及设置在沉降池一侧的过滤池;沉降池设置在减速池与过滤池的中间,减速池的一侧顶部固定连接有进水管,过滤池的一侧底部固定连接有出水管,沉降池与减速池通过第一连接管连接,过滤池与沉降池通过第二连接管连接,过滤池的内壁上可拆卸连接有多层过滤板。沉降池内部的废水以溢出的方式流到过滤池的内部进行过滤,使流进过滤池内部的废水中体积和重量较大的固体颗粒沉降在沉降池内部,降低废水中的固体颗粒的速度。过滤组件本申请具有降低固体颗粒对过滤板的冲击,从而保护过滤池中的效果。

标签:
固废
广东 - 深圳 来源:北方有色网 2023-03-19
可持续工作的废水处理装置

本实用新型涉及一种可持续工作的废水处理装置,包括:废水箱和过滤装置;其中所述废水箱设有进水口和出水口,废水经所述进水口流入废水箱内,再从所述出水口流入过滤装置进行过滤;位于进水口和出水口之间设有过滤网,以初步过滤废水中的固体颗粒;以及所述废水箱内还设有适于清理附着在过滤网上的固体颗粒的清理装置;本实用新型的可持续工作的废水处理装置在废水箱内设有用于清理附着在过滤网上的固体颗粒的清理装置,通过所述清理装置,能够有效解决过滤网因长时间使用而发生堵塞的问题,确保过滤作业持续进行,从而提高过滤效率。

标签:
固废
广东 - 深圳 来源:北方有色网 2023-03-19
多级废水处理系统
多级废水处理系统 984     
 0

本实用新型属于水处理技术领域,具体涉及一种多级废水处理系统,包括:适于废水中的金属固体形成金属阳离子的溶解水箱;用于存储药剂的药剂罐;以及分别与溶解水箱、药剂罐连通的压滤机构;其中所述压滤机构适于在伸展时分别吸入药剂和废水,以使药剂将废水中的金属阳离子析出;所述压滤机构适于在压缩时过滤废水,以使金属阳离子的析出物与废水分离。本实用新型的多级废水处理系统通过溶解水箱将废水中的金属固体形成金属阳离子,再通过压滤机构将废水中金属阳离子的析出物与废水分离,降低了废水中固体杂质的数量,将固体杂质与金属固体分开处理,提高了金属析出物的纯度,提高了废水的过滤效果。

标签:
固废
广东 - 深圳 来源:北方有色网 2023-03-19
生物实验用废液缸
生物实验用废液缸 1142     
 0

本实用新型公开了一种生物实验用废液缸,属于生物实验室辅助装置技术领域,解决了在生物实验操作中,操作平台并无利器垃圾桶,给实验人员造成垃圾处理的困扰和负担的问题;其技术特征是:包括液体废液格、普通固体废弃格和利器废弃格,普通固体废弃格设置在液体废液格左侧,利器废弃格设置在普通固体废弃格的左侧,所述普通固体废弃格与液体废液格固定连接,利器废弃格与普通固体废弃格固定连接,液体废液格、普通固体废弃格和利器废弃格的高度相同;本实用新型既能做到固体和液体废弃物分离,又能同时分类存放利器和普通类生物实验废弃物,为实验操作人员提供废弃物处理的便利。

标签:
固废
广东 - 深圳 来源:北方有色网 2023-03-19
镍钴锰酸锂生产废水的处理方法

本发明涉及一种镍钴锰酸锂生产废水的处理方法,包括下述步骤:将含有镍、钴、锰金属离子、氨离子和固体颗粒的废水搅拌加入碱性溶液升至PH值>12.5,使废水中的镍、钴、锰金属离子沉淀完全;将废水通过沉降池,使废水中的固体颗粒沉降;将废水通过氨蒸发器,除去废水中的氨根离子;将废水通过砂床,过滤掉少量沉淀物;将废水通过PH值调节池,向池中注入酸性溶液,使PH值降至6~9之间;将废水通过三级RO膜,经三级RO膜过滤后的纯水回至生产循环使用。本发明镍钴锰酸锂生产废水的处理方法用于回收废水不引入新杂质,回用率高,实现零排放,且副产品能有较高的经济价值。

标签:
固废
广东 - 深圳 来源:北方有色网 2023-03-19
高掺量钢渣废料的轻质硅晶石墙板及制备方法

本发明涉及绿色建筑材料技术领域,具体涉及一种高掺量钢渣废料的轻质硅晶石墙板及制备方法,墙板由固体物料与水按照1:0.15~0.2的重量比例混合烧制而成;按重量百分含量计,固体物料由60%~80%钢渣、15%~40%矿物、1%~5%助熔剂组成。与现有技术相比,本发明以不同颗粒级配钢渣为主要原料,掺加一定质量的矿物原料和化工原料,经混料、成型、干燥、1000~1200℃高温烧结后制得轻质硅晶石墙板,解决钢渣在应用时的安定性问题,避免墙板在干燥和烧成过程中的收缩和开裂,提高了大宗固废的资源化利用效率,制得的产品满足新型装配式墙体材料的要求,且成品率高达98%以上,具有极高的经济价值和环保价值。

标签:
固废
广东 - 深圳 来源:北方有色网 2023-03-19
多工艺协同等离子体危废处置装置

本发明涉及一种多工艺协同等离子体危废处置装置,包括废固废气废液焚烧系统、等离子气化系统、烟气热量回收系统、烟气急冷降温系统和烟气净化系统,利用回转式焚烧炉将对应的固体和液体进行气化处理;利用等离子气化系统将医疗垃圾以及污泥进行处理,然后将气体导入回转式焚烧炉进行二次净化操作;回转式焚烧炉焚烧所产生的烟气依次通过烟气热量回收系统、烟气急冷降温系统以及烟气净化系统,以将烟气中的有害物质进行净化处理。本发明利用多工艺的协同作用,危废仍由常规焚烧设施处置,等离子体处置量显著降低,并结合等离子体进行处置,因此保证危废处理效果的同时,降低了成本。

标签:
固废
广东 - 深圳 来源:北方有色网 2023-03-19
医疗废弃物的综合性无害化零排放处理系统

本发明公开了一种医疗废弃物的综合性无害化零排放处理系统,包括收集单元、存储单元、破碎单元、消毒单元、高温湿式处理单元、催化氧化单元、生化单元及蒸发单元,所述收集单元、存储单元、破碎单元及高温湿式处理单元依次连接,所述高温湿式处理单元后端连接催化氧化单元、生化单元、膜处理单元及蒸发单元,所述收集单元、破碎单元、存储单元及高温湿式处理单元均与消毒单元相连接。通过180~280℃的高温彻底杀灭病原体,自动化程度高,处理过程中无人体直接接触,无潜在公共卫生风险。废水经处理后可回用,固体产品可用作燃料;无固废或危废产生,故无需焚烧或填埋;不燃烧,故无PM2.5释放,不产生二噁英。

标签:
固废
广东 - 深圳 来源:北方有色网 2023-03-19
碱性废水的资源化处理系统

本实用新型公开了一种碱性废水的资源化处理系统,包括碱性废水收集池,碱性废水收集池用以收集碱性废水;加药装置,加药装置用以投放絮凝剂,絮凝剂用以与碱性废水形成絮体;与碱性废水收集池连接的第一固液分离系统,第一固液分离系统用以对絮体进行固液分离;与第一固体分离系统连接的固体酸化系统,第一固液分离系统进行固液分离形成的固体进入固体酸化系统,固体酸化系统具有加酸装置,加酸装置用以投入酸使固体部分溶解;与固体酸化系统连接的第二固液分离系统。利用本实用新型碱性废水的资源化处理系统,能够大幅提高回收TA质量的同时,减少絮凝剂等的药剂用量,减少固废污泥的产生。

标签:
固废
广东 - 深圳 来源:北方有色网 2023-03-19
养猪用废弃物回收装置
养猪用废弃物回收装置 1046     
 0

本实用新型公开了牲畜养殖废弃物回收技术领域的一种养猪用废弃物回收装置,包括有底板,所述底板的顶端设置有回收箱,所述回收箱内腔右侧设有隔板,所述隔板左侧为液体腔,所述隔板右侧为固体腔,所述液体腔的左壁下部设有排液管,所述排液管上设有阀门,所述固体腔的右壁下部设有出料口,所述出料口上设有密封门,本实用新型通过设置的螺旋压榨机,可以实现对生猪养殖废弃物的固液分离,分离速度快且可以持续作业,本方案通过设置的圆盘、推杆、连杆、压板等结构,可以实现对固废的间隙性挤压,使得固废被压实,以增加装置的储藏能力。

标签:
固废
广东 - 深圳 来源:北方有色网 2023-03-19
城市静脉产业园废弃物强耦合协同处理方法

为了克服现有技术问题,基于生态工业园和循环经济理念,本发明提出一种城市静脉产业园废弃物强耦合协同处理方法,将城市固体废物处理系统作为一个有机整体,根据生活垃圾、餐厨垃圾、市政污泥和废旧轮胎等不同固废的物理化学特性,以及燃烧、厌氧发酵和热解等工艺特点,建立起能量、中间产物、再生水高效流转和梯级利用的协同耦合方法,实现能量和物质的循环利用,提高能源效率,减少化学药剂消耗,降低污染排放;通过共用部分处置设施,节约土地资源,减少投资成本;同时将沼气/可燃气进行重整制氢,供应氢能垃圾运输车使用,成功打造成固废绿色低碳闭环治理的模式,充分体现出碳中和固废能源站的理念。

标签:
固废
广东 - 深圳 来源:北方有色网 2023-03-19
医疗危废焚烧废气处理装置

本发明涉及废气处理技术领域,更具体地说,是一种医疗危废焚烧废气处理装置,包括处理箱、进气管以及排气管,所述进气管和排气管均与所述处理箱连通,所述进气管上设有若干个气孔,还包括:监测元件,设置在所述处理箱内,用于监测所述处理箱内的处理液的液面高度;排杂机构,活动设置在所述气孔的一侧,用于清除所述处理液内的杂质;动力输出系统,与所述排杂机构连接;以及辅助机构,设置在所述处理箱内,所述辅助机构至少包括供所述排杂机构将杂质排出的排料口;实现了自动控制处理液内的固体杂质的排出,相对于传统人工定期检查杂质体积以及停机处理杂质的方式,提高了对医疗危废焚烧过程中产生的尾气的处理效率。

标签:
固废
广东 - 深圳 来源:北方有色网 2023-03-19
废气及废水协同处理设备

本实用新型涉及废气废水处理技术领域,具体的说是一种废气及废水协同处理设备,包括底座,所述底座上表面固定安装有连接座,所述连接座上表面固定安装有第一连接筒,所述第一连接筒上表面固定安装有第二连接筒,所述第二连接筒上表面分别安装有进水管、进气管,所述进水管、进气管与第二连接筒内部相通,所述第二连接筒内部滑动配合安装有过滤板组件,所述第一连接筒内部还固定安装有活性炭箱,所述第一连接筒通过活性炭箱分为两层。本实用新型滑条会往返推动拉动第二弹簧,使过滤板稳定的震动;此时过滤板会把落入在过滤板表面的废水震动,对废水内的污垢、固体残留物等一起震动,减少过滤板出现堵塞的情况。

标签:
固废
广东 - 深圳 来源:北方有色网 2023-03-19
钛白废酸和酸性废水综合利用制备建筑石膏工艺

本申请公开了一种钛白废酸和酸性废水综合利用制备建筑石膏工艺,通过利用硫酸法生产钛白粉所产生的废物作为主要原材料,从而生产得到建材石膏,实现了废物的资源化利用,同时减少了废酸、废水中和处理需要的石灰、电石渣、石粉,降低了处理处置成本;也消除了中和处理产生的钛石膏带来的固体废弃物的二次污染。无论是经济效益还是环境效益,都得到显著的改善和提高,本发明提供一种钛白废酸和酸性废水综合利用回收建筑石膏工艺,能够将钛石膏变成建筑用的建筑石膏,对石膏的品质明显予以改善,从而使得石膏能被回收利用,产生经济效益和环境效益。

标签:
固废
广东 - 深圳 来源:北方有色网 2023-03-19
带废水废气处理的商用厨房垃圾处理系统

一种带废水废气处理的商用厨房垃圾处理系统,其粉碎机的出料口连接螺杆搅拌器;螺杆搅拌器的出口有两个,分别为出料口和出气口。出料口连接到压榨螺杆,压榨螺杆与压缩桶连接;出气口通过管线连接到真空文氏抽气管。真空文氏抽气管底部的出口与净水箱的入口连接,净水箱的底部的出水口通过水泵又返回到真空文氏抽气管的入水口,形成水循环。净水箱集气罩的出气口通过管路依次与风机、冷凝器、UV光解净化器、静电除尘器连通。本系统在及时有效地处理固体废物的同时,能完全有效地处理废水、废气,系统安全可靠,处理工艺简单。污水经处理净化后,不会对环境造成污染,其排放完全达到国家的排放标准。本实用新型对保护环境具有十分重要的意义。

标签:
固废
广东 - 深圳 来源:北方有色网 2023-03-19
上一页 46 47 48 49 50 ... 59 下一页
共59页    到第

北方有色为您提供最新的广东深圳有色金属固/危废处置技术理论与应用信息,涵盖发明专利、权利要求、说明书、技术领域、背景技术、实用新型内容及具体实施方式等有色技术内容。打造最具专业性的有色金属技术理论与应用平台!

全国热门有色金属设备推荐
展开更多 +
全国热门有色金属技术推荐
展开更多 +

 

江西省隆恩特环保设备有限公司
宣传

报名参会
更多+

报告下载

有色专家
更多+

矿冶科技集团有限公司
中国工程院院士
昆明理工大学
教授
赣州江钨钨合金有限公司
副总经理
湖南科技大学
所长/教授
矿冶科技集团
中国工程院院士
赤泥综合利用研究报告2025
推广

热门技术
更多+

推荐企业
更多+

福建省金龙稀土股份有限公司
宣传

发布

在线客服

公众号

电话

顶部
咨询电话:
010-88793500-807