青岛垚鑫智能科技有限公司
宣传

位置:中冶有色 >

有色技术频道 >

分类:
全部
矿山技术
冶金技术
材料制备及加工技术
环境保护技术
分析检测技术
 
全部
功能材料技术
复合材料技术
新能源材料技术
合金材料技术
加工技术
地区:
全部
北京
天津
上海
重庆
河北
山西
辽宁
吉林
黑龙江
江苏
浙江
安徽
福建
江西
山东
河南
湖北
湖南
广东
海南
四川
贵州
云南
陕西
甘肃
青海
内蒙
广西
西藏
宁夏
新疆
其他
其他
展开
 
全部
郑州
开封
洛阳
平顶山
安阳
鹤壁
新乡
焦作
濮阳
许昌
漯河
三门峡
商丘
周口
驻马店
南阳
信阳
济源

河南洛阳有色金属材料制备及加工技术理论与应用

免费发布技术信息>>
透波复合材料加工用冷却固化装置

本实用新型公开了一种透波复合材料加工用冷却固化装置,包括设备底座、旋转盘和喷淋管道,所述设备底座的底部贯穿连接有驱动电机,且设备底座的正上方焊接固定有支撑力臂,所述支撑力臂的正上方焊接固定有注料箱体,且注料箱体的正下方连接有排料管道,所述旋转盘的正上方设置有限位底座,且限位底座的正上方连接有模具箱体,所述模具箱体的正上方贯穿连接有注液孔,所述旋转盘的正上方焊接固定有冷却风箱,且冷却风箱的内部设置有鼓风扇叶,所述喷淋管道贯穿连接有设备底座。该透波复合材料加工用冷却固化装置,采用限位底座与滚珠丝杠,通过等间距分布的限位底座对模具箱体进行垂直固定,方便快速将模具箱体内部热量疏散到空气内部。

标签:
复合材料
河南 - 洛阳 来源:中冶有色网 2023-03-18
复合材料铁路桥梁护木

本实用新型公开了一种复合材料铁路桥梁护木,所述的护木(4)包括第一基材(9)和第二基材(10),所述的第二基材(10)一侧与第一基材(9)固定连接,另一侧设有定位卡槽(7),第一基材(9)在护木(4)的一端向外凸出形成第一搭接部(6),第二基材(10)在护木(4)的另一端向外凸出形成第二搭接部(11);本实用新型具有力学强度高、耐腐蚀、耐疲劳、免维护,使用寿命长,结构强度高的特点;采用本实用新型平台的复合材料铁路桥梁护木可以避免树木的过度砍伐,具有明显的经济效益和环保效益。

标签:
复合材料
河南 - 洛阳 来源:中冶有色网 2023-03-18
吸波复合材料及其制备方法

本发明提供了一种吸波复合材料及其制备方法。该制备方法包括以下步骤:将二氧化硅包覆在磁性金属颗粒表面,得到改性磁性金属颗粒;采用包括硅烷偶联剂和乙醇的表面改性剂对玻璃纤维进行改性,得到改性玻璃纤维;将改性磁性金属颗粒、改性玻璃纤维和树脂母料混炼,得到吸波复合材料。通过对磁性金属颗粒的改性,使得二氧化硅包覆在磁性金属颗粒表面,降低了磁性金属颗粒表面的极性,使得其在尼龙中分散度得以提升,从而在改善吸波性能的同时提升了材料的抗冲击性能;并且,通过对玻璃纤维进行表面处理,再采用共混的方式使其分散于树脂中,使其与吸波剂起到协同增韧的作用,玻璃纤维的加入同时也提高了材料的抗拉伸强度。

标签:
复合材料
河南 - 洛阳 来源:中冶有色网 2023-03-18
制造玄武岩纤维增强复合材料的方法及在制造船体上的应用

本发明介绍了一种制造玄武岩纤维增强复合材料的方法,以及这种方法在制造船体上的应用。该方法配方包括乙烯基酯树脂或不饱和聚酯树脂、过氧化物引发剂、促进剂,经原料混合、树脂在真空辅助树脂传递模塑条件下注入、固化成型,特征是原料中含有30~70%质量玄武岩纤维作为增强材料。以该工艺制造军辅船和高速船船体,该船体除具有优异的力学性能、耐海洋环境性能和耐高温性能外,还具有突出的耐老化性能、蠕变性能以及抗爆炸冲击性能,同时还可以降低船体的建造成本,延长舰船的使用寿命。

标签:
复合材料
河南 - 洛阳 来源:中冶有色网 2023-03-18
电磁屏蔽复合材料
电磁屏蔽复合材料 804     
 0

本实用新型实施例公开了一种电磁屏蔽复合材料,包括依次层叠设置的高频反射层、低频吸收层和电磁波吸收层;以及电磁屏蔽层;其中,所述电磁屏蔽层设置在所述低频吸收层的侧壁。本实用新型的电磁屏蔽复合材料能够将低频电磁波限制在低频吸收贴片内部,然后利用低频吸收贴片将低频电磁波进一步耗散掉,提升对低频电磁波的屏蔽效果,电磁波吸收层所在侧朝向需求屏蔽的电子设备设置,吸收电子设备产生的辐射,减少了电磁波的二次干扰,且仅在低频吸收层侧壁设置电磁屏蔽层,在提升了屏蔽效果的同时降低了整体的重量增幅。

标签:
复合材料
河南 - 洛阳 来源:中冶有色网 2023-03-18
三维编织复合材料的编织工艺及所用编织机

一种三维编织复合材料的新型编织工艺及所用编织机,属于三维编织材料领域,是将纱锭以一定规律排布在矩阵轨道层和条形轨道层穿插形成的轨道面上,并沿矩阵轨道层和条形轨道层做逆时针循环运动进行编织得到的新型三维编织复合材料。本发明通过采用独特的矩阵轨道层和条形轨道层穿插形成轨道面,而后在轨道面上以一定的规律排布未挂纱纱锭和挂纱纱锭,并使其按照一定的方式运动进行编织,从而最终得到一种新结构的三维编织材料,其编织工艺和设备简单、便于实现,而且得到的新型三维编织材料几何结构更加稳固,力学性能更加优异。

标签:
复合材料
河南 - 洛阳 来源:中冶有色网 2023-03-18
碳纤维增强铝锂合金复合材料及其制备方法

本发明公开了一种碳纤维增强铝锂合金复合材料及其制备方法。该复合材料是由经过预先处理的碳纤维与铝锂合金粉末混合烧结而成,碳纤维体积分数含量1~10%。本发明的制备方法主要包括碳纤维的灼烧、粗化、中和处理、球磨混料以及真空热压烧结。通过调控碳纤维的体积分数,能降低铝锂合金的密度,提升铝锂合金的强度、韧性并改善其各向异性。本发明特别适用于要求材料具有轻质、较高强度综合性能良好的航空航天飞行器零部件。

标签:
复合材料
河南 - 洛阳 来源:中冶有色网 2023-03-18
复合材料及其制备方法和应用

本发明提供了一种复合材料及其制备方法和应用,该复合材料包括泡沫塑料;以及包含聚氨酯并且形成在泡沫塑料的表面上的缓冲材料。本发明通过将具有高吸能效果的缓冲材料和泡沫塑料进行复配,实现抗冲击性能优异的头盔缓冲材料的制备,同时对其整体重量影响不大,能够有效地降低骑行者在发生事故时头部受伤的几率,从而更好地保障骑乘者的生命安全。

标签:
复合材料
河南 - 洛阳 来源:中冶有色网 2023-03-18
碳纤维增强铝镁合金复合材料及其制备方法

本发明公开了一种碳纤维增强铝镁合金复合材料及其制备方法。该复合材料是由经过预先处理的碳纤维与铝镁合金粉末混合烧结而成,碳纤维体积分数含量1~10%。本发明的制备方法主要包括碳纤维的灼烧、粗化、中和处理、球磨混料以及真空热压烧结。通过调控碳纤维的体积分数,能降低铝镁合金的密度,提升铝镁合金的强度、韧性。本发明特别适用于要求材料具有轻质、较高强度综合性能良好的航空航天飞行器零部件。

标签:
复合材料
河南 - 洛阳 来源:中冶有色网 2023-03-18
纳米碳材料增强环氧树脂复合材料及其制备方法

本发明公开了一种纳米碳材料增强环氧树脂复合材料的制备方法,将氮氧自由基与三价铁盐反应,再与聚酯型二醇反应形成齐聚物,然后与二异氰酸酯反应形成异氰酸酯基端封的齐聚物,采用该齐聚物对纳米碳粒子进行表面改性,然后与环氧树脂共混在磁场作用下固化而成。本发明的环氧树脂复合材料,在纳米碳材料的表面引入具有可反应官能团,在环氧树脂集体中具有良好的分散性,大大改善了纳米碳材料的可加工性,同时通过铁离子连接有氮氧自由基,是纳米碳粒子具有一定的顺磁性,可以在较低的外加磁场下实现在环氧树脂中的定向排列,从而能够充分的发挥纳米碳材料的增强特性。

标签:
复合材料
河南 - 洛阳 来源:中冶有色网 2023-03-18
耐高温聚酰亚胺复合材料保持架的加工方法

一种耐高温聚酰亚胺复合材料保持架的加工方法,本发明在加工毛坯料内外径时采用工装装夹工件,防止工件在装夹中变形,车削加工中统一定位基准,一次定位加工到尺寸要求后再拆卸工装,保证了保持架内外径同心度和圆度,同时对工件进行退火处理减小了聚酰亚胺复合材料成型过程中的热应力,材料的抗拉强度、宽温度范围内的尺寸稳定性以及加工性能得以进一步提升,进一步,本发明采用YT15、YG合金车削刀具以及YG合金钻头,通过合适的切削参数使得保持架无振纹和裂纹、光洁度高以及尺寸精度高,在钻削兜孔时采用数控兜孔钻床和工装,保证了保持架兜孔共面性、对称性以及分度均匀性,使加工的保持架具有高的尺寸精度和良好的形位公差。

标签:
复合材料
河南 - 洛阳 来源:中冶有色网 2023-03-18
类石墨氮化碳/二硫化钼纳米复合材料的合成方法

本发明涉及一种类石墨氮化碳/二硫化钼(g‑C3N4/MoS2)纳米复合材料的合成方法,包括如下步骤:1)称取一定量的尿素放入刚玉坩埚中;2)将盛有尿素的刚玉坩埚放入马弗炉中在一定温度下进行煅烧,获得g‑C3N4;3)称取一定量的钼酸铵((NH4)6Mo7O24·4H2O)和硫代乙酰铵(CH3CSNH2)分别溶于去离子水中,获得均匀的溶液;4)将钼酸铵溶液缓慢滴加至硫代乙酰铵溶液中;5)搅拌后移入反应釜中,在195℃水热条件下保温30h,获得MoS2纳米粉,进行分离、洗涤和干燥;6)取一定量的g‑C3N4和一定量的MoS2溶于无水乙醇中,恒温超声2h后在40℃的水浴锅中烘干后获得最终产物。本发明合成工艺简单,比表面积大(65~75m2/g),具有优异的可见光光催化性能。

标签:
复合材料
河南 - 洛阳 来源:中冶有色网 2023-03-18
基于格栅增强泡沫的夹层结构复合材料制备方法

本发明提供一种基于格栅增强泡沫的夹层结构复合材料制备方法,按照结构设计在模具上正向间隔铺放泡沫块,相邻泡沫块之间间距相同且相互平行;将裁剪好的第一干态纤维布平整铺敷于正向间隔铺放的整齐泡沫块之上;在第一干态纤维布上、相邻正向铺放泡沫块之间反向铺放泡沫块,并使之自上而下挤入正向铺放的相邻泡沫块间隙之中;采用LCM成型工艺制备单向格栅结构增强泡沫板;按照结构设计并垂直于格栅结构方向切割单向格栅结构增强泡沫板,得到条状单向格栅结构增强泡沫块;重复上述步骤制备双向格栅结构增强泡沫板;在单向格栅结构增强泡沫板或双向格栅结构增强泡沫板上下表面铺敷纤维布,采用LCM成型工艺制备基于格栅增强泡沫的夹层结构复合材料。

标签:
复合材料
河南 - 洛阳 来源:中冶有色网 2023-03-18
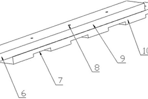
地铁隧道用复合材料疏散平台

本发明提供了一种地铁隧道用复合材料疏散平台,包括支撑架和平台板,所述支撑架固定在隧道壁上用于支撑平台板,所述平台板设置在支撑架的顶部,所述支撑架包括承载件、横梁和电缆支架,所述承载件固定在隧道壁上,在承载件内设置安装槽,所述电缆支架的一端安装在所述安装槽内。本发明所述的地铁隧道用复合材料疏散平台,将电缆支架和疏散平台的支撑架相结合,方便施工安装,适用范围广泛。第一支撑板和第二支撑板的设置,使得第一支撑板、第二支撑板、横梁分别与隧道壁形成稳定的三角形结构,且能够分担平台板的部分重力,减轻平台板对横梁的压力,提高疏散平台的整体稳定性。

标签:
复合材料
河南 - 洛阳 来源:中冶有色网 2023-03-18
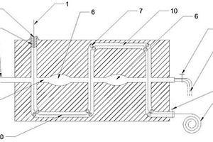
浸渍模具及连续纤维复合材料的生产装置、生产方法

本发明提供了一种浸渍模具及连续纤维复合材料的生产装置、生产方法,所述浸渍模具中设置相互连通的树脂熔体流道(5)、连续纤维铺设流道(10),其特征在于,所述浸渍模具上设有树脂出口管路(9),所述树脂出口管路(9)与树脂熔体流道(5)连通,用于对过量的树脂熔体进行回收;本发明实现了对纤维双面的熔融浸渍,提高热塑性树脂对连续纤维的表面浸渍程度;同时实现了连续纤维复合材料预浸带的生产过程和热塑性树脂的回收再利用过程的同步进行,解决了生产过程中过量的树脂熔体造成的模具漏料问题。

标签:
复合材料
河南 - 洛阳 来源:中冶有色网 2023-03-18
用于海水浸泡环境的水泥基复合材料及其制备方法

一种用于海水浸泡环境的水泥基复合材料及其制备方法,由火山灰基料、铝酸盐水泥、增强粉、环氧树脂、环氧树脂固化剂、速凝剂和添加剂组成,火山灰基料由单质硅粉、氧化铝微粉、石英砂、骨粉、金属粉、钠长石烧结后与火山灰混合粉磨而成,增强粉由煅烧高岭土、黏土、煤矸石、铝灰、赤泥、钼铁粉、镍铁粉和硅铁粉烧结后粉磨而成,添加剂由淀粉、碳酸钠和羧甲基纤维素组成。在使用时,将该复合材料与砂石、水拌合形成混凝土进行施工,与现有的普通水泥混凝土相比,具有很高的强度和耐海水冲刷侵蚀性,能够大幅度提高堤坝的使用寿命。

标签:
复合材料
河南 - 洛阳 来源:中冶有色网 2023-03-18
镁基复合材料焊接方法

一种镁基复合材料焊接方法,涉及金属复合材料的焊接方法,先是对焊接试样进行焊前处理,包括打磨、清洗、装夹,烘干几个过程,采用激光焊焊接过程中,选用了合适的焊接工艺参数,如光斑直径1.5mm,脉宽0.5ms,激光脉冲频率60Hz,焊接功率340~360W,激光扫描速度300~400mm/min。最终取得了较好的焊接结果,焊缝连续、完全熔透、呈鱼鳞状、接头变形小,接头强度最高可达80.6Mpa,焊缝显微硬度在180~200HV。

标签:
复合材料
河南 - 洛阳 来源:中冶有色网 2023-03-18
双曲面回转体复合材料制品的分体成型模具

本发明涉及纤维增强树脂基复合材料制造领域,具体的说是一种双曲面回转体复合材料制品的分体成型模具。包括底盘、外模以及套设在外模中的内模,所述外模和内模均为圆台形,外模和内模直径较大的一端分别可拆卸固定在所述底盘上,直径较小的一端相互可拆卸固定连接,在底盘、外模以及内模之间构成密闭的用于制作双曲面回转体的环形模腔;所述外模和内模均为分体式,外模由多个弧形的外分模组成,任意一个外分模的弧度均小于等于90°,内模由多个弧形的内分模组成,任意一个内分模的弧度均小于90°。本发明的模具组装后放入预成型体时,预成型体不会产生挤压皱褶,成型的制品线型准确,未出现空腔流道等问题,并且分体模具易组装和拆卸有利于脱模。

标签:
复合材料
河南 - 洛阳 来源:中冶有色网 2023-03-18
金属陶瓷耐磨复合材料及制备方法

本发明公开了一种金属陶瓷耐磨复合材料及制备方法,以金属耐磨板为基体,在钢板上凿孔,然后把耐磨陶瓷材料镶嵌在钢板孔内,构成一种高韧性、高耐磨的复合板。该耐磨金属-陶瓷复合材料可用作各种设备和管道易磨损部位的内衬。

标签:
复合材料
河南 - 洛阳 来源:中冶有色网 2023-03-18
高倍率磷酸铁锂复合材料、正极极片、锂离子电池

本发明涉及一种高倍率磷酸铁锂复合材料、正极极片、锂离子电池,属于锂离子电池技术领域。本发明提供的高倍率磷酸铁锂复合材料,由以下质量百分含量的原料烧结得到:磷酸铁锂80%~90%、钴酸锂5%~10%和导电碳5%~10%。导电碳和钴酸锂的加入有利于增加离子和电子导电性,降低阻抗,缓解高倍率放电时磷酸铁锂极化,有利于促使锂离子嵌入到材料内部,提升磷酸铁锂超高倍率放电电压平台,提升其超高倍率放电性能。经烧结,可消除材料间应力,消除不同材料混合后的微孔隙和表面缺陷,增加材料相互作用,钴酸锂、磷酸铁锂和导电碳复配使用,有利于形成完整的导电网络,降低内阻,提高超高倍率放电能力。

标签:
复合材料
河南 - 洛阳 来源:中冶有色网 2023-03-18
环氧树脂基多孔碳材料、活性炭复合材料、制备方法及应用

本发明公开了一种环氧树脂基多孔碳材料、活性炭复合材料、制备方法及应用,属于多孔碳材料技术领域。本发明利用Friedel‑Crafts反应对环氧树脂进行造孔改性,能增大环氧树脂基碳材料的比表面积,将其包覆于活性炭表面能进一步增大活性炭复合材料的比表面积,提高材料的吸液保液能力,并且包覆层与有机电解液的相容性良好,有利于提高负极材料在高电压下的结构稳定性。由此制备的电容器具有能量密度高、安全性能好、低温性能佳等特性。另外,通过在环氧树脂基多孔碳材料中掺杂具有高比表面积、高导电率的纤维状碳纳米管,能在包覆层中形成网状结构,提高内核活性炭的结构稳定性。

标签:
复合材料
河南 - 洛阳 来源:中冶有色网 2023-03-18
氧化铝弥散强化铜基复合材料的制备方法

本发明涉及一种氧化铝弥散强化铜基复合材料的制备方法,属于复合材料制备加工技术领域。该方法包括以下步骤:(1)将铜铝合金粉、Cu2O粉、铜粉混合,得到混合粉,将混合粉经过压制、内氧化、还原、烧结处理,得到烧结坯;所述铜粉的粒径小于铜铝合金粉的粒径;(2)将烧结坯进行热变形加工,得到氧化铝弥散强化铜基复合材料。本发明在传统弥散铜的制备过程中加入铜粉,烧结时,粒径较小的铜粉填充在塑性差、变形量有限的氧化铝‑铜复合颗粒之间的孔隙中,使氧化铝‑铜复合颗粒在塑性变形时,充分压合孔隙,最终达到提高整体致密度、改善塑性的效果。

标签:
复合材料
河南 - 洛阳 来源:中冶有色网 2023-03-18
基于电弧增材的船用钛合金梯度复合材料制备方法

本发明提供了一种基于电弧增材的船用钛合金梯度复合材料制备方法,包括如下步骤:步骤1:将待加工金属零件基板预处理后固定;步骤2:建立待加工金属零件的三维模型,获得增材制造路径并设定对应的工艺参数;步骤3:通过TIG电弧作用在基材的工作面上形成较长的熔池,将钛合金丝材和增强相颗粒进入电弧熔池中,并在熔池的冷却过程中实现增强相颗粒的植入;步骤4:将增强相颗粒在复合材料中呈现梯度分布;步骤5:所述复合材料分布为非强化层、过渡层、强化层三部分。本发明充分利用TIG电弧稳定、熔池长的优势,通过丝/粉同步的方法实现增强相颗粒在基体的梯度分布,既能够显著提高基体的硬度,又能够细化晶粒实现钛合金综合性能的提升。

标签:
复合材料
河南 - 洛阳 来源:中冶有色网 2023-03-18
复合材料合成轨枕
复合材料合成轨枕 1063     
 0

本发明提供了一种复合材料合成轨枕,包括壳体和混凝土芯体,壳体由复合材料制成,其特征在于,所述壳体包括有上壳体和下壳体,所述下壳体设置为槽状结构,所述下壳体内设置凹槽,所述芯体的外表面设置凸肋,在所述下壳体的内部安装混凝土芯体。本发明所述的将壳体设置为具有弹性的复合材料,芯体设置为混凝土材质,有效吸收钢轨的振动能量,降低波浪磨损,起到很好的减振降噪效果。且当轨枕的外壳损坏时,只需要更换上壳体或者下壳体即可,利于更换,节约成本。并且本实施例在轨枕下壳体的下表面设置保护层,提高壳体以及轨枕整体的使用寿命。提高轨道结构的稳定性。

标签:
复合材料
河南 - 洛阳 来源:中冶有色网 2023-03-18
纤维增强复合材料型材板桩

一种纤维增强复合材料型材板桩,具有采用纤维增强复合材料制作的主体,适用于护岸、防洪、防泄漏、防污染、挡土墙结构等,不但制造简单、重量轻,能极大减少运输资源,降低施工成本,而且耐腐蚀、不渗水、使用寿命长,与传统圆木桩、钢桩、混凝土桩相比,造价低,经济效益十分可观。型材板桩的主体沿长度方向延伸的一边沿设有锁槽、另一边沿设有用于和前述锁槽连接将多个板桩拼接成桩体的锁扣,安装方便快捷,密封性好。

标签:
复合材料
河南 - 洛阳 来源:中冶有色网 2023-03-18
高耐磨钢基复合材料及其制备方法

本发明属于耐磨材料制备领域,具体涉及一种高耐磨钢基复合材料及其制备方法。该高耐磨钢基复合材料包括钢基体和冶金结合在钢基体表面的自熔增材层,所述自熔增材层为Fe‑Cr‑C‑B合金层,Fe‑Cr‑C‑B合金层中,铁、铬、碳、硼的质量比为(73.4~77.2):(20~24):(2~2.4):(0.2~0.8)。本发明的高耐磨钢基复合材料,由于铸造时基体钢液进入自熔增材涂层,自熔增材层铬、碳、硼的成分得到稀释,形成了铬、碳、硼为强化元素的多合金耐磨复合层,存在大量的碳化物和硼化物,提高了自熔增材层的硬度和耐磨性能。

标签:
复合材料
河南 - 洛阳 来源:中冶有色网 2023-03-18
纳米二氧化钛/三氧化钨复合材料粉末的制备方法

本发明采用一步水热法进行TiO2/WO3复合材料粉末同步制备是一种全新的技术。其存在的技术瓶颈主要为以下两个:一、可以反应生成TiO2和WO3的原料有很多,但是能将原料有效结合并通过一步水热同步生成二者混合物却未见于报道;二、原料钛酸四丁酯和水极易发生反应生成凝胶,导致生成物大量团聚,制备TiO2纳米粉体尤其困难,本申请通过独特的步骤参数控制,通过WO3颗粒的加入使生成的TiO2粉体得到有效分散,两种粉末不仅能够充分混合,还能够彼此相互作用,促进彼此颗粒的分散与粒径的降低。

标签:
复合材料
河南 - 洛阳 来源:中冶有色网 2023-03-18
具有电磁屏蔽和耐寒性能的聚氯乙烯复合材料的制备方法

本发明涉及一种具有电磁屏蔽和耐寒性能的聚氯乙烯复合材料的制备方法,将CB、MWCNT、硬脂酸、PE蜡加入到混炼式转矩流变仪中,共混后用硅烷偶联剂对填料进行表面处理,得到MWCNT@CB填料;将聚氯乙烯树脂SG‑3牌号90‑110份;邻苯类增塑剂40‑60份;抗冲改性树脂10‑20份;钙锌复合稳定剂0.5‑1.5份;ARC树脂1‑2份;钛白粉1‑2份;色粉0‑0.5份;MWCNT@CB填料10‑30份采用挤出机挤出共混,得到具有电磁屏蔽和耐寒性的聚氯乙烯复合材料。本发明首先制备均匀稳定的工业级廉价碳系填料MWCNT@CB,MWCNT@CB可以均匀分散在聚氯乙烯材料中,提升了聚氯乙烯材料的电磁屏蔽能力,通过加入强化耐寒改性剂实现了复合材料高耐寒性能的优化。

标签:
复合材料
河南 - 洛阳 来源:中冶有色网 2023-03-18
氮掺杂硬碳包覆人造石墨复合材料的制备方法

本发明属于二次电池领域,具体涉及一种氮掺杂硬碳包覆人造石墨复合材料的制备方法。该方法所得氮掺杂硬碳包覆人造石墨复合材料为核壳结构,内核为人造石墨,外壳为氮掺杂硬碳包覆层,氮掺杂硬碳包覆层的质量为人造石墨内核质量的(0.5~2)%;外壳与内核之间通过化学键键合,所述化学键包括由外壳上的氨基和或亚氨基与人造石墨上的羧基反应形成的酰胺键。采用该方法制备的氮掺杂硬碳包覆人造石墨复合材料,提高了包覆质量和电子导电性,使石墨负极材料的倍率性能、循环性能和一致性得到显著提升。

标签:
复合材料
河南 - 洛阳 来源:中冶有色网 2023-03-18
含增强筋的夹芯结构复合材料及其制造方法

本发明介绍了一种含增强筋的夹芯结构复合材料及其制造方法,材料由内部芯材、增强筋、整体一次成型的纤维织物增强树脂复合材料层组成;内部芯材是压缩强度应大于0.5MPa的轻质浮力材料;增强筋由用胶粘剂与内部芯材连接在一起的轻质材料内模、包覆在轻质材料内模外表面的纤维织物层构成;纤维织物为玻璃纤维、碳纤维、凯夫拉纤维、超高分子量聚乙烯纤维及玄武岩纤维等;树脂为聚酯树脂、乙烯基树脂、环氧树脂及酚醛树脂等的固化物。本发明可以一次整体成型出既有增强筋又有夹芯结构的制品,可增加复合材料刚度的设计空间,减少后续二次加工;减少了制品出现缺陷的可能性;工艺几乎不产生有害气体挥发,可以保护人员健康。

标签:
复合材料
河南 - 洛阳 来源:中冶有色网 2023-03-18
上一页 45 46 47 48 49 ... 59 下一页
共59页    到第

中冶有色为您提供最新的河南洛阳有色金属材料制备及加工技术理论与应用信息,涵盖发明专利、权利要求、说明书、技术领域、背景技术、实用新型内容及具体实施方式等有色技术内容。打造最具专业性的有色金属技术理论与应用平台!

全国热门有色金属设备推荐
展开更多 +
全国热门有色金属技术推荐
展开更多 +

 

江西省隆恩特环保设备有限公司
宣传

报名参会
更多+

报告下载

有色专家
更多+

华东理工大学
主任/教授
中南大学
常务副校长
北京科技大学
教授
江西理工大学
教授
矿冶科技集团
副所长/研究员
赤泥综合利用研究报告2025
推广

热门技术
更多+

推荐企业
更多+

福建省金龙稀土股份有限公司
宣传

发布

在线客服

公众号

电话

顶部
咨询电话:
010-88793500-807