青岛垚鑫智能科技有限公司
宣传

位置:北方有色 >

有色技术频道 >

> 固/危废处置技术

分类:
全部
矿山技术
冶金技术
材料制备及加工技术
环境保护技术
分析检测技术
 
全部
废水处理技术
大气治理技术
固/危废处置技术
土壤修复技术
地区:
全部
北京
天津
上海
重庆
河北
山西
辽宁
吉林
黑龙江
江苏
浙江
安徽
福建
江西
山东
河南
湖北
湖南
广东
海南
四川
贵州
云南
陕西
甘肃
青海
内蒙
广西
西藏
宁夏
新疆
其他
其他
展开
 
全部
南京
无锡
徐州
常州
苏州
南通
连云港
淮安
盐城
扬州
镇江
泰州
宿迁

江苏无锡有色金属固/危废处置技术理论与应用

免费发布技术信息>>
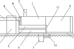
污水综合处理设备
污水综合处理设备 1151     
 0

一种污水综合处理设备,包括以排水管依次连接的废水池、调节池、水解酸化池、曝气生物滤池、消毒池和回收水池,废水依次流经废水池、调节池、水解酸化池、曝气生物滤池、消毒池和回收水池进行静置、调节水质/降解有机物、水解酸化、生物氧化/截留悬浮固体、消毒和收集回收水处理。本发明废水处理装置为一种高效、节能、处理效果良好的综合废水处理装置。

标签:
固废
江苏 - 无锡 来源:北方有色网 2023-03-19
利用氢氧化铝污泥生产聚合氯化铝的方法

本发明涉及一种利用氢氧化铝污泥生产聚合氯化铝的方法,具体地说是用于废水处理,达到废物综合利用的目的,属于污水处理技术领域。其主要取稀盐酸或废盐酸加入反应池,再加入氢氧化铝污泥,经搅拌反应溶解;加入铝酸钙粉,并加入添加剂,继续反应溶解;保温反应后出料,经自然沉淀后上层清夜即为液体聚合氯化铝;将液体聚合氯化铝打入高位槽,加入干燥滚筒下的池中,滚筒与液体聚合氯化铝接触后吸附在滚筒表面,通过滚筒前的铲板将其铲下为固体聚合氯化铝。本发明将氢氧化铝污泥回收利用,以废为宝,不易形成二次污染,有利于环境卫生;能降低成本,不需增加生产设备,制造工艺简单;反应生成的聚合氯化铝处理能处理各种废水,达到排放标准。

标签:
固废
江苏 - 无锡 来源:北方有色网 2023-03-19
带破碎功能的鳄鱼式剪切机

本实用新型涉及一种带破碎功能的鳄鱼式剪切机,包括箱体,箱体的一侧为鳄鱼剪,鳄鱼剪的内侧与箱体内部开设的进料通道相连通,粉碎仓的中心开设有进料口,粉碎仓的内部设置有破碎筒。通过将鳄鱼剪和破碎筒集成到一台剪切机中,对于铝型材等轻型废料,或是带皮电缆、电线等长而成团的废料,由鳄鱼剪对其进行剪切,剪下来的废料从进料通道进入箱体内部,由破碎筒对其进行粉碎,进行揉搓去壳等粗碎工作,初步分离成金属和非金属两种物料,也可以单独将小型的固体废料直接从进料斗倒入,进行粗碎、分拣工序,从而实现一机多用,能方便地将处理后的废料收集起来,从而减少了设备的占用空间,提高了废旧金属的加工处理效率。

标签:
固废
江苏 - 无锡 来源:北方有色网 2023-03-19
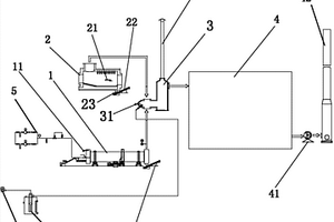
多功能焚烧系统
多功能焚烧系统 1110     
 0

本实用新型公开一种多功能焚烧系统,包括回转窑、焚烧炉、二次燃烧室和尾气处理系统,回转窑与二次燃烧室连接,焚烧炉与二次燃烧室连接,二次燃烧室与尾气处理系统连接。特殊的固体废物包括包装箱、塑料等直接投入到焚烧炉内进行焚烧处理,产生的烟气排放到二次燃烧室内;一般的固物废料如污泥等直接投入回转窑中,经过回转窑焚烧处理,产生的废烟气排入到二次燃烧室内;废液经过加压系统的加压投入到回转窑中,经过回转窑的焚烧处理,产生的废烟气排放到二次燃烧室内;废烟气被直接排放至二次燃烧室内。二次燃烧室将排进来的废烟气进行高温1200℃焚烧处理后再排入到尾气处理系统内,尾气处理系统对烟气进行处理后排放。

标签:
固废
江苏 - 无锡 来源:北方有色网 2023-03-19
稻壳基木质素改性酚醛树脂胶黏剂制备方法

本发明涉及一种稻壳基木质素改性酚醛树脂胶黏剂的制备方法。方法如下:(1)先用硫酸热处理稻壳,抽滤烘干;(2)再用NaOH碱洗,抽滤后滤液备用;(3)加热上述滤液,促使溶剂完全挥发,得到碱木质素固体;(4)将碱木质素固体、NaOH固体、苯酚和水,加热改性反应;(5)加入甲醛溶液、NaOH固体和水,加热聚合反应;(6)加入尿素,升温反应,脱水出料。本发明用稻壳中蕴含的木质素部分取代苯酚,原料来源广泛,价格低廉,还充分利用了农业废弃物,减少其燃烧对环境造成的破坏,为废弃物的资源化利用提供了一条可行的路径。

标签:
固废
江苏 - 无锡 来源:北方有色网 2023-03-19
制备2-甲氧基-1-丙醇醋酸酯的方法

本发明公开了一种制备2-甲氧基-1-丙醇醋酸酯工艺,以2-甲氧基-1-丙醇与醋酸为原料,其特征在于:采用固体酸催化剂进行固定床连续酯化反应,酯化温度70-150℃,酯化反应中生成的水经共沸蒸馏脱除;将酯化反应产物精馏,脱除并回收未反应的2-甲氧基-1-丙醇和醋酸,得到2-甲氧基-1-丙醇醋酸酯。本发明方法实现2-甲氧基-1-丙醇醋酸酯的连续化生产,操作方式简单,显著提高了2-甲氧基-1-丙醇醋酸酯的生产效率,降低其生产成本,且能减少固体污染物和废水排放,具有极佳的规模化工业应用价值。?

标签:
固废
江苏 - 无锡 来源:北方有色网 2023-03-19
EVA弹性橡胶砖及其制备方法

本发明涉及一种EVA弹性橡胶砖及其制备方法,它是以发泡废EVA颗粒和废橡胶颗粒为主要原料,配以聚氨酯作胶粘剂、再添加防老剂和着色剂。其制备方法如下:将发泡废EVA和废橡胶粉碎成所需规格的固体颗粒状;按配比将发泡废EVA颗粒和废橡胶颗粒置于一搅拌容器内,加入聚氨酯胶粘剂、防老剂和着色剂,搅拌混合均匀,制成混合物;将步骤二制得的混合物置于模具内,用硫化机模压硫化成型,硫化温度控制在80-100℃,压力控制在1-5MPA,时间控制在30-60MIN。本发明弹性好、材料成本低。

标签:
固废
江苏 - 无锡 来源:北方有色网 2023-03-19
制备二丙二醇甲醚醋酸酯的方法

本发明公开了一种制备二丙二醇甲醚醋酸酯工艺,以二丙二醇甲醚与醋酸为原料,其特征在于:采用固体酸催化剂进行固定床连续酯化反应,酯化温度70-150℃,酯化反应中生成的水经共沸蒸馏脱除;将酯化反应产物精馏,脱除并回收未反应的二丙二醇甲醚和醋酸,得到二丙二醇甲醚醋酸酯。本发明方法实现二丙二醇甲醚醋酸酯的连续化生产,操作方式简单,显著提高了二丙二醇甲醚醋酸酯的生产效率,降低其生产成本,且能减少固体污染物和废水排放,具有极佳的规模化工业应用价值。

标签:
固废
江苏 - 无锡 来源:北方有色网 2023-03-19
餐厨垃圾预处理系统
餐厨垃圾预处理系统 784     
 0

本实用新型涉及一种餐厨垃圾预处理系统,包含有废水滤除回用系统、餐厨垃圾油水分离机构和黑水虻前置发酵系统;所述废水滤除回用系统将餐厨垃圾中的固体垃圾和油水混合液分离,所述餐厨垃圾油水分离机构将油水混合液中的油液和水进行分离,所述黑水虻前置发酵系统将固体垃圾制成的浆料进行发酵。所述废水滤除回用系统包含有过滤槽和滤网,过滤槽下方开设有蓄液池,过滤槽连接破碎机,破碎机连接滚筒筛分机,滚筒筛分机连接制浆机;所述餐厨垃圾油水分离机构包含有除油罐;所述黑水虻前置发酵系统包含有发酵罐。本实用新型涉及一种餐厨垃圾预处理系统,节约环保,实现资源的循环利用,各系统分工合作,紧密配合,工作效率高。

标签:
固废
江苏 - 无锡 来源:北方有色网 2023-03-19
钙基同步脱硫脱硝剂的制作方法

本发明涉及固体废物处理资源化利用以及烟气脱硫脱硝技术领域,公开了钙基同步脱硫脱硝剂的制作方法,包括以下流程:S1:称取一定质量的Ca(OH)2、SDS脱硫废渣、KMnO4、硅藻土、PEO(聚氧化乙烯)、CaCl2、铝溶胶原料;S2:所述原料在捏合机中加水混合形成均匀分散的湿坯料;S3:所述湿坯料在干燥器中干燥,冷却后再经破碎、筛分、研磨成钙基同步脱硫脱硝剂超细粉末。本发明得到的钙基同步脱硫脱硝剂,有效利用固体废弃物,所用原料成本低且来源很广泛,制备方法简单。本发明得到的钙基同步脱硫脱硝剂可用于半干法脱硫或干法脱硫,脱硫脱硝效率分别高达98%和80%以上,适用烟气宽温度窗口,SO2和NOx满足超低排放。

标签:
固废
江苏 - 无锡 来源:北方有色网 2023-03-19
制浆造纸行业污水处理工艺

本发明公开了一种制浆造纸行业污水处理工艺,步骤如下:将制浆废水引流至调节池,初步控制废水处理量和确定水质污染程度;将上步骤中得到的废水引流至格栅,通过格栅后进入集水井;将上步骤中处理得到的废液引流至快混池,向快混池中投入聚合氯化铝作絮凝剂,通过搅拌使聚合氯化铝与废水均匀混合;采用水解池与氧化沟组合的工艺替代了传统工艺中由沉淀池经过曝气池直接过滤到二沉池的废水处理流程,由沉淀池进入水解池后,其水解池、氧化沟、二沉池构成了一个污泥回流的良性循环过程,对于未能完全反应的污泥废液还可以进入二次再过滤,不会直接带有污染固体成分而进入污泥浓缩池,减少其反应不充分会带来二次污染的可能性。

标签:
固废
江苏 - 无锡 来源:北方有色网 2023-03-19
聚甲氧基二甲醚的制备工艺方法及装置

本发明公开了一种聚甲氧基二甲醚的制备工艺方法及装置,仅采用甲醇作原料,通过甲醇在银或者铁钼催化剂作用下氧化生产甲醛,甲醇与中间产物甲醛在固体酸性催化剂作用下进行催化反应生产甲缩醛,然后甲醛与甲缩醛在高选择性酸性催化剂作用下生成聚甲氧基二甲醚。本工艺以甲醇为基本原料,提高能源利用率,而且为我国甲醇过剩产能找到有效利用途径。且副产物全部在装置内循环利用,从而产品收率和产率较高,并且本工艺采用的三种催化剂,均为固体催化剂,从而使得产品在精制过程中相对其他流程比较简单,从而使本装置三废排放少,且仅有少量的含碱废水需要送入处理,其他仅中间产品会有符合排放标准规的废水产生。

标签:
固废
江苏 - 无锡 来源:北方有色网 2023-03-19
乙酸异辛酯加工用可提升脱酸率的回收装置

本实用新型公开了一种乙酸异辛酯加工用可提升脱酸率的回收装置,包括回收桶和设置在回收桶一侧的废料承接管,废料承接管的一端设置有插入式螺纹管口,废料承接管的外表面设置有与乙酸异辛酯加工设备连接的卡接硅胶环,挡料件的一端设置有与废料承接管连接的弹性卡片,阻拦圆盘的外表面设置有滤网和安装在滤网下端的拦截片,拦截片的外表面设置有与废料承接管内壁接触的环形铲片,当废液从废料承接管排出时,经过废料承接管内部安装的挡料件,废液中的固体颗粒被拦截片阻挡,挡料件外表面的滤网将废液过滤,方便对废液中的乙酸异辛酯进行回收,废渣从滤网表面掉落在环形铲片上,回收完成后,拨开卡在废料承接管一端的弹性卡片将挡料件取出清理。

标签:
固废
江苏 - 无锡 来源:北方有色网 2023-03-19
环保型焊烟净化器
环保型焊烟净化器 1217     
 0

本实用新型公开了一种环保型焊烟净化器,属于净化器领域,一种环保型焊烟净化器,包括净化器,所述净化器的左侧固定连接有初级过滤箱,所述初级过滤箱的顶部固定连接有两个吸气臂,所述吸气臂远离初级过滤箱的一端固定连接有集气罩,所述初级过滤箱的内部固定安装有导气板,所述初级过滤箱内部且位于导气板的下方固定安装有粗滤板,该实用新型能对焊烟中的固体杂质进行较为充分的去除,同时能对焊烟中部分可燃气体及少量有机物进行处理,还能吸收废气中有毒的无机废气,使得废气的过滤较为彻底,能很好的降低废气中有毒气体排放对人体的损害,固体杂质能够很好的分离回收,而且能对水进行充分利用,以达到节能环保的目的。

标签:
固废
江苏 - 无锡 来源:北方有色网 2023-03-19
危固等离子裂解装置
危固等离子裂解装置 884     
 0

本实用新型公开了一种危固等离子裂解装置,所属固体废物处理领域,以对固体废物进行高效、彻底的裂解。密封容器竖直设置,其顶部设置进料口,气体排放口,密封容器的偏上部设置等离子发生器,离子发生器上安装有等离子喷射头,密封容器外部设置接线插座,接线插座与等离子发生器相连接,密封容器外部等离子发生器处设置有功率调节阀,等离子喷射头倾斜向下设置,密封容器的底部设置废物排放口,密封容器上设置有压力表,密封容器的底部设置有多组支座,多组支座上均设置有地脚固定板。其主要用途是对危险固体进行等离子裂解处理。

标签:
固废
江苏 - 无锡 来源:北方有色网 2023-03-19
环保锅炉用余热回收装置

本实用新型适用于锅炉技术领域,提供了一种环保锅炉用余热回收装置,包括载板,所述载板的顶面设有箱体,所述箱体由回收箱、进烟箱和出烟箱组成,所述回收箱设置在载板的顶面,所述进烟箱和出烟箱分别设置在回收箱顶面的两侧,所述回收箱的内部设有冷却箱,所述冷却箱的底部设有出料管,所述出料管贯穿回收箱和载板,并延伸至下方,相对于现有技术中,锅炉燃烧产生的尾气中会带有大量的热量,通常这部分热量会直接随着尾气排放掉,会造成资源浪费,而且高温废气中含有大量固体粉尘,也会造成环境污染的问题,本实用新型中不仅可以对废气的余热进行回收,还可以对废气中固体废弃物进行分离,节能且环保,方便使用。

标签:
固废
江苏 - 无锡 来源:北方有色网 2023-03-19
混杂纤维增强轻质陶瓷材料及其制备方法

本发明公开了一种混杂纤维增强轻质陶瓷材料,按重量百分比该材料包括以下组分:50%~75%的固体废料,20%~49%的成孔剂,0.1%~2%的固化改良剂,0.1%~5%的混杂纤维,制备该材料的方法为:将固体废料、成孔剂、固化改良剂破碎混合,湿法球磨,然后将混合比例为(0.2-1)∶(0.2-1)的两种耐高温纤维加入混合物中继续搅拌,经过干燥造粒,干压成型后,经过烧制、冷加工后,生成含均匀封闭微孔的轻质纤维增强陶瓷材料制品。本发明的原材料来源广泛,使用大量固体废料,具有低成本、低密度、耐高温、耐腐蚀、高抗裂、抗冲击、生态环保等特点。

标签:
固废
江苏 - 无锡 来源:北方有色网 2023-03-19
过氧化氢酶分离提取的清洁生产工艺

本发明属生物活性物质的分离提取技术领域。具体涉及一种过氧化氢酶分离提取的清洁生产工艺。它提供了一种环境友好型的过氧化氢酶分离提取工艺,可在不影响过氧化氢酶的得率和品质的前提下,实现过氧化氢酶加工生产过程的废渣废水零排放,彻底根除现行过氧化氢酶加工生产工艺的环境污染问题。本工艺适用于以经过自溶处理的猪、牛、羊、鸡、鸭、鹅、鱼类等各种动物的肝脏为原料的过氧化氢酶的加工生产,也适用于以微生物经发酵培养所得到的含有过氧化氢酶的发酵液为原料的过氧化氢酶加工生产。按照本发明进行操作,以猪肝为例,每加工1KG猪肝能够获得50,000U/ML的过氧化氢酶液2KG,水的耗用量降低至2.2KG以下,同时获得蛋白含量高达60%以上的固体230G。

标签:
固废
江苏 - 无锡 来源:北方有色网 2023-03-19
微型电加热双向风冷低温蒸发器

本发明涉及低温蒸发技术领域,尤其涉及一种微型电加热双向风冷低温蒸发器,解决了现有污水处理的低温蒸发器产生的浓缩物以含水量极低的高浓度液体或者固体作危废处置,不环保的缺点,包括搅拌釜、双向风机、恒温油浴、气液分离器和集液罐,所述搅拌釜通过管道连接有恒温油浴,搅拌釜与恒温油浴之间还设置有循环泵,搅拌釜的出液端与双向风机通过管路连接,所述双向风机通过管路分别与气液分离器和集液罐管路连接,该系统为一套式的浓缩与结晶设备,以纯物理方法处理减量废弃物量,双向冷却形成冷凝水的过程,冷凝水达标排放或者回用,浓缩物以含水量极低的高浓度液体或者固体的形式作为危废处置,对危废减量及物料回收,实用性强。

标签:
固废
江苏 - 无锡 来源:北方有色网 2023-03-19
用于污水处理的防堵装置

本实用新型涉及一种用于污水处理的防堵装置,包括过滤池,过滤池顶部设有污水管道,过滤池一侧设有驱动电机,过滤池一端连接有废物存储池,过滤池内腔设有第一过滤网,第一过滤网下方设有第二过滤网,过滤池底部设有总排水口,所述第一过滤网一侧设有位液感应器,所述位液感应器一侧设有推送板,所述推送板一端连接有推送连杆,且所述推送连杆螺纹连接驱动电机,所述过滤池与废物存储池之间设有隔离板,所述废物存储池内腔底部设有滤液板,所述滤液板上设有多个等距漏液小孔,该装置在污水进行处理前将污水中固定物质进行分离,固体废物截留在第一过滤网上,使用推送板将固体废物推送至废物存储池内,能有效防止污水处理过程中发生堵塞。

标签:
固废
江苏 - 无锡 来源:北方有色网 2023-03-19
牛磺酸母液固液过滤器分离装置

本实用新型公开了一种牛磺酸母液固液过滤器分离装置,包括筒体,所述筒体的上端设有上封头,上封头可开启取出筒体内的过滤筒,上封头上设有螺杆,螺杆上设有手轮,所述上封头与筒体之间设有隔板,隔板与筒体一体化焊接设置,上封头通过笼式螺栓与隔板固定连接,所述上封头的侧面设有开启装置,所述开启装置包括与隔板连接的支撑旋转臂,所述支撑旋转臂通过手轮与螺杆连接,螺杆贯穿手轮。本实用新型过滤完成后不需要大量的水冲洗,通过旋转手轮将上封头提升,靠支撑旋转臂使上封头旋转一定角度后,可将滤筒从筒体中取出,将过滤后的固体废物装袋处理,清理固体废物非常彻底,剩余固体废物用少量的水冲洗即可,减少了有机废水的产生。

标签:
固废
江苏 - 无锡 来源:北方有色网 2023-03-19
氧化锰/ 氧化铝复合材料在聚乙烯醇处理方面的应用

本发明涉及一种氧化锰/氧化铝复合材料在聚乙烯醇处理方面的应用,属于废弃物处理及环境保护技术领域。其采用浸渍?煅烧法制备MnxOy/γ?Al2O3复合材料,并用于聚乙烯醇的吸附及催化降解处理。本发明制备的MnxOy/γ?Al2O3复合材料可以同时实现聚乙烯醇的吸附及催化降解,可用于固体聚乙烯醇及聚乙烯醇废水等废弃物的处理,使用过后的MnxOy/γ?Al2O3复合材料可以经过洗涤?过滤?干燥?煅烧等步骤实现再生,再生的MnxOy/γ?Al2O3复合材料同样具有高吸附性、高催化性、可重复使用、方法简易、操作便捷、成本低、效率高等优点。

标签:
固废
江苏 - 无锡 来源:北方有色网 2023-03-19
厨余垃圾能源化处理工艺

本发明公开了一种厨余垃圾能源化处理工艺,将厨余垃圾经一级机械脱水或/和二级机械脱水,得到废水和固体废渣,其特征在于:向得到的固体废渣中添加计量的吸附剂进一步脱水,然后将进一步脱水后的固体废渣以及所述吸附剂制成改性燃料,所述吸附剂包含石灰,膨润土,高岭土等,将所述改性燃料与煤或其他燃料混合燃烧,本发明工艺设计合理,充分利用氧化钙的吸水性和脱硫作用,膨润土,高岭土等的吸水性和富含酸性硅铝成分的特性;本发明在实现了厨余垃圾无害化,减量化处理的同时,实现了资源的优化使用,将垃圾真正转化为脱除燃煤锅炉污染物的环保产品和改进锅炉操作性能的改性燃料。

标签:
固废
江苏 - 无锡 来源:北方有色网 2023-03-19
回收利用钢板生产中工业酸洗金属污泥的方法

本发明属于一种利用工业钢板生产中固体废弃物生产水泥生料用三氧化二铁和氧化铁黑颜料新工艺,它将酸洗金属后产生的金属污泥堆放在自然空气中的场地上氧化、干燥后收集得到三氧化二铁,或者在金属酸洗污泥加入酸液,使其具有流动性,再加水并升温至95℃以上,再加入碱性液体,调整混合液PH值9~12,搅拌均匀,脱水、干燥后粉碎得到氧化铁黑。本发明可使一切金属固体废弃物回收利用,实现环保无污染废物回收循环利用和资源再生,解决了目前我国每年上千万吨的工业固体废弃物,用化学与深埋处理后给人类生存环境带来的危害。

标签:
固废
江苏 - 无锡 来源:北方有色网 2023-03-19
沼液回用实现沼液资源化的方法

本发明涉及一种沼液回用实现沼液资源化的方法,特征是包含以下步骤:经或未经固液分离的提取废液进入厌氧沼气发酵罐进行沼气发酵,沼液再经微氧化、脱色和固体酸处理等步骤,处理后的沼液达到工艺用水要求回用作为拌料用水,再经液化、糖化、发酵和提取等常规生产工艺获得发酵产品,提取废液进入下一批次的循环。本发明的优点是沼液可无限循环回用,不仅消除了传统发酵产品生产工艺中的废水污染,而且沼液实现资源化,节约了大量宝贵的水资源,也淘汰的曝气好养处理工艺,降低了生产成本。

标签:
固废
江苏 - 无锡 来源:北方有色网 2023-03-19
高效生物有机肥及制作工艺

本发明涉及一种高效生物有机肥及制作工艺。所述生物有机肥首先将畜禽粪便发酵,再与粉碎后的农作物废弃物、洗毛下脚料复配;将腐植酸、微量元素、矿物质及筛分后的物料混合后造粒;最后将粒状物料烘干、冷却、筛分,包装成品。本发明可利用各种固体废弃物作原料,不仅原料成本低,而且转化利用废弃有害资源,可保护环境,造福社会,一般可降低化肥使用量的20~30%。本发明使用生物菌剂改变传统堆肥方式,充分利用畜禽粪便及农作物秸杆、洗毛下脚料等其它有机废料,通过少量的投入不仅提高了肥效、节约了时间、也给使用及生产都带来了诸多益处,确保了用肥的质量。

标签:
固废
江苏 - 无锡 来源:北方有色网 2023-03-19
化工污水的处理工艺
化工污水的处理工艺 916     
 0

本发明涉及一种化工污水的处理方法,该方法包括如下步骤:S1:回调pH:将废水的pH调节为2.5~3;S2:多相极耦合电化学:将污水排入多相极耦合电化学装置中进行净化;S3:高压溶氧电气浮:污水进入高压溶氧电气浮装置进行曝气和电化学电解处理;S4:多项极催化氧化:污水进入多项极催化氧化装置后能够在常温常压下进行催化氧化;S5:固液分离:污水进入固液分离装置将废水中固有的固体颗粒以及反应所产生的固体颗粒除去;S6:A2/O处理。本发明中的方法为针对化工污水所设计,其通过几种处理方法搭配施用,去除染料、浆料、助剂、纤维杂质、油剂、酸碱、COD、BOD等污染物的效果显著。

标签:
固废
江苏 - 无锡 来源:北方有色网 2023-03-19
核电厂安全壳过滤排放系统

本实用新型公开了一种核电厂安全壳过滤排放系统,包括箱盖和把手,所述箱盖的顶部连接有把手,且箱盖的底部连接有箱体,所述箱体的上部中间设置有观察窗,且箱体的内部下部设置有过滤器,所述过滤器的右侧连接有废料出口管,所述废料出口管的右侧连接有连接套管,所述过滤器的左侧连接有废料进口管,所述箱体的底部连接有底座,所述底座与箱体焊接固定,所述底座的底部设置有支腿,过滤器内的硼酸会大量吸收核废料中的中子,抑制核废料放热,液体废料从出口管底部设置的滤液块进入液体废料出口管,从而排出,固体废料从固体废料出口管排出,可以把核废料分为为固液两态,进行掩埋处理会更方便,同时安全系数会更高。

标签:
固废
江苏 - 无锡 来源:北方有色网 2023-03-19
餐厨垃圾预处理用处理设备及处理方法

本发明涉及一种餐厨垃圾预处理设备及处理方法,包括第一处理腔,其右端紧密相连物料分离装置,左端通过水槽间接连接油水分离装置,物料分离装置的右端为第二处理腔。第一处理腔的右端与物料分离装置的左端之间开设有一出料口,出料口与料斗的入料口相联接,料斗包含于物料推送装置内。物料推送装置的出料口与双螺杆绞碎机的入料口相联接。其处理方法包括如下步骤:a.餐厨垃圾由第一处理腔进行固液分离;b.固体废物筛选处理:脱水后的固体废物再进行大小料分离操作;c.大物料细碎处理:固体废物中的大料由物料推送装置将其推送至双螺杆绞碎机中进行细碎处理;d.废液处理:脱水后所得的油水混合物由油水分离装置将废液中的油和水进行分离操作。

标签:
固废
江苏 - 无锡 来源:北方有色网 2023-03-19
利用太湖蓝藻的新方法

本发明公开了一种利用太湖蓝藻的新方法,属于废弃物资源化利用和生物质能源领域。包括如下步骤:太湖蓝藻脱水干燥至8-25%;其它生物质废弃物脱水干燥至含水量8-25%,粉碎至5-10mm。按干重计将20-100%太湖蓝藻干料与其它的80-0%生物质原料混匀,经成型机在成型压力为100-300MPa和成型温度为70-170℃成型温度时挤压成型,获得固体燃料。本发明之混合型生物质燃料的成型方法:1)本发明具有简便易行、绿色环保、处理效率高、原料成本低、便于大规模工业化生产的特点;2)在固体燃料中添加太湖蓝藻,便于成型,提高了燃料的燃烧特性;3)在实现太湖蓝藻资源化的同时,丰富了固体燃料的原料来源。

标签:
固废
江苏 - 无锡 来源:北方有色网 2023-03-19
上一页 44 45 46 47 48 ... 61 下一页
共61页    到第

北方有色为您提供最新的江苏无锡有色金属固/危废处置技术理论与应用信息,涵盖发明专利、权利要求、说明书、技术领域、背景技术、实用新型内容及具体实施方式等有色技术内容。打造最具专业性的有色金属技术理论与应用平台!

全国热门有色金属设备推荐
展开更多 +
全国热门有色金属技术推荐
展开更多 +

 

江西省隆恩特环保设备有限公司
宣传

报名参会
更多+

报告下载

有色专家
更多+

矿冶科技集团有限公司
所长/研究员级高工
昆明理工大学
校长
洛阳有色矿业集团有限公司
生产技术部经理
紫金矿业信息化研发中心
副总经理
任灵宝金源矿业股份有限公司
技术发展部经理
赤泥综合利用研究报告2025
推广

热门技术
更多+

推荐企业
更多+

福建省金龙稀土股份有限公司
宣传

发布

在线客服

公众号

电话

顶部
咨询电话:
010-88793500-807