青岛垚鑫智能科技有限公司
宣传

位置:中冶有色 >

有色技术频道 >

分类:
全部
矿山技术
冶金技术
材料制备及加工技术
环境保护技术
分析检测技术
 
全部
废水处理技术
大气治理技术
固/危废处置技术
土壤修复技术
地区:
全部
北京
天津
上海
重庆
河北
山西
辽宁
吉林
黑龙江
江苏
浙江
安徽
福建
江西
山东
河南
湖北
湖南
广东
海南
四川
贵州
云南
陕西
甘肃
青海
内蒙
广西
西藏
宁夏
新疆
其他
其他
展开
 
全部
杭州
宁波
温州
绍兴
湖州
嘉兴
金华
衢州
台州
丽水
舟山

浙江宁波有色金属环境保护技术理论与应用

免费发布技术信息>>
石油树脂废水处理装置

本发明属于废水处理技术领域,提供了一种石油树脂废水处理装置,包括:进水管道;沉淀池,其与进水管道相连,沉淀池的顶部设有池底清洁装置,沉淀池的底部设有排污阀门,池底清洁装置清洗沉淀在沉淀池底部的杂质并经排污阀门排出;吸附池,其设于沉淀池右下侧,吸附池的底部设有纳米纤维素凝胶层,纳米纤维素凝胶层吸附废水中的油类物质、硫化物和苯等成分;存放池,其设于吸附池右下侧,吸附池与存放池之间设有连接管道;出水管道,其连接在存放池的右下端。与现有技术相比,本发明的优点在于:结构简单、便于维护、制造成本较低,且采用纳米纤维素凝胶层能够有效吸附废水中的油类物质、硫化物和苯等成分,降低废水对环境的污染。

标签:
废水处理
浙江 - 宁波 来源:中冶有色网 2023-03-19
废水净化处理剂的制备方法

本发明提供了一种碱性废水净化处理剂的制备方法,其特征在于:制备方法包括,首先,按照A组分中的重量比例称取磷酸二氢钙、硫酸铝、聚合氯化铝、聚合硫酸铁,在干式混合设备中进行充分的混合后,并在200-250℃的温度下进行干燥;然后,按照B组分中的重量比例称取氧化镁、硫酸钙、硅酸钠,在干式混合设备中进行充分的混合后,并在200-250℃的温度下进行干燥;然后,将A、B组分按比例进行充分混合,并在650-700℃的温度下进行高温处理3-5h;最后,将C组分按比例添加到A、B组分的混合物中进行充分混合,得到所述的碱性废水的净化处理剂,其是一种具有优异的、综合水处理效果的多功能废水净化处理药剂,以保证既能够高效准确的调节废水的pH值,又能有效氧化去除其中的有机或无机污染物,还能快速高效实现絮凝,并清除掉废水中的重金属离子。

标签:
废水处理
浙江 - 宁波 来源:中冶有色网 2023-03-19
触媒团聚物原位消解的光催化废水降解反应器扩容方法

本发明涉及一种触媒团聚物原位消解的光催化废水降解反应器扩容方法,属于废水处理技术领域。现有的相关技术中,存在催化剂截留环节偏弱、微波能量利用情况不理想、反应器单罐废水处理量偏小以及内部液体大循环强度不足、降解反应终点时刻难辨明、催化剂团聚物无法原位强力消散等等问题,本发明针对上述系列问题。本发明主要步骤包括:以金属笼收拢微波照射范围;以喇叭筒状构件聚束升腾气泡流;扩展反应器尺寸;用外置的级联的三级反冲洗式过滤器来逐级拦截纳米光催化剂微粒;用发自反应器底部的超声波原位强力消散催化剂团聚物,同时捎带清洁石英管;用臭氧传感器监察反应进程,并用传感电讯号自动控制相关电源开关机构。

标签:
废水处理
浙江 - 宁波 来源:中冶有色网 2023-03-19
镀件镀镍的镀液废水处理方法

一种镀件镀镍的镀液废水处理方法,包括:将产线酸洗液或酸洗废液作为催化剂添加至化学镀镀液废水中,调节废水的pH至3‑7;搅拌5‑20分钟静置;添加次氯酸钠,调节pH至6~8后,反应静置时间6~12h得到溶液A,投入石灰乳,调节pH值不低于11,反应静置时间不低于2h,过程中生成氢氧化镍、磷酸钙、亚磷酸钙沉淀,得上层清液C,投入氯化钙/PAC混合液,反应静置时间不低于2h,得到上层清液D,投入PAM混凝剂吸附处理,静置时间不低于2h,泥水分离后,上清液排入废水站,处理完成。具有提升破络氧化和沉淀效率,精确控制沉淀剂,试剂使用量少和产生的固废量少,占地面积小,运行简单可一体化控制,无需反复调节pH值,运行费用低的优点。

标签:
废水处理
浙江 - 宁波 来源:中冶有色网 2023-03-19
在环氧氯丙烷生产方法中皂化环合步骤所产生废水的处理方法

本发明涉及一种环氧氯丙烷和环氧丙烷生产过程中产生的皂化高盐度有机废水的处理方法。这个处理方法包括所述高盐度有机废水浓缩、氯化钙结晶、纯化与回收,以及母液无害化处理等步骤。本发明的方法具有工艺流程简便,易于操作和控制,经济效益明显,环境友好;氯化钙回收率可达98%,甘油回收率可达88%,实现污染物的资源化。

标签:
废水处理
浙江 - 宁波 来源:中冶有色网 2023-03-19
用于处理髙盐废水的枕型板式冷冻结晶装置

本发明公开了一种用于处理髙盐废水的枕型板式冷冻结晶装置,包括结晶罐、结晶蒸发器和循环组件,所述结晶罐和结晶蒸发器通过循环组件连接,且在所述循环组件的作用下,所述结晶罐和结晶蒸发器中的髙盐废水能循环流动,还包括制冷组件,所述制冷组件的换热板设置在所述结晶蒸发器内,且所述换热板为中空结构,且所述制冷组件能将制冷剂输送至所述换热板内并循环流动,在所述结晶罐和结晶蒸发器的底部均设置有结晶物排出口。通过冷却的循环的双位置结晶的设计,大大提高了髙盐废水的结晶程度,实现了对废水的处理,甚至可以达到废水的近零排放,对保护水资源是一种极佳的方法。

标签:
废水处理
浙江 - 宁波 来源:中冶有色网 2023-03-19
镀件镀镍的镀液废水处理系统

一种镀件镀镍的镀液废水处理系统,其特征在于:包括含镍废水收集装置、加药装置、氧化破络装置、生化处理装置、污泥脱水处理装置和含镍废水处理回用装置;所述的含镍废水收集装置、氧化破络装置、生化处理装置和含镍废水处理回用装置顺次连通,所述的氧化破络装置和生化处理装置上设置有污泥排放管,该污泥排放管与污泥脱水处理装置连通;所述的加药装置与氧化破络装置连通、且加药装置至少包括含硫酸亚铁的产线酸洗液加药装置。具有不需要反复投加酸碱以及昂贵的重金属捕捉剂,不会使亚磷酸盐与次磷酸盐转变的电解效率降低至零,简单高效地实现化学镀镍废水达标排放的优点。

标签:
废水处理
浙江 - 宁波 来源:中冶有色网 2023-03-19
净化废水中有害物的装置

一种净化废水中有害物的装置,用于从废水中去除COD、有机物、氨氮和色度等有害物,其特征在于所述的装置由废水循环槽、加压泵、电化学反应器、水喷射真空器和气液分离塔所组成,所述的水循环槽通过废水出口及管道、阀门与废水加压泵相连,所述的加压泵通过管道、阀门与电化学反应器相连,所述的电化学反应器通过管道和阀门与水喷射真空器相连,所述的水喷射真空器通过管道与气液分离塔入口的相连,所述的水喷射真空器还设置有气体吸入口,所述的气液分离塔下部与废水循环槽连通。具有结构合理简单、容易操作使用、处理效率高等优点。

标签:
废水处理
浙江 - 宁波 来源:中冶有色网 2023-03-19
高浓度含油废水的膜分离处理方法

本发明公开了一种高浓度含油废水的膜分离处理方法,涉及废水处理技术领域,具体包括如下步骤:首先将高浓度含油废水在油水分离单元中进行浮油分离,剩余的分离废水通过pH调节系统;然后通过泵体将调节过pH值的分离废水泵入超滤膜分离单元中进行分离;再然后将超滤膜透过液通过高压泵泵入一级反渗透膜分离单元内;将一级透过液通过高压泵泵入二级反渗透膜分离单元内,将二级透过液通过高压泵泵入三级反渗透膜分离单元内;最后将COD浓度达到污水厂接收标准三级透过液纳管排放到污水处理厂,三级反渗透膜法工艺稳定可靠,确保产水达标纳管排放到污水厂,并且可以大幅降低处理废水外运处理成本。

标签:
废水处理
浙江 - 宁波 来源:中冶有色网 2023-03-19
基于微藻-MBR高效处理炼油废水的工艺

本发明属于废水处理领域,具体涉及一种基于微藻‑MBR高效处理炼油废水的工艺。本发明处理工艺包括球藻与PTFE中空纤维微滤膜构成的膜生物反应器(MBR)耦合形成的高效炼油废水处理系统,该系统能充分利用MBR对有机碳的深度降解以及藻类对氮、磷等营养物质的高效去除的优势,实现高质出水。同时,藻类光合作用产生O2供好氧细菌利用,可部分补偿MBR高能耗的缺点,能有效降低膜污染,实现新型膜生物处理技术稳定有效运行,经过大量实验验证,采用本发明处理工艺炼油废水COD的去除率在95%左右,出水中COD含量小于50mg/L,达到国家一级A排放标准;对NH4+‑N去除效果也明显优于传统MBR工艺,在一个反应期内,系统内过膜压差TMP明显低于S‑MBR,MBR膜污染现象得到明显缓解。

标签:
废水处理
浙江 - 宁波 来源:中冶有色网 2023-03-19
高浓度综合化工有机废水处理工艺

本发明公开了一种高浓度综合化工有机废水的处理工艺,包括预氧化和物化处理单元、生化处理单元、后氧化和物化处理单元、污泥脱水单元,本发明通过在前物化预处理中增加高铁酸盐氧化,在气浮池中高铁酸盐氧化废水中的有机物,降低难生化物质的含量,提高了废水的可生化性,强化气浮物化处理效能。在后氧化和物化处理单元,在混凝反应池中经过高铁酸盐的氧化,进一步去除废水中残留的有机物、色度及SS,强化混凝沉淀物化处理效能。本工艺对现有的废水处理工艺稍作改进,原有生化单元不变,设备简单、投资少、运行管理方便、运行成本低。该工艺的出水水质可以稳定达到《污水综合排放标准》(GB8978-1996)一级标准,适合处理化工园区和化工企业的污水。

标签:
废水处理
浙江 - 宁波 来源:中冶有色网 2023-03-19
用于处理发酵废水的污水处理剂及其制备方法

本发明公开了一种用于处理发酵废水的污水处理剂,由以下按照重量份的原料组成:硅藻土23‑27份、交联累托石14‑18份、沸石10‑15份、聚二甲基二烯丙基氯化铵5‑9份、秸秆30‑35份、聚合硫酸铝铁15‑20份、壳聚糖12‑16份、硅酸钠7‑10份、硬脂酸丁酯3‑6份、氨基三甲叉膦酸4‑9份、聚乙烯亚胺11‑15份。本发明还公开了所述用于处理发酵废水的污水处理剂的制备方法。本发明制备的污水处理剂对发酵废水的处理效果好,能够有效降低发酵废水中的COD、BOD、SS和金属离子含量,经过处理后的发酵废水的理化指标能够达到排放标准。

标签:
废水处理
浙江 - 宁波 来源:中冶有色网 2023-03-19
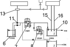
高效的废水处理系统
高效的废水处理系统 779     
 0

本发明提供一种高效的废水处理系统,用于汽车零部件生产过程中的废水处理,包括一调匀池、一氧化池、一PH调整池、一胶羽池、一沉淀分离池、一中间水池、一砂滤塔、一活性炭塔、一放流池和一外排池,所述废水依序流经所述调匀池、氧化池、PH调整池、胶羽池、沉淀分离池、中间水池和砂滤塔,从砂滤塔流出后,一部分的废水经过活性炭塔进入放流池,一部分的废水进入外排池;其中,所述中间水池通过监控水泵将废水送往所述砂滤塔。本申请连续的净化处理站,有效的改善废水不良,符合环保要求,提高企业市场竞争力。

标签:
废水处理
浙江 - 宁波 来源:中冶有色网 2023-03-19
多重过滤式废水处理装置

本实用新型公开了一种多重过滤式废水处理装置,包括过滤箱、排水管和进料口,过滤箱右侧的底部与排水管的左侧相连通,进料口开设在过滤箱顶部的左侧。本实用新型通过设置四个过滤板,使废水通过四个过滤板进行多重过滤,同时利用流速传感器对排水管排出水流的速度进行检测,当排水管排出水流速度出现降低时,伺服电机开启带动毛刷向左移动将过滤板表面的堵塞物清理至收集盒中,当流速传感器检测到排水管排出水流速度恢复正常时,使伺服电机关闭,停止带动毛刷对过滤板的清理,解决了在废水处理的过程中需要多次对废水进行过滤,接着再进行杀菌消毒的步骤,因此在过滤的过程中浪费的时间较多导致过滤速度降低的问题。

标签:
废水处理
浙江 - 宁波 来源:中冶有色网 2023-03-19
废水处理用除异味装置

本实用新型公开了一种废水处理用除异味装置,包括处理仓,所述处理仓底部的两侧均固定连接有支腿,所述处理仓左侧的上方连通有进水管,所述处理仓左侧的下方连通有出水管,所述处理仓右侧的下方固定连接有第一支撑板,所述第一支撑板的顶部固定连接有电机,所述电机的输出端固定连接有主动轮,所述处理仓的内部转动连接有转动轴。本实用新型通过设置处理仓、支腿、进水管、出水管、第一撑板、电机、主动轮、转动轴、从动轮、皮带、搅拌叶、过滤网、第二撑板、除味剂箱、进料管、喷头和清理舱门的配合使用,解决了现有的废水除异味装置处理废水效率较底,容易出现故障的问题,具备高效去除废水异味,减少故障率的优点。

标签:
废水处理
浙江 - 宁波 来源:中冶有色网 2023-03-19
基于表面活性剂和银纳米颗粒的染料废水净化方法

本发明公开了一种基于表面活性剂和银纳米颗粒的染料废水净化方法。本发明使用常见的表面活性剂与少量硝酸银,经过简单混合与原位还原制备得到银纳米颗粒掺杂的水凝胶。凝胶与废水混合后染料被吸附并发生降解,离心将废水与凝胶分离,得到净化后的溶液同时可回收凝胶骨架和银纳米颗粒。将被回收物质重新制成凝胶又可用于对染料废水的处理。该方法操作简单,不引入其它物质,混合水凝胶独特的微观结构和纳米尺度的银颗粒使凝胶可以高效地吸附并降解染料,极大提高了对染料废水的净化效率。

标签:
废水处理
浙江 - 宁波 来源:中冶有色网 2023-03-19
放流废水重金属沉淀回收装置及方法

本发明涉及一种放流废水重金属沉淀回收装置,包括放流池、进水总管和排泥管,其特征在于,所述的放流池的右侧通过管路连接有一个混合器,所述的进水总管分别与放流池和混合器相连接,所述的混合器与外接有聚合氯化铝,所述的放流池中并排通有若干根排泥管,所述的排泥管的上端均与排泥总管相通,所述的排泥总管与一侧的泥井相通,利用聚合氯化铝使废水中的钴和锰沉淀呈泥状,再由排泥系统排放至污泥浓缩池。本发明结构简单,流程简单,废水处理速度快,能有效回收废水中的钴和锰,使废水达到排放标准,保护环境。

标签:
废水处理
浙江 - 宁波 来源:中冶有色网 2023-03-19
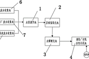
甲胺生产废水处理系统

本实用新型公开了一种甲胺生产废水处理系统,包括生化处理系统,所述生化处理系统包括依次连接的水质调节池、芬顿强氧化池、水解酸化池、兼氧/好氧活性污泥池和二沉池,在水质调节池前还连接有预处理系统,所述预处理系统为废水分流收集系统,分为正常废水收集池、DMF废水收集池和异常高浓废水收集池。其采用分类收集综合处理的原则,各类废水水质情况明确,便于更好的调控、稳定废水水质,保证后续生化系统持续稳定运行,同时处理工艺流程简单,管理运营方便,降低了运营管理成本,最终使得废水的处理效果有很大提升,具体表现为TN去除率由0%提升至89%,氨氮去除率在98%以上。

标签:
废水处理
浙江 - 宁波 来源:中冶有色网 2023-03-19
化妆品清洗废水的排放处理方法

本发明公开了一种化妆品清洗废水的排放处理方法,涉及废水处理技术领域,通过下述装置实施,装置包括:依次连通的调节池、水解酸化池和好氧生化池,装置还包括污泥浓缩池;装置还包括超滤膜单元和反渗透膜单元;首先将车间的化妆品清洗废水汇集在调节池进行水质调匀;在通过污水提升泵将调节池内的废水自动泵入水解酸化池内进行水解酸化处理;然后废水进入好氧生化池中;在然后通过低压泵将好氧生化池内的废水泵入超滤膜单元和反渗透膜单元,水解酸化池和好氧生化池通过排泥装置将污泥排放到污泥浓缩池内,污泥浓缩池静置后的上清液回流到调节池内,其中污泥通过压泥处理后运输出去,实现了化妆品清洗废水的零排放,有助于减轻对水环境的污染。

标签:
废水处理
浙江 - 宁波 来源:中冶有色网 2023-03-19
碱性废水的净化处理剂
碱性废水的净化处理剂 1195     
 0

本发明提供了一种碱性废水的净化处理剂,其特征在于:其由A、B、C三种组分所组成,其中所述A组分包括磷酸二氢钙、硫酸铝、聚合氯化铝、聚合硫酸铁,所述B组分包括氧化镁、硫酸钙、硅酸钠,所述C组分包括聚丙烯酸酯、聚丙烯酰胺,所述A、B、C的百分含量为50-60%、30-40%、5-10%。本发明的净化处理剂是一种具有优异的、综合水处理效果的多功能废水净化处理药剂,以保证既能够高效准确的调节废水的pH值,又能有效氧化去除其中的有机或无机污染物,还能快速高效实现絮凝,并清除掉废水中的重金属离子。

标签:
废水处理
浙江 - 宁波 来源:中冶有色网 2023-03-19
不锈钢无硝酸酸洗废水处理工艺

本发明涉及一种不锈钢无硝酸酸洗废水处理工艺,其包括以下步骤:分别将酸洗废水和中性盐废水引入对应的调节池中;调节中性盐废水的pH值,还原六价铬;将还原后的中性盐废水和酸洗废水一起引入中和槽,利用液碱对废水进行中和;将中和后的废水进行曝气处理后,利用超微分离机进行固液分离,分离获得的污泥经浓缩、脱水形成重金属泥,分离获得的废水引入除氟反应池中,进行去氟处理;除氟处理后的废水继续引入沉淀池中进行泥水分离,获得氟化物泥和符合排放标准的上清液。与现有技术相比,经本发明处理后的废水达到GB13456‑2012表二要求,分步取得重金属泥和氟化物泥,其中,重金属泥具有回炉利用价值,氟化物泥低于GB5085.3‑2007标准要求可认定后按普通固废处置。

标签:
废水处理
浙江 - 宁波 来源:中冶有色网 2023-03-19
不锈钢酸洗废水液的处理方法

一种不锈钢酸洗废水液的处理方法,其特征在于依次包括以下步骤:将中性盐废水流入到中性还原槽中,而将混酸酸洗废水流入到中和槽中;在中性还原槽中加入还原剂,然后将还原后的废水液放入到中和槽中与调节后的混酸酸洗废水液相混和,在中和槽中加入液碱;将分离后的澄清废在沉淀池将氟除去;在最终中和槽中加入中和液将废水液流经砂滤器而排出。本发明的优点在于工艺采用将金属离子与氟离子作分段处理,并将中和剂由石灰乳改为液碱,不仅达到了废液排放的达标要求,而且还大大降低了由大量石灰乳所产生的污泥量,而在澄清池的重金属污泥物中只含有重金化合物,而氟化钙和硫酸钙等盐在氟化处理阶段的斜板沉淀池中分离出来,从而有效地降低了处理的成本。

标签:
废水处理
浙江 - 宁波 来源:中冶有色网 2023-03-19
电镀废水的处理及资源回收利用的方法

本发明公开了一种电镀废水处理及资源回收利用的方法。该电镀废水处理包括以下步骤:(1)氧化。将所述电镀废水输送至氧化反应器,在温度180~280℃,压力3.0~10.0MPa的条件下,通入含氧气体进行氧化反应3~6小时;(2)吸附:将氧化后的电镀废水经离子交换回收重金属,完成所述电镀废水的处理。本发明解决了现有技术处理电镀废水的方法存在的二次污染、无法大范围推广应用、难以实现多种污染物的同时去除、很难取得理想的去除效果、处理工艺长、设备占地面积大、投资大、处理效率低等问题。

标签:
废水处理
浙江 - 宁波 来源:中冶有色网 2023-03-19
印染废水回用处理系统
印染废水回用处理系统 1008     
 0

本实用新型公开了一种印染废水回用处理系统,特别是印染废水回用处理系统;包括集水箱和回用水箱,在集水箱和回用水箱之间依次设有高效曝气生物滤池处理单元、臭氧接触催化塔单元、机械过滤器单元、生物炭过滤器单元和反渗透脱盐系统单元,并且上述集水箱、高效曝气生物滤池处理单元、臭氧接触催化塔单元、机械过滤器单元、生物炭过滤器单元、反渗透脱盐系统单元和回用水箱依次连通,在生物炭过滤器单元和反渗透脱盐系统单元之间设有高压泵;其解决了现有印染企业的废水回用率低的技术弊端;其主要用于印染企业的废水回用处理;能大幅度的去除达标废水中可溶性COD和色度,能对达标废水进行有效的脱盐处理,使得印染废水回用率达到60%以上。

标签:
废水处理
浙江 - 宁波 来源:中冶有色网 2023-03-19
利用脉冲高压电-微生物絮凝反应池去除电镀废水中锌离子的方法

本发明公开了一种利用脉冲高压电-微生物絮凝反应池去除电镀废水中锌离子的方法。本方法创造性的利用了较为常见的啤酒酵母和地衣芽孢杆菌的微生物絮凝特性,通过特定峰压值的脉冲高压放电过程激发啤酒酵母和地衣芽孢杆菌对锌离子的吸附架桥特性,使废水中的锌离子在上述微生物表面发生絮凝反应,逐步形成较大直径的絮凝物,并最终通过沉淀过程加以去除。同时,啤酒酵母和地衣芽孢杆菌均为常见的微生物,容易获得,成本低廉,可大大降低废水处理的物料成本。

标签:
废水处理
浙江 - 宁波 来源:中冶有色网 2023-03-19
印染废水臭氧催化铁锌深度处理方法及装置

本发明一种印染废水臭氧催化铁锌深度处理方法及装置,方法采用准备步骤、制作催化填料步骤、制作催化床步骤、废水充臭氧步骤、废水催化步骤、废水生物降解步骤、处理水输出步骤后,处理效果稳定,对印染废水中残留的杂环类有机物具有较强的分解能力;形成的合格水经出水管输出于处理池体外;装置包括处理池体,该处理池体的第一型腔的格栅体内填充有催化填料,第二型腔的格栅体内填充有微生物,并在第二型腔内形成曝气生物滤池,第一型腔位于格栅体的下方为进水腔,该进水腔同时连接有进水管和臭氧发生器的出气口;第一出水腔与进水腔之间配设有循环水泵;第二出水腔连接有出水管,还配设有曝气器;装置的运行过程可操作性强,自动化程度高。

标签:
废水处理
浙江 - 宁波 来源:中冶有色网 2023-03-19
降低电镀废水COD的装置
降低电镀废水COD的装置 1122     
 0

本发明公开了一种降低电镀废水COD的装置,电镀废水依次经过调节池、沉淀池、重金属去除池、预过滤、反应池、膜生物反应器和消毒池进行处理之后,达到排放标准进行排放,同时去除的有机物和重金属通过压滤机去除有机物和重金属内部的水分,经过后续的处理,进行回收利用。该一种降低电镀废水COD的装置,可以预先对电镀废水中的有机物进行去除,同时放入两种不同类型的絮凝剂,可以对电镀废水中的不同类型的有机物进行处理,从而降低电镀废水中COD的检测含量,并且可以使原本难以降解的有机物可以被高效、环保的被净化,同时反应池对调节池和重金属去除池内未去除干净的废物进行去除,同时经过三级沉淀可以将原本较难处理的重金属进行沉淀和过滤。

标签:
废水处理
浙江 - 宁波 来源:中冶有色网 2023-03-19
高效节能脱硫废水浓缩处理装置

本发明公开了一种高效节能脱硫废水浓缩处理装置,该脱硫废水浓缩处理装置包括蒸发塔,系统废水通入进水管,废水流向中心管并进入各配水支管,均匀喷洒而下,启动电机和风机,当废水从配水支管自上而下经过填料层与入口风网通入的空气进行一次热交换后,完成一次蒸发,喷淋下来的水落到集水盘,向进气管补充适量烟气,维持水温到设计值,废水循环泵吸取集水盘中的废水到进水管,如此循环往复,直至集水盘浆液浓度到达需要的浓度,打开出料管排出浓缩液到后续处理工艺段,本发明中装置有效利用系统自身的热量和废热,节约能源,节省投资,设备少,运行维护成本低,可以实现较高倍率浓缩,与各种形式的后处理灵活搭配实现终端废水的零排放。

标签:
废水处理
浙江 - 宁波 来源:中冶有色网 2023-03-19
自动高温废水处理设备
自动高温废水处理设备 1168     
 0

本发明公开了一种自动高温废水处理设备,它包括降温设备和废水处理设备,所述降温设备包括第一壁板、第二壁板、第三壁板、底板和顶板、澄清腔,所述废水处理设备包括废水腔,所述废水腔上设有与澄清腔连通的进水管,废水腔顶部设有喷淋装置,废水腔底部设有除絮装置。本发明得到的自动高温废水处理设备,先将高温废水中的废水热量进行回收,使得进水、出水、降温可以同步进行,并且设备一体化程度高,紧凑小巧,并且有效的利用了高温废水中的能量,再对废水的处理过程中对废水产生的絮凝团进行自动的分离,全程自动化,絮凝团的分离效果好,节约资源,省时省力,占地小,可靠性高。

标签:
废水处理
浙江 - 宁波 来源:中冶有色网 2023-03-19
微波光催化废水降解处理装置内部关键构件维护方法

本发明涉及一种微波光催化废水降解处理装置内部关键构件维护方法,属于废水处理技术领域。现有微波光催化废水降解技术中,存在有机质膜分离组件热蚀破坏问题,以及,无极紫外灯屏护用石英管其外侧面积垢问题,本案旨在一揽子地解决上述问题。本案方法的步骤包括用金属材质的箱笼状微波屏蔽罩将膜分离组件裹藏其内;以及,在微波光催化反应器的内部或外表面安装超声波换能器;以及,启动其相关电源。本案所涉微波隔离方法不妨碍膜分离组件的功能及其运作;本案方法并以高频超声波达成所述积垢在免拆机、免停机前提下的即时清除。本案方法一揽子地解决了微波光催化装置中两个关键构件的即时维护问题。

标签:
废水处理
浙江 - 宁波 来源:中冶有色网 2023-03-19
上一页 43 44 45 46 47 ... 52 下一页
共52页    到第

中冶有色为您提供最新的浙江宁波有色金属环境保护技术理论与应用信息,涵盖发明专利、权利要求、说明书、技术领域、背景技术、实用新型内容及具体实施方式等有色技术内容。打造最具专业性的有色金属技术理论与应用平台!

全国热门有色金属设备推荐
展开更多 +
全国热门有色金属技术推荐
展开更多 +

 

江西省隆恩特环保设备有限公司
宣传

报名参会
更多+

报告下载

有色专家
更多+

武汉科技大学
校学术委员会主任 / 教授
中国瑞林工程技术有限公司
中国工程院院士
中国矿业大学
副院长/教授
辽宁忠旺集团
教授级高工
广东省科学院工业分析检测中心
副主任
赤泥综合利用研究报告2025
推广

热门技术
更多+

推荐企业
更多+

福建省金龙稀土股份有限公司
宣传

发布

在线客服

公众号

电话

顶部
咨询电话:
010-88793500-807