青岛垚鑫智能科技有限公司
宣传

位置:中冶有色 >

有色技术频道 >

> 新能源材料技术

分类:
全部
矿山技术
冶金技术
材料制备及加工技术
环境保护技术
分析检测技术
 
全部
功能材料技术
复合材料技术
新能源材料技术
合金材料技术
加工技术
地区:
全部
北京
天津
上海
重庆
河北
山西
辽宁
吉林
黑龙江
江苏
浙江
安徽
福建
江西
山东
河南
湖北
湖南
广东
海南
四川
贵州
云南
陕西
甘肃
青海
内蒙
广西
西藏
宁夏
新疆
其他
其他
展开
 
全部
天津

天津有色金属新能源材料技术理论与应用

免费发布技术信息>>
新能源汽车电池壳检测装置

本发明公开了一种新能源汽车电池壳检测装置,涉及新能源汽车技术领域,包括检测台,检测台呈框架结构,其中部镂空,底壁四周固定多个支撑腿,还包括:两个可调式夹持机构,两个可调式夹持机构对称设置在检测台的顶面,用于对电池壳进行夹持和角度调节;两个立架,检测台的两端对称开设有导轨槽,所述立架的底部分别滑动设置在导轨槽内,且立架通过X轴驱动机构驱动。本发明采用检测螺钉与螺钉孔进行安装和拆卸的检测方式,提高实际检测的准确性,确保在壳体实际安装时螺钉与螺丝孔可顺利的安装固定,检测结果更加准确,便于后续的壳体安装工序,同时对于壳体上不同位置和丝孔开设角度的螺钉孔均可检测,检测更加全面彻底,操作过程更加高效。

标签:
新能源
天津 - 天津 来源:中冶有色网 2023-03-18
用于新能源汽车电池管路性能快速检测系统

本发明公开了一种用于新能源汽车电池管路性能快速检测系统,包括检测设备和按键模块,所述检测设备内部安装有电源模块;靠近电源模块的所述检测设备一侧安装有充电接口,所述检测设备一侧安装有LCD显示模块,靠近LCD显示模块的所述检测设备一侧安装有语音发声模块。该用于新能源汽车电池管路性能快速检测系统设置有温度检测模块可以对冷却液进行温度检测,温度检测模块温度检测后会将数据发动到第三微处理模块处,第三微处理模块会对温度数据进行数据分析,第三微处理模块数据分析后会将分析后的结果发送到第三信息发送模块内,第三信息发送模块接收到数据结果后会发送到信息处理模块内,方便冷却液测温机构可以对冷却液的温度进行快速测温。

标签:
新能源
天津 - 天津 来源:中冶有色网 2023-03-18
具有充电枪收纳功能的新能源汽车充电桩

本发明涉及一种具有充电枪收纳功能的新能源汽车充电桩,包括充电桩本体,该充电桩本体包括底座、充电主体、顶盖及充电枪,在底座的中部安装有充电主体,在充电主体的顶部安装有顶盖,在充电主体的左右两侧通过充电线引出两个充电枪,其特征在于:还包括充电枪收纳机构,在所述充电主体的左右两侧安装有充电枪收纳机构,所述的充电线及充电枪收纳在该充电枪收纳机构内。本具有充电枪收纳功能的新能源汽车充电桩,在需要收纳时,可将充电枪收纳在柜体的充电枪载块上,使用时,将充电枪取下,由出枪口处穿出置于枪托上,实现在充电枪的收纳与使用,达到避免其受损的目的,降低维修成本。

标签:
新能源
天津 - 天津 来源:中冶有色网 2023-03-18
水陆两用新能源车
水陆两用新能源车 1125     
 0

本发明实施例公开了一种水陆两用新能源车,属于新能源机车技术领域,包括驾驶室、浮动机构、底盘、转向装置和动力装置,驾驶室设置在底盘的上端,底盘内滑动设置有浮动机构,浮动机构与底盘传动连接,底盘的后端设置有动力装置,底盘的前端设置有转向装置。其使用时,当机车在陆上行驶时,浮动机构上的气缸筒利用活塞杆将底盘撑开,使得浮动气囊缩进底盘中,此时驱动车轮和转向车轮为竖直状态,当机车在水面滑行时,机车的浮动气囊伸出底盘之外,此时驱动车轮和转向车轮为倾斜状态,以增大机车与水面的接触面积,从而降低吃水深度,有利于机车在水中行驶。本发明设计新颖,功能实用,通过降低机车整体的吃水深度,有效的提高机车的机动性。

标签:
新能源
天津 - 天津 来源:中冶有色网 2023-03-18
新能源汽车电池冷却系统

本发明属于新能源汽车电池技术领域,具体的说是一种新能源汽车电池冷却系统,包括电池存储箱和T型散热管,电池存储箱与T型散热管利用橡胶管连接,电池存储箱包括箱体、电机、转动轴、隔板、风扇、出风管,箱体左侧固定设置电机,箱体内腔中部设置转动轴,转动轴轴向上均匀设置一组风扇,箱体内腔的前、后两部分别等间设置一组隔板,隔板与箱体内壁固连,箱体中部前后两端分别设置一组通风孔,箱体右侧设置出风管,利用隔板将电池存储箱隔成大小相同的隔间,隔间内放置蓄电池,电机带动风扇旋转,产生空气流动,将电池使用时产生的热量通过通风孔从隔间抽出,通过橡胶管连接的T型散热管排出,快速有效的降低了电池的高温。

标签:
新能源
天津 - 天津 来源:中冶有色网 2023-03-18
电池箱及新能源汽车
电池箱及新能源汽车 924     
 0

本发明涉及新能源汽车技术领域,尤其是涉及一种电池箱及新能源汽车。电池箱包括箱体和至少一个隔板;所述箱体内部通过隔板分隔成多个用于放置电池的电池仓,每个所述隔板上均开设有用于串联多个所述电池的导通孔;所述箱体包括框架和多个开关门,所述框架的至少一侧设置有开口结构,多个所述开关门均可拆卸安装于所述开口结构处且与多个所述电池仓一一对应设置;所述框架上设置有充电接口和放电接口。本发明能够解决电池存放不方便的问题。

标签:
新能源
天津 - 天津 来源:中冶有色网 2023-03-18
新能源汽车电驱动系统电机轴向电磁骚扰消除装置

本发明提供了一种新能源汽车电驱动系统电机轴向电磁骚扰消除装置,包括前连接轴和后连接轴,所述前连接轴的一端用于连接电机轴,另一端设有连接盘一,所述后连接轴一端用于连接测试设备,另一端设有连接盘二;所述连接盘一与连接盘二之间设有对应的螺栓孔,所述连接盘一与连接盘二之间通过固定螺栓连接,所述固定螺栓对应设有绝缘护套,所述绝缘护套设在固定螺栓外侧,并设只在螺栓孔中;所述连接盘一和连接盘二之间设有绝缘垫,用于隔离连接盘一和连接盘二。本发明所述的新能源汽车电驱动系统电机轴向电磁骚扰消除装置能够在保证电机稳定运行的情况下,更加安全的消除由电机轴向产生的电磁骚扰。

标签:
新能源
天津 - 天津 来源:中冶有色网 2023-03-18
新能源汽车电池监控评估系统及均衡评估方法

本发明提供了一种新能源汽车电池监控评估系统及均衡评估方法,包括控制处理模块、数据采集模块、SOC评估模块,所述控制处理模块分别连接数据采集模块、SOC评估模块;所述数据采集模块包括电压采集单元和温度采集单元,通过电压采集单元采集蓄电池的电压数据,通过温度采集单元采集电池的温度数据。本发明所述的新能源汽车电池监控评估系统能够监测蓄电池组的多项数据指标,监控项目完善;并且采用Buck/Boost均衡控制结构巧妙的复用电路架构,成本低、可靠性高、均衡能力强;SOC估算法采用积分法,并加入温度补偿系数和自放电损耗,提高估算精度。

标签:
新能源
天津 - 天津 来源:中冶有色网 2023-03-18
新能源车辆节能动力系统及其控制方法

本发明公开一种新能源车辆节能动力系统,包括发电系统、储能系统、驱动系统和控制系统;所述发电系统和储能系统并联设置,所述驱动系统分别与发电系统和储能系统连接用于接受来自发电系统和/或储能系统的电能;所述发电系统在内燃机起步后保持内燃机工作在最大功率点或系统要求的单位油耗率最低的特征功率点;所述控制系统与所述发电系统、储能系统和驱动系统电连接,用于判断储能系统的电量情况并控制所述储能系统和/或发电系统向驱动系统供电。本发明还公开一种新能源车辆节能动力控制方法,使内燃机一直运行在最大功率点或系统要求的单位油耗率最低的特征功率点,避免了内燃机在怠速或部分负荷时,单位千瓦时油耗率过高的情况。

标签:
新能源
天津 - 天津 来源:中冶有色网 2023-03-18
新能源汽车防撞梁装置

本发明创造提供了一种新能源汽车防撞梁装置,包括第一防撞梁、第二防撞梁、吸能盒、安装板及安装纵梁,所述吸能盒为两个且分别对称设置在第二防撞梁两端部后侧位置,所述安装板分别固定设置在所述吸能盒的后端侧,所述安装纵梁分别固定设置在所述安装板的后侧位置,所述第二防撞梁前部两端分别通过支撑板与所述第一防撞梁的后侧相连,所述第一防撞梁与所述第二防撞梁之间设有多个缓冲柱。本发明创造所述的新能源汽车防撞梁装置采用两个防撞梁,能够在碰撞时大大降低撞击力,两个防撞梁之间缓冲柱的设置能够进一步起到缓冲作用,减少车辆撞击时的能量,降低损伤程度。

标签:
新能源
天津 - 天津 来源:中冶有色网 2023-03-18
新能源轿车中空结构
新能源轿车中空结构 815     
 0

新能源轿车中空发明涉及一种新能源轿车结构,其中空结构在于三根或一根管道贯穿车体,可承载、可通风、可内设节能环保装置。本发明具有结构简单合理、轻质高强、环保节能的优点,有效降低了整车的风阻,并打破了传统轿车没有中空结构这一空白。

标签:
新能源
天津 - 天津 来源:中冶有色网 2023-03-18
用于新能源汽车的动力蓄电池托架

本实用新型实施例公开了一种用于新能源汽车的动力蓄电池托架,具体涉及新能源汽车蓄电池技术领域,包括托座,所述托座的上端开设有放置槽,所述托座的表面位于放置槽内滑动连接有固定板,所述放置槽的底面中部开设有活动槽,所述放置槽的底面靠近活动槽处开设有移动槽,所述托座的底端内部开设有活动腔。本实用新型通过转动旋钮带动连接轴和螺纹杆同步转动,螺纹杆与螺纹筒发生相对转动,产生螺纹力,借助限位滑筒在限位滑杆上的滑动配合以及连接杆的连接固定,推动螺纹筒上端在活动槽内移动,限位滑筒的上端在移动槽内移动,进而带动固定板对动力蓄电池进行夹持固定,从而有利于对不同大小的动力蓄电池进行夹持固定,提高使用效果。

标签:
新能源
天津 - 天津 来源:中冶有色网 2023-03-18
新能源汽车高压电缆屏蔽效能的测试装置

本实用新型提供了一种新能源汽车高压电缆屏蔽效能的测试装置,包括第一屏蔽箱及第二屏蔽箱;第一屏蔽箱及第二屏蔽箱分别与接地平板连接;第一屏蔽箱和第二屏蔽箱上均设有射频连接器,第一屏蔽箱与第二屏蔽箱之间设有可以穿过待测试高压电缆的通道,第二屏蔽箱外壁的射频连接器与阻抗连接;电流测量探头连接接收机,电流测量探头在第一屏蔽箱内,以及第一屏蔽箱与第二屏蔽箱之间两个位置可移动设置。本实用新型一种新能源汽车高压电缆屏蔽效能的测试装置,配合使用第一屏蔽箱、第二屏蔽箱、信号源及电流测量探头,可以实现对不同规格的高压电缆屏蔽效能进行快速测试,具有使用便捷、测试结果可靠以及应用范围广的特点。

标签:
新能源
天津 - 天津 来源:中冶有色网 2023-03-18
太阳能辅助充电系统及新能源汽车

本实用新型涉及太阳能辅助充电新能领域,且公开了一种太阳能辅助充电系统及新能源汽车,包括底座,所述底座顶部中间安装有主体,且主体顶部设有太阳能板,所述底座底部两侧设有通槽,且通槽内部两侧设有滑槽,所述通槽内部顶端连接有推动件,且推动件底部连接有移动板,所述移动板底部连接有连接轴,且连接轴中间连接有滚轮,所述主体一侧连接有转动座,且转动座上连接有转板,所述转板底端设有第一凹槽,且第一凹槽内部设有弹簧柱,所述弹簧柱底部连接有卡头,所述主体一侧底端连接有滑轨,且滑轨上连接有移动块,所述移动块顶部连接有连接杆。该太阳能辅助充电系统及新能源汽车,方便进行移动,同时也能对充电源进行保护作用。

标签:
新能源
天津 - 天津 来源:中冶有色网 2023-03-18
新能源汽车零部件检测设备

本实用新型涉及汽车零部件技术领域,且公开了一种新能源汽车零部件检测设备,包括机体,所述机体底部的四角均固定连接有支撑腿,所述机体的顶部固定连接有底座,所述底座的顶部固定连接有两组固定块,在固定块的内部开设有第一通孔,所述底座的内部开设有两组放置槽,所述放置槽底部内壁固定连接有轴承,所述轴承的中部与螺纹管的底端固定连接。该新能源汽车零部件检测设备,通过拧动把手后,螺纹管与其螺装的活动管之间配合,进而使连接杆带动夹块移动,从而将物料放置在底座上后,夹块从物料的上方将物料夹持,由此即可不用使用多大的力也可防止物料的脱离,由此为操作人员的工作减少难度。

标签:
新能源
天津 - 天津 来源:中冶有色网 2023-03-18
新能源车变速箱外壳切割加工用废屑即时清洁装置

本实用新型涉及变速箱外壳切割加工技术领域,尤其涉及一种新能源车变速箱外壳切割加工用废屑即时清洁装置,解决了现有技术中汽车变速箱外壳切割装置缺少具有即时清洁废屑的切割防护结构的问题。一种新能源车变速箱外壳切割加工用废屑即时清洁装置,包括底箱,所述底箱顶部安装有切割驱动箱,所述切割驱动箱的一侧安装有定料气缸,还包括:加工槽,所述加工槽开设在底箱的上端面。本实用新型通过壳罩的腔体结构保持密封,控制进料口和出料口位置处的气囊套充气以对外壳密封夹持,开启吹风机,控制切割的碎屑落入加工槽下方,并收集在一侧的收集箱内,实现了一种不仅有防碎屑效果,而且可以即时清理加工区,即时回收废屑的切割装置用防护结构。

标签:
新能源
天津 - 天津 来源:中冶有色网 2023-03-18
新能源汽车空调教学训练平台系统

本实用新型涉及一种新能源汽车空调教学训练平台系统。包括实车空调操作面板和采集实车空调操作面板的输入状态信息的空调面板状态采集盒,还包括模拟空调系统、接收故障状态设定并显示故障状态参考信息、接收学员故障判断操作的汽车空调系统训练操作面板以及用于中转传输信息的空调教学平台综合接口盒;实车空调操作面板与空调面板状态采集盒通信连接,空调面板状态采集盒和汽车空调系统训练操作面板两者与空调教学平台综合接口盒通信连接;还包括安装有教学软件的上位机,空调教学平台综合接口盒与上位机通信连接。本实用新型提供了一种新能源汽车空调教学训练平台系统,提高教学训练活动的安全性,提升教学训练的效果。

标签:
新能源
天津 - 天津 来源:中冶有色网 2023-03-18
新能源内藏式迷你折叠双减震电动车

本实用新型公开了一种新能源内藏式迷你折叠双减震电动车,包括车身主体和电驱装置,车身主体上方设有电驱装置,电驱装置焊接在车身主体上,车身主体上方设有把手,把手固定连接在车身主体上,车身主体上方设有折叠锁,折叠锁传动连接在车身主体上,车身主体下方设有轮胎,轮胎转动连接在车身主体上。该种新能源内藏式迷你折叠双减震电动车设有皮带,皮带具有高强度,代替了传统的链条,相比于铁链条,皮带不会掉油,也没有齿轮,不会卡住和弄脏用户的裤脚,同时,这款电动车可以根据用户的指令来增加和减小电驱动器的动力比例,让电动车的续航时间更长。

标签:
新能源
天津 - 天津 来源:中冶有色网 2023-03-18
方便查询的新能源公交站牌

本实用新型公开了一种方便查询的新能源公交站牌,它涉及新能源领域,站名牌和扬声器的两侧均设置有LED照明灯组,站牌本体的一端设置有电子路线指示器,站牌本体和电子路线指示器的上端设置有防雨檐,电子路线指示器上设置有显示屏和数个按键,站牌本体的顶部中间位置设置有支撑柱,支撑柱的下部设置有支撑架,支撑架上设置有数个太阳能电池板,风能发电装置设置在支撑柱的顶部,且风能发电装置与支撑柱的连接处设置有转动圆盘。它不仅可以降低对城市电力能源的消耗,还能提供良好的照明环境和清晰的线路标志,乘客能够及时了解公交车辆的运行情况和实时位置信息,通过电子路线指示器可以方便人们选择乘坐适合的车次。

标签:
新能源
天津 - 天津 来源:中冶有色网 2023-03-18
基于新能源的生物质能燃烧设备

本发明公开了新能源领域的一种基于新能源的生物质能燃烧设备,其主要包括竖直设置的燃烧炉主体,所述燃烧炉主体中部固定有穹拱形炉壁,穹拱形炉壁将燃烧炉主体分为上方的尾气室与下方的炉膛,所述尾气室内安装有进料机构,所述炉膛内安装有重量感应机构,所述进料机构根据炉膛内可燃物的重量控制进料机构向炉膛内供料。本发明能够根据燃烧设备内的可燃物燃烧状况自动控制可燃物投料,在燃烧不完全时不投料,在可燃物燃烧完毕后进行自动少量固定投料,既避免了人工操作,也有利于可燃物燃烧,提高了燃烧效率。

标签:
新能源
天津 - 天津 来源:中冶有色网 2023-03-18
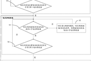
用于新能源汽车低压蓄电池的智能维护方法

本发明公开了一种用于新能源汽车低压蓄电池的智能维护方法,属于电动汽车技术领域。所述用于新能源汽车低压蓄电池的智能维护方法包括充电智能维护流程,当VCU检测到用户对车辆进行充电操作时,VCU控制低压蓄电池进入充电智能维护流程,所述充电智能维护流程依次包括恒流控制阶段、恒压控制阶段和脉冲控制阶段。本发明能够在保证低压蓄电池正常工作的情况下,确保低压蓄电池在不亏电的同时可以缩短其容量衰减,延长其使用寿命。

标签:
新能源
天津 - 天津 来源:中冶有色网 2023-03-18
抗震型新能源汽车电池装卡装置

本发明公开了一种抗震型新能源汽车电池装卡装置,包括由单体电池成排排布组成的电池组,电池组的上部设置有上卡箍,电池组下部设置有下卡箍,所述上卡箍和下卡箍的结构相同,均由两个半体卡箍拼接而成,半体卡箍上设置有用于装卡单体电池的凹槽,组装时,使凹槽卡入单体电池中,最后通过螺栓穿入两个半体卡箍的螺栓连接端,完成两个半体卡箍的拼接;在上卡箍和下卡箍上还设置有螺栓孔,通过螺栓将下卡箍与电池箱体底面固定,且在下卡箍和电池箱体底面之间设置有第一减震垫;通过螺栓将上卡箍与箱体上盖固定,且在箱体上盖和电池箱体之间设置有第二减震垫。本发明所提供的新能源汽车电池装卡装置结构合理、便于组装、减震效果好。

标签:
新能源
天津 - 天津 来源:中冶有色网 2023-03-18
新能源电动汽车磷酸铁锂电池包管理系统

本发明提供了一种新能源电动汽车磷酸铁锂电池包管理系统,属于新能源汽车技术领域,包括主板、子板和CAN总线,管理系统由一块主板和若干块子板组成,主板与各个子板通过CAN总线相连,每个子板可管理24节电池,并将数据通过CAN总线传输到主板,主板对各个子板的数据进行集中处理,并且负责对外通信及显示,以此形成一个电池管理网络。本发明的有益效果为:采用分布式设计,具有应用灵活、扩展性强、采集和数据处理速度快等优点,能够实时采集电池包总电压、各单体电压及绝缘性能检测等数据,并通过触摸屏液晶显示终端实时显示,结合实车工况特性研究,能够更加准确地进行SOC估算和电池寿命预测,为电动汽车的安全运行提供有力保证。

标签:
新能源
天津 - 天津 来源:中冶有色网 2023-03-18
方便调节切割新能源用钢管长度的切割装置

本实用新型公开了一种方便调节切割新能源用钢管长度的切割装置,涉及切割设备技术领域,其包括底板,所述底板下表面的四角处均固定连接有支撑腿,所述底板的上表面与两个支撑杆的底端固定连接,且两个支撑杆的顶端均与圆筒的下表面固定连接,所述圆筒位于U型板内,所述U型板的下表面与底板的上表面固定连接。该方便调节切割新能源用钢管长度的切割装置,通过设置手轮、螺纹柱、螺纹帽、转轴、支撑板和挡块,使得螺纹柱通过转轴和轴承带动支撑板向右移动,使得支撑板通过两个连接杆带动挡块向右移动,使得工作人员更加方便调节刀具切割钢管的长度,不需要工作人员每次切割后,再对钢管重新测量标记,提高了工作人员的工作效率。

标签:
新能源
天津 - 天津 来源:中冶有色网 2023-03-18
新能源智能灌溉系统
新能源智能灌溉系统 993     
 0

本实用新型涉及农业技术领域,尤其是一种新能源智能灌溉系统,包括三通连接阀,三通连接阀包括连接外壳、小型电动增压泵、小型电控水阀和无线控制器组成,三通连接阀左侧具有向外凸起的左水管连接头,三通连接阀上端具有向外凸起的上水管连接头,三通连接阀右端具有向外凸起的右水管连接头。本实用新型的一种新能源智能灌溉系统通过在连接输水管正前方向阳面开设具有翻转供电机构,通过翻转供电机构给连接外壳内部的小型电动增压泵、小型电控水阀和无线控制器供电,降低供电和控制连接设备铺设成本,提升耐用和实用性,集成化程度大大提升,耐用性和实用性显著提高,安全性也大大增强。

标签:
新能源
天津 - 天津 来源:中冶有色网 2023-03-18
空气能与太阳能互补的新能源充电站

本实用新型涉及空气能与太阳能互补的新能源充电站,属新能源利用技术领域。包括充电桩、光伏组件、空气压缩机组、热电转化机组、热光互补控制器、蓄电池。所述热光互补控制器的光伏输入端与光伏组件的输出端连接。所述热光互补控制器的气电输入端与热电转化机组连接,所述热电转化机组与空气压缩机组连接。所述热光互补控制器的充放电控制端与蓄电池连接。所述热光互补控制器的负载输出端经一直流逆变器与充电桩的电源端连接。所述蓄电池与充电桩实现电连接。与现有技术下单一采用空气能或太阳能的充电站相比,本实用新型将两大可再生能源结合利用,提高充电速度,保障充电站稳步运行。

标签:
新能源
天津 - 天津 来源:中冶有色网 2023-03-18
新型新能源自动售货机

本实用新型公开了一种新型新能源自动售货机,包括机体和连接门,所述机体上设置有操作盘,所述机体上设置有出料框,靠近出料框的所述机体上设置有挡板,所述机体的一侧设置有指示灯,所述机体内固定有零食框,所述机体的一侧连接有第一弹簧转轴,所述连接门和机体之间通过第一弹簧转轴相连接,所述机体内固定有货架。该新型新能源自动售货机的零食框上的放置板倾斜设置,方便购买者取出高处的零食,且可以缓冲货物的撞击,保证售出货物的品质,并且当货物落至底板上时,由于货物的重力,底板会下压,使得底板上的第二滑条会压着开关卡块,从而使得指示灯保持明亮,对购买人员进行提示,表明还有货物尚未取走。

标签:
新能源
天津 - 天津 来源:中冶有色网 2023-03-18
硅胶绝缘新能源汽车屏蔽电缆

本实用新型公开了一种硅胶绝缘新能源汽车屏蔽电缆,属于电线电缆制造技术领域,硅胶绝缘新能源汽车屏蔽电缆包括自内向外设置的绞合导体、硅胶绝缘层、编织屏蔽层、护套层,其特征在于:所述硅胶绝缘层与所述编织屏蔽层之间设置石墨炭黑层。本实用新型采用石墨炭黑胶层代替了绕包铝塑复合带层,增加了柔软性,使所有电缆部件与其工作温度完全匹配,石墨炭黑胶层具有半导电特性,半导电层与屏蔽的编织或缠绕铜丝良好接触,没有铝箔表面氧化问题。

标签:
新能源
天津 - 天津 来源:中冶有色网 2023-03-18
用于新能源汽车的空气压缩机空气过滤装置

本实用新型涉及新能源汽车技术领域,具体为一种用于新能源汽车的空气压缩机空气过滤装置,包括进气管,所述进气管的内部转动连接有套筒,所述套筒的内部开设有贯穿槽,所述套筒的外部固定连接有滤网,所述套筒的一侧固定连接有第一电机,所述进气管的内部固定连接有密封条。本实用新型的优点在于:通过设置套筒,进气管的内部转动连接有套筒,套筒的内部开设有贯穿槽,套筒的外部固定连接有滤网,套筒的一侧固定连接有第一电机,进气管的内部固定连接有密封条,第一电机带动套筒在进气管中进行转动,从而使滤网旋转进行使用,滤网为圆柱形,使得滤网的面积较进风管的管口面积较大,增大滤面的过滤面积,便于实际过滤工作的进行。

标签:
新能源
天津 - 天津 来源:中冶有色网 2023-03-18
便于维护的新能源电池水冷机

本实用新型公开了一种便于维护的新能源电池水冷机,包括:主体,且主体可以对设备进行安装,所述主体一侧安装有控制面板,所述主体前部连接有检修板,所述主体顶部连接有风机罩。该便于维护的新能源电池水冷机,当转动块滑动到第一对接槽内部时可以拉动检修板进行移动,检修板移动时可以与检修槽进行拆分离,方便检修板拆卸后可以对主体内部的设备可以进行维护,当螺栓滑动出第二对接槽时可以对风机罩进行拆卸,风机罩拆卸后可以进行清理,方便风机罩可以进行快速拆卸清理,密封垫受到挤压时可以通过自身橡胶材质产生形变,密封垫形变后可以将输送口与插孔之间的缝隙进行密封,方便输送口与连接管在连接工作时避免泄漏。

标签:
新能源
天津 - 天津 来源:中冶有色网 2023-03-18
上一页 35 36 37 38 39 ... 48 下一页
共48页    到第

中冶有色为您提供最新的天津有色金属新能源材料技术理论与应用信息,涵盖发明专利、权利要求、说明书、技术领域、背景技术、实用新型内容及具体实施方式等有色技术内容。打造最具专业性的有色金属技术理论与应用平台!

全国热门有色金属设备推荐
展开更多 +
全国热门有色金属技术推荐
展开更多 +

 

江西省隆恩特环保设备有限公司
宣传

报名参会
更多+

报告下载

有色专家
更多+

广东省科学院资源利用与稀土开发研究所
教授
矿冶科技集团有限公司
所长/研究员级高工
湖南科技大学
所长/教授
中冶沈勘秦皇岛工程技术有限公司
原矿山院院长/教授级高工
中国矿业大学
副院长/教授
赤泥综合利用研究报告2025
推广

热门技术
更多+

推荐企业
更多+

福建省金龙稀土股份有限公司
宣传

发布

在线客服

公众号

电话

顶部
咨询电话:
010-88793500-807