青岛垚鑫智能科技有限公司
宣传

位置:中冶有色 >

有色技术频道 >

分类:
全部
矿山技术
冶金技术
材料制备及加工技术
环境保护技术
分析检测技术
 
全部
废水处理技术
大气治理技术
固/危废处置技术
土壤修复技术
地区:
全部
北京
天津
上海
重庆
河北
山西
辽宁
吉林
黑龙江
江苏
浙江
安徽
福建
江西
山东
河南
湖北
湖南
广东
海南
四川
贵州
云南
陕西
甘肃
青海
内蒙
广西
西藏
宁夏
新疆
其他
其他
展开
 
全部
福州
厦门
漳州
泉州
三明
莆田
南平
龙岩
宁德

福建泉州有色金属环境保护技术理论与应用

免费发布技术信息>>
去除废水中四环素的方法

本发明公开了一种去除废水中四环素的方法。其是将鸡蛋壳、海蛎壳、扇贝壳、鸭蛋壳等废弃的生物质用清水洗净,然后于NaOH溶液中浸泡后,洗净烘干,研磨成粉;取制备好的粉末,加入含四环素的废水中,磁力搅拌后先在暗反应条件下反应30 min,然后加光处理120 min,即可实现废水中四环素的有效去除。本发明材料易得,成本低,可实现生物废弃物的回收再利用,且制备过程及设备要求简单,反应条件温和,无污染。经检测,按本发明方法处理含四环素废水,其降解率可达94%~98%。

标签:
废水处理
福建 - 泉州 来源:中冶有色网 2023-03-19
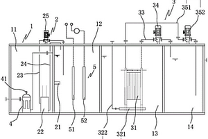
新型的锌镍废水环保回收处理设备

本实用新型属于废水处理技术领域,尤其涉及一种新型的锌镍废水环保回收处理设备,包括地面,所述地面顶部的左侧固定连接有过滤箱,所述过滤箱的内腔设置有过滤机构,所述过滤箱底部的右侧通过固定板固定连接有第一水泵;本实用新型通过设置第一导流块、第二导流块、过滤网和过滤板之间的配合使用,便于使用者对废水中的大颗粒杂质进行过滤,通过设置电机、主动轮、第一旋转轴、从动轮和第二旋转轴之间的配合使用,便于使用者对药品和污水进行充分混合,通过设置过滤棉板、海绵吸附板和活性炭吸附板之间的配合使用,增加了设备的净化效果,解决了传统新型的锌镍废水环保回收处理设备对锌镍废水净化效果差的问题。

标签:
废水处理
福建 - 泉州 来源:中冶有色网 2023-03-19
环保型印染废水处理装置

本实用新型公开了环保型印染废水处理装置,包括废水处理主塔,所述废水处理主塔底部设有沉淀主池,所述沉淀主池右侧设有循环萃取管,所述循环萃取管左侧设有溶剂分离器,所述溶剂分离器底部设有中枢水罐,所述中枢水罐右侧设有传输水管,所述传输水管底部设有曝气涡旋轮,所述曝气涡旋轮左侧设有脉冲萃取池,所述废水处理主塔上表面设有防腐蚀传输管,所述防腐蚀传输管底部设有冲力缓冲垫,所述冲力缓冲垫底部设有套管散热器,所述调压阀门左侧设有加压泵体,所述加压泵体上表面设有防回流装置,所述防回流装置上表面设有生物反应器。该种环保型印染废水处理装置结构简单,功能实用,能满足废水处理行业对印染废水处理装置的实用需求。

标签:
废水处理
福建 - 泉州 来源:中冶有色网 2023-03-19
有机废水一体化处理装置

一种有机废水一体化处理装置,包括壳体、冷却系统和MBR膜系统;壳体,包括形成在其内部依次连接的过滤区、电催化氧化区、MBR反应区和储水区;冷却系统,设置在过滤区中,对电催化氧化区的有机废水进行降温,包括设置在电催化氧化区中的温度传感器、设置在过滤区的换热器、连接在换热器进口与电催化氧化区的进水管、连接在换热器出口与电催化氧化区之间的回流管和设置在进水管的输送泵;MBR膜系统,设置在MBR反应区,对电催化氧化区净化后的有机废水进行处理,温度传感器对电催化氧化区的有机废水温度进行检测,当检测的温度值超过预设值,经输送泵将有机废水输送至换热器中进行散热后再回流至电催化氧化区重新处理,保证电催化氧化区的处理效果。

标签:
废水处理
福建 - 泉州 来源:中冶有色网 2023-03-19
废水零排放处理一体化设备

本发明公开了一种废水零排放处理一体化设备,包括装置壳体,所述装置壳体的内腔中设有反应槽,所述反应槽通过导管接通有提升泵,所述反应槽的出液端通过导管接通有TMF废水槽,所述TMF废水槽的右侧接通有TMF清洗装置,所述TMF清洗装置的下侧接通有TMF产水槽,所述TMF产水槽的出液端接通有一级RO系统,所述一级RO系统分别与二级RO系统、RO浓缩水槽和RO产水槽接通,所述二级RO系统与RO浓缩水槽相互接通。此废水零排放处理一体化设备通过安装二级RO系统,使得TMF产水槽内的水进入二级RO系统,产水回收率高,剩余的RO浓缩水槽内的水经过蒸发器蒸发结晶,达到废水零排放处理的效果。

标签:
废水处理
福建 - 泉州 来源:中冶有色网 2023-03-19
旋转过滤的废水处理装置

本发明公开了一种旋转过滤的废水处理装置,其结构包括废水处理装置、机体、显示器、支撑脚、出料斗、清洗水龙头、进料口、控制柜,废水处理装置安装在机体内部,支撑脚依次连接成长方形结构排列于机体底部,控制柜背部与机体前侧垂直连接,显示器背部与控制柜前侧固定连接,机体顶端设有进料口,清洗水龙头底部与机体右端顶部垂直连接,出料斗左端与机体右端内部导通连接,该装置在对废水进行处理的时候能够快速将废水内部的杂质进行沉淀,然后去除,最后碾压粉碎排出,这样不仅能够快速完成对废水的过滤,同时碾压后的杂质更加便于后续的放置。

标签:
废水处理
福建 - 泉州 来源:中冶有色网 2023-03-19
造纸废水微电解预处理装置

本发明公开了一种造纸废水微电解预处理装置,包括微电解反应池、旋转式微电解装置、折板絮凝池、过渡池和斜板沉淀池,所述旋转式微电解装置架设在微电解反应池上,所述微电解反应池、折板絮凝池、过渡池和斜板沉淀池前、后池体之间共用池壁,且前后之间依次连通;所述旋转式微电解装置旋转工作,所述微电解反应池中的废水依次流经折板絮凝池、过渡池和斜板沉淀池后进入下一级废水反应器。本发明提供一种造纸废水微电解预处理装置,无需鼓风曝气系统,具有投资费用低、运行稳定、维护方便、经济性高等特点,预处理后的造纸废水可生化性提高。

标签:
废水处理
福建 - 泉州 来源:中冶有色网 2023-03-19
综合处理兰炭废水的系统

一种综合处理兰炭废水的系统,包括调酸加药池、浅层气浮装置、萃取反应器、反萃取反应器和隔油器;调酸加药池,用于调整兰炭废水的酸碱度;浅层气浮装置,与调酸加药池连接,以去除焦油类物质;萃取反应器,与浅层气浮装置连接,以萃取兰炭废水中的酚油;反萃取反应器,与萃取反应器连接,以回收萃取剂;隔油器,与反萃取反应器的水相出口连接,以回收酚油;本装置通过酸析、萃取和反萃取工艺,脱除了废水中的焦油,并实现了酚油的资源化回收,增加了兰炭生产企业的经济效益;同时废水中的COD可由40000‑50000mg/L降低至5000‑6000mg/L,大幅降低了后续工艺的处理负荷。

标签:
废水处理
福建 - 泉州 来源:中冶有色网 2023-03-19
兰炭废水的处理设备
兰炭废水的处理设备 850     
 0

一种兰炭废水的处理设备,包括调碱加药池、除油反应器、汽提脱氨反应器、蒸发器、电解反应器、生化池和出水池;调碱加药池,用于调整兰炭废水的酸碱度;除油反应器,与调碱加药池连接,用于去除兰炭废水中的重油;汽提脱氨反应器,与除油反应器连接,以脱除兰炭废水中的氨氮;蒸发器,与汽提脱氨反应器连接,以去除兰炭废水中难降解的有机物;电解反应器,与蒸发器连接,接收蒸发器产生的蒸发冷凝液,电解去除蒸发冷凝液中的毒性有机物;生化池,与电解反应器连接,处理进入的兰炭废水以降低兰炭废水中COD、总氮及总磷的浓度;本装置设置除油反应器,可有效脱除兰炭废水中的重油,减少后续处理工艺的负荷。

标签:
废水处理
福建 - 泉州 来源:中冶有色网 2023-03-19
有机硅废水的分类处理装置

本实用新型涉及一种将有机硅废水的分类处理装置,包括一级废水处理单元,二级废水处理单元,三级类废水处理单元和四级废水处理单元,所述一级废水处理单元包括依次连接地第一调节池,第一反应池,第二反应池,第一沉淀池,第一中转池和蒸发系统;所述二级废水处理单元包括依次连接地第二调节池,隔油池,第三反应池,微电解池,高级氧化池,第四反应池,第五反应池,第六反应池,第二沉淀池;所述三级废水处理单元包括依次连接地第三调节池,UASB池,接触氧化池,第七反应池,第八反应池,第三沉淀池和第二中转池;所述四级废水处理单元包括废酸调节池。该装置克服了现有技术中对于有机硅废水处理过程复杂、效果差的技术问题,能够实现有机硅废水的绿色、环保、节能处理。

标签:
废水处理
福建 - 泉州 来源:中冶有色网 2023-03-19
泵站用废水处理装置
泵站用废水处理装置 896     
 0

本实用新型涉及泵站用废水处理装置领域,特别是指一种泵站用废水处理装置,包括有主体,主体上的一侧设有进水管,主体的底部设有出水管,主体内设有过滤机构和支撑架,本实用新型通过过滤机构的叶轮和旋转台相互配合的作用下,在废水的流动力推动下,能够使叶轮发生转动,再通过转轴带动旋转台进行转动,经过旋转台带动过滤网进行旋转,能够将过滤的固体物甩出,避免固体物堆积在过滤网上,以保证过滤网的出水量,避免影响到过滤的效率;同时在导流筒的作用下,能够将废水向下流动的方向均集中在叶轮的位置,使废水的流速变快,叶轮的转动速度便会提高,过滤网的转速便会转的更快,从而增加过滤网的甩力,避免固体物残留在过滤网的滤孔中。

标签:
废水处理
福建 - 泉州 来源:中冶有色网 2023-03-19
一体化废水处理生化反应器

一种一体化废水处理生化反应器,包括进水加热保温系统、内层反应池、外层反应池及布水装置,内层反应池下部设置厌氧反应区,上部设置三相分离区,外层反应池下部设置缺氧反应区,上部设置好氧反应区,三相分离区上部设置有内层集水槽,好氧反应区上部设置有外层集水槽,布水装置包括将废水引入厌氧反应区底部分布的内层布水管及将废水自三相分离区上部的内层集水槽引出至缺氧反应区底部分布的外层布水管,废水可从厌氧反应区上流至三相分离区,可从缺氧反应区上流至好氧反应区,废水净化后通过好氧反应区上部的外层集水槽收集排出。本实用新型为厌氧与缺氧、好氧一体化组合结构,可减少占地面积,降低投资成本、节省运行费用,大大提高处理效率。

标签:
废水处理
福建 - 泉州 来源:中冶有色网 2023-03-19
霜脲氰农药废水的处理方法

本发明涉及废水深度处理领域,提供一种霜脲氰农药废水的处理方法,包括以下步骤:1)、利用固体氢氧化钠对霜脲氰废水进行调碱处理;2)、调碱后,向废水中加入粉末状活性炭,不锈钢作为阴极,石墨作为阳极材料形成三维电级对废水进行电解催化反应;3)、电催化反应结束后,静置并过滤,过滤后用硫酸调节溶液的酸性;4)、强化芬顿反应完成后,先过滤回收铁粉,调pH为8~9后静置,取上清液进入预热系统,将废水输送进蒸发器进行蒸发;5)、将蒸发过程中的馏分利用A/O生化系统的出水稀释后进行生化处理,A/O生化处理后的废水直接进入园区管网系统;6)、蒸发后的残留液离心,干燥得到氯化钠、亚硝酸钠、硫酸钠产品;7)、将剩余的残留液进行高温燃烧,对余热进行回收。

标签:
废水处理
福建 - 泉州 来源:中冶有色网 2023-03-19
利用制革含硫废水制备多元金属硫化物纳米片的方法

本发明公开了一种利用制革含硫废水制备多元金属硫化物纳米片的方法。以硫化物浓度为1542~2700 mg/L的制革高浓度含硫废水为硫源,通过废水预处理、原位共沉淀、水热合成和冷冻干燥等工艺制得多元金属硫化物纳米片SnInxSy。采用本发明的方法处理后的废水可回用于制革脱毛工序或直接进入生化处理单元,制得的多元金属硫化物纳米片(SnInxSy)可见光催化剂兼具比表面积高、可见光响应强、稳定性好等特点,可应用于废水中重金属、有机物的可见光催化降解,达到“以废治废、变废为宝”的绿色发展目的,经济和社会效益显著。

标签:
废水处理
福建 - 泉州 来源:中冶有色网 2023-03-19
制革含铬废水中重金属铬的去除方法

本发明属于废水处理领域,具体涉及一种制革含铬废水中重金属铬的去除方法。该方法包括以下步骤:向制革含铬废水中加入碱液进行第一段去除反应,调节酸碱度;向调节pH后的废水中加入重金属捕集剂,进行第二段去除反应,得到悬浊液;其中,捕集剂优选为皮革废水处理剂LX‑Y803,捕集剂质量:废水中重金属铬质量=1~2:1;向上步得到的悬浊液中依次加入絮凝剂PAM和助凝剂PAC,沉淀,得到反应后废水,符合排放标准。本发明可以使制革废水中重金属铬去除率高于98%,减少铬泥量40%以上。本工艺具有流程简洁高效、低能耗、产含铬污泥量少且后处理简单等显著特点。

标签:
废水处理
福建 - 泉州 来源:中冶有色网 2023-03-19
废旧高分子材料回收利用清洗废水的处理系统

本实用新型公开了一种废旧高分子材料回收利用清洗废水的处理系统,其清洗废水集水池中的废水由潜水泵通过管道泵出,清洗废水集水池之后依序管道连通有刷式过滤器、初级絮凝剂加药系统、综合絮凝剂加药系统和预沉器,预沉器的杂质出口由管道连通集泥池,预沉器的处理水出口连通多介质净水器,多介质净水器的清水出口连通清水池该系统处理量大,可以达到100-110吨/小时,处理效率高,可将特高浊度水处理至3mg/L的清水。使得废旧高分子材料清洗废水污水排放量减少,循环利用率提高,有效地节约了资源,保护了环境。

标签:
废水处理
福建 - 泉州 来源:中冶有色网 2023-03-19
纺织循环印染废水净化处理机构

本实用新型提供一种纺织循环印染废水净化处理机构,属于废水处理设备技术领域,该纺织循环印染废水净化处理机构包括净化箱,净化箱内设有转动机构,净化箱的上端左右两部分别固定有废水进水口和消毒水进料口,且废水进水口与消毒水进料口均与净化箱直接连通,净化箱的右端设有开口,开口处活动插接有滤网架,滤网架与净化箱的右端开口处相匹配,净化箱的左右内壁开设有与滤网架相匹配的滑槽,滤网架的左右两端分别滑动连接于两个滑槽内,滤网架内固定安装有过滤网;本装置操作简单,造价低,且对于纺织印染废水净化处理效果好,使得排出去的水不易对自然环境造成危害。

标签:
废水处理
福建 - 泉州 来源:中冶有色网 2023-03-19
电催化-生物联合处理甲醛废水的方法

本发明提供一种操作简单、反应高效、效果显著,成本低廉,对设备要求较低的电催化‑生物联合处理甲醛废水的方法,包括以下步骤:步骤一、利用废水均质池对不同时段产生的甲醛废水进行收集,收集后混合均匀;步骤二、将混合均匀的甲醛废水先与粗盐混合均匀,再与氧化剂混合均匀;步骤三、将经过步骤二混合均匀的甲醛废水输送到电催化反应器中,对甲醛废水进行持续性电催化处理;步骤四、在反应器对废水进行电催化处理3.0‑9.0小时后,每隔0.5‑1.0小时取样测定甲醛浓度,待电催化反应器中甲醛的浓度降低至500‑600mg/L时,利用回流水稀释并加入调节剂调节甲醛废水的pH值,使得甲醛废水的pH值为7.0‑7.5;步骤五、将调节过pH值的甲醛废水输送到好氧曝气池进行生化反应。

标签:
废水处理
福建 - 泉州 来源:中冶有色网 2023-03-19
同步对有机磷废水预处理和资源化利用的一体化设备

一种同步对有机磷废水预处理和资源化利用的一体化设备,包括电解装置、过滤装置、树脂处理装置和控制器;电解装置,对进入的有机磷废水进行电解处理,包括依次连接的第一电解槽和第二电解槽;过滤装置,与第二电解槽连接,对电解后的有机磷废水进行过滤处理;树脂处理装置,与过滤装置连接,包括间隔设置的多个树脂罐,树脂罐包括罐体和检测废水总磷浓度的磷浓度传感器;控制器,分别与磷浓度传感器和多个树脂控制开关连接,根据磷浓度传感器反馈的信号调控多个树脂控制开关的工作,通过设置电解装置、过滤装置及树脂处理装置对有机磷废水进行预处理,将有机磷废水中的有机磷转化为无机磷,同时降低废水中的COD浓度,减轻后续的生物处理的负荷。

标签:
废水处理
福建 - 泉州 来源:中冶有色网 2023-03-19
蒽醌类染料废水处理方法

本发明公开了一种蒽醌类染料废水处理方法,包含以下步骤:A、将废水原液倒入生物膜反应器中,B、从生物膜反应器中得到的废液进入沉积室进行过滤;C、沉积室取出的过滤液加入蒸馏水进行稀释;D、稀释后的过滤液加入双氧水和氧化铜对过滤液进行处理,得到处理后的液体,本发明先将废水通过设计出来的生物膜反应器,再将氧化铜作为催化剂,双氧水作为氧化剂处理蒽醌废水,使蒽醌废水得到降解。并能够使成本降低。

标签:
废水处理
福建 - 泉州 来源:中冶有色网 2023-03-19
化工厂用的废水回收二次利用设备

本发明公开了一种化工厂用的废水回收二次利用设备,其结构包括废水处理设备、把手、支撑架、出水管、电控器、进水管,通过沉淀室对化工废水进行第一步的沉淀处理,让化工废水中的杂质沉淀,再利用挡物网板和第二过滤网板对其进行隔离和过滤,通过颗粒收集涡轮对过滤室内的废水进行颗粒处理,使水气生物膜得到充分交换,使水中的有机物得到高效处理,并且利用负压曝气机构将外界的氧气导入废水中,并通过反水机构对废水进行搅拌,加强过滤室内有机物与微生物及溶解氧的接触,对污水中有机物进行氧化分解,提高对化工废水的处理,并且该结构成本较低,适于推广使用。

标签:
废水处理
福建 - 泉州 来源:中冶有色网 2023-03-19
新型的生活废水处理器
新型的生活废水处理器 1086     
 0

本发明公开了一种新型的生活废水处理器,其结构包括支撑底座、电控箱、处理槽、入水口、第一电机、第二电机、加药口、混合处理箱、出液口,本发明在搅拌装置的初级搅拌处理下,将生活废水中存在的大颗粒进行搅拌处理后,通过过滤机构过滤后流经到膜组件内进行二级处理,二级处理后的废水流经到混合处理腔的内部与药液进行混合净化,经过三级处理可达到生活废水处理的最佳效果,过滤后残留在过滤板上的物质通过刮板清除由排渣口排放,实现高效过滤的同时降低过滤通道的堵塞,而水平滑动轨道的左端口三角形结构的设计与出液挡板装置相结合,实现定量的液体排放,防止一次性大量排放对二级与三级处理不全面的缺点。

标签:
废水处理
福建 - 泉州 来源:中冶有色网 2023-03-19
废气废水一体化处理装置

本实用新型公开了一种废气废水一体化处理装置,包括处理箱、回收箱、脱附风机和净化器,处理箱内部分别设有粗孔过滤网和细孔过滤网,细孔过滤网一侧设有加热管,加热管顶部设有喷淋头,处理箱底部靠近于粗孔过滤网一侧设有若干排渣管,加热管和电控柜连接,处理箱顶部通过进气管连接脱附风机,脱附风机一侧设有净化器,净化器设有排气管,净化器一侧设有药剂箱,药剂箱通过连接管连接喷淋头,通过处理箱将生活废水集中收集经过粗孔过滤网和细孔过滤网双重过滤废水中的残渣颗粒,药箱内部的药剂通过喷洒头喷洒于废水内,中和处理废水,并且用加热管高温消毒杀菌,处理后的废水收集到回收箱内部,循环使用,本实用新型设计合理,适合推广使用。

标签:
废水处理
福建 - 泉州 来源:中冶有色网 2023-03-19
氯化钙高盐废水零排放处理装置

本实用新型涉及高盐废水处理技术领域,具体为一种氯化钙高盐废水零排放处理装置,包括废水箱,所述废水箱的顶部固定连接有进水口,所述进水口的顶部活动连接有过滤板,所述废水箱的内部固定连接有第一进水管,所述第一进水管的一侧固定连接有第一水泵,所述第一水泵的一侧固定连接有第一出水管。该氯化钙高盐废水零排放处理装置,通过设置出气管,出气管的一端固定连接有电解箱,出气管的另一端固定连接有水箱,废水箱内部的废水进入电解箱的内部,经过电解箱,使氯化钙高盐废水进行电解反应,产生的氯气通过出气管进入水箱,产生的淡水通过第二进水管和第二出水管进入水箱,使氯气与淡水产生反应,形成次氯酸,完成零排放处理的目的。

标签:
废水处理
福建 - 泉州 来源:中冶有色网 2023-03-19
新型化工废水过滤监测装置

本实用新型公开了一种新型化工废水过滤监测装置,包括过滤箱和监测箱,所述过滤箱左侧设置有进水口,所述过滤箱中设置有过滤网和过滤膜,所述过滤箱右测下端设置有出水口,所述出水口上端连接设置有水管,所述水管的最下端设置有闭合阀,所述水管的上端设置有水泵,所述水管的另一端设置有监测箱,所述监测箱上端设置有废水监测仪,所述废水监测仪上端设置有数值显示屏,所述废水监测仪设置有TDS探针,所述监测箱下端右侧设置有排水管,本实用新型结构简单,并且过滤箱中的过滤网可过滤废水中的块状异物,过滤膜可过滤废水中细小的金属物,监测箱中的TDS探针可检测出废水的数值达标状况,进行排放,实用性强。

标签:
废水处理
福建 - 泉州 来源:中冶有色网 2023-03-19
环保废水废气治理装置

本实用新型公开了一种环保废水废气治理装置,包括废水废气处理柜体,所述废水废气处理柜体内部从上到下分别设置有废水滤渣腔和废水反应腔,所述废水滤渣腔内设置有用于过滤废水中杂质的废水滤渣组件,所述废水滤渣腔左上端开设有废水废气进口,所述废水滤渣组件右下方开设有用于连通废水滤渣腔和废水反应腔的进水口;该环保废水废气治理装置,可以通过抽气扇将进入废水滤渣腔的废气抽出,并利用废气过滤组件的进行过滤净化,通过废水滤渣组件和药剂反应可以过滤出废水中的固体杂质和降低废水的污染。

标签:
废水处理
福建 - 泉州 来源:中冶有色网 2023-03-19
己内酰胺综合废水处理装置及其处理方法

本发明提供一种系统性、流程短、稳定可靠、高效、操作简便、可大幅降低己内酰胺综合废水中的污染物浓度、可有效降低己内酰胺综合废水的生物毒性、提高己内酰胺综合废水的可生化性、低成本的达到排放要求的一种己内酰胺综合废水处理装置及其处理方法,包括依流线依次连通的用于将己内酰胺综合废水的pH值调节至11以上的调碱池、用于对从所述调碱池出来的己内酰胺综合废水进行吹脱处理的吹脱塔、用于对从所述吹脱塔出来的己内酰胺综合废水进行电解处理的电解槽、用于对从所述电解槽出来的己内酰胺综合废水进行水解酸化处理的水解酸化池、用于对从所述水解酸化池出来的己内酰胺综合废水进行多次缺氧、好氧生化处理的SBR池。

标签:
废水处理
福建 - 泉州 来源:中冶有色网 2023-03-19
应用液体静、动力学原理的废水深度处理工艺

本发明涉及一种应用液体静、动力学原理的废水深度处理工艺,包括将废水送入酸碱调节池进行酸碱调节处理、将酸碱调节处理后的废水输入混凝池进行混凝处理以及将混凝处理后的废水经导流槽吸滤装置预处理后再送入生化池中进行生化处理,在酸碱调节处理之前还包括用以处理颗粒物和悬浮物的平流去渣沉砂降泥处理,在生化处理之后进行深度处理,深度处理依次包括正向沉淀处理和逆向沉淀处理,将深度处理后得到残渣进行残渣处理。通过该工艺达到节能环保、废水处理效率高、能够实现循环利用的特点,且该工艺运行成本极低(只有传统处理方法的60-70%,膜处理费用的五分之一),处理后的水质不亚于膜的处理的,且处理后水的回用率高于膜处理的水的回用率。

标签:
废水处理
福建 - 泉州 来源:中冶有色网 2023-03-19
焚烧炉环保废水处理装置

本实用新型公开一种焚烧炉环保废水处理装置,包括焚烧炉本体,焚烧炉本体内形成有燃烧室、废气流道、燃烧器和废水喷雾装置;废气流道伸入至燃烧室内,燃烧器位于废气流道靠近燃烧室的一侧;废水喷雾装置位于燃烧室顶部;废水喷雾装置包括喷雾头、供液管、推送机构和推拉门体,供液管与喷雾头的尾部连接,焚烧炉本体上形成有供喷雾头伸入燃烧室的通孔。与现有技术相比,本实用新型采用通过喷雾方式将废水喷入至焚烧炉本体的燃烧室内,通过炉内的高温处理废水,对废水进行了有效的处理。喷雾头能够通过通孔伸出和缩回,在不进行处理废水时,减少喷雾头因为高温而损坏的风险,延长喷雾头的使用寿命。

标签:
废水处理
福建 - 泉州 来源:中冶有色网 2023-03-19
二甲醚生产废水处理系统

本实用新型提供一种二甲醚生产废水处理系统,属于污水处理系统技术领域,也是属于能源与环境技术改进的领域,其特征在于:包括反应釜、精馏塔、换热器、调节池、曝气机、微生物处理塔、杀菌反应釜、日用水池、甲醇、二甲醚,所述的甲醇在反应釜里经过催化剂反应生成二甲醚和废水,所述的废水经过精馏塔精馏,让精馏过的废水的有机物COD小于二百,所述的精馏过的废水再经过换热器换热后排入调节池,使废水的温度小于42℃,所述的调节池的废水输送到微生物处理塔,同时用曝气机向该塔鼓气,使废水的有机物在微生物作用下分解,所述的经过微生物处理塔分解过废水经过杀菌反应釜后可直接进入日用水池并进入循环水系统。

标签:
废水处理
福建 - 泉州 来源:中冶有色网 2023-03-19
上一页 30 31 32 33 34 ... 41 下一页
共41页    到第

中冶有色为您提供最新的福建泉州有色金属环境保护技术理论与应用信息,涵盖发明专利、权利要求、说明书、技术领域、背景技术、实用新型内容及具体实施方式等有色技术内容。打造最具专业性的有色金属技术理论与应用平台!

全国热门有色金属设备推荐
展开更多 +
全国热门有色金属技术推荐
展开更多 +

 

江西省隆恩特环保设备有限公司
宣传

报名参会
更多+

报告下载

有色专家
更多+

广西大学
处长/教授
任灵宝金源矿业股份有限公司
技术发展部经理
石家庄铁道大学
团委书记/副教授
重庆大学
副院长/教授
国家钨与稀土产品质量检验检测中心
主任
赤泥综合利用研究报告2025
推广

热门技术
更多+

推荐企业
更多+

福建省金龙稀土股份有限公司
宣传

发布

在线客服

公众号

电话

顶部
咨询电话:
010-88793500-807