青岛垚鑫智能科技有限公司
宣传

位置:中冶有色 >

有色技术频道 >

分类:
全部
矿山技术
冶金技术
材料制备及加工技术
环境保护技术
分析检测技术
 
全部
废水处理技术
大气治理技术
固/危废处置技术
土壤修复技术
地区:
全部
北京
天津
上海
重庆
河北
山西
辽宁
吉林
黑龙江
江苏
浙江
安徽
福建
江西
山东
河南
湖北
湖南
广东
海南
四川
贵州
云南
陕西
甘肃
青海
内蒙
广西
西藏
宁夏
新疆
其他
其他
展开
 
全部
福州
厦门
漳州
泉州
三明
莆田
南平
龙岩
宁德

福建泉州有色金属环境保护技术理论与应用

免费发布技术信息>>
有机硅废水的分类处理装置和方法

本发明涉及一种将有机硅废水的分类处理装置和方法,所述处理装置包括一级废水处理单元,二级废水处理单元,三级类废水处理单元和四级废水处理单元,分别对一类废水,二类废水,三类废水和四类废水进行相应的处理,处理方法为首先按照废水的性质将有机硅废水分为四类:一类废水,二类废水,三类废水和四类废水,然后再针对废水的特点有针对性的进行废水处理。该装置和方法克服了现有技术中对于有机硅废水处理过程复杂、效果差的技术问题,能够实现有机硅废水的绿色、环保、节能处理。

标签:
废水处理
福建 - 泉州 来源:中冶有色网 2023-03-19
好氧生物废水初步处理设备节能重置装置

本发明公开了一种好氧生物废水初步处理设备节能重置装置,其结构包括节能重置装置、排水管、箱体、控制盒,节能重置装置水平安装于箱体的内部,本发明通过废水排入水位管内部,通过废水对倾斜盘进行冲击,经过倾斜盘上的碳酸氢钠与游离的铜离子发生化学反应生成碱式碳酸铜沉淀,在推动摇摆刷板进行排废水,将废水导入曝气池中,保护曝气池中的好氧生物不会被游离的铜离子抑制,保证好氧生物不会减少,使得废水中的有机物和无机物处理干净,经过移动侧板对废水表面好氧生物推动,同时再由弧刮板推着好氧生物对分层垫挤压,后进入收集存储箱进行存储,节省了资源。

标签:
废水处理
福建 - 泉州 来源:中冶有色网 2023-03-19
兰炭废水的预处理方法及装置

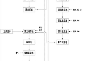
本发明涉及一种兰炭废水的预处理方法,包括以下步骤;步骤一;调酸:将兰炭废水原水的PH通过酸液调节至5.0‑6.0,降低酚类物质在废水中的溶解度。步骤二;萃取:使调酸完成后的兰炭废水进入萃取装置,与萃取剂逆流接触,去除废水中的酚类物质。步骤三;调碱:使萃取完成后的兰炭废水进入调节池,投加碱液,将PH调节至9.0‑11.0,使废水中的铵离子转换为游离氨。步骤四;吹脱:使调碱完成后的兰炭废水进入高效吹脱塔,去除水中的氨氮。

标签:
废水处理
福建 - 泉州 来源:中冶有色网 2023-03-19
低浓度硝氮废水的处理方法

本发明涉及废水深度处理领域,提供一种低浓度硝氮废水的方法,该处理方法包括以下几个步骤:(1)通过树脂反应器对废水进行脱氮吸附反应;(2)对吸氮后的树脂进行反硝化脱氮脱附处理;(3)对脱氮树脂进行活化处理;(4)重复对废水进行脱氮反应处理;该方法采用脱氮树脂对废水中的硝氮进行选择性吸附,在补充碳源的情况下,采用接种反硝化菌对吸附在树脂上的硝氮进行反硝化脱氮,完成树脂再生利用,对废水的重复脱氮处理。

标签:
废水处理
福建 - 泉州 来源:中冶有色网 2023-03-19
内壁清洁的市政工程环保型生活废水处理装置

本实用新型公开了一种内壁清洁的市政工程环保型生活废水处理装置,其结构包括污水箱、电控箱、底座、底架、安装板、接线盒、进水筒、清洗器、接电槽,本实用新型的污水箱上设有内嵌式清洗器,往复缸是一种组合导杆在缸内进行直线往复运动的圆筒形金属机件,作为活动套筒位移导轨表面的工作缸,轴杆相垂接毛刷,导杆在导轨表面移动时,能够同步带动轴架、滑块直线位移,能够带动毛刷贴在污水箱内壁进行擦洗,进而提高装置内壁清洁性,能够有效减少装置维护难度与成本支出。

标签:
废水处理
福建 - 泉州 来源:中冶有色网 2023-03-19
道路建设用的废水引流装置

本实用新型公开了一种道路建设用的废水引流装置,包括本体、引流口、沉淀池、中和调节池、生物处理池、缓流槽和污泥收集槽,本体的内部一侧固定设置有引流口,本体的内侧在引流口的下方固定设置有沉淀池,本体的内侧靠近沉淀池的位置固定设置有中和调节池,本体的内部另一侧固定设置有生物处理池,缓流槽的侧端固定连通有排水口,本体的外侧靠近沉淀池的位置固定设置有污泥收集槽,污泥收集槽的下方在本体的侧端固定设置有污泥泵,通过污泥泵将沉淀池和缓流槽的内侧底部分别与污泥收集槽之间连通,从而使得给谁引流过程中产生的污泥能在污泥泵的作用下运送到污泥收集槽内侧进行收集,避免的污泥在引流设备内侧堆积,使得设备运行正常。

标签:
废水处理
福建 - 泉州 来源:中冶有色网 2023-03-19
高档包装纸生产废水处理装置

本实用新型公开一种高档包装纸生产废水处理装置,包括依次连通的集水池、曝气池、脱色池、沉淀塔,所述集水池一侧设有污水进口,所述集水池于污水进口处下方设有格栅,所述集水池内设有设有筛网箱,所述筛网箱通过泵和管道与曝气池连接,所述曝气池底部设曝气管,所述曝气管上设有曝气头,所述脱色池与沉淀塔之间通过管道连通一厌氧反应器。本实用新型装置投资少、运行成本低,通过格栅、筛网、沉淀的三级处理方式,并通过曝气池和厌氧反应装置有效的去除水中的SS及杂质含量,降低COD含量,污水处理效果好,污水经处理后能够达到回用的要求。

标签:
废水处理
福建 - 泉州 来源:中冶有色网 2023-03-19
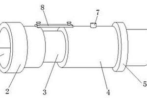
有机废水处理管道
有机废水处理管道 1120     
 0

本实用新型公开了一种有机废水处理管道,其结构包括通水槽道、管道进水口、套接管、管道主体、阀接件、管道出水口、排气阀、支撑辅助器,本实用新型的管道主体表面局部位置设有装配使用的支撑辅助器,定点轴组合安装槽块配设在管道主体表面局部凹槽点上,第一锁孔与第二锁孔分设在横接板两侧定点凹槽壁上,辅助螺杆锁合,等高端间隔且具有限位性能,横接板组合相连加固点为一体,安装槽块表面凹口设有内嵌式铰接轴,铰接轴指的是铰链连接结构件,主要用在横接板与管道主体表面局部的连接,直片式结构板具有连接两端平衡的有效防护作用,有效避免管接处松脱,能够有效提高管道主体拆装连接的操作灵活性与紧固平衡作用。

标签:
废水处理
福建 - 泉州 来源:中冶有色网 2023-03-19
用于生态环境保护废水阀门

本实用新型涉及一种用于生态环境保护废水阀门,包括阀体、开设于所述阀体内供流体通过的过流通道,所述阀体内设置有贴合所述阀体内壁并可做相对扩张与收缩的弹性层,所述弹性层与所述阀体内壁之间形成可供气体进入驱动所述弹性层向所述过流通道内发生扩张使得所述弹性层内壁之间逐渐相互靠拢并贴合从而密闭所述过流通道的充气腔,所述阀体上设置有用于锁紧所述弹性层的法兰盘,所述阀体侧壁上开设有与所述充气腔相连通的进气孔与出气孔。

标签:
废水处理
福建 - 泉州 来源:中冶有色网 2023-03-19
废水循环利用的石材加工设备

本实用新型公开一种废水循环利用的石材加工设备,属于石材加工设备领域,包括机架、滑动连接在机架上的工作台和雕刻装置,工作台内开设有排水腔,工作台远离机架的一侧开设有若干排水孔,且另一侧开设有导水孔,机架内开设有蓄水池,机架开设有漏水口,机架设置有两个过滤网和挡水板,机架在蓄水池两侧开设有废料池,机架设置有驱动装置和清扫装置,本实用新型通过开设在工作台上的若干排水孔、排水腔和导水孔以及机架上的漏水孔,能够将用于冷却切削刀和吸附石粉的水引导至机架内部的过滤网上在过滤后进入蓄水池内,进行循环利用,节约水资源,通过驱动装置和清扫装置能够对两个过滤网进行切换和清理。

标签:
废水处理
福建 - 泉州 来源:中冶有色网 2023-03-19
应用于高档包装纸生产废水处理的精滤器

本实用新型涉及过滤设备领域,尤其涉及一种应用于高档包装纸生产废水处理的精滤器,它主要解决了现有技术中因冷热交替造成滤芯使用时间短,过滤效果差的问题,包括筒体,所述筒体上设置有上盖,所述筒体的底部设置有出渣口,所述筒体的下部设置有进液口,所述上盖上设置有出液口,所述筒体的中部设置有循环出液口,所述上盖与筒体之间设置有一隔板,所述隔板上设置有复数个通孔,所述通孔处设置有第一过滤网,所述隔板下表面位于通孔处设置有连接环,所述连接环上设置有圆柱形筛板,所述圆柱形筛板内设置有第二过滤网,所述循环出液口通过水管连接在抽液泵的进水端,所述抽液泵的出水端通过水管与进液口连接,所述上盖的中部设置有喷头。

标签:
废水处理
福建 - 泉州 来源:中冶有色网 2023-03-19
基于对废水净化的处理装置

本实用新型公开了一种基于对废水净化的处理装置,其结构包括复合滤板、安装框、细滤板、盖板、推料器、处理槽体、出水管、电控箱,本实用新型的处理槽体污泥段配设推料器,推板表面倾斜且底部间隔处理槽体排泥区域处,固块表面的支撑口作为施力点,通过连杆横接多个间隔排列的推筒,在盖板活动槽层处带动连杆横向位移,则滑块顺着盖板活动槽壁面直线移动,使得在上部的推筒带动下部的推板推铲污泥,推板设计成两边具有切削层的板面,能够加快污泥的出料效率,进而通过排泥口集中推出,能够有效提高水净化的处理效果。

标签:
废水处理
福建 - 泉州 来源:中冶有色网 2023-03-19
电镀集控区含锌废水集中处理系统

本申请公开了一种电镀集控区含锌废水集中处理系统,包括污泥池和压滤机,所述污泥池与所述压滤机之间设有连接有排污管,所述排污管设有第一旁通管,所述第一旁通管与所述排污管之间相对倾斜设置,所述第一旁通管与所述排污管之间的倾角朝向背离所述压滤机的方向,所述第一旁通管远离所述排污管的一端可拆卸连接有第一管帽。本申请中第一旁通管可供具有弹性和韧性的杆状工具插入,以清理排污管内壁附着污垢。

标签:
废水处理
福建 - 泉州 来源:中冶有色网 2023-03-19
石材加工废水处理设备

本实用新型公开一种石材加工废水处理设备,属于石材加工技术领域,包括底座与工作台,所述底座与工作台固定连接,所述底座内设置有过滤仓以及储水仓,所述过滤仓内设置有清理机构,所述过滤仓与储水仓之间设置有过滤机构,所述过滤仓通过过滤机构与储水仓相连通,所述工作台开设有使污水排向过滤仓的通道,本实用新型通过使用清理机构对污水里的沉淀进行打捞,并通过滤芯对水进行过滤,实现了水的循环利用,减少了水资源的浪费。

标签:
废水处理
福建 - 泉州 来源:中冶有色网 2023-03-19
倒掉废水更为容易的饮料机接水盘

本实用新型涉及一种倒掉废水更为容易的饮料机接水盘,包括底盘和盖板,底盘内设有顶部敞口的蓄水室,上述底盘的顶沿设有环形槽,该环形槽内安装有弹性吸水芯体,弹性吸水芯体向上延伸至环形槽外,盖板叠设于底盘的上端并且将弹性吸水芯体压缩变形至环形槽内。本实用新型的接水盘的底盘顶沿设有环形槽,该环形槽内安装有弹性吸水芯体,弹性吸水芯体四面包围在底盘的上端,双手端接水盘移动,弹性吸水芯体阻止废饮料向外溅起溢出,同时快速吸收贮存,使得废饮料不易洒落,倒废更加简单方便。

标签:
废水处理
福建 - 泉州 来源:中冶有色网 2023-03-19
生活废水收集装置
生活废水收集装置 761     
 0

本实用新型公开了一种生活废水收集装置,包括导流管、设置在导流管上的分流装置及与导流管连接的收集箱;所述导流管包括总管及支管,总管下端侧壁上具有一卡槽,支管内部底端设置一与总管中轴线重合的挡板;所述分流装置包括呈一体结构由外向内依次设置的转动环、卡座及限流板;所述卡座嵌套配合在卡槽内,外侧与转动环连接,内侧与限流板连接;所述收集箱与支管一端连接,内部靠近支管一侧沿竖直方向设置一隔板;该实用新型能将不同洗涤时期的排放水进行有效的控制分离,洗涤前期的水可直接通过支管外排,后期清洗的水可通过将限流板转动180度,使水通过支管排放到收集箱内,再经收集箱的沉淀净化,最终将收集到的水用于浇花、冲洗厕所等。

标签:
废水处理
福建 - 泉州 来源:中冶有色网 2023-03-19
印染前处理废水处理产生的污泥处理系统及其处理工艺

本发明公开了一种印染前处理废水处理产生的污泥处理系统及其处理工艺,初淀池和斜管沉淀池中沉淀的污泥及厌氧罐产生的沼渣经由污泥管流入污泥浓缩池中,污泥浓缩池中的污泥经消化浓缩后通过污泥泵输送进入板框压滤机压滤成泥饼外运处置;污泥能从99%的含水率浓缩到80%以下,从而大大降低了污泥的体积,便于污泥外运,具有可方便对初淀池、斜管沉淀池及厌氧罐沼渣中的污泥进行清理,并通过过滤脱水对污泥进行压缩处理以降低污泥体积方便外运的特点。

标签:
废水处理
福建 - 泉州 来源:中冶有色网 2023-03-19
印染前处理废水处理产生的污泥处理系统

本实用新型公开了一种印染前处理废水处理产生的污泥处理系统,初淀池中的污泥经由污泥管流入污泥浓缩池中,厌氧罐中的沼渣和斜管沉淀池中的污泥经由污泥管流入污泥浓缩池中,污泥浓缩池通过污泥管和板框压滤机连接,污泥管上安装有污泥泵;初淀池和斜管沉淀池中沉淀的污泥及厌氧罐产生的沼渣经由污泥管流入污泥浓缩池中,污泥浓缩池中的污泥经消化浓缩后通过污泥泵输送进入板框压滤机压滤成泥饼外运处置;污泥能从99%的含水率浓缩到80%以下,从而大大降低了污泥的体积,便于污泥外运,具有可方便对初淀池、斜管沉淀池及厌氧罐沼渣中的污泥进行清理,并通过过滤脱水对污泥进行压缩处理以降低污泥体积方便外运的特点。

标签:
废水处理
福建 - 泉州 来源:中冶有色网 2023-03-19
化工废水处理设备
化工废水处理设备 1156     
 0

本实用新型提供一种化工废水处理设备,包括底座、壳体、处理内层、出水管、进料斗、进水管、密封门和显示屏,所述底座的底部四角均安装有脚轮,且脚轮上设置有踏板扣锁,所述底座的顶部安装有壳体,且壳体的内壁内部设置有降温层,且降温层内设置有冷凝管,所述冷凝管的顶端头穿过壳体设置在壳体的右侧顶端,且冷凝管的顶端设置有流量控制阀,所述冷凝管的底端穿过壳体和底座设置在底座的左侧,且冷凝管的底端设置有第一电磁阀,所述壳体的内部设置有处理内层。本实用新型通过在壳体内壁的内部设置降温层,并且通过降温层内设置冷凝管,能够有效的控制,处理内层在处理过程中的处理温度,防止因温度太高而导致装置爆炸。

标签:
废水处理
福建 - 泉州 来源:中冶有色网 2023-03-19
造纸废水再生系统
造纸废水再生系统 736     
 0

本实用新型公开一种使用方便,设计合理的造纸废水再生系统,依次包括集水池、第一提升泵、初级沉淀池、好氧反应池、二次沉淀池、气浮池、调节池、反应池、第二提升泵、活性炭过滤器、多介质过滤器、水泵、过滤装置、过滤器和反渗透装置,渗透装置设有排液管,过滤器的进口处设有添加口,所述反应池与过滤装置之间设有回收管,所述过滤装置为超滤装置,所述过滤器为精密过滤器。

标签:
废水处理
福建 - 泉州 来源:中冶有色网 2023-03-19
用于废水残渣处理的粉碎装置

本实用新型公开了用于废水残渣处理的粉碎装置,包括排水机构、出渣机构、粉碎机构,所述排水机构设置在所述粉碎机构的下部,所述粉碎机构的后部设置有所述出渣机构,还包括用于调节机器高度的调节机构,所述调节机构包括支撑垫、固定垫、液压杆,所述支撑垫设置在所述排水机构的下部,所述支撑垫的上部设置有所述固定垫,所述固定垫的上部通过螺栓连接有所述液压杆。本实用新型利用调节机构的设置使得机器能够任意调节高度从而能够调节送出碎渣的位置。

标签:
废水处理
福建 - 泉州 来源:中冶有色网 2023-03-19
硅片厂酸性废水处理设备

本实用新型提供一种硅片厂酸性废水处理设备,包括白云石过滤板、废渣过滤板、温度传感器、冷凝器、石灰粉放置盒、喷头、压力传感器、砂石过滤板以及活性炭过滤板,所述温度传感器安装在箱体一内表面下端,所述冷凝器装配在箱体一底部,所述白云石过滤板安装在箱体一内,所述废渣过滤板装配在白云石过滤板上方,所述石灰粉放置盒安装在箱体二上端面上,所述喷头装配在箱体二内,所所述压力传感器装配在箱体二底部,所述砂石过滤板装配箱体三内,所述活性炭过滤板安装在砂石过滤板下方,本实用新型结构合理,处理效果好,造价合理,节约水资源,安全可靠。

标签:
废水处理
福建 - 泉州 来源:中冶有色网 2023-03-19
废水处理工艺
废水处理工艺 778     
 0

本发明提供了一种废水处理工艺,包括以下步骤:污水在泵的作用力下经过筛孔直径为5μm‑5㎜电动回旋式筛网进入高度为7‑15m;直径为0.4‑3m的塔式生物滤池中进行处理;经过塔式生物滤池处理的污水进入压力式旋流分离器;所述压力式旋流分离器底部设有出口;用于离心产生固体颗粒的排出口;经过压力式旋流分离器过滤的污水进入蓄水池中;所述蓄水池加入除藻剂;蓄水池中的水在水泵的作用力下抽到膜池中;经过膜池过滤处理后,可达到排放标准。本发明采用的是活性微生物与膜组件相结合,处理效果高效,蓄水池中加入除藻剂,可以对细菌、真菌、藻类等具有很强的抑制和杀灭作用杀生效率高,降解性好,可以很好地保护下一道工序。

标签:
废水处理
福建 - 泉州 来源:中冶有色网 2023-03-19
用于水产品加工的废水处理装置

本实用新型公开了一种用于水产品加工的废水处理装置,其结构包括:控制台、过滤仓、滤网、检测装置、导线、反应仓、排水管,控制台设在过滤仓前端且通过导线与滤网下方的检测装置相连接,检测装置主要由活动槽、挡板、弹簧、压块、触点所组成,活动槽设在过滤仓内壁上,弹簧设在滤网与活动槽间且右侧设有挡板,压块连接在滤网末端且与设在活动槽底部的触点间接接触,本实用新型通过使用检测装置对滤网进行检测,避免因其残留的污秽物太多影响污水的过滤效果,通过使用压块与触电配合,当污秽物重量使滤网降低到一定高度后,压块压住触点然后通过导线传递电信号到控制台,使控制台发出警报,梯形人员及时清洗滤网,避免使滤网损坏。

标签:
废水处理
福建 - 泉州 来源:中冶有色网 2023-03-19
水产品加工废水处理设备

本实用新型公开一种水产品加工废水处理设备,其结构包括入水口、机身、加固杆、排放口、控制箱、清洗装置、底脚,入水口焊接于机身顶部,机身焊接于底脚顶部,加固杆焊接于机身上,排放口嵌设于机身上,控制箱嵌设于机身上,清洗装置嵌设于机身内,底脚焊接于机身底部,本实用新型的有益效果是:在使用水产品加工废水处理设备一段时间后,设备内的过滤装置和内壁会变得很脏,设有清洗装置通过控制箱控制,通过旋转轴使集水管进行旋转,集水管带动喷水管进行旋转喷水,设有清洗辊,通过转轴使清洗辊进行旋转,清洗辊连接滑轴通过滑槽进行移动清洗,解决了目前的处理设备需要拆开清洗耗时耗力的问题,清洗更干净。

标签:
废水处理
福建 - 泉州 来源:中冶有色网 2023-03-19
生活废水处理用明矾破碎及撒料一体化设备

本实用新型公开了一种生活废水处理用明矾破碎及撒料一体化设备,其结构包括滤板、隔板、电控箱、进水管、设备主体、加药箱、碎料输送器、检视盖,本实用新型将明矾往设备主体上设有内嵌式碎料输送器表面投料口放入进料斗,电机轴通电后产生动力,导接轴承座啮合搅拌盘表面凹槽,则明矾被安装体内腔搅拌盘破碎,搅拌盘由成双碎料轴盘设计成用于破碎明矾的结构盘,导接电机轴的传动力,使其具有碎料功能,破碎后的明矾在重力下落入下料口,能够直接撒入设备主体内腔中,省去了人力投料的步骤,大大提高了设备废水处理效果。

标签:
废水处理
福建 - 泉州 来源:中冶有色网 2023-03-19
生活废水处理用絮凝剂水溶液搅拌的翻滚式搅拌装置

本实用新型公开了一种生活废水处理用絮凝剂水溶液搅拌的翻滚式搅拌装置,其结构包括外筒体、固环、出水口、底座、内筒、搅拌器、动力轴、加药斗,本实用新型的内筒之中垂设有搅拌器,将轴杆作为结构的支撑中杆使用,下端径接定位轴,杆体上设Y型搅拌架组合固定框架、剪切片构成可带动絮凝剂水溶液的翻滚式搅拌结构架,通过上部的搅拌顶块与下方剪切片加强溶液的搅拌效率,Y型搅拌架两端环形带动溶液形成漩涡,溶液可从固定框架构成的架空槽两边来回流动,可带动内腔中边缘位置的絮凝剂水溶液在内筒中不断翻滚,进而提高物料混合度与废水处理效果。

标签:
废水处理
福建 - 泉州 来源:中冶有色网 2023-03-19
生活废水处理储存装置

本实用新型公开了一种生活废水处理储存装置,其结构包括装置主体、进水口、第一检视槽、第二检视槽、升降操作器、防溢口、净化腔、出水口、曝气腔、废水腔,本实用新型为了方便加药等操作,物料投入升降操作器表面槽体后,导向槽道与限位环安装中点垂线相重合,组合构成支杆上下活动的凹槽结构体,夹接头作为支杆顶部操作的限位件使用,上下带动支杆顺着导向槽道与限位环垂合中点直线活动,迫使活动支架在两边轴承架的支撑下上下击打净化腔水面,能够加速药液的混合效率,具有操作灵活性与辅助性能,也能够提高装置净化水后的储存性能。

标签:
废水处理
福建 - 泉州 来源:中冶有色网 2023-03-19
农村生活废水回收处理设备

本实用新型提供一种农村生活废水回收处理设备,包括过滤网、斜挡板一、连接块一、密封挡板一、电动缸一、电动缸二、污泥泵、排污管、连接块二、斜挡板二以及密封挡板二,电动缸一上端连接密封挡板一,密封挡板一左端设有连接块一,连接块一上端安装斜挡板一,斜挡板一上方设有过滤网,过滤网下方安装斜挡板二,连接块二左端连接密封挡板二,密封挡板二下端设有电动缸二,电动缸二右侧安装污泥泵,污泥泵右端装配排污管,实现对农村生活废水进行过滤处理,降低环境污染,本实用新型使用方便,结构简单,便于操作,提高过滤效果,节约水资源,降低环境污染。

标签:
废水处理
福建 - 泉州 来源:中冶有色网 2023-03-19
纳米活性碳酸钙生产中压滤废水的循环利用工艺及设备

本发明公开了一种纳米活性碳酸钙生产中压滤废水的循环利用工艺及设备,本发明能够将纳米活性碳酸钙生产中的压滤废水完全净化,使其达到可以重复应用于纳米活性碳酸钙生产的用水标准,实现循环利用。本发明工艺,包含将有机絮凝剂缓慢加入装有清水的配料罐中,在快速搅拌下制得乳胶状溶液;将制得的乳胶状溶液用水稀释至浓度为0.1%~0.5%;待碳酸钙熟浆在纳米活性碳酸钙的活化工艺中的活化罐内活化完成后,将稀释后的溶液引入活化罐,继续快速搅拌10-15min;将快速搅拌10-15min后的浆体进行隔膜压滤,滤水排入生产沉降池,加入无机调节剂,调节pH=7~9之间,溢流的清水便可循环运用于纳米活性碳酸钙的生产中;同时产生少量沉淀物。

标签:
废水处理
福建 - 泉州 来源:中冶有色网 2023-03-19
上一页 31 32 33 34 35 ... 41 下一页
共41页    到第

中冶有色为您提供最新的福建泉州有色金属环境保护技术理论与应用信息,涵盖发明专利、权利要求、说明书、技术领域、背景技术、实用新型内容及具体实施方式等有色技术内容。打造最具专业性的有色金属技术理论与应用平台!

全国热门有色金属设备推荐
展开更多 +
全国热门有色金属技术推荐
展开更多 +

 

江西省隆恩特环保设备有限公司
宣传

报名参会
更多+

报告下载

有色专家
更多+

矿冶科技集团有限公司
中国工程院院士
北京科技大学
主任/教授
中国矿业大学(北京)
院长/教授
中冶沈勘秦皇岛工程技术有限公司
原矿山院院长/教授级高工
矿冶科技集团
中国工程院院士
赤泥综合利用研究报告2025
推广

热门技术
更多+

推荐企业
更多+

福建省金龙稀土股份有限公司
宣传

发布

在线客服

公众号

电话

顶部
咨询电话:
010-88793500-807