青岛垚鑫智能科技有限公司
宣传

位置:中冶有色 >

有色技术频道 >

> 加工技术

分类:
全部
矿山技术
冶金技术
材料制备及加工技术
环境保护技术
分析检测技术
 
全部
功能材料技术
复合材料技术
新能源材料技术
合金材料技术
加工技术
地区:
全部
北京
天津
上海
重庆
河北
山西
辽宁
吉林
黑龙江
江苏
浙江
安徽
福建
江西
山东
河南
湖北
湖南
广东
海南
四川
贵州
云南
陕西
甘肃
青海
内蒙
广西
西藏
宁夏
新疆
其他
其他
展开
 
全部
其他

其他有色金属加工技术理论与应用

免费发布技术信息>>
用复合粘结剂干法制造电极

本发明公开了一种自支撑电极膜、一种储能装置用电极、一种制造自支撑电极膜的方法、一种电池、一种锂离子电容器、一种超级电容器以及一种制造储能装置用电极的方法。所述自支撑电极膜可包含电极活性材料和复合粘结剂,该复合粘结剂包含聚四氟乙烯(PTFE)和聚乙烯吡咯烷酮(PVP)。本发明能够制造这样的储能装置,该储能装置的首次循环效率显著高于通过常规干法制得的储能装置。

标签:
加工技术
其他 - 其他 来源:中冶有色网 2023-03-19
高纵横比电极结构上原子层沉积的改进

描述了使用VACNT森林创建3D电极纳米结构的电池电极及其制造方法。VACNT通过电气和机械方式连接到阳极或阴极基板上,为具有活性材料的涂层提供了大面积的三维表面,并为电池集流体提供了高导电性的电子通道。适用于锂离子电池阳极和阴极的多种不同活性材料可用于涂覆单独碳纳米管。VACNT森林提供的高表面积和涂覆活性材料的纳米尺寸使得能够用相同的电池实现高能量密度和高功率密度。单独CNT的完全共形涂覆可以通过多种不同的方法实现,并且用多种活性材料涂覆可以用于产生纳米叠层涂层,该涂层具有比单一材料更好的电化学特性。

标签:
加工技术
其他 - 其他 来源:中冶有色网 2023-03-19
适用于电池的电极颗粒
适用于电池的电极颗粒 1002     
 0

本公开涉及碳基电极材料,其已石墨化以将离子保持在电池的电极中,更具体地包括保护石墨芯的碳化物或碳化物和氮化物表面。优选的电池包括金属离子电池,例如锂离子电池,其中碳基电极是阳极,但碳基电极也可用于双离子电池中,其中两个电极都可以包含石墨化碳基电极。所述电极比传统的石墨电极更无定形并包括含有碳化物或氮化物的表面处理。

标签:
加工技术
其他 - 其他 来源:中冶有色网 2023-03-19
全固体电池
全固体电池 1071     
 0

本公开的主要目的是提供一种能够降低发热量的全固体电池。在本公开中,通过提供一种全固体电池来解决上述课题,该全固体电池具有正极层、负极层以及形成于上述正极层与上述负极层之间的固体电解质层,上述正极层含有复合正极活性物质和卤化物固体电解质,上述复合正极活性物质具有尖晶石型活性物质和覆盖上述尖晶石型活性物质的表面的锂氧化物层,上述卤化物固体电解质含有X元素(X是卤素)作为阴离子的主成分,上述负极层含有Si系负极活性物质。

标签:
加工技术
其他 - 其他 来源:中冶有色网 2023-03-19
固体电解质陶瓷材料及固体电池

本发明提供一种离子传导性更充分高并且能够更充分抑制Li树突状晶体的生长的固体电解质陶瓷材料。本发明涉及一种固体电解质陶瓷材料,是固体电解质粒子烧结而成的固体电解质陶瓷材料,所述固体电解质陶瓷材料至少含有Li(锂)、La(镧)、Bi(铋)及O(氧),晶界附近部的Bi浓度比粒子内部的Bi浓度高。

标签:
加工技术
其他 - 其他 来源:中冶有色网 2023-03-19
固体电解质、其制造方法和包含所述固体电解质的全固态电池

本发明涉及一种固体聚合物电解质和所述固体聚合物电解质的制备方法,更具体地,涉及如下的固体聚合物电解质和其制备方法,所述固体聚合物电解质包含多官能丙烯酸酯类聚合物、聚(C1至C10环氧烷)、阻燃性聚合物、锂盐和非水溶剂,其中所述多官能丙烯酸酯类聚合物与所述聚环氧烷交联而形成半互穿聚合物网络(半IPN),并且所述阻燃性聚合物与所述多官能丙烯酸酯类聚合物和所述聚环氧烷的半互穿聚合物网络共混而显示出高的固体成分含量和阻燃性能。

标签:
加工技术
其他 - 其他 来源:中冶有色网 2023-03-19
二次电池、二次电池用正极及二次电池用正极的制造方法

提供一种更安全且廉价的锂离子二次电池的制造方法。一种二次电池用正极的制造方法,包括如下步骤:使用含有水的溶剂将氧化石墨烯、粘合剂及正极活性物质混合来制造浆料的工序;将浆料涂敷到正极集流体的工序;通过化学还原或热还原中的至少一种使氧化石墨烯还原的工序。作为化学还原的还原剂可以使用抗坏血酸。

标签:
加工技术
其他 - 其他 来源:中冶有色网 2023-03-19
固体电解质及固体电解质的制造方法

本发明提供一种3LiOH·Li2SO4基固体电解质,其即便在高温下长时间保持后也能够明显地抑制锂离子传导率降低。该固体电解质利用X射线衍射被鉴定为3LiOH·Li2SO4,且还包含硼。

标签:
加工技术
其他 - 其他 来源:中冶有色网 2023-03-19
聚丙烯系树脂组合物以及单层和多层膜

本发明是含有满足下述(a)的丙烯系聚合物(A)、满足下述(b)的软质丙烯系共聚物(B)和含有来自不饱和羧酸和/或其衍生物的结构单元的聚烯烃(C)的聚丙烯系树脂组合物。(a)在差示扫描量热测定中观测到的熔点为100℃以上。(b)按照ASTM D‑1238,以230℃、2.16kg负荷测得的MFR处于0.01~100g/10分钟的范围,并且满足下述条件(b‑1)和(b‑2)中的至少任一个。(b-1)利用13C‑NMR法测得的间同立构三单元组分率(rr分率)为60%以上;(b-2)以55~90摩尔%的量含有源自丙烯的结构单元,以10~45摩尔%的量含有源自选自碳原子数2~20的α-烯烃(不包括丙烯)中的至少1种烯烃的结构单元(其中,源自丙烯的结构单元和源自碳原子数2~20的α‑烯烃(不包括丙烯)的结构单元的合计为100摩尔%),在135℃十氢化萘中测得的特性粘度[η](dL/g)和上述MFR(g/10分钟、230℃、2.16kg负荷)满足关系式:1.50×MFR‑0.20≤[η]≤2.65×MFR‑0.20。包含由本发明的聚丙烯系树脂组合物形成的层的单层或多层膜,变形加工时的耐白化性优异,能够适合用作食品包装材料和建筑用材料、形成锂离子电池的外装体等的包装材料。

标签:
加工技术
其他 - 其他 来源:中冶有色网 2023-03-19
改进的制造丙烯腈的催化剂

催化剂组合物,包括铁、铋、钼、钴、铈、锑的 催化氧化物的复合物,镍或镁中至少一种,锂、钠、钾、铷或 铊中至少一种,由下述经验式表征:AaBbCcFedBieCofCegSbhMomOx,其中A为Cr、P、Sn、Te、B、Ge、Zn、In、Mn、Ca、W或其混合物中至少一种,B为Li、Na、K、Rb、Cs、Tl或其混合物中至少一种,C为Ni、Mg或其混合物中至少一种,a为0~4.0,b为0.01~1.5,c为1.0~10.0,d为0.1~5.0,e为0.1~2.0,f为0.1~10.0,g为0.1~2.0,h为0.1~2.0,m为12.0~18.0,x值由存在的其它元素的化合价需要而定。该催化剂用于烯烃氨氧化工艺中,烯烃选自丙烯、异丁烯或其混合物,分别生成丙烯腈、甲基丙烯腈或其混合物。

标签:
加工技术
其他 - 其他 来源:中冶有色网 2023-03-19
金属有机的钙钛矿太阳能电池、串联太阳能电池及其制造方法

本发明涉及一种金属有机的钙钛矿太阳能电池,尤其是具有铅金属有机的或锡金属有机的光子吸收剂层的太阳能电池,以及涉及一种用于其的制造方法。本发明首次公开了一种金属有机的太阳能电池,所述金属有机的太阳能电池包括吸收剂层,所述吸收剂层包含以钙钛矿晶格结晶的化合物,所述太阳能电池具有无锂的空穴导体层。

标签:
加工技术
其他 - 其他 来源:中冶有色网 2023-03-19
包含硅颗粒的大型电池组阳极

本文描述了适用于锂离子储能装置和电池组中的含有高重量百分数硅的大型阳极及其制造方法。本文所述的阳极材料可包括浇铸在集电体基板上的膜,该膜包含多个活性材料颗粒和包覆在活性材料颗粒上的导电聚合物膜。在一些实施方案中,导电聚合物膜包含聚丙烯腈(PAN)。制造阳极材料的方法可包括制备包含活性材料颗粒和导电聚合物材料的浆料、在集电体基板上浇铸该浆料和使复合材料经受干燥和热处理。

标签:
加工技术
其他 - 其他 来源:中冶有色网 2023-03-19
非水电解质二次电池用负极活性物质、非水电解质二次电池、及非水电解质二次电池用负极材料的制造方法

本发明为一种非水电解质二次电池用负极活性物质,其为包含负极活性物质颗粒的非水电解质二次电池用负极活性物质,其特征在于,所述负极活性物质颗粒含有包含含氧硅化合物的硅化合物颗粒,所述硅化合物颗粒含有锂化合物,所述硅化合物颗粒在最表层部附着有磷酸盐。由此提供一种负极活性物质,其对水系浆料的稳定性高、为高容量、并且循环特性和首次效率良好。

标签:
加工技术
其他 - 其他 来源:中冶有色网 2023-03-19
蓄电池、电池管理单元和电子设备

本发明的蓄电池具有正极、负极和电解液,所述负极至少包含硅和碳,所述负极包括活性物质区域、和覆盖所述活性物质区域的表面的第一层,所述活性物质区域和所述第一层都至少包含硅和碳,所述第一层包含厚度大于或等于10nm且小于或等于1000nm的部分,所述电解液包含第一阳离子及第二阳离子,所述第一阳离子至少包含锂离子,并且,所述第二阳离子包含咪唑鎓阳离子。

标签:
加工技术
其他 - 其他 来源:中冶有色网 2023-03-19
正极活性物质层形成用材料和使用该正极活性物质层形成用材料的非水电解质二次电池

本发明提供一种正极活性物质层形成用材料,包含正极活性物质,且能够适当地降低反应电阻,上述正极活性物质具有包含TiO2的外壳部。这里公开的正极活性物质层形成用材料(1)包含正极活性物质(10)和碳纳米管(16)。正极活性物质10具备包含锂过渡金属复合氧化物的核部(12)和被覆该核部的表面的至少一部分的外壳部(14),该外壳部包含TiO2。

标签:
加工技术
其他 - 其他 来源:中冶有色网 2023-03-19
电极、电池及电池包
电极、电池及电池包 1100     
 0

根据实施方式,可提供一种具备含有电极活性物质粒子的含活性物质层的电极。电极活性物质粒子包含:含有用LiaNixCoyMnzO2表示且0.9≤a≤1.2、x+y+z=1的镍钴锰酸锂的电极活性物质的一次粒子;多个上述一次粒子凝聚而成且具有第1空隙的第1二次粒子;和多个上述一次粒子凝聚而成、且不具有尺寸大到上述第1空隙以上的空隙的第2二次粒子。与含有电极活性物质粒子的粒子的粒度分布中的最大频率A对应的第1粒径大于与粒径为0.1μm以上且低于2μm的范围中的极大频率B对应的第2粒径。在将最大频率A与极大频率B的比A/B作为粒度比C,将含活性物质层中的根据压汞法的按mL/g单位计的细孔体积D与空隙率E的比D/E作为空孔比率F时,粒度比C与空孔比率F的比C/F为10g/mL以上且低于50g/mL。第1二次粒子内部中的一次粒子间的平均距离G与含在第1二次粒子中的一次粒子的平均粒径H的比G/H为1.05以上且低于1.2。

标签:
加工技术
其他 - 其他 来源:中冶有色网 2023-03-19
二次电池的诊断装置
二次电池的诊断装置 1028     
 0

本发明的目的在于,正确地诊断二次电池的劣化主要原因是电极劣化造成的,还是电解质劣化造成的。为了解决上述问题,本发明的二次电池的诊断装置,诊断输送锂离子的电解质由固体形成的全固体电池,具备:切断手段,其切断被连接于充电电路或放电电路上的二次电池的充电电流或放电电流;测量手段,其测量被前述切断手段切断充电电流或放电电流后,随着时间经过的前述二次电池的端子电压的变动特性;及,诊断手段,其对根据由前述测量手段测得的前述二次电池的端子电压的测定值而特定的充放电特性、与以初始值作为标准的二次电池的标准特性的电压的变化速度或变化量进行比较,并诊断前述二次电池的劣化主要原因。

标签:
加工技术
其他 - 其他 来源:中冶有色网 2023-03-19
全固态电池用电解质膜和包括该电解质膜的全固态电池

本发明的固体电解质膜包含具有低离子电导率的聚合物材料,凭借该聚合物材料,通过在高温条件(例如电池内部温度的升高)下的聚合物相分离在电解质膜中形成了离子传导中断层,由此中断锂离子的迁移。“离子传导中断层”(也称为“中断层”)的形成防止了电池热失控和由此引发的爆炸,因此有利地提高了电池的耐热性和安全性。

标签:
加工技术
其他 - 其他 来源:中冶有色网 2023-03-19
不含镉的量子点、其制造方法、组合物、量子点聚合物复合物和包括其的显示器件

本发明涉及不含镉的量子点、其制造方法、组合物、量子点聚合物复合物和包括其的显示器件。不含镉的量子点包括锌、碲、和硒、以及锂。所述不含镉的量子点的最大发光峰的半宽度小于或等于约50纳米,并且所述不含镉的量子点具有大于1%的量子效率。

标签:
加工技术
其他 - 其他 来源:中冶有色网 2023-03-19
用于确定蓄电池的老化参数、充电状态参数和温度的方法

本发明涉及一种用于确定蓄电池(12)、特别是锂蓄电池的老化参数KSOH的方法,该方法具有以下步骤:(a)检测蓄电池(12)在不同频率f下的阻抗Z,从而获得奈奎斯特曲线和实部曲线,该实部曲线绘制了相对于频率f的阻抗Z的实部,(b)确定以下SOH参数中的至少一个,这些SOH参数可以从预先确定的列表中进行选择,(c)根据SOH参数和pSOH,m·pSOH,n,m=1,…,11,n=1,…,m形式的所有混合项建立SOH行向量根据本发明规定(d)将SOH行向量与所存储的校准向量相乘,从而获得老化参数KSOH

标签:
加工技术
其他 - 其他 来源:中冶有色网 2023-03-19
弹性波装置
弹性波装置 747     
 0

本发明提供一种能够减小杂散的弹性波装置。一种弹性波装置(1),其中,层叠有高声速构件(2)、由钽酸锂构成的压电层(3)、IDT电极(4),在高声速构件(2)传播的体波的声速比在压电层(3)传播的弹性波的声速高,在高声速构件(2)传播的快横波体波声速Vsub相对于根据下述的式(1)求出的SH0模式的声速Vsh0和具有SH0模式以上的声速的成为杂散的模式的声速Vsp为Vsh0≤Vsub≤Vsp。

标签:
加工技术
其他 - 其他 来源:中冶有色网 2023-03-19
用于制造电极堆叠件的方法和设备

本发明涉及一种用于制造用于尤其电驱动机动车的锂离子电池的、由单池(5)形成的电极堆叠件(4)的方法,其中,单池(5)分别由阳极(6)和阴极(8)形成,其中,单池(5)被输送到旋转驱动的或可旋转驱动的堆叠轮(12)的容纳部(14)中,其中,容纳在容纳部(14)中的单池(5)根据堆叠轮(12)的旋转被输送至堆叠盒(24),其中,单池(5)借助剥离臂(22)保持在堆叠盒(24)的区域中,并且基于堆叠轮(12)的旋转从相应的容纳部(14)转移到堆叠盒(24)中,其中,将单池(5)堆叠在堆叠盒(24)中,并且其中,堆叠的单池(5)在堆叠盒(24)中相互挤压。此外,本发明还涉及一种用于制造这种电极堆叠件(4)的设备(2)。

标签:
加工技术
其他 - 其他 来源:中冶有色网 2023-03-19
正极活性物质和电池
正极活性物质和电池 886     
 0

现有技术中,期望实现高容量的电池。本公开提供一种正极活性物质,其包含具有属于空间群FM3‑M的晶体结构且由下述组成式(1)表示化合物和锂离子导体,其中,所述Me是选自Mn、Co、Ni、Fe、Al、B、Ce、Si、Zr、Nb、Pr、Ti、W、Ge、Mo、Sn、Bi、Cu、Mg、Ca、Ba、Sr、Y、Zn、Ga、Er、La、Sm、Yb、V、Cr之中的一种或两种以上元素,并且,式(1)满足下述条件:1.7≤x≤2.2、0.8≤y≤1.3、1≤α≤2.5、0.5≤β≤2。LixMeyOαFβ 式(1)。

标签:
加工技术
其他 - 其他 来源:中冶有色网 2023-03-19
二次电池用正极和二次电池

正极具备正极集电体、形成在正极集电体上且包含有机硅树脂和导电材料的保护层、以及形成在保护层上且包含由含锂的过渡金属氧化物构成的正极活性物质的正极复合材料层。

标签:
加工技术
其他 - 其他 来源:中冶有色网 2023-03-19
电池组电池的电极、包含该电极的电池组电池及其应用

本发明描述一种用于电池组电池、特别是用于含锂的二次电池的电极,其包括层状的电极材料(40),所述电极材料包含电极活性材料(42)以及聚合物粘合剂(32),其中所述电极活性材料(42)包括硅颗粒并且所述聚合物粘合剂(32)包含由聚丙烯酸与至少一种其他的聚合物构成的块共聚物。

标签:
加工技术
其他 - 其他 来源:中冶有色网 2023-03-19
超吸收聚合物及其制备方法

本发明涉及超吸收性聚合物及其制备方法。根据本发明的超吸收性聚合物和用于制备超吸收性聚合物的方法,在单体组合物的聚合期间锂皂石以胶体溶液状态包含在内,并因此实现适当的交联密度,从而有助于改善超吸收性聚合物的各种物理特性,例如凝胶强度和离心保留容量。

标签:
加工技术
其他 - 其他 来源:中冶有色网 2023-03-19
含游离石墨的粉末
含游离石墨的粉末 1040     
 0

提供一种改进的雾化粉末金属材料,其在热处理和/或烧结后含有增加的量的游离石墨。所述粉末金属材料通常是铁合金,并且包括,基于粉末金属材料的总重量计,量为1.0wt.%至6.5wt.%的碳和量为0.1wt.%至6.0wt.%的硅。粉末金属材料还可包括各种其他合金化元素,例如镍(Ni)、钴(Co)、铜(Cu)、锡(Sn)、铝(Al)、硫(S)、磷(P)、硼(B)、氮(N)、铬(Cr)、锰(Mn)、钼(Mo)、钒(V)、(Nb)、钨(W)、钛(Ti)、钽(Ta)、锆(Zr)、锌(Zn)、锶(Sr)、钙(Ca)、钡(Ba)、镁(Mg)、锂(Li)、钠(Na)和钾(K)中的至少一种。

标签:
加工技术
其他 - 其他 来源:中冶有色网 2023-03-19
含碳酸酯基的硅烷化合物及其制备方法

本发明为含碳酸酯基的硅烷化合物及其制备方法。提供了具有至少两个通过碳链连接的硅原子的特性结构的含碳酸酯基的硅烷化合物。该硅烷化合物是化学稳定的。当用作非水性电解质溶液的添加剂时,该硅烷化合物不会损害锂离子二次电池的安全性。

标签:
加工技术
其他 - 其他 来源:中冶有色网 2023-03-19
含有负载纳米硫的阴极的碱金属-硫二次电池和制造方法

一种可再充电碱金属‑硫电芯,所述可再充电碱金属‑硫电芯选自锂‑硫电芯、钠‑硫电芯、或钾‑硫电芯。所述碱金属‑硫电芯包括阳极活性材料层、任选的支撑所述阳极活性材料层的阳极集流体、阴极活性材料层、与所述阳极活性材料层和所述阴极活性材料层处于离子接触的电解质与任选的多孔隔膜层、以及任选的支撑所述阴极活性材料层的阴极集流体,其中所述阴极活性材料层含有具有膨胀的石墨烯平面间空间‑其中如通过X射线衍射测量的平面间间距d002#191为从0.43nm至2.0nm‑的石墨或碳材料和按重量计1%‑95%的留在这些膨胀的石墨烯平面间空间中的硫或金属多硫化物。此电池展示出高硫含量、高硫利用效率、高能密度、以及长循环寿命的优异组合。

标签:
加工技术
其他 - 其他 来源:中冶有色网 2023-03-19
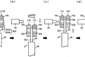
机器人手臂及搬运系统

本发明提供一种机器人手臂及搬运系统,机器人手臂(3)具备第一把持部(352)及第二把持部(353),该第一把持部(352)及第二把持部(353)对将隔膜卷绕于筒状的芯部的外周面而成的隔膜卷绕体(10)进行保持,所述隔膜用于锂离子二次电池。

标签:
加工技术
其他 - 其他 来源:中冶有色网 2023-03-19
上一页 26 27 28 29 30 ... 436 下一页
共436页    到第

中冶有色为您提供最新的其他有色金属加工技术理论与应用信息,涵盖发明专利、权利要求、说明书、技术领域、背景技术、实用新型内容及具体实施方式等有色技术内容。打造最具专业性的有色金属技术理论与应用平台!

全国热门有色金属设备推荐
展开更多 +
全国热门有色金属技术推荐
展开更多 +

 

江西省隆恩特环保设备有限公司
宣传

报名参会
更多+

报告下载

有色专家
更多+

蒙纳士苏州校区
中国工程院外籍院士/校长
长沙矿冶研究院有限责任公司
中国工程院院士
广西大学
处长/教授
湖南有色金属研究院
教授级高工/原总工程师
江西铜业集团有限公司
党委书记、董事长
赤泥综合利用研究报告2025
推广

热门技术
更多+

推荐企业
更多+

福建省金龙稀土股份有限公司
宣传

发布

在线客服

公众号

电话

顶部
咨询电话:
010-88793500-807