青岛垚鑫智能科技有限公司
宣传

位置:中冶有色 >

有色技术频道 >

> 加工技术

分类:
全部
矿山技术
冶金技术
材料制备及加工技术
环境保护技术
分析检测技术
 
全部
功能材料技术
复合材料技术
新能源材料技术
合金材料技术
加工技术
地区:
全部
北京
天津
上海
重庆
河北
山西
辽宁
吉林
黑龙江
江苏
浙江
安徽
福建
江西
山东
河南
湖北
湖南
广东
海南
四川
贵州
云南
陕西
甘肃
青海
内蒙
广西
西藏
宁夏
新疆
其他
其他
展开
 
全部
其他

其他有色金属加工技术理论与应用

免费发布技术信息>>
含有5-氯-2-甲基异噻唑啉-3-酮的协同杀生物剂组合物

本发明涉及一种杀生物剂组合物,其包含5‑氯‑2‑甲基异噻唑啉‑3‑酮和至少一种另外的组分,所述另外的组分选自由2,2‑二溴‑3‑氰基丙酰胺、2,2‑二溴丙二酰胺、四羟甲基乙炔二脲、苯氧乙醇、乙二胺四乙酸盐、吡啶硫酮锌、苯甲醇、锂、2‑甲基‑1,2‑苯并异噻唑啉‑3‑酮、乙基己基甘油、辛乙二醇、对羟基苯甲酸丙酯和邻苯基苯酚组成的组。根据本发明的杀生物剂组合物的特征在于,基于5‑氯‑2‑甲基‑4‑异噻唑啉‑3‑酮的总量计,其含有0‑2重量%的甲基‑4‑异噻唑啉‑3‑酮。本发明还涉及根据本发明的杀生物剂组合物用于对工业产品防腐的用途。

标签:
加工技术
其他 - 其他 来源:中冶有色网 2023-03-19
制备改性粘土的方法、所制备的改性粘土及其用途

本发明提供了经插层、改性和煅烧的绿土粘土以及制备方法,所述粘土包含:(a)支柱,其包含铝以及:(i)至少一种稀土金属或镧系金属;或者(ii)至少一种稀土金属或镧系金属和镓;以及(b)至少一种选自下列的离子交换的金属:铝、钡、铍、钙、铈、铯、铜、铬、钆、镓、锗、铪、钬、铁(II和III)、镧、锂、镁、锰、钕、钾、镨、铷、钐、银、硒、钠、锶、碲、铽、铊、钍、锡、钛、铀、镱、钇、锌和锆;其中所述粘土的特征在于层面间距d001等于或大于约18.5埃。所述改性粘土适当地用作催化剂载体‑活化剂,并且优选地在基本上不存在铝氧烷或含硼化合物情况下,当与茂金属催化剂前体组分组合使用时,可提供使至少一种烯烃聚合的活性催化剂。

标签:
加工技术
其他 - 其他 来源:中冶有色网 2023-03-19
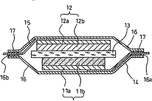
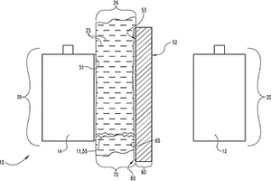
具有膨胀爆裂区域的电池单元

本发明涉及一种电池单元(1),尤其是锂离子电池单元,其中,一绕组元件(3)、两个集电器(7、9)和电解质容纳在一壳体(11)中。该壳体由一容器(13)和一盖组件(15)构成。该盖组件主要包括一盖板(23),其与所述容器在置入所述电池单元的处于内部的部件之后固定连接。根据本发明,所述壳体包括一膨胀爆裂区域(30),当壳体内容物的容积在所述电池单元的一预设的温度运行范围内提高时,所述膨胀爆裂区域形成一拱起部(32)。此外,所述膨胀爆裂区域构造用于,在超过所述壳体内部的一预设的最大压力时爆裂。

标签:
加工技术
其他 - 其他 来源:中冶有色网 2023-03-19
碳材料及其制造方法
碳材料及其制造方法 906     
 0

一种使用于锂离子二次电池负极材料的碳材料,其可以抑制非水电解 液的分解,压缩性优异且能高度填充,并且可以在充放电效率和循环特性 不降低的情况下形成高容量电极。将平均粒径为10~30μm、比表面积S1 为12.5m2/g以下的石墨粉末A与软化点为80~180℃、平均粒径为15~ 150μm的沥青粉末B按照A/B的质量比=98/2~95.5/4.5的比例混合,在将所 得的混合粉末在静置的状态下,于惰性气氛、900~1100℃下进行热处理, 使沥青碳化,制造在上述石墨粉末的表面附着碳的碳材料。碳优先附着于 石墨粒子的端面。碳材料的比表面积S2为1.0~5.0m2/g且满足 0.4≤S2/S1≤0.8。

标签:
加工技术
其他 - 其他 来源:中冶有色网 2023-03-19
二次电池及其制造方法

锂离子二次电池具有电池壳1和将电池壳1的开口部封闭的电池盖3。在由电池壳1和电池盖3划定的空间内,配置有卷绕了正负极板的发电元件组6。电池壳1形成为浅型有底长方体形状,比起构成开口部外周的4个边中的正交的2个边中任一边的长度,另一边的长度小。在发电元件组6中,正负极板的活性物质混合剂的未涂敷部6A、6B相互在相反侧露出。发电元件组6配置成使未涂敷部6A、6B位于贯通孔1B的直接上方。具有连接部件9A、9B,它们与未涂敷部6A、6B连接并经由贯通孔1B与电池外部导通。

标签:
加工技术
其他 - 其他 来源:中冶有色网 2023-03-19
具有受控枝晶生长的可再充电碱金属和碱土电极

具有受控枝晶生长的可再充电碱金属和碱土电极,一种用于延长电池寿命的装置,包括:电极,其具有金属部分,其中,所述金属部分选自包括锂、钙、镁、钠、钾及其组合的组;电解质可渗透膜;以及设置在所述电极与膜之间的金属枝晶晶种材料。所述电极、膜和金属枝晶晶种材料位于电解质基质中。至少一个枝晶从所述电极朝向所述电解质可渗透膜延伸,结合从所述枝晶晶种材料延伸的至少一个枝晶。

标签:
加工技术
其他 - 其他 来源:中冶有色网 2023-03-19
电器件
电器件 1122     
 0

本发明提供一种具有使用了固溶体正极活性物质的正极的锂离子二次电池等电器件,其能够更进一步提高循环耐久性。所述电器件具有发电元件,该发电元件包含:在正极集电体的表面形成含有正极活性物质的正极活性物质层而得到的正极;在负极集电体的表面形成含有负极活性物质的负极活性物质层而得到的负极;含浸电解液而得到的隔板。其中,负极活性物质层含有以式(1)表示的负极活性物质,且正极活性物质层含有以式(2)表示的正极活性物质(固溶体正极活性物质),此时,作为正极活性物质层所含有的固溶体正极活性物质,使用了具有以式(3)表示的组成为基本结构的物质,进一步还在电解液中含有给定的添加剂。

标签:
加工技术
其他 - 其他 来源:中冶有色网 2023-03-19
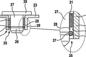
具有带粘接的封闭塞的壳体盖板的电池单元

提出一种电池单元,尤其是锂离子电池单元,其中,一卷绕元件、两个集电器和电解质容纳在一壳体中。该壳体由一金属性的容器和一盖组件构成。该盖组件尤其包括一盖板,其与所述容器在置入所述电池单元的处于内部的部件之后固定连接。根据本发明,设置在盖板(23)中的填入开口(25)借助于一封闭塞(27)封闭,通过该填入开口将电解质填入到壳体的内部中。该封闭塞在此借助于粘接剂(31)保持在填入开口(25)中。密封组件(35)防止了填入到壳体中的电解质与粘接剂(31)接触并且化学腐蚀该粘接剂。

标签:
加工技术
其他 - 其他 来源:中冶有色网 2023-03-19
滑动机构及滑动机构用润滑脂组合物

本发明提供一种滑动机构,其由经由含有增稠剂和基油的润滑脂组合物而滑动的第1构件和第2构件构成,其中,所述润滑脂组合物含有十二羟基硬脂酸锂作为增稠剂,基油为癸二酸二辛酯和/或聚α烯烃油,在第1构件和第2构件的至少一个构件的滑动面上设有由类金刚石碳构成的硬质碳覆膜。

标签:
加工技术
其他 - 其他 来源:中冶有色网 2023-03-19
能够通过化学强化而具有受控的翘曲的玻璃板

本发明涉及一种浮法玻璃板,所述浮法玻璃板具有不含硼和锂的玻璃组成,所述玻璃组成包含以相对于玻璃的总重量表示的重量百分比计的以下各项:65%≤SiO2≤78%5%≤Na2O≤20%0≤K2O< 5%1%≤Al2O3< 6%0≤CaO< 4.5%4%≤MgO≤12%(MgO/(MgO+CaO))比率≥0.5,其特征在于,所述玻璃板具有:(I)。本发明对应于一种可容易化学回火的钠‑硅型玻璃组合物,该玻璃组合物比铝硅酸盐玻璃更适合于大量生产,并且因此是以低成本可获得的,并且具有接近于或非常类似于在现有大量生产中已经使用的组成的基础玻璃/基质组成,并且最终示出了降低的或受控增加的翘曲效应。

标签:
加工技术
其他 - 其他 来源:中冶有色网 2023-03-19
用于金属离子电池的电活性材料

提供了一种微粒材料,所述微粒材料由包含选自硅、锗或其混合物(尤其是硅铝合金)的电活性材料的多个多孔粒子组成,其中所述多孔粒子具有在0.5至7μm范围内的D50粒径、在50至90%范围内的粒子内孔隙度和如通过水银孔率法确定的在30nm至400nm范围内具有至少一个峰的孔径分布。还提供了包含所述微粒材料的电极(尤其是阳极)和电极组合物、包含所述微粒材料的可再充电金属离子电池(尤其是Li离子电池)和用于制备所述微粒材料的方法。建议的是,所要求的微粒材料可以被重复锂化而不破裂,允许容易地到达电解质并且可以容易地分散在电极浆料中。

标签:
加工技术
其他 - 其他 来源:中冶有色网 2023-03-19
光波导元件和使用其的光调制器

光波导元件和使用其的光调制器。本发明提供一种即使减小脊宽也可以抑制TM基模的传播损耗的脊型光波导元件。其具备基板(1)和由形成于基板(1)上的铌酸锂膜构成的波导层(2)。波导层(2)具有:具有规定的厚度的平板部(4)和从平板部(4)突出的脊部(3)。平板部(4)的厚度小于在脊部(3)中传播的光的波长的0.4倍。由此,由于TE平板模的有效折射率充分地降低,因此,TM基模与TE平板模的结合变少。由此,可以抑制TM基模的传播损耗。

标签:
加工技术
其他 - 其他 来源:中冶有色网 2023-03-19
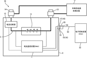
蓄电系统、蓄电元件的监视装置以及蓄电元件的监视方法

为了防止蓄电元件的误使用。由本说明书公开的电池系统是搭载于车辆的电池系统(10),构成为具备:将锂离子电池串联连接而成的二次电池(11);将二次电池(11)的电流切断的电流切断部(12);连接设置于车辆的车辆侧通信连接器(54)的通信连接器(15);设置于通信连接器(15),能够与在铅蓄电池专用车辆的车辆侧通信连接器设置的电源端子连接的探测端子(18);以及基于将车辆侧通信连接器与通信连接器(15)连接了时的探测端子(18)的连接状态在电流切断部(12)中对电流进行切断控制的中央处理装置(21)。

标签:
加工技术
其他 - 其他 来源:中冶有色网 2023-03-19
层叠多孔膜及其制造方法

本发明提供一种在作为锂二次电池用隔离件使用时,不会损害电池特性的耐热性的层叠多孔膜。本发明涉及一种层叠多孔膜,其特征在于,是在由聚烯烃构成的多孔层的单面或双面形成有由酰亚胺系高分子构成的多孔层的层叠多孔膜,具有以下的特性:1)透气度以基于JIS标准P8117得到的Gurley值计,为10秒/100cc~1000秒/100cc;2)在由酰亚胺系高分子构成的多孔层未残留醇系溶剂;3)由酰亚胺系高分子构成的多孔层的厚度为1μm~20μm。

标签:
加工技术
其他 - 其他 来源:中冶有色网 2023-03-19
蓄电池和机动车
蓄电池和机动车 899     
 0

本发明涉及一种蓄电池,例如用于由锂离子蓄电池单元或者镍金属氢化物蓄电池单元所形成的可充电的蓄电池,该蓄电池例如在电动机动车和混合动力机动车或者传统的机动车中使用。本发明也涉及机动车。蓄电池具有用于确定蓄电池电压的电压测量装置、至少一个可逆的用于重新可撤销地电气地将蓄电池从电气网络分离以便充电或者放电蓄电池的分离装置和电子部件的电路,该电路在蓄电池的深度放电和/或过压时断开分离装置。该蓄电池的特征在于可激活的装置,其被设置为在激活时通过分离装置的激活的闭合保持来去激活电路的作用。依据本发明的装置使得具有过压保护和深度放电保护的蓄电池能够应用于具有临时的较高的功率消耗和功率释放的应用之中。

标签:
加工技术
其他 - 其他 来源:中冶有色网 2023-03-19
非水电解质二次电池用负极及非水电解质二次电池

本发明涉及非水电解质二次电池用负极及非水电解质二次电池,非水电解质二次电池用负极具备负极集电体、第1负极活性物质层和第2负极活性物质层。第1负极活性物质层形成于负极集电体上。第1负极活性物质层包含石墨作为第1负极活性物质。第2负极活性物质层形成于第1负极活性物质层上。第2负极活性物质层包含钛酸锂复合氧化物作为第2负极活性物质。

标签:
加工技术
其他 - 其他 来源:中冶有色网 2023-03-19
制备3,3-二甲基丁醛的方法

公开通过用碱性锂盐使3,3-二甲基环氧丁烷异构化从而制备3,3-二甲基丁醛的方法,而3,3-二甲基环氧丁烷又可以通过使二甲基丁烷氧化制备。该方法为制备3,3-二甲基丁醛提供了一个经济的方法。

标签:
加工技术
其他 - 其他 来源:中冶有色网 2023-03-19
可伸展、无溶剂、完全非晶形固体电解质薄膜

一种形成电解质薄膜的方法,包括混合丁二腈(SCN)、锂盐和可交联聚醚添加物以形成各向同性非晶形混合物;并且使所述可交联聚醚交联以形成固化薄膜,其中所述固化薄膜仍是非晶形的而未经历聚合诱导的相分离或者结晶过程。

标签:
加工技术
其他 - 其他 来源:中冶有色网 2023-03-19
用于治疗情感障碍的喹诺酮衍生物和情绪稳定剂

本发明的药物组合物包含混合在可药用载体中的作为多巴胺-5-羟色胺系统稳定剂的喹诺酮衍生物以及情绪稳定剂。所述喹诺酮衍生物可以是阿立哌唑或其代谢物。所述情绪稳定剂可以包括但并不限于锂、丙戊酸、双丙戊酸钠、卡马西平、oxcarbamazapine、唑尼沙胺、拉莫三嗪、托吡酯、加巴喷丁、左乙拉西坦或者氯硝西泮。所述组合物可用于治疗患有情感障碍尤其是例如伴有或不伴有精神病特征的双相性精神障碍、躁狂症或者混合型发作的患者。本发明提供了向患有情感障碍的患者单独施用喹诺酮衍生物和情绪稳定剂的方法。

标签:
加工技术
其他 - 其他 来源:中冶有色网 2023-03-19
非水电解质二次电池用负极活性物质及其制造方法以及非水电解质二次电池

本发明提供含有可与锂形成金属间化合物的元素的非水电解质二次电池用负极活性物质,其中将水分量设定为相对于所述元素每1个原子为0~0.04分子。所述非水电解质二次电池具备:含有所述负极活性物质的负极、正极、将所述负极与所述正极之间隔离的隔膜以及非水电解质。

标签:
加工技术
其他 - 其他 来源:中冶有色网 2023-03-19
非水电解质二次电池用电极及使用该电极的非水电解质二次电池

本发明的目的是提供一种电极,该电极用以提供电池性能差异较小的 非水电解质二次电池;以及使用该电极的非水电解质二次电池。本发明相 关的非水电解质二次电池电极的特征在于,由含有活性物质和聚合物的合 剂以及集电体构成,所述活性物质通过充放电可逆性地插入及释放锂离子, 所述聚合物的应力松弛率(1-σ10/σ0)×100(%)为50~80%,且将合剂在60℃的 电解液中浸渍72小时后,合剂的厚度变化率为-3~10%。

标签:
加工技术
其他 - 其他 来源:中冶有色网 2023-03-19
介电陶瓷材料及其所制成的积层陶瓷电容

本发明提供一种介电陶瓷材料设计方式及其方式所制成的积层陶瓷电容器。利用复合材料的观点,以高居里温度介电材料添加低居里温度介电材料,形成复合相。两种材料相互补偿并稳定介电常数对温度的变化率,可达到大温度范围的介电特性稳定度。本发明以钛酸钡为低居里温度介电材料并为主要成分(钛酸钡居里温度约130℃),添加居里温度200℃以上的介电材料。所述的添加物可以选自钽酸锂、铈酸钡、铌酸钠及其任意组合所组成的群组其中的一种,可得到新型介电材料,且其电容温度系数稳定。藉此,以此种方式所开发的介电陶瓷材料可符合电子工业协会的X9R规范(应用温度范围-55至200℃,电容温度系数ΔC/C≤±15%),高温应用范围甚至可超越250℃。

标签:
加工技术
其他 - 其他 来源:中冶有色网 2023-03-19
用于极高温度的基于多硫化物的传热流体和蓄热流体

本发明涉及一种用于传输和储存热能的组合物,其包含式(Me1(1-x)Me2x)2Sz的碱金属多硫化物,其中Me1和Me2为选自锂、钠、钾、铷和铯的碱金属,Me1不同于Me2,x为0-1且z为2.3-3.5。

标签:
加工技术
其他 - 其他 来源:中冶有色网 2023-03-19
非水电解质二次电池用负极及其制造方法、以及非水电解质二次电池

本发明的非水电解质二次电池用负极具备具有多数贯穿孔的片材状的集电体、形成于集电体的表面及贯穿孔内的碳层、和形成于碳层的表面的合剂层。合剂层包含活性物质及导电剂,活性物质包含具有尖晶石型的晶体结构的含锂钛复合氧化物。集电体的空隙率为20~60%。碳层的平均密度为0.05~0.4g/cm3。通过使用该负极,可得到具有优良的倍率特性及循环特性的非水电解质二次电池。

标签:
加工技术
其他 - 其他 来源:中冶有色网 2023-03-19
具有三维阳极结构的薄膜电化学能量存储器件

本发明公开了一种通过薄膜沉积工艺形成电池的方法。将介孔碳材料沉积到导电基板的表面上,在该导电基板的表面上形成有高表面积的导电微结构。之后将多孔的介电分离层沉积到该介孔碳材料层上,以形成能量存储器件的半电池。介孔碳材料由CVD沉积的碳富勒烯“洋葱”和碳纳米管构成,且具有高孔隙度,所述高孔隙度能够保持有利于存储相当大量的电能的锂离子浓度。本发明的实施例还提供了电极的形成,所述电极具有在电池结构中有利的高表面积导电区域。在一种结构中,所述电极具有高表面积导电区域,所述高表面积导电区域包括多孔的树枝状结构,可以通过电镀、物理气相沉积、化学气相沉积、热溅射、和/或化学镀技术形成所述多孔的树枝状结构。

标签:
加工技术
其他 - 其他 来源:中冶有色网 2023-03-19
金属或准金属纳米颗粒的制备方法

本发明涉及制备包含元素金属或准金属和/或它们的合金的纳米颗粒的方法。该方法可包括用碱金属还原金属卤化物或准金属卤化物以生成包含所需金属或准金属的颗粒以及卤化物盐的反应产物。一个实施方式可包括在非反应性的溶剂存在的情况下将反应物相互导入,和/或在反应物和/或非反应性溶剂,如果存在的话,中诱导空化。一些金属或准金属如锡,铝,硅,锑,铟或铋,通过这些示例性方法制备后,可适用于电化学电池,如锂离子电池。电池电极的一个实施方式可包括通过这些或其它方法制备的纳米颗粒。

标签:
加工技术
其他 - 其他 来源:中冶有色网 2023-03-19
化学强化玻璃
化学强化玻璃 931     
 0

本发明涉及化学强化玻璃,能够充分地发挥玻璃本来所具有的性能。本化学强化玻璃是对含锂的铝硅酸盐玻璃进行化学强化所得到的化学强化玻璃,在将所述化学强化玻璃的板厚设为t、将从所述化学强化玻璃的表面起的深度x处的内部应力设为σ(x)时,基于规定的式子求出的化学强化玻璃的内部能量密度rE与内部能量密度的上限值rElimit=16×t/1000+3之比C=rE/rElimit的值为0.7以上、且小于1.0,其中,t的单位μm,x的单位μm,σ(x)的单位MPa,rE的单位kJ/m2。

标签:
加工技术
其他 - 其他 来源:中冶有色网 2023-03-19
水系喷墨印染油墨组合物及印染方法

提供一种发色性、水溶性、制成油墨时的油墨的保存稳定性优异的水系喷墨印染油墨组合物及印染方法。所述水系喷墨印染油墨组合物包含:由多个由式(1)、式(2)和式(3)的任意一方表示的配体与金属原子配位而得的染料、锂离子以及钠离子。[化学式1][化学式2][化学式3]

标签:
加工技术
其他 - 其他 来源:中冶有色网 2023-03-19
碱金属四元纳米材料
碱金属四元纳米材料 893     
 0

本公开涉及制造碱金属四元结晶纳米材料。碱金属四元结晶纳米材料具有通式A(I2‑II‑IV‑VI4);并且其中I为钠(Na)或锂(Li),II和IV为Zn或Sn,并且VI为硫属元素,选自包括:硫(S)、硒(Se)和碲(Te)的组。碱金属四元结晶纳米材料的晶相可为原始混合Cu‑Au状结构(PMCA)并且可具有空间群:P42m。纳米材料可适用于提供太阳能电池。还提供制造方法。

标签:
加工技术
其他 - 其他 来源:中冶有色网 2023-03-19
硫化物系固体电解质粒子的制造方法

本发明涉及硫化物系固体电解质粒子的制造方法。目的在于提供在维持所期望的离子传导率的同时可进行微粒化的硫化物系固体电解质粒子的制造方法。硫化物系固体电解质粒子的制造方法,其特征在于,包括:准备含有锂、磷和硫的硫化物系固体电解质材料的工序,准备烃系化合物和醚系化合物的混合溶剂的工序,和在非活性气体气氛下、在所述混合溶剂中对所述硫化物系固体电解质材料进行粉碎处理,将该硫化物系固体电解质材料微粒化的工序;所述混合溶剂的水分浓度为100质量ppm以上且200质量ppm以下。

标签:
加工技术
其他 - 其他 来源:中冶有色网 2023-03-19
上一页 27 28 29 30 31 ... 436 下一页
共436页    到第

中冶有色为您提供最新的其他有色金属加工技术理论与应用信息,涵盖发明专利、权利要求、说明书、技术领域、背景技术、实用新型内容及具体实施方式等有色技术内容。打造最具专业性的有色金属技术理论与应用平台!

全国热门有色金属设备推荐
展开更多 +
全国热门有色金属技术推荐
展开更多 +

 

江西省隆恩特环保设备有限公司
宣传

报名参会
更多+

报告下载

有色专家
更多+

中南大学
常务副校长
矿冶科技集团有限公司
所长/研究员级高工
广西大学
处长/教授
江西理工大学
副校长/教授
昆明理工大学
校长
赤泥综合利用研究报告2025
推广

热门技术
更多+

推荐企业
更多+

福建省金龙稀土股份有限公司
宣传

发布

在线客服

公众号

电话

顶部
咨询电话:
010-88793500-807