青岛垚鑫智能科技有限公司
宣传

位置:中冶有色 >

有色技术频道 >

> 加工技术

分类:
全部
矿山技术
冶金技术
材料制备及加工技术
环境保护技术
分析检测技术
 
全部
功能材料技术
复合材料技术
新能源材料技术
合金材料技术
加工技术
地区:
全部
北京
天津
上海
重庆
河北
山西
辽宁
吉林
黑龙江
江苏
浙江
安徽
福建
江西
山东
河南
湖北
湖南
广东
海南
四川
贵州
云南
陕西
甘肃
青海
内蒙
广西
西藏
宁夏
新疆
其他
其他
展开
 
全部
其他

其他有色金属加工技术理论与应用

免费发布技术信息>>
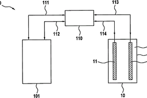
确定电池组老化状态的方法、控制电池组的方法和运行装置

本发明涉及用于确定电池组(10)、尤其是锂离子电池组的老化状态的方法,具有以下步骤:(A)在第一时刻(t1)检测电池组(10)的特性曲线(20)的至少一个分段(25);(B)规定和/或者确定电池组(10)的特性曲线(20)的分段(25)中的至少一个显著的子分段(30)或者点(33);(C)在第一时刻(t1)之后的第二时刻(t2)检测电池组(10)的特性曲线(20)的分段(25)中相应的显著的子分段(30)或者点(33);(D)在第一和第二时刻(t1,t2)确定电池组(10)的特性曲线(20)的分段(25)中的显著的子分段(30)或者点(33)的变化程度;并且(E)根据变化程度生成代表电池组(10)老化状态的老化程度。

标签:
加工技术
其他 - 其他 来源:中冶有色网 2023-03-19
(酰胺氨基烷烃)金属化合物及使用所述金属化合物制备含金属的薄膜的方法

本发明公开了一种由通式(1)表示的(酰胺氨基烷烃)金属化合物和一种使用所述金属化合物制备含该金属的薄膜的方法。(所述式中,M代表金属原子;R1代表具有1?6个碳原子的直链、支链或环状的烷基;R2和R3可以彼此相同或不同,各自独立地代表具有1?3个碳原子的直链或支链的烷基,或R2和R3可以与它们连接的氮原子一起形成一个经取代的或未经取代的5元或6元环。Z代表具有1?10个碳原子的直链或支链的亚烷基(但是,可选地,其一部分可形成环)。配位体的数目由n表示,n为1?3中的一个整数,并且等于金属M的化合价数。但是,排除M为Li(锂)、Be(铍)、Ge(锗)或Nd(钕)的情况,M为Mg(镁)且R1为甲基的情况,M为Zn(锌)且R1为甲基的情况,M为Bi(铋)且R1为叔丁基的情况。此外,当n为2或更大时,两个或多个配位体可以彼此相同或不同。)

标签:
加工技术
其他 - 其他 来源:中冶有色网 2023-03-19
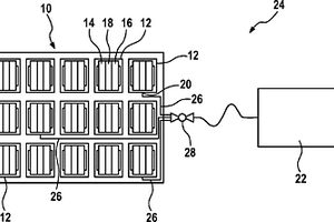
储能器、包括储能器的装置和用于确定储能器的功能状态的方法

本发明涉及储能器、尤其是基于锂的储能器。为了能够尽可能简单地和精确地确定功能状态、例如老化状态,储能器(10)包括至少一个电池单元(12),该电池单元具有阳极(14)、阴极(16)和布置在阳极(14)和阴极(16)之间的电解质(18),其中至少一个电池单元(12)具有用于将功能材料从电池单元(12)送出到分析单元(22)中的出口(20),并且其中所述出口(22)可以与分析单元(22)不透流体地连接。本发明此外涉及包括储能器和分析单元的装置以及涉及用于确定储能器的功能状态的方法。

标签:
加工技术
其他 - 其他 来源:中冶有色网 2023-03-19
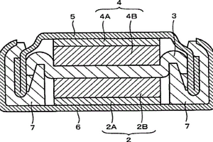
Li离子电池连接的低压电子束焊接

本发明涉及Li离子电池连接的低压电子束焊接。本发明公开了用于将单独锂离子电池连接为适用于给电动车或混合车辆供电的电池的方法。电池单元集流器在基本上无氧的气氛中通过电子束焊接到彼此且焊接到连接器极耳。电池单元集流器和连接器凸耳暂时利用夹具固定,夹具的一部分具有开口。电子束大小可受到磁性线圈和气氛对电子散射的程度的限制,以最小地填充夹具开口来最小化对夹具的任何辐照。若需要,该束或工件可移位,融合整个开口区域。将多个连接器极耳焊接到汇流排可遵循类似的程序。

标签:
加工技术
其他 - 其他 来源:中冶有色网 2023-03-19
电极用集流体材料及其制造方法

本发明提供一种可以快速充放电,可用于电池电极及电容器电极的电极用集流体的制造方法。本发明的电极用集流体及其制造方法是,使用钒等的有机液体金属,对比表面积大的氧化钛微粒进行表面改性处理。使用该电极用集流体,可以实现用于电池和电容器的集流体,并且急速充放电性能好。上述氧化钛微粒可以具有锐钛型结晶结构。可使用上述电极用集流体构成电极、锂离子电池或电容器。

标签:
加工技术
其他 - 其他 来源:中冶有色网 2023-03-19
凝胶聚合物电解质组合物、凝胶聚合物电解质及含有其的电化学装置

一种凝胶聚合物电解质组合物,包括i)一种用作通过聚合形成凝胶聚合物的单体并且在其一个末端具有至少两个双键的化合物;ii)一种含有碳酸酯和线型饱和酯的电解质溶剂;iii)一种电解质盐;和iv)一种聚合引发剂。使用以上组合物形成的凝胶聚合物电解质具有优良的机械强度和锂离子传导性。含有所述凝胶聚合物电解质的二次电池具有改进的室温/低温特性和倍率容量。

标签:
加工技术
其他 - 其他 来源:中冶有色网 2023-03-19
电池系统的气体清洁单元

本发明涉及用于蓄能器系统特别是锂电池系统的气体清洁单元(10),其包括:带有内腔(12)的容器(11);用于把可从蓄能器排出的气体的气体流(14)引入到容器(11)的内腔(12)中的气体入口(13);和用于把气体流(14)从容器(11)的内腔(12)引出的气体出口(15),其中,容器(11)的内腔(12)包括用于分离可排出的气体的至少一种组分的至少一种分离机构(16)。为了提高蓄能器系统的安全性,以及特别是在其使用和制造方面提高气体清洁单元(10)的灵活性,在容器(11)的内腔(12)中设有至少一种表面增大结构(17a、17b、17c、17d)。本发明还涉及配备有所述气体清洁单元的蓄能器系统。

标签:
加工技术
其他 - 其他 来源:中冶有色网 2023-03-19
无线电力传输装置及其发热控制方法和制造方法

能够调整从恒定电流充电转变为恒定电压充电时的输入至无线电力传输装置的输入电流,从而控制无线电力传输装置的发热。关于利用谐振现象从供电模块(2)对连接有能够以恒定电流恒定电压充电方式充电的锂离子二次电池(9)的受电模块(3)供给电力的无线电力传输装置(1),以相对于供给至供电模块(2)的电力的驱动频率的传输特性的值具有双峰性的特性的方式设定构成供电模块和受电模块的可变的参数,由此调整驱动频率,来设定恒定电压充电时的无线电力传输装置(1)的输入阻抗(Zin)的值的增减倾向,并调整无线电力传输装置(1)的输入电流(Iin)的增减倾向,从而能够控制无线电力传输装置(1)的发热。

标签:
加工技术
其他 - 其他 来源:中冶有色网 2023-03-19
氟化电解质组合物
氟化电解质组合物 1156     
 0

本发明描述了包含溶剂混合物的电解质组合物,所述溶剂混合物包含乙酸-2,2-二氟乙酯和碳酸亚乙酯。电解质组合物可用于电化学电池如锂离子电池中。

标签:
加工技术
其他 - 其他 来源:中冶有色网 2023-03-19
蓄电系统、再生蓄电系统和汽车

本发明提供一种降低了高温环境下的再生充电那样的高温环境下的急速充电时的电池膨胀的再生用蓄电系统。其特征在于包括:以非水电解质蓄电池为单位单元并且通过再生电力进行充电的电池组(3),该非水电解质蓄电池具备包含锂钛复合氧化物的负极层、包含载置上述负极层的集电体的负极;在上述电池组的温度大于等于45℃小于等于90℃时,将上述单位单元的最大充电终止电压V1(V)控制在下式(1)的范围内的充电控制装置(4),其中,V0表示在25℃将上述电池组充满电时的上述单位单元的最大充电终止电压(V),0.85×V0≤V1≤0.96×V0 (1)。

标签:
加工技术
其他 - 其他 来源:中冶有色网 2023-03-19
C3—C20链烷脱氢催化剂及其制备

本发明涉及一种含载体的催化剂,其载体含元素 周期表中的至少一种第八族的金属,例如铂,钯,钌, 铑,镍,锇,和铱,以及至少一种选自于由IIB,IIIA, IVA,IVB,VA,VB,VIIB和VIII族组成的组中的附 加金属和至少一种选自于由碱金属和碱土金属组成 的组中的金属,其特征在于:所述碱金属或碱土金属 至少部分地呈铝酸盐形式含在载体中;本发明还涉及其制备和所述催化剂在链烷C3—C20脱氢中的应用。

标签:
加工技术
其他 - 其他 来源:中冶有色网 2023-03-19
酰化二酮化合物的制备方法

在氰化物源的存在下,使相应的烯醇酯重排,生 产酰化二酮化合物。在一个实施方案中,使用氰化物 源和相对于烯醇酯摩尔过量的中强碱。在另一方案 中,相对于烯醇酯而言,氰化物源是化学计算量的氰 化钾或氰化锂,并使用催化量的冠醚。

标签:
加工技术
其他 - 其他 来源:中冶有色网 2023-03-19
铁电极板晶畴反转的方法及其应用

本发明涉及一种控制晶核形成的方法,该方法可在单畴铁电极板(例如掺氧化镁铌酸锂的极板)上实现设计的晶畴反转。该方法包括:利用电晕放电法,对带有指定电极光栅的极板进行第一次极化,形成电极光栅下的浅晶畴反转(即晶核形成),紧接着,根据静电法进行第二次晶体极化,以实现均匀的深晶畴反转。本发明的另一个目的在于提供一种生成宽波带光源的方法,该方法采用一种具有周期性晶畴反转结构的非线性晶体。

标签:
加工技术
其他 - 其他 来源:中冶有色网 2023-03-19
用于连续铸钢的结晶器熔剂

一种用于连续铸钢(特别是超低碳钢)的颗粒状 结晶器熔剂,含有难熔金属氧化物、一种或多种助熔剂、发泡 剂如可膨胀的石墨、可膨胀的珍珠岩或可膨胀的蛭石、炭黑、 二氧化锰和淀粉。该颗粒优选是直径为0.1mm-1mm的球形 颗粒。优选的组合物含有碳酸钠和/或碳酸锂,它们除了是助熔 剂外还作为粘合剂。

标签:
加工技术
其他 - 其他 来源:中冶有色网 2023-03-19
长期热稳定的聚合物制品及其制备方法

本发明揭示了一种长期热稳定的聚合物制品及其制备方法,该制品由卤化乙烯聚合物组合物制成。该组合物包括a)一种或一种以上含金属的基础稳定剂化合物;以及b)很细地分散的共稳定的磷酸盐材料,包括无水或含水的磷酸氢钠或钾,磷酸二氢锂,或焦磷酸碱金属盐。

标签:
加工技术
其他 - 其他 来源:中冶有色网 2023-03-19
制备脯氨酸硼酸酯的方法

介绍了一种制备脯氨酸硼酸酯的方法。N-被保护的吡咯在2-位被锂化,其产物与硼酸三烷基酯反应。再将其还原以形成被保护的脯氨酸硼酸,然后使之与二醇反应以得到酯。随着用酯基保护的硼酸部分将氮上的保护基除去,以获得需要的脯氨酸硼酸酯。在一可替换的合成中制得的脯氨酸硼酸酯在硼原子上具有一个手性中心。还公开了对映体拆分的方法,以获得在C-端基具有脯氨酸硼酸酯而不是一种氨基酸的肽。这些硼酸肽类似物可用于抑制生物学上重要的蛋白酶。还公开了几种从蒎二醇硼酸酯中除去蒎二醇的方法。

标签:
加工技术
其他 - 其他 来源:中冶有色网 2023-03-19
正极活性物质的制造方法

本发明公开了一种正极活性物质的制造方法。该方法包括以下步骤:沉淀步骤,用于将沉积成分的溶液提供到包含锂LI和镍NI的复合氧化物颗粒上,在短时间内从该复合氧化物颗粒上的溶液中除去溶剂,并将沉积成分沉淀到该复合氧化物颗粒的表面上;以及加热步骤,用于在氧化气氛下加热具有表面上沉淀有沉积成分的复合氧化物颗粒。

标签:
加工技术
其他 - 其他 来源:中冶有色网 2023-03-19
用于办公自动化设备的导电性部件

提供用于办公自动化设备的一种导电性部件,该导电性部件在体积电阻率为105至1012Ω·cm的范围内表现出非常稳定的导电性,而且其导电性对所施加的电压具有弱依赖性,在连续通电过程中,其导电性几乎不发生变化,而且其导电性也几乎不随环境条件的变化例如温度变化或湿度变化而改变。该导电性部件是通过使包含非醚类聚氨酯、炭黑和双(三氟甲烷磺酰基)亚胺锂的组合物模压成型而制得的。

标签:
加工技术
其他 - 其他 来源:中冶有色网 2023-03-19
与聚酯和聚酰胺使用的阳离子染色改性剂

公开了一种化合物及其作为阳离子染色改性剂 的用途,例如引入到聚酯和聚酰胺中以提高其对碱性染料的亲 和性,化合物结构式如下:R1OOC-(CH2)n-CH(CH2CH2SO3X)-(CH2)m-COOR2,其中n是1~10的整数,m是1~10的整数,X是选自锂、钠和钾的一种碱金属,R1和R2独立地选自氢和具有1~4个碳原子的烷基。

标签:
加工技术
其他 - 其他 来源:中冶有色网 2023-03-19
二次电池的正极活性材料、其制备方法及包含该材料的无水二次电池

根据本发明用于二次电池的正极活性材料包括O、含量高于25%(以重量计)的Fe、重量百分比高于0%低于35%的V。正极活性材料不含锂,当用CuKα射线对其进行X-射线分析时显示了下列的主要衍射峰:2θ大于26°而小于29°时的一个峰,以及2θ大于29°而小于32°时的一个峰。其正极包含所述正极活性材料的无水二次电池具有高容量、循环使用寿命长、价格便宜且环保。

标签:
加工技术
其他 - 其他 来源:中冶有色网 2023-03-19
具有高耐腐蚀性的金属多孔体及其制造方法

本发明提供了一种具有优异耐腐蚀性的金属多孔体,其适用于锂离子电池等电池、电容器或燃料电池的集电体。还提供了用于制造金属多孔体的方法。该制造方法包括:用至少含有镍和钨的合金、或者至少含有锡的金属包覆镍多孔体的步骤;以及在此步骤之后进行热处理的步骤。或者,该制造方法包括:在多孔基材上形成镍镀层之后,继续形成至少含有镍和钨或镍和锡的合金镀层的步骤;除去多孔基材的步骤;以及还原金属的步骤。利用该方法获得金属多孔体,所述金属多孔体的镍多孔体或者镍镀层中扩散有钨或锡。

标签:
加工技术
其他 - 其他 来源:中冶有色网 2023-03-19
保暖衣控制电路
保暖衣控制电路 1037     
 0

本发明公开了一种保暖衣控制电路,旨在提供一种操作简单、电路设计合理、使用更加方便,可以随意控制温度的保暖衣温控电路。它包括电源、发热元件、稳压电路,加热驱动电路,温控电路。所述的控制电路还包括按键电路;所说的温控电路是档位控制及加热控制电路;所说的电源是锂子电池,发热元件为碳纤维发热线。所述的按键电路通过档位控制及加热控制电路来控制加热驱动电路,加热驱动电路和发热元件连接,起到控制发热元件温度的作用,稳压电路和电源连接,对档位控制及加热控制电路起到稳压的作用。

标签:
加工技术
其他 - 其他 来源:中冶有色网 2023-03-19
磷化,后淋洗和阴极电浸涂的方法

发明涉及一种对钢、电镀钢和/或铝和/或合金等制成的表面预处理的方法。根据所说的方法,第一步中使用低镍含量的锌磷化溶液对表面磷化处理,第二步中使用含0.001-10克/升锂离子、铜离子和/或银离子的水溶液对磷化后的表面进行后淋洗,和第三步中使用低铅含量的阴极沉积的电浸涂涂料。涂料中铅含量,相对于涂料干基,不高于0.05重量%。

标签:
加工技术
其他 - 其他 来源:中冶有色网 2023-03-19
光催化剂模块、光催化剂模块的生产方法以及光催化剂反应装置

公开了一种光催化剂模块,其包括:基体,比如说一种金属板;一光催化剂层,如氧化钛层;以及布置在基体和光催化剂层之间的、含硅酸锂的保护层。其中保护层能有效地经受采用火焰喷涂法形成光催化剂层时的热量并能防止基体的氧化和/或分解。

标签:
加工技术
其他 - 其他 来源:中冶有色网 2023-03-19
带有不可逆熔断器的电化电池

本发明描述一种可再充电的电化电池(1),其具有至少一个锂注入电极和薄柔性外壳,所述薄柔性外壳紧密地关闭且包括由粘合或密封层(4)连接到彼此的两个膜,其中所述电池具有至少一个主导线(2),该主导线具有整合的不可逆脱扣热熔断器(3),且所述熔断器布置于所述外壳内和/或嵌入于所述粘合或密封层(4)内。

标签:
加工技术
其他 - 其他 来源:中冶有色网 2023-03-19
微孔膜、所述膜的制备方法以及所述膜作为电池隔膜的用途

本发明涉及微孔膜,所述微孔膜含有聚合物且具有透过度和热收缩率、特别是在升高温度下的热收缩率的良好的平衡性。本发明还涉及用于此类膜的制备方法以及此类膜作为例如锂离子二次电池中的电池隔膜的用途。

标签:
加工技术
其他 - 其他 来源:中冶有色网 2023-03-19
具有绝缘散热基板的电子元件

本发明提供一种具有绝缘散热基板的电子元件,包括:一散热基板;其中,该散热基板为一经绝缘处理的镁合金板,且该镁合金板不包括锂元素;一电路层,直接贴覆形成于该散热基板的板体表面处;以及一电子元件,以覆晶方式电连接于该电路层,且该电子元件的至少部分绝缘结构体,是经由一中介层而固定于该散热基板,以藉由该中介层与该散热基板进行散热传导。本发明成本低,实现工序简单,且可有效地解决目前LED晶粒、IC晶粒或IC基板的散热问题。

标签:
加工技术
其他 - 其他 来源:中冶有色网 2023-03-19
用于电化学发生器的离子型导电材料和制备方法

本发明涉及用于电化学发生器的离子型导电材料。本发明旨在提供新的离子型导电材料,其可用于电化学发生器,例如隔膜、固体聚合物电解质或电极,具有良好的机械性能和良好的离子导电性,并能够防止锂电池中的枝晶生长。所述材料包括:1.至少一种不同于聚合物B的聚合物A,其离子电导率介于10‑5S/cm和10‑3S/cm之间,2.至少一种聚合物B,具有表征为储能模量≥200MPa的机械强度,例如200MPa至5000MPa或350MPa至1500MPa,3.至少一种补强填充剂C。本发明还涉及基于所述类型材料的薄膜和合成所述薄膜的方法。本发明还涉及基于所述离子型导电材料的隔膜、固体聚合物电解质或电极、以及包含这种离子型导电材料的电化学发生器。

标签:
加工技术
其他 - 其他 来源:中冶有色网 2023-03-19
二次电池、电子设备及车辆

提供一种充放电容量大的正极活性物质。提供一种充放电电压高的正极活性物质。提供一种劣化少的蓄电装置。提供一种安全性高的蓄电装置。提供一种新颖的蓄电装置。正极活性物质包含锂、多个过渡金属、氧及杂质元素。正极活性物质包括具有表层部的第一区域及设置于内部的第二区域,第一区域的过渡金属的浓度比所述第二区域高。在第一区域与第二区域之间包含杂质区域。

标签:
加工技术
其他 - 其他 来源:中冶有色网 2023-03-19
陶瓷粉末、复合粉末材料及密封材料

陶瓷粉末的特征在于,析出有β‑锂霞石或β‑石英固溶体作为主结晶相,平均粒径D50为20μm以下,且30~300℃的热膨胀系数为负。

标签:
加工技术
其他 - 其他 来源:中冶有色网 2023-03-19
上一页 29 30 31 32 33 ... 436 下一页
共436页    到第

中冶有色为您提供最新的其他有色金属加工技术理论与应用信息,涵盖发明专利、权利要求、说明书、技术领域、背景技术、实用新型内容及具体实施方式等有色技术内容。打造最具专业性的有色金属技术理论与应用平台!

全国热门有色金属设备推荐
展开更多 +
全国热门有色金属技术推荐
展开更多 +

 

江西省隆恩特环保设备有限公司
宣传

报名参会
更多+

报告下载

有色专家
更多+

广东省科学院资源利用与稀土开发研究所
教授
赣州有色冶金研究所有限公司
副主任/高级工程师
中南大学
院长/教授
北京科技大学、中国科学院
院士
西北有色金属研究院、中国工程院
院士
赤泥综合利用研究报告2025
推广

热门技术
更多+

推荐企业
更多+

福建省金龙稀土股份有限公司
宣传

发布

在线客服

公众号

电话

顶部
咨询电话:
010-88793500-807