青岛垚鑫智能科技有限公司
宣传

位置:中冶有色 >

有色技术频道 >

> 加工技术

分类:
全部
矿山技术
冶金技术
材料制备及加工技术
环境保护技术
分析检测技术
 
全部
功能材料技术
复合材料技术
新能源材料技术
合金材料技术
加工技术
地区:
全部
北京
天津
上海
重庆
河北
山西
辽宁
吉林
黑龙江
江苏
浙江
安徽
福建
江西
山东
河南
湖北
湖南
广东
海南
四川
贵州
云南
陕西
甘肃
青海
内蒙
广西
西藏
宁夏
新疆
其他
其他
展开
 
全部
南京
无锡
徐州
常州
苏州
南通
连云港
淮安
盐城
扬州
镇江
泰州
宿迁

江苏泰州有色金属加工技术理论与应用

免费发布技术信息>>
便携式集成锂电系统面板

本实用新型公开了一种便携式集成锂电系统面板,涉及通讯基站备电领域。在狭长型面板上设置锂电BMS集成电路、防插反插座、双向过流保护断路装置和把手,实现锂电电源的系统、控制系统、电池保护系统及输入输出系统的完全集成,可进行快速部署,直插直用,使大容量锂电池搬运方便、操作快捷准确,功能完备,完全满足发散式通信基站的使用需求。

标签:
加工技术
江苏 - 泰州 来源:中冶有色网 2023-03-18
液态锂浇筑台
液态锂浇筑台 915     
 0

本实用新型涉及一种液态锂浇筑台,所述液态锂浇筑台包括转盘、若干浇筑锅和机架,所述转盘可转动地设置在机架上,各浇筑锅均匀设置在转盘上,所述浇筑锅包括锅体、阻隔片以及电磁推杆机构,所述锅体上部设有阻隔槽,所述阻隔片插接在所述阻隔槽内,所述电磁推杆机构与所述阻隔片连接。本实用新型提供的液态锂浇筑台能够快速高效完成液态锂浇筑作业,使得产品质量大大提高。

标签:
加工技术
江苏 - 泰州 来源:中冶有色网 2023-03-18
磷酸亚铁锂合成方法
磷酸亚铁锂合成方法 798     
 0

本发明公开一种磷酸亚铁锂合成方法,属于锂离子电池正极材料制 备方法。该方法选用金属锂粉和无水磷酸铁为原料,两者用料摩尔比为 (0.98~1.02)∶1,在充满干燥氩气的手套箱中混合均匀,装入密闭不 锈钢容器中,再将不锈钢容器在加热炉中加热至215℃~675℃,保温 14~2000min,随炉冷却至≤60℃时,取出研磨,过300目筛,即得产品。 本方法简单、不污染环境,所得产品纯度高、振实密度大、电化学性能 优良,比现有固相法合成磷酸亚铁锂具有显著进步。

标签:
加工技术
江苏 - 泰州 来源:中冶有色网 2023-03-18
适用于高低温环境的锂离子电池模块

本实用新型公开了一种适用于高低温环境的锂离子电池模块,所述电池模块整体为长方体,包括塑框、端板、锂离子电芯、铝板组件、塑带;所述端板、锂离子电芯、铝板组件下侧均与塑框相适配,与塑框垂直卡接;所述铝板组件及其两侧各设有一只锂离子电芯,组成电芯组;所述电芯组至少两组,依次紧密排布在塑框上,两端各用一块端板夹紧;所述塑带两条,扎紧设置于电池模块上下端;所述铝板组件上设有散热装置、加热装置。本实用新型电池模块能够适用于高低温环境,使电芯维持高效工作状态,通过铝板组件结构设计实现散热及加热功能一体化,灵活切换,结构简便,组装及操作效率高,确保模块的容量和耐用性最大化。

标签:
加工技术
江苏 - 泰州 来源:中冶有色网 2023-03-18
双重涂层的锂离子电池正负极极卷

本实用新型公开了一种双重涂层的锂离子电池正负极极卷,它包括基材、内涂层和外涂层。所述基材是一种金属箔,基材集流体两面均匀涂覆一层内涂料,两者结合构成常规结构的锂离子电池极卷。本实用新型为了进一步提高电极极片在高倍率下锂离子嵌入和脱出能力,在已固定的内涂层表面上加涂一层外涂层。外涂层的材质依据待制电极极片极性而定,制作正极极片的外涂层材质为活性碳,活性碳固化后面密度为2~20mg/cm2,厚度为50~200μm;制作负极极片的外涂层材质为硬碳,硬碳固化后面密度为2~16mg/cm2,厚度为40~180μm。配用本实用新型的锂离子电池倍率性能好,循环使用寿命长,可支持瞬间超高倍率放电,而且具有能量密度高、成本低等优势。

标签:
加工技术
江苏 - 泰州 来源:中冶有色网 2023-03-18
盐湖卤水生产高纯度氢氧化锂的新工艺

本发明公开了一种盐湖卤水生产高纯度氢氧化锂的新工艺,其工艺方法包括以下步骤:A、操作方式:该工艺采用连续操作,即通过工艺计算的数据优化各装置规模,优选操作方式,实现连续运行;B、原料:盐湖卤水经过提锂(吸附法或电渗析方法)、锂镁分离、纯化和反渗透预浓缩后的氯化锂合格液溶液和反渗透预浓缩合格液原料组成:氯化锂35~50g/L;钙镁离子:<10mg/L;硼离子:<200mg/L。本发明以卤水提锂(吸附法或膜法)、除镁和反渗透预浓缩后的氯化锂溶液为原料,采用了电渗析技术、反渗透技术、树脂吸附技术、离子膜电解技术和蒸发结晶技术等,生产高纯度氢氧化锂产品,为盐湖锂资源的循环利用提供了保障。

标签:
加工技术
江苏 - 泰州 来源:中冶有色网 2023-03-18
可调节的船用锂电池模组紧固结构

本实用新型公开了一种可调节的船用锂电池模组紧固结构,包括锂电池组,所述锂电池组外侧设有锂电池模组,所述锂电池模组外侧设有锂电池模组保护罩,所述锂电池模组保护罩内部设有转轴,且转轴一端安装有摇杆,所述转轴远离摇杆的一端设有根据锂电池类型进行调节的调节装置,且转轴上设有辅助调节装置的传动装置,此可调节的船用锂电池模组紧固结构,设置了根据锂电池类型进行调节的调节装置和辅助调节装置的传动装置,转动摇杆,带动转轴转动,从而带动第一组合齿轮、第一皮带轮、第一齿轮、第二皮带轮、第二组合齿轮转动,进而带动曲型连杆、不规则连杆和L型连杆对锂电池模组X,Y,Z三个方向进行挤压。

标签:
加工技术
江苏 - 泰州 来源:中冶有色网 2023-03-18
锂电解槽烘干用旋转式鼠笼加热器

本实用新型公开了锂电解槽烘干用旋转式鼠笼加热器,包括若干块顶部相互扣合连接在旋转轴上的加热单元,每一块加热单元活动地连接在旋转装置的周围,并每一块加热单元包括至少一根加热片;旋转轴上还连接有电机,电机驱动旋转轴旋转,从而带动所有加热单元旋转。本实用新型的加热器,采用电机带动加热单元在电解槽内旋转加热,从而实现锂电解槽的快速和均匀加热,为后续的开槽工艺和锂锭沉淀工艺做好了充分的准备,并节约了后续的锂锭需要二次加工才能包装出售的工艺程序,提高了其生产效率;同时由于工艺程序的节省,避免了工作人员过多地与锂及锂化物的接触,保护了工作人员的健康和安全,为企业降低了生产成本,提高了利润。

标签:
加工技术
江苏 - 泰州 来源:中冶有色网 2023-03-18
备有绝缘层的锂离子电池正负极极卷

本发明公开了一种备有绝缘层的锂离子电池正负极极卷,它由基材、胶层和绝缘层组成多层叠合板材。所述基材的集流体单面上均匀涂覆一层胶层,在固化的胶层上涂覆一层陶瓷质的绝缘层。此结构充分发挥了陶瓷的绝缘性能好、熔点高的优势,这样替代结构的产品在极卷叠合层之间不用隔膜,产生的好处有二方面,一方面消除安全隐患,另一方面简化锂离子电池极卷层叠结构,提高组装效率。更重要的是此结构大大提高极卷层间绝缘等级,从而提高能量密度,增强锂离子电池使用的安全性。

标签:
加工技术
江苏 - 泰州 来源:中冶有色网 2023-03-18
盐湖卤水生产高纯度氯化锂的新工艺

本发明公开了一种盐湖卤水生产高纯度氯化锂的新工艺,包括以下步骤:1)操作方式:该工艺采用连续操作,即通过工艺计算的数据,优化各装置规模,优选操作方式,实现的连续运行,2)原料:(a)盐湖卤水,其中:Li+浓度0.01‑0.20g/L,Mg2+浓度30‑50g/L,Na+浓度30‑45g/L,K+浓度9‑14g/L,Cl‑浓度200‑300g/L;(b)盐湖卤水提钾后老卤溶液,其中:Li+浓度0.25‑0.6g/L,Mg2+浓度100‑120g/L,Na+浓度0.1‑0.2g/L,Cl‑浓度300‑400g/L;3)产品:通过本创新工艺,可制得含量≥99.5%的合格氯化锂盐溶液产品,本创新工艺共包括如下1~6等工艺过程,4)以离子交换吸附法提锂工艺从盐湖卤水中提取并初步精致得到的含氯化锂合格液,通过工艺过程1,从盐湖卤水或者从盐湖卤水提钾后老卤溶液300:1~600:1的老卤中。

标签:
加工技术
江苏 - 泰州 来源:中冶有色网 2023-03-18
锂离子电池容量提升方法

本发明提供一种锂离子电池容量提升方法,属于锂电池制作技术领域。该方法先将制作好的极片放入100~120℃烘箱内烘烤8~12h,再转移到温度15~25℃,相对湿度<2%的干燥房内制作电芯,随后对电芯热封、注液。该方法能严格控制电芯水份含量,使电池容量得到有效提升,而且大大节省操作时间,方法简单、可行,效果显著。

标签:
加工技术
江苏 - 泰州 来源:中冶有色网 2023-03-18
具有双向限流的锂离子电池组管理系统

一种具有双向限流的锂离子电池组管理系统,它包括多个串联的锂离子电池模块、电池管理系统BMS和限流控制器,所述的串联的锂离子电池模块的正极、限流控制器、电池管理系统BMS和锂离子电池模块的负极依次串接,构成充放电回路,限流控制器作为管理系统的充放电控制端连接供电电源和放电输出端子。本管理系统除具备常规的保护功能:过充电保护功能、过放电保护功能、短路保护功能、温度保护功能、数据记录及传输通信功能、报警功能、内部均衡功能外,还具有充电限流功能和放电限流功能,即通过限流控制器实现双向限流功能。

标签:
加工技术
江苏 - 泰州 来源:中冶有色网 2023-03-18
锂电池极片
锂电池极片 996     
 0

本发明公开了一种锂电池极片,包括半导体晶膜、表层、中间层及底层,表层、中间层及底层通过冷轧制成极片半成品,极片半成品从上至下依次为表层、中间层及底层,极片半成品表面设有半导体晶膜,半导体晶膜的厚度为极片半成品厚度的1/5,本发明一种锂电池极片,有效避免极片出现裂纹或断裂的情况,广泛适用于锂电池生产加工行业。 1

标签:
加工技术
江苏 - 泰州 来源:中冶有色网 2023-03-18
半液相纳米化生产磷酸铁锂正极材料的工艺

半液相纳米化生产磷酸铁锂正极材料的工艺,包括以下步骤:其特征在于:首先将纳米级LiFePO4晶粒尺寸使电子或离子的扩散距离缩小,将纳米化的Fe2O3前躯体与由碳酸锂和磷酸反应得到的磷酸二氢锂溶液混合,然后采用循环式小磨介研磨机进行超纳米级磨混,研磨后的浆料中颗粒平均尺寸在30nm以下,浆料再经过喷干,得到粉状前躯体。本发明,采用半液相纳米化技术实现前躯体材料的纳米化,降低了制造成本。比容量:大于155mAh/g,循环寿命:大于2000次(容量保持率﹥85%),首次充放电效率(%):大于95,大电流充放特性:20C放电容量大于120mAh/g。

标签:
加工技术
江苏 - 泰州 来源:中冶有色网 2023-03-18
高容量密度的方形铝壳锂离子电池

本实用新型涉及锂离子电池技术领域,且公开了一种高容量密度的方形铝壳锂离子电池,包括电池本体,所述电池本体的外壁分别活动连接有缓冲板和连接板,所述连接板的数量为八块,且每四块所述连接板为一组对称设置在电池本体的外壁,所述缓冲板的外壁与连接板的外壁固定连接。该高容量密度的方形铝壳锂离子电池通过设置限位弹簧对滑块和滑槽的内壁进行连接,能够在电池本体的搬运过程中不慎摔落时使防护板受到冲击力向电池本体靠近,同时第一连接杆和第二连接杆之间的夹角增大,限位弹簧受力压缩,能够有效的对冲击力进行缓冲,避免电池本体发生损坏引发爆炸的情况发生,能够有效的提升电池本体的使用安全性,延长电池本体的使用寿命。

标签:
加工技术
江苏 - 泰州 来源:中冶有色网 2023-03-18
锂离子电池电芯烘烤方法

本发明公开了一种锂离子电池电芯烘烤方法,包括如下步骤:在真空烤箱底部设置氮气进风口、透气挡板和加热装置,顶部设置氮气出风口;将锂离子电池电芯放入所述真空烤箱内,抽真空至≤‑0.085MPa,通过所述加热装置加热所述真空烤箱内温度至80~90℃;通过所述氮气进风口使所述真空烤箱内通入氮气,并维持所述真空烤箱内真空度≤‑0.085MPa,保持所述真空烤箱内温度至80~90℃,持续时间3~6h;停止加热,持续通入氮气使所述真空烤箱内电池电芯冷却至室温。使用本发明可以实现锂离子电池电芯水分的烘烤过程和带走过程同步进行,使整个烘烤流程仅需3‑6h,相比现有20h以上的烘烤流程,节约了烘烤时间和能耗。

标签:
加工技术
江苏 - 泰州 来源:中冶有色网 2023-03-18
用于软包锂电池串并联成组焊接的伸入式电阻压焊方式

本发明公开了一种用于软包锂电池串并联成组焊接的伸入式电阻压焊方式,使用用于软包锂电池串并联成组焊接的伸入式电阻压焊装置,该装置包括平行、间隔并排排列的第一电阻焊焊棒、第二电阻焊焊棒;第一电阻焊焊棒、第二电阻焊焊棒的同一端的前端面均为与第一电阻焊焊棒、第二电阻焊焊棒中心轴线所在平面成锐角、朝向同一方向的平面,前端面上设有电极头;设有与电极头间隔相对的支撑板;使用时,将待焊接件一侧放在支撑板上,将第一电阻焊焊棒、第二电阻焊焊棒伸入待焊接件另一侧,移动第一电阻焊焊棒、第二电阻焊焊棒,用电极头将待焊接件压在支撑板上,通电进行焊接。使用本发明进行焊接,所需空间小,能满足用于软包锂电池串并联成组焊接需要。

标签:
加工技术
江苏 - 泰州 来源:中冶有色网 2023-03-18
锂离子电池正极材料LiMn2O4的合成方法

一种锂离子电池正极材料 LiMn2O4的合成方法,属于锂电池领域。本发明使用更利于高 温固相反应的高温旋转反应烧结法,同时装料炉体在材料反应 过程中可以以不同的速度旋转并进行搅拌,使合成材料受热更 加均匀,从而使反应更加均匀。这不仅使合成的时间和温度大 幅度减少,因此简化工序,降低成本,同时更重要的是大大提 高了 LiMn2O4为正极材料的物理和电化学性能,使采用以 LiMn2O4为正极材料的锂离子电池的电化学性能有了大幅度的 提高。

标签:
加工技术
江苏 - 泰州 来源:中冶有色网 2023-03-18
锂电池铆合式极柱盖板

本实用新型提供一种锂电池铆合式极柱盖板,涉及锂电池应用领域。该锂电池铆合式极柱盖板,包括基板主体、正极压板和负极压板,所述基板主体顶部两侧均设置有正负极绝缘垫,两个所述正负极绝缘垫之间设置有防爆片和防爆片保护膜。该锂电池铆合式极柱盖板,密封圈与刻线配合进行安装,可以提高下塑料绝缘垫与正极铆钉和负极铆钉之间的密封性能,将正极压板、负极压板、负极螺柱和正极螺柱等零件进行固定,方便在多组电池串并联时方便快捷地在负极螺柱和正极螺柱上连接导线,检修更换部分电池时也更容易,同时这种组装分体铆合式结构,能够根据不同的性能技术要求,灵活采用不同材质制作。

标签:
加工技术
江苏 - 泰州 来源:中冶有色网 2023-03-18
超细磷酸铁锂正极材料的制备方法

本发明涉及锂电池原料制备技术领域,提供一种超细磷酸铁锂正极材料的制备方法。该方法是将FeSO4和H3PO4在乙醇‑水的体系下,使用凝胶法与均相沉淀法相结合在常温下制备超细的FePO4,再采用改进的高温固相碳热还原法制备超细LiFePO4/C。本发明方法中制备的LiFePO4/C晶型完整,颗粒细小均匀,纯度高。本发明的超细磷酸铁锂正极材料的制备方法解决了现有技术中锂离子在材料中的扩散问题,改善了锂离子电池的充放比容量和循环性能。

标签:
加工技术
江苏 - 泰州 来源:中冶有色网 2023-03-18
固态锂离子电池极片及其制备方法

本发明公开了一种固态锂离子电池极片的制备方法,包括以下步骤:将锂基蒙脱土、锂盐、表面活性剂、MMA单体、AIBN、NMP依次加入到搅拌罐中,搅拌均匀;在50℃~70℃中放置1.5‑8h,呈凝胶状态;将凝胶分别涂覆在正、负极片的单面;继续聚合,同时除去NMP,在极片表面形成多孔凝胶电解质。本发明还公开了一种固态锂离子电池极片,能够有效提高电解质的离子电导率,减少内阻,提升了电池的阻燃性、热稳定性、安全性和循环性能;且本发明工艺简单,操作方便,成本低,易于工业化生产。

标签:
加工技术
江苏 - 泰州 来源:中冶有色网 2023-03-18
锂电池内部绝缘盖用检测按压修正装置

本发明涉及锂电池生产加工设备技术领域,尤其是一种锂电池内部绝缘盖用检测按压修正装置,包括内置电控输送带机构的输送平台、顶置升降机、底置升降机和修正电机。本发明的一种锂电池内部绝缘盖用检测按压修正装置采用直接设置在电控输送带机构上,使其可以直接在锂电池生产线上进行直接检测和修正操作,整个检测和修正操作无需人工介入,操作简单高效,无需占用额外空间;适用产品的范围更加广泛,同时也无需频繁启停电控输送带机构,从而降低生产成本;检测和修正无需人工操作,自动化程度和修正精度大大提升。

标签:
加工技术
江苏 - 泰州 来源:中冶有色网 2023-03-18
锂离子电池用防护结构

本实用新型涉及锂离子电池技术领域,且公开了一种锂离子电池用防护结构,包括壳体,所述壳体的顶部开设有透风口,所述壳体的内部固定安装有锂离子电池主体,所述壳体的底部开设有进风口,所述壳体底部的左右两侧均固定连接有安装块,两个所述安装块相对的一侧均开设有滑槽,两个所述安装块相离的一侧均开设有卡孔,所述壳体的底部活动连接有散热箱,所述散热箱的内部开设有安装口。该锂离子电池用防护结构,通过壳体上设置有透风口和进风口,且透风口和进风口的内部均设置有防尘网,壳体底部设置有散热箱、安装口和散热风机,便于利用散热风机产生的风力对壳体的内部进行降温处理,同时防尘网便于防止灰尘的进入。

标签:
加工技术
江苏 - 泰州 来源:中冶有色网 2023-03-18
锂离子电芯搁置隔离装置

本实用新型公开了一种锂离子电芯搁置隔离装置,包含一横向设置的长条状的固定底板和一纵向设置的长条状的固定侧板,所述的固定侧板的两侧分别设有一弧形的向外突出的弹性压条。使用时,使用者将该隔离装置放置到锂离子电芯转运箱内,利用弹性压条,能有效防止电芯移位,使得相邻的锂离子电芯得到有效隔离,有效避免了转运过程中电芯挤压而导致电芯刺破及短路。

标签:
加工技术
江苏 - 泰州 来源:中冶有色网 2023-03-18
具有冷却效果的锂电池原料混合设备

本实用新型公开了一种具有冷却效果的锂电池原料混合设备,包括外框,所述外框内壁的两侧之间固定连接有内框,所述外框内壁的底部固定连接有电机,所述电机输出轴的一端固定连接有第一锥形齿轮,所述第一锥形齿轮的一侧啮合有第二锥形齿轮,所述第二锥形齿轮的轴心处贯穿有转杆,所述转杆的底端与外框内壁的底部转动连接,本实用新型涉及锂电池相关设备技术领域。该具有冷却效果的锂电池原料混合设备,达到了均匀搅拌的目的,提高了搅拌的效率,减少搅拌时间,减轻工人负担,防止搅拌过程中的温度过高,保证了装置的稳定性和安全性,便于进料和出料,同时便于搅拌过程中的气体的排出,并防止灰尘污染环境。

标签:
加工技术
江苏 - 泰州 来源:中冶有色网 2023-03-18
动力锂离子电池阴极的制备方法

本发明提供了一种动力锂离子电池阴极的制备方法,所述阴极包括集流体,以及依次层叠于集流体上的活性物质层和钝化层;其中活性物质层中包括第一活性物质、第二活性物质、粘结剂和导电剂;所述钝化层中包括金属氧化物,粘结剂,导电剂和作为添加剂的碳酸锂;所述制备方法包括,按照预定质量比将第一活性物质、第二活性物质、粘结剂和导电剂分散在溶剂中形成活性物质浆料;按照预定质量比将金属氧化物,粘结剂,导电剂和作为添加剂的碳酸锂分散在溶剂中形成钝化层浆料,依次涂覆在集流体上,干燥得到极片,将极片置于预处理电解液中浸润,电活化,取出干燥得到所述阴极。本发明提供的制备方法得到的阴极具有内阻小,倍率性能好,稳定性高,循环寿命长等优点。

标签:
加工技术
江苏 - 泰州 来源:中冶有色网 2023-03-18
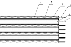
锂离子电池负极结构
锂离子电池负极结构 901     
 0

本发明公开了一种锂离子电池负极结构,所述的锂电池包括有若干正极片(1)和若干负极片(2),所述的每个负极片(2)设置为U形,负极片(2)开口端设有负极极耳(3),负极极耳(3)将电流引出,每个负极片(2)的内壁设有涂布区(4),所述的每个正极片(1)的外部套有隔膜Ⅰ(5),每个正极片(1)的一端都设有正极极耳(6),正极极耳(6)的方向与负极极耳(3)的方向一致,在相邻的两平行放置的负极片(2)之间放置有平行的正极片(1),在每个负极片(2)内还各插有一个正极片(1),正极片(1)与负极片(2)之间交替叠加后形成锂电池电池组。

标签:
加工技术
江苏 - 泰州 来源:中冶有色网 2023-03-18
大容量通信备电锂电池产品

本实用新型公开了一种大容量通信备电锂电池产品,包括电池专用机箱、电池模组、电池管理系统、紧固件、内部连接线缆器件、加热模块、隐藏拉手。电池模组为2P4S锂电池模组,且数量为4个;加热模块为PI加热膜。机箱上外设2个内凹式隐藏拉手,及2个固定拉手,且所述固定拉手的拉伸方向与所述隐藏拉手的拉伸方向呈90°垂直。本实用新型提供的这种大容量通信备电锂电池产品,采用紧凑型结构设计,可以安装在19英寸室外机柜中或19英寸室内机架中;内凹式所述隐藏把手的设计,缩减了所述电池机箱占地的空间;PI加热膜轻薄不占空间,加热膜直接粘帖于电池模组侧面,可迅速加热电池,使锂电池产品可在严寒地区使用。

标签:
加工技术
江苏 - 泰州 来源:中冶有色网 2023-03-18
易固定式锂电池组
易固定式锂电池组 714     
 0

本发明涉及锂电池组技术领域,尤其涉及一种易固定式锂电池组。本发明采用的技术方案是:一种易固定式锂电池组,包括长方体电池组外壳,所述电池组外壳由绝缘材料制成,所述电池组外壳内部设有三个上下分布的锂电池,所述电池组外壳的一侧设有电池组接线端,所述电池组外壳上下两端面上分别设有厚度为1.5mm的绝缘垫片,所述电池组外壳的左右两侧分别设有用来固定整个电池组的卡合结构,所述卡合结构由易于装配的卡合斜面、与所述电池组外壳侧面平行的卡合面和与所述电池组外壳上下端面平行的支撑面组成。本发明的优点是:本发明的锂电池组在使用时固定更方便,并且电池组在工作时散热性能更好,电池组的使用寿命更长。

标签:
加工技术
江苏 - 泰州 来源:中冶有色网 2023-03-18
便于锂电池低温使用的保护装置

本发明公开了一种便于锂电池低温使用的保护装置,包括电池箱,所述锂电池箱上端插设有两个接线柱,所述锂电池箱内壁焊接有水平挡板,所述锂电池箱的内顶部开设有矩形腔,所述矩形腔内壁焊接有竖直挡板,所述矩形腔位于竖直挡板一侧内壁滑动连接有推块和接电板,所述推块与竖直挡板通过气囊连接,所述推块与接电板固定连接,所述推块为绝缘材料制成,所述竖直挡板内底部和内顶部均设置有接电块。能够根据车辆在不同道路情况下运行速度发生变化,即内部供电电流大小的改变,使得电流变体内部强度进行改变,结合复位弹簧的作用,能够实现滑动板能够实现往复运动,从而能够多次冲撞压电陶瓷,能够实现对电容器的供电,能够起到储能的作用。

标签:
加工技术
江苏 - 泰州 来源:中冶有色网 2023-03-18
上一页 25 26 27 28 29 ... 35 下一页
共35页    到第

中冶有色为您提供最新的江苏泰州有色金属加工技术理论与应用信息,涵盖发明专利、权利要求、说明书、技术领域、背景技术、实用新型内容及具体实施方式等有色技术内容。打造最具专业性的有色金属技术理论与应用平台!

全国热门有色金属设备推荐
展开更多 +
全国热门有色金属技术推荐
展开更多 +

 

江西省隆恩特环保设备有限公司
宣传

报名参会
更多+

报告下载

有色专家
更多+

武汉科技大学
校学术委员会主任 / 教授
长沙矿冶研究院有限责任公司
中国工程院院士
长沙有色冶金设计研究院有限公司
党委书记、董事长
中国铝业股份有限公司
总裁 党委副书记
中南大学
粉末冶金国家重点实验室 主任
赤泥综合利用研究报告2025
推广

热门技术
更多+

推荐企业
更多+

福建省金龙稀土股份有限公司
宣传

发布

在线客服

公众号

电话

顶部
咨询电话:
010-88793500-807