青岛垚鑫智能科技有限公司
宣传

位置:中冶有色 >

有色技术频道 >

> 废水处理技术

分类:
全部
矿山技术
冶金技术
材料制备及加工技术
环境保护技术
分析检测技术
 
全部
废水处理技术
大气治理技术
固/危废处置技术
土壤修复技术
地区:
全部
北京
天津
上海
重庆
河北
山西
辽宁
吉林
黑龙江
江苏
浙江
安徽
福建
江西
山东
河南
湖北
湖南
广东
海南
四川
贵州
云南
陕西
甘肃
青海
内蒙
广西
西藏
宁夏
新疆
其他
其他
展开
 
全部
南宁
柳州
桂林
梧州
北海
崇左
来宾
贺州
玉林
百色
河池
钦州
防城港
贵港

广西有色金属废水处理技术理论与应用

免费发布技术信息>>
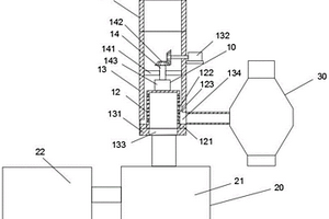
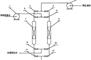
吸附-高温气流氧化处理难降解有机废水的装置

本实用新型公开了一种吸附-高温气流氧化处理难降解有机废水的装置,该装置主要由吸附柱、高温气流产生机构、控温仪、测温仪、尾气处理机构,经气液管道和阀门连接组成,吸附柱内装有吸附剂,吸附柱与测温仪、高温气流产生机构连接,并通过高压泵与废水池和出水阀门连通。这种装置可以在利用高温气流彻底氧化吸附剂上的污染物的同时,高效再生该吸附剂,高温气流来源可利用工厂生产过程中产生的高温废气,废热利用,结构简单,低成本,为难生化降解有机废水的处理提供新途径,COD去除率为90.24%;吸附剂的再生率可达75%左右。

标签:
废水处理
广西 - 桂林 来源:中冶有色网 2023-03-19
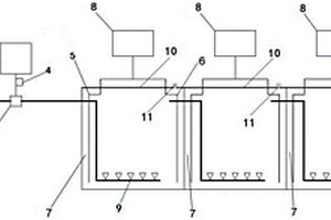
利用空气供氧的糖蜜酒精废水微氧生物处理装置

本实用新型公开了一种利用空气供氧的糖蜜酒精废水微氧生物处理装置。建立一个微氧反应器,将反应器的出水先储存在回流桶中,通过氧化还原电位控制仪监测回流桶内液体的氧化还原电位,并自动控制鼓风机向回流桶内鼓进空气,再将曝气后的液体回流至反应器内部,控制反应器内部的氧化还原电位,形成微氧环境。在反应器内加入经过驯化的富含硫酸盐还原菌、无色硫细菌和产甲烷菌的活性污泥,利用硫酸盐还原菌将糖蜜酒精废水中的硫酸盐还原成硫化物,同时,无色硫细菌将硫化物氧化成单质硫,降低硫化物对产甲烷菌的抑制,在一个反应装置中同时实现硫酸盐还原、硫化物氧化和产甲烷过程,实现糖蜜酒精废水的高效处理。

标签:
废水处理
广西 - 桂林 来源:中冶有色网 2023-03-19
用于炉渣处理的废水处理设备

本实用新型公开了一种用于炉渣处理的废水处理设备,包括过滤水箱本体、支撑架、进水口、筛板、筛孔、疏通装置、过滤装置、排渣箱和出水口,所述支撑架设于过滤水箱本体上,所述进水口设于过滤水箱本体上且贯穿过滤水箱本体设置,所述筛板设于过滤水箱本体上,所述筛孔设于筛板上,所述疏通装置设于过滤水箱本体上且设于筛板的上方,所述过滤装置设于过滤水箱本体上且设于筛板的下方,所述排渣箱设于过滤水箱本体上且贯穿过滤水箱本体设置,所述出水口设于过滤水箱本体上且设于过滤水箱本体的下方。本实用新型属于废水处理设备技术领域,具体是一种过滤效率高且废渣易清理的用于炉渣处理的废水处理设备。

标签:
废水处理
广西 - 南宁 来源:中冶有色网 2023-03-19
稀土废水杂质过滤装置
稀土废水杂质过滤装置 1160     
 0

本实用新型公开了一种稀土废水杂质过滤装置,涉及稀土废水过滤技术领域,包括箱体,所述箱体的内部设置有多个腔室,多个腔室的顶部之间呈阶梯型结构,所述腔室内部设置有隔板一,所述隔板一将腔室分为两个分腔,两个分腔底部相通将腔室形成U形通道,多个腔室之间形成S形通道;所述腔室内部液体上升的分腔室中安装有净化板。本实用新型通过腔室,并在腔室内部设置隔板一,腔室被分隔成U形结构,在废水过滤的过程中先流向底部,然后在从底部向上流动从而流出,会使得杂质更好的沉淀在腔室的底部,对杂质的沉淀效果更好;而且可以避免腔室中的净化板被杂质堵塞的情况。

标签:
废水处理
广西 - 南宁 来源:中冶有色网 2023-03-19
对酱香型白酒废水处理的三级电催化氧化装置

本实用新型公开了一种对酱香型白酒废水处理的三级电催化氧化装置,包括进水系统、电催化氧化系统和出水系统;进水系统包括增压泵、加药桶和文丘里射流器,增压泵的进水管与A2/O处理系统的清水池相连,增压泵的出水管与文丘里射流器的收缩管相连,文丘里射流器的加药口通过管道连接有加药桶,加药桶中装有电解质,电解质和废水在文丘里射流器的扩压管处形成混合溶液;电催化氧化系统设置有三级电催化氧化系统,包括电解槽、直流整流机、DSA阳极和阴极,三个所述电解槽串联连接;出水系统包括检测装置和出水管。经过上述装置处理后的白酒废水出水色度远低于行业标准的规定,同时出水中CODCr也达到排放标准要求。

标签:
废水处理
广西 - 南宁 来源:中冶有色网 2023-03-19
有机磷废水处理工艺
有机磷废水处理工艺 945     
 0

本发明公开了一种有机磷废水处理工艺,包括以下步骤:(1)将有机磷废水经微滤膜过滤,以去除固体杂质、胶体颗粒和悬浮颗粒;(2)将除杂后的有机磷废水经纳滤膜和反渗透膜组成的膜分离装置分离浓缩,得到浓缩液和清液;(3)将步骤(2)所得的浓缩液进行无机磷化处理,使浓缩液中的有机磷转化为无机磷盐;(4)往无机磷化处理的浓缩液中加入铵盐和镁盐,使无机磷盐发生鸟粪石沉淀反应,分离出上清液,完成有机磷废水处理。该有机磷废水处理工艺具有效率高、效果好、技术适用、经济可行等优点。

标签:
废水处理
广西 - 贺州 来源:中冶有色网 2023-03-19
从活性白土生产废水中回收制取铵明矾的方法

本发明公开了一种从活性白土生产废水中回收制取铵明矾的方法,属于废水处理及无机盐制备技术领域。本发明是利用活性白土生产废水与膨润土多次循环,使溶解在其中的硫酸铝达到饱和,再与硫酸氢铵进行反应,两次结晶制得纯度为99.86%-99.92%的铵明矾。本发明可有效处理活性白土生产废水,使活性白土生产废水中的铝元素得到充分利用,达到节能减排、变废为宝的目的。

标签:
废水处理
广西 - 南宁 来源:中冶有色网 2023-03-19
重金属废水处理剂
重金属废水处理剂 1192     
 0

本发明属于废水处理技术领域,特别涉及一种重金属废水处理剂,由以下重量份的原料制成:乙二胺四乙酸二钠30‑46份,膨润土20‑40份,高锰酸钾15‑30份,活性炭15‑23份,硫酸亚铁10‑25份,烷基糖苷8‑18份。本发明的重金属废水处理剂能够高效去除废水中的重金属,不需要复杂的工艺和特别的设备,使得废水能够达到排放标准。

标签:
废水处理
广西 - 桂林 来源:中冶有色网 2023-03-19
处理重金属废水的方法

本发明涉及污水处理技术领域,尤其涉及一种处理重金属废水的方法。本发明提供一种处理重金属废水的方法,包括以下步骤:步骤A:经隔油池去除大部分油脂,在均质池通过氢氧化钠将酸性废水调节到中性;步骤B:由泵提升如气浮一体化设备,投加PAC、PAM进行混凝絮凝沉淀;步骤C:沉淀池出水在混合点与模具清洗废水混合后排入市政管道。本发明工艺简单、重金属去除效率高且环境友好,易于推广应用。

标签:
废水处理
广西 - 柳州 来源:中冶有色网 2023-03-19
去除废水中重金属处理剂

本发明属于废水处理技术领域,具体地说是涉及一种去除废水中重金属处理剂,由以下重量份的原料制成:中药发酵液30~60份,单宁20~50份,磷酸氢二钾15~35份,聚丙烯酸钠5~20份。本发明的去除废水中重金属处理剂具有一次可处理多种重金属离子,处理重金属离子种类多,去除率在99%以上,达到国家规定的排放标准,所用的中药发酵液和单宁为天然原料,对水体的二次污染小,处理方法简单,处理成本低廉。

标签:
废水处理
广西 - 桂林 来源:中冶有色网 2023-03-19
去除废水中甲醛处理剂

本发明属于废水处理技术领域,具体地说是涉及一种去除废水中甲醛处理剂,由以下重量份的原料制成:单硬脂酸甘油酯20~50份,茶皂素10~30份,胺类化合物8~25份,丙二醇6~18份,纳米二氧化硅3~16份。本发明的去除废水中甲醛处理剂适合各种甲醛浓度含量废水中的甲醛,对于高浓度的甲醛不需要预处理,可以直接使用本发明的处理剂,也具有优异的除甲醛效果。

标签:
废水处理
广西 - 桂林 来源:中冶有色网 2023-03-19
Sb–GAC粒子及其在三维电化学反应处理4‑氯酚废水中的应用

本发明公开Sb–GAC粒子,该粒子是将Sb金属离子采用浸渍法通过负载修饰颗粒活性炭制备得到的负载型Sb–GAC粒子。以负载型Sb–GAC粒子为粒子电极,以形稳阳极DSA电极为阳极,以钛板为阴极,构建复极式三维电化学反应器,在电化学氧化作用下进行三维电化学反应,将4‑氯酚最终降解为二氧化碳和水。运用Sb–GAC粒子处理4‑氯酚废水,4‑氯酚的去除率可达到85%以上。同时,该粒子制备工艺简单,粒子可以重复使用,极大降低了4‑氯酚废水的处理成本,并提高了4‑氯酚废水处理效率。

标签:
废水处理
广西 - 南宁 来源:中冶有色网 2023-03-19
废水的处理方法
废水的处理方法 843     
 0

本发明公开一种含镉离子废水的处理方法,该方法以聚乙烯亚胺(PEI)负载于活性炭(AC)上作为吸附剂,置于固定吸附床中,含镉离子浓度为0.05~20mg/L的废水以1mL/min进入固定床吸附器,在25℃常压下进行连续吸附,可使废水中的镉离子的含量降低到0.05mg/L以下,吸附饱和的PEI/AC吸附剂经0.1mol/L的HCl溶液洗涤后再生。本发明的优点:工艺简单,新颖,操作方便,去除率高,吸附剂可重复再生多次使用,过程绿色环保。

标签:
废水处理
广西 - 南宁 来源:中冶有色网 2023-03-19
高位池海水养殖废水处理方法及处理系统

本发明一种高位池海水养殖废水处理方法及处理系统。一种高位池海水养殖废水处理方法,包括贝类吸附、大型海藻吸附、光降解、水体循环利用。高位池海水养殖废水处理方法的处理系统包括一个底部连有出水管的高位池,高位池两侧分别为养殖槽,高位池和养殖槽通过光照斜面固定连接;距离光照斜面远的养殖槽槽壁上连接有进水管,养殖槽内设置有两个挡板,离进水管近的挡板为进水挡板,离进水管远的挡板为出水挡板,进水挡板与连有进水管的槽壁固定连接,出水挡板与养殖槽另一端的槽壁固定连接,所述的出水挡板与所相连的槽壁之间留有空隙,形成隔室;养殖槽底部设置有梯形储泥斗,泥斗底部连接有出泥管道。

标签:
废水处理
广西 - 南宁 来源:中冶有色网 2023-03-19
多功能废水处理设备
多功能废水处理设备 1230     
 0

本实用新型属于废水处理设备领域,尤其是一种多功能废水处理设备,针对现有的废水处理设备不便于提高搅拌效率的问题,现提出如下方案,其包括设备本体和位于设备本体内的电极柱,所述设备本体的顶部固定安装有旋转电机,旋转电机的输出轴上固定安装有转动杆,且转动杆转动安装在设备本体内,转动杆上开设有第一孔,第一孔内滑动安装有横杆,横杆的顶部固定安装有两个对称设置的刮刀,且刮刀与设备本体相适配,转动杆上开设有多个第二孔,第二孔内滑动安装有搅拌杆,多个搅拌杆上固定安装有同一个固定杆。本实用新型设计合理,通过对搅拌杆的转动和往复移动,能够对设备本体进行充分的搅拌,从而能够提高搅拌效率。

标签:
废水处理
广西 - 崇左 来源:中冶有色网 2023-03-19
糖蜜酒精废水资源化处理装置

本实用新型揭示了一种糖蜜酒精废水资源化处理装置,其主要包括初沉池、螺旋板式换热器、调节池、中温厌氧发酵罐、沉降罐和二沉池,该装置结构简单,启动不需要热源进行加温,运行成本低还不会增加废水处理量,在快速处理废水中有机类物质的同时,生产甲烷气体和液态生物有机肥,实现了糖蜜酒精废水的资源化利用,而且运行稳定性好。

标签:
废水处理
广西 - 南宁 来源:中冶有色网 2023-03-19
印染废水复合处理药剂及其制备方法

本发明提供一种印染废水复合处理药剂及其制备方法,所述的药剂由聚丙烯酰胺、聚合硫酸铁、丙烯酸、氢氧化钠、过硫酸钠、N,N´‑亚甲基双丙烯酰胺制备而成。本发明的印染废水处理药剂,将无机高分子聚合硫酸铁与有机高分子聚丙烯酰胺聚合形成复合絮凝物,利用无机有机复合絮凝剂的复配机理与其协同作用,使污水中的杂质被无机絮凝剂所吸附,将复合絮凝物与丙烯酸合成大孔径高分子凝胶,使其表面卸带更多的功能基团,进一步提高对重金属离子和印染物质的吸附能力,解决了无机高分子聚合硫酸铁处理废水存在的聚集体吸附架桥能力不强、水解不稳定、投药量较大、产生的污泥量较多问题,同时凝胶便于分离,有效解决了后期处理困难的问题。

标签:
废水处理
广西 - 南宁 来源:中冶有色网 2023-03-19
净化含铅废水的方法
净化含铅废水的方法 1084     
 0

本发明公开了一种氨基修饰介孔分子筛SBA-15用于吸附含铅废水的方法。将2.1克在105℃下干燥12小时的SBA-15加入到装有80毫升甲苯的250毫升圆底烧瓶中,加入2毫升二乙烯三胺基丙基三甲氧基硅烷,混合均匀,蒸馏回流10小时。然后真空抽滤,用无水乙醇冲洗,所得粉末以100℃干燥12小时。干燥后粉末以二氯甲烷/乙醚为萃取剂在索氏提取器中以80℃连续萃取8小时,所得固体在100℃下干燥12小时,得到氨基修饰SBA-15;将氨基修饰SBA-15加入到含铅废水中,在25℃下振荡4小时以上即去除水中铅离子。本方法工艺简单,易操作,吸附量较高且使用条件较宽,可以在废水处理领域推广。

标签:
废水处理
广西 - 桂林 来源:中冶有色网 2023-03-19
活性白土生产废水联产明矾、石膏的方法

本发明公开了一种活性白土生产废水联产明矾、石膏的方法,属于活性白土生产废水处理及无机盐制备技术领域。本发明是利用活性白土生产废水与膨润土多次循环,使溶解在其中的硫酸铝达到饱和,再与硫酸铵(硫酸钾或硫酸钠)进行反应,经絮凝,两次结晶制得纯净明矾,所得滤液经石灰中和处理,即可制备水凝缓凝石膏。本发明使用聚合硫酸铝作为絮凝剂,同时通过进一步优化工艺,使得本发明的方法所制得的明矾纯度达到99.85%以上,得量提高率达到16.89%以上,均比现有技术“一种利用活性白土废酸母液制备明矾的方法(公开号:CN105271342A)”高。

标签:
废水处理
广西 - 南宁 来源:中冶有色网 2023-03-19
Mn‑GAC粒子及其在三维电化学反应处理4‑氯酚废水中的应用

本发明公开Mn‑GAC粒子,该粒子是将Mn金属离子采用浸渍法通过负载修饰颗粒活性炭制备得到的负载型Mn‑GAC粒子。以负载型Mn‑GAC粒子为粒子电极,以形稳阳极DSA电极为阳极,以钛板为阴极,构建复极式三维电化学反应器,在电化学氧化作用下进行三维电化学反应,将4‑氯酚最终降解为二氧化碳和水。运用Mn‑GAC粒子处理4‑氯酚废水,4‑氯酚的去除率可达到99%以上。同时,该粒子制备工艺简单,粒子可以重复使用,极大降低了4‑氯酚废水的处理成本,并提高了4‑氯酚废水处理效率。

标签:
废水处理
广西 - 南宁 来源:中冶有色网 2023-03-19
蔗渣膨润土高岭土复合型的废水处理剂

一种蔗渣膨润土高岭土复合型的废水处理剂,按重量份数计,包括如下组分:蔗渣80~120份、活性炭20~30份、膨润土20~30份、高岭土20~30份、石灰20~30份、钡盐1~5份、水玻璃15~20份、聚氯化铝铁20~30份、亚硫酸镁10~15份、羟甲基磺酸钠5~10份、羟丙基二淀粉磷酸酯1~5份。本发明通过上述组分复配,含有多种活性基团,发挥协同作用,与重金属发生络合、螯合、吸附、交换等物理化学反应,能够捕获水体中的多种金属离子,适用于城市污水、含油污水、印染废水、造纸废水、化工等领域。

标签:
废水处理
广西 - 南宁 来源:中冶有色网 2023-03-19
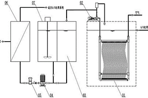
对白酒酿造废水深度脱色及净化的MBR-NF系统

本实用新型涉及一种对白酒酿造废水深度脱色及净化的MBR-NF系统,包括MBR膜单元、自吸泵、中间水箱、加压泵、保安过滤器、纳滤膜单元和清洗剂配制水箱;MBR膜单元浸入原系统生化反应池末段混合液里,MBR膜单元通过自吸泵与中间水箱连接;中间水箱和清洗剂配制水箱通过加压泵和保安过滤器与纳滤膜单元连接;纳滤膜单元与原系统生化反应池连接。本实用新型可模块化设计,布置灵活,占地面积少,运行费用低,能够很方便地接入现有的废水生物处理系统,对于现有白酒废水处理的提标改造具有重要的意义。

标签:
废水处理
广西 - 南宁 来源:中冶有色网 2023-03-19
养殖废水能源自循环处理系统及其方法

本发明涉及一种养殖废水能源自循环处理系统及其方法,包括过滤格栅、沉砂池、固液分离池、大型沼气厌氧池、氨氮吹脱塔、双段A-O反应池、污泥池、沼气净化器和沼气发电机,所述过滤格栅、沉砂池、固液分离池、大型沼气厌氧池、氨氮吹脱塔和双段A-O反应池依此连接,所述双段A-O反应池连接所述污泥池,所述大型沼气厌氧池连接所述沼气净化器,所述沼气净化器连接所述沼气发电机;该处理系统和处理方法具有以下优点:1、可以较好的去除掉养殖废水中的COD、氨氮等有害污染物,使得所排放的养殖废水达到国家标准,减轻环境污染;2、处理过程达到“能源自循环”及所产生的肥料可用于农业种植,降低成本。

标签:
废水处理
广西 - 南宁 来源:中冶有色网 2023-03-19
降低尾矿库外排废水中铜离子含量的方法

本发明涉及有色金属选矿生产后的尾矿废水处理工艺,公开了一种降低尾矿库外排废水中铜离子含量的方法,其尾矿处理过程包括尾矿浓缩脱水——细粒级尾矿再浓缩——尾矿砂沉淀的工序,在于尾矿处理过程还包括添加聚合氧化铝试剂吸附铜离子,所述尾矿浓缩脱水环节为:将选矿厂排出的尾矿浆输送至脱水斗进行脱水处理,使较重的粗粒级尾矿沉降至脱水斗底部形成粗粒级沉砂,较轻的细粒级尾矿伴随矿浆从脱水斗上层溢出形成细粒级尾矿浆;脱水处理完毕,粗粒级沉砂直接进入尾矿砂沉淀工序,细粒级尾矿浆与聚合氧化铝试剂混合后进入再浓缩工序。本发明降低尾矿库外排废水中铜离子含量的方法具有成本低、操作简单、环保达标的特点。

标签:
废水处理
广西 - 河池 来源:中冶有色网 2023-03-19
处理废水的絮凝剂及其制备方法

本发明公开了一种处理废水的絮凝剂及其制备方法,属于水处理剂领域。其包括如下重量份数的原料:碳酸钙3~15份、聚磷氯化铁3~15份、聚合氯化铝2~8份、聚合磷酸铁5~10份、硫酸镁3~9份、聚丙烯酸钠5~10份、硫酸铝2~8份、海藻酸3~9份、柠檬酸铁4~16份、木质素磺酸钠3~9份、膨润土4~10份和水70~90份。本发明的处理废水的絮凝剂絮凝沉淀时间短、效果好、成本低,提高水分子活性乳化力、降解水的有害物质和重金属,尤其对高浓度、高浊度废水和不可生化的废水都能有效处理,处理后的水质可实现循环使用。

标签:
废水处理
广西 - 桂林 来源:中冶有色网 2023-03-19
胺基改性生物海绵的制备及其在有毒金属废水处理中的应用

本发明公开了一种胺基改性生物海绵的制备及其在有毒金属废水处理中的应用,属于高性能环境材料制备及应用领域。本发明以柚子皮海绵状内层为胺基改性生物海绵的基材,将其在低温条件下吸入含有聚乙烯亚胺和环氧氯丙烷的混合溶液;密封后在一定的温度条件下进行反应,经过真空干燥后获得胺基改性生物海绵。该海绵制备工艺过程简单,制备成本低,结构稳定,吸附性能优异,可用于废水中有单独毒金属阳离子的吸附去除以及单独金属含氧酸根阴离子的吸附去除,还可以用于废水中多种金属离子(包括金属阳离子与金属含氧酸根阴离子)的同步吸附去除。本发明所制备的胺基改性生物海绵在有毒金属废水治理领域具有广阔的应用前景。

标签:
废水处理
广西 - 钦州 来源:中冶有色网 2023-03-19
甘蔗糖厂废水综合处理及沼气利用的方法

本发明公开了一种甘蔗糖厂废水综合处理及沼气利用的方法,是将甘蔗糖厂的预处理过的甘蔗渣喷淋水、洗蔗渣水、滤泥过滤水以及部分冷却水和造纸碱性废水、碱回收蒸发冷凝水以及部分回收白泥后的纸机废水去除纤维和沉淀粗渣以后,混合和适当加热送到厌氧反应器进行厌氧反应,得到的沼气经脱硫、脱碳净化、过滤和压缩后用于纸机加热,在厌氧反应器反应以后的污水经过好氧生化处理达标后排放,污泥可以用于配制有机复合肥。该方法能够使得甘蔗糖厂污水得到综合处理,还能使在废水处理过程中回收部分能量用于生产上,可极大的降低生产成本,带来较好的经济效益和社会效益。

标签:
废水处理
广西 - 贵港 来源:中冶有色网 2023-03-19
节能型养殖废水处理系统

本实用新型公开了一种节能型养殖废水处理系统,属于养殖废水处理领域。该系统分为混凝反应段、初沉池、缺氧池、好氧池、二沉池、消毒池六个部分。系统仅采用一台水泵+一台风机动力组合,在混凝反应段采用空气搅拌,完成配药、混凝反应;初沉池以及二沉池污泥采用气提将沉淀物抽出的方式达到节能目的,并使出水达标排放。本实用新型具有结构紧凑,投资少、占地面积小、低运营成本低等优点,主要应用于小规模养殖厂废水处理,解决传统养殖废水处理方式投资大,占用场地大,运营成本高等问题。

标签:
废水处理
广西 - 南宁 来源:中冶有色网 2023-03-19
家庭废水循环处理装置
家庭废水循环处理装置 1037     
 0

本实用新型公开了一种家庭废水循环处理装置,包括过滤箱、储水箱、臭氧发生器、管道及动力装置,过滤箱的进水口与家庭废水汇集排放管连通,其特征是:在过滤箱的出水口设有水泵,水泵与设置在过滤箱上方的储水箱的进水管连接,储水箱内分别设有搅拌机、水位控制器,其下端连接有生活用水排放管,底端面连接有水循环处理排放管,臭氧发生器设置在储水箱的一侧以导管与储水箱内腔连通,在储水箱外壁或相对应的侧墙上配装有电器箱,电器箱连接水泵、水位控制器、搅拌器和臭氧发生器。本实用新型可对家庭各种生活废水进行处理,处理过的水经检测,符合国家生活用水标准,可作洗菜、洗衣、洗澡用水等。

标签:
废水处理
广西 - 桂林 来源:中冶有色网 2023-03-19
分离式重金属废水处理系统

本发明公开了一种分离式重金属废水处理系统,包括分离结构、固体处理结构和废液处理结构,分离结构分别与固体处理结构和废液处理结构连通,废液处理结构设置于分离结构的下侧,并与分离结构的下端连通,固体处理结构则设置于分离结构的侧面,分离结构包括输送管道、分离隔层、保护壳体和转动支架,输送管道设置于保护壳体的上侧,分离隔层则设置于保护壳体的内部,转动支架设置于分离隔层的上侧,并与分离隔层固定连接,保护壳体的底部中心则与废液处理结构连通,在现有技术的基础上,改进废水处理系统的结构,利用转动支架、分离隔层的配合,从而实现对输送管道输入的混有杂质的废水的快速处理,进而有效提升废水处理的固液分离效率。

标签:
废水处理
广西 - 南宁 来源:中冶有色网 2023-03-19
上一页 24 25 26 27 28 ... 42 下一页
共42页    到第

中冶有色为您提供最新的广西有色金属废水处理技术理论与应用信息,涵盖发明专利、权利要求、说明书、技术领域、背景技术、实用新型内容及具体实施方式等有色技术内容。打造最具专业性的有色金属技术理论与应用平台!

全国热门有色金属设备推荐
展开更多 +
全国热门有色金属技术推荐
展开更多 +

 

江西省隆恩特环保设备有限公司
宣传

报名参会
更多+

报告下载

有色专家
更多+

武汉科技大学
校学术委员会主任 / 教授
湖南有色金属研究院
教授级高工/原总工程师
矿冶科技集团
副所长/研究员
西安建筑科技大学
教授
中铝科学技术研究院有限公司
董事长
赤泥综合利用研究报告2025
推广

热门技术
更多+

推荐企业
更多+

福建省金龙稀土股份有限公司
宣传

发布

在线客服

公众号

电话

顶部
咨询电话:
010-88793500-807