青岛垚鑫智能科技有限公司
宣传

位置:中冶有色 >

有色技术频道 >

> 废水处理技术

分类:
全部
矿山技术
冶金技术
材料制备及加工技术
环境保护技术
分析检测技术
 
全部
废水处理技术
大气治理技术
固/危废处置技术
土壤修复技术
地区:
全部
北京
天津
上海
重庆
河北
山西
辽宁
吉林
黑龙江
江苏
浙江
安徽
福建
江西
山东
河南
湖北
湖南
广东
海南
四川
贵州
云南
陕西
甘肃
青海
内蒙
广西
西藏
宁夏
新疆
其他
其他
展开
 
全部
南宁
柳州
桂林
梧州
北海
崇左
来宾
贺州
玉林
百色
河池
钦州
防城港
贵港

广西有色金属废水处理技术理论与应用

免费发布技术信息>>
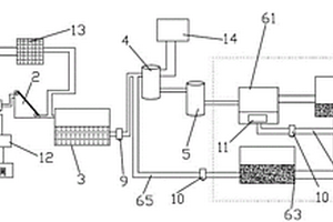
用于吸附废水中重金属的吸附处理设备

本发明公开了一种用于吸附废水中重金属的吸附处理设备,所述包括桶体、盖体和吸附过滤单元,在桶体的顶端开口密封扣接有盖体,在盖体的表面边缘设置有与桶体连通的入水口,在桶体的底端侧壁设置有出水口,所述吸附过滤单元呈筒状竖直环绕设置在桶体内,所述吸附过滤单元的外壁与桶体的内壁之间形成环形空隙,所述出水口与所述环形空隙连通,在所述盖体的中央上方设置有减速电机,所述减速电机通过电机支架固定在盖体上,在吸附过滤单元中心沿轴线方向贯穿设置有旋转轴。本发明能够对废水进行快速过滤和对废水中的重金属进行快速吸附,并且可对吸附过滤单元进行快速更换。

标签:
废水处理
广西 - 南宁 来源:中冶有色网 2023-03-19
碳酸钙改性硅藻土从电解锌漂洗废水中回收Zn2+的方法

本发明公开了一种用碳酸钙改性硅藻土从电解锌漂洗废水中回收Zn2+的方法。(1)取10g硅藻土精土加入到50mL浓度为0.4-0.5mol/L的Na2CO3溶液中,放入回旋式恒温水浴振荡器中,搅拌,缓慢滴加5-5.2mL饱和CaCl2;继续搅拌30-35分钟后取出,然后除去上层溶液,真空抽滤,洗涤至中性,固液分离,烘干,粉碎,制备出碳酸钙改性硅藻土吸附剂;(2)将10mL浓度为0.1g/L的步骤(1)制得的碳酸钙改性硅藻土吸附剂放入250mL具塞锥形瓶中,加入100mLpH值为6.54-6.62的含Zn2+电解锌漂洗废水溶液,吸附时间为120-125分钟,吸附温度为25-30℃,加盖后在回旋式水浴恒温振荡器中以150r/min的转速振荡至吸附平衡。本发明从电解锌漂洗废水中回收Zn2+,提高了回收率。

标签:
废水处理
广西 - 桂林 来源:中冶有色网 2023-03-19
处理废水的复合絮凝剂及其制备方法

本发明公开了一种处理废水的复合絮凝剂及其制备方法,属于水处理剂领域。其包括如下重量份数的原料:聚乙烯亚胺1~9份、聚磷氯化铁1~5份、聚合氯化铝5~10份、聚硅硫酸铝1~5份、硫酸镁3~9份、聚丙烯酸钠5~10份、聚氧乙烯3~9份、氯化锌2~8份、海藻酸3~9份、碳酸钡4~16份、粉煤灰2~8份和水70~90份。本发明的处理废水的复合絮凝剂絮凝沉淀时间短、效果好、成本低,提高水分子活性乳化力、降解水的有害物质和重金属,尤其对高浓度、高浊度废水和不可生化的废水都能有效处理,处理后的水质可实现循环使用。

标签:
废水处理
广西 - 桂林 来源:中冶有色网 2023-03-19
四效多级深度废水氧化反应器

本实用新型公开了一种四效多级深度废水氧化反应器,该反应器的底部有进水口,顶部有出水口,从进水口至出水口之间设有超声空化区、电化学反应区、光催化反应区及澄清回流区,相邻两区之间安装有止逆阀;所述超声空化区的底部安装有超声波发生器;所述电化学反应区内设有阴极和阳极,阴极是由不锈钢板围成的电解室,阳极为钛棒;所述光催化反应区内纵向并排安装有多个由石英套管及紫外灯构成的光源发生器,石英套管的上封头与反应器的简体连接,石英套管内安装有紫外灯。本实用新型集四种废水处理方法于同一个反应器内完成,能有效处理多种高浓有机废水,处理后的废水COD去除率达90%以上,而且有效提高设备的空间利用率。

标签:
废水处理
广西 - 南宁 来源:中冶有色网 2023-03-19
梯度混凝、吸附处理人造石材废水的方法

本发明公开了一种梯度混凝、吸附处理人造石材废水的方法,首先用厌氧反应器对人造石材废水进行厌氧生物处理去除部分有机污染物;然后,优化混凝沉淀技术参数,串联多段混凝沉淀设施处理,后续吸附,对人造石材加工废水彻底处理。硫酸铝是最佳的混凝剂,聚丙烯酰胺是最佳助凝剂,混凝的最佳的pH值为7.6,吸附的最佳pH值为6.4;经过三级混凝、吸附处理后,废水上清液SS为8.8mg/L,浊度为6.9NTU,COD为16.18mg/L;SS去除率达99.48%,浊度的去除率达99.38%,COD去除率为99.81%;出水达到污水综合排放标准。本发明的技术方案具有工艺简单、处理效果好等优点,适合推广应用。

标签:
废水处理
广西 - 桂林 来源:中冶有色网 2023-03-19
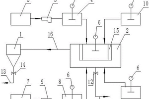
染色废水处理装置
染色废水处理装置 1177     
 0

本发明公开了一种染色废水处理装置,包括通过管道相连的沉淀池和调节池,调节池上通过管道连接有投酸单元、投碱单元和加药单元,调节池内设置有网罩,调节池底部设置有回流管,回流管上设置有排水阀,沉淀池底部设置有排污管,排污管上设置有排污阀。本发明具有结构简单、处理速度快、处理效率高、废水回收利用率高等优点,能真正实现零排放的目的;且本发明能节省占地面积,能对具有碱性的阴离子染料,属于高盐度、高COD废水进行有效处理。

标签:
废水处理
广西 - 南宁 来源:中冶有色网 2023-03-19
用于废水除铅的水处理材料及其应用

本发明公开了一种用于废水除铅的水处理材料及其应用。该水处理材料通过以下方法制得:将经NaOH碱液浸泡处理并研碎得到鸡蛋壳粉末,将适量的乙基纤维素和聚乙二醇溶解在无水乙醇中,搅拌均匀得到混合溶液,将过筛膨润土与鸡蛋壳粉末按比例混匀后向其中加入上述的混合溶液,搅拌均匀后进行造粒,得到直径为1~3mm的圆柱状颗粒,干燥后即得。将该水处理材料用于模拟酸性含铅废水中,除铅率高达99%以上,吸附铅离子之后水处理材料的颗粒完整度均为93%以上,除铅能力强,吸附效果好,在吸附铅离子后容易从废水中分离出来,不产生二次污染,而且,该水处理材料的制备工艺简单,成本低廉,非常适合大规模推广应用。

标签:
废水处理
广西 - 南宁 来源:中冶有色网 2023-03-19
生活废水二次利用装置
生活废水二次利用装置 1087     
 0

本生活废水二次利用装置,与洗浴等出水管连接的集水管通入集水箱。水泵出水管接入蓄水箱。回收水管连接水泵与集水箱,回收水管与集水箱之间装有滤网。回收水管上装有止回阀。溢水管上端接入于蓄水箱最高水位处,下端连接便池冲洗阀下游的冲洗管。集水箱底部通过清淤阀与污水下水管相连通。供水管连接便池冲洗管。集水箱内传感器与水泵开关相连。集水箱废水达一定量时传感器信号接通水泵将水抽入蓄水箱,集水箱内的水位降低时,传感器信号让水泵停机。蓄水箱内的废水可用于冲厕或冲洗拖把。当蓄水箱内的废水达到最高水位时自动从溢水管排入便池。本装置回收生活废水再次利用,节水近80%;装置结构紧凑,成本低廉,占空间小,自动运行,使用简单。

标签:
废水处理
广西 - 桂林 来源:中冶有色网 2023-03-19
生成沼气的废水处理系统

本发明涉及一种生成沼气的废水处理系统,包括过滤池、泵房、沉砂池、初次沉淀池、曝气池、二次沉淀池、浓缩池、预加热装置、消化池、集泥池、沼气池和脱水机,过滤池的进水口抽取废水,过滤池的出水口、泵房、沉砂池、初次沉淀池、曝气池和二次沉淀池依次通过管道连通,浓缩池的上端与初次沉淀池、曝气池和二次沉淀池的底部通过管道连通,浓缩池的底部与预加热装置的进料端通过管道连通,预加热装置的出料端与消化池的进料端连通,消化池的底部与集泥池的上端通过管道连通,集泥池的底部与脱水机连通;消化池的顶部与沼气池的底部连通,沼气池的顶部输出沼气。相对现有技术,本发明能过滤净化废水、泥水分离,生成沼气。

标签:
废水处理
广西 - 桂林 来源:中冶有色网 2023-03-19
含油废水污水处理用沸石滤料

本发明公开了一种含油废水污水处理用沸石滤料,各组分按重量份计:沸石100份、石英砂40-50份、高岭土培烧颗粒12-20份、活性炭5-9份。本发明提供的含油废水污水处理用沸石滤料,针对含有废水的特点,通过沸石、石英及高岭土的配合,有效的增加了滤料的吸附容量,提高了过滤的速度,使用市面上的填料,1吨水只需0.5小时即可过滤完毕。

标签:
废水处理
广西 - 柳州 来源:中冶有色网 2023-03-19
膜处理硫双灭多威生产废水的工艺

本发明公开了一种膜处理硫双灭多威生产废水的工艺,包括以下步骤:(1)将硫双灭多威生产废水引入光催化氧化器中,在紫外光的照射下对氨基甲酸酯类大分子有机物进行降解,生成小分子有机物;(2)将经步骤(1)处理后的废水引入脱色反应池中,脱色剂与小分子有机物在搅拌器的混合下生成螯合物;3)将经步骤(2)处理后的废水引入中和絮凝池中,螯合物被絮凝剂网捕,聚合,沉淀;(4)将经步骤(3)处理后的废水引入过滤池中,水经陶瓷膜过滤后得到陶瓷膜清液;(5)将经步骤(4)处理后的陶瓷膜清液引入生化处理池中进行生化处理。该方法能有效降解有毒大分子有机物、提高废水可生化性、且运行成本低。

标签:
废水处理
广西 - 贺州 来源:中冶有色网 2023-03-19
化工产品用废水环保治理设备

本实用公开了一种化工产品用废水环保治理设备,包括机体,机体上转动设有底板,底板转动连接机体处设有从动齿轮,从动齿轮与主动齿轮啮合,主动齿轮一侧设有清理装置,清理装置用于清理底板上的沉淀物,清理装置包括设在机体上的安装板,安装板上转动设有丝杆,丝杆螺纹连接滑动块,使得能够根据使用需求快速更换过滤网,同时便于清理过滤出的杂质,进而提高了工作效率,避免了加入废水过滤时发生飞溅的情况,进而使得环保性更强,使得能够快速清理沉淀物,同时降低了清理难度,避免长时间不清理影响后续废水沉淀效果,进而提高了工作效率,避免人工的进行清理操作,本实用新型操作简单,实用性强,便于推广使用。

标签:
废水处理
广西 - 南宁 来源:中冶有色网 2023-03-19
再生纸废水处理系统
再生纸废水处理系统 973     
 0

本实用新型提供了一种再生纸废水处理系统,包括依次相连的格栅池、调节池、混凝反应池、一沉池、好氧池、二沉池和活性砂过滤池;所述格栅池用于截留大颗粒有机物和漂浮物;所述调节池用于可调节水质、水量,使污水水质均匀;所述混凝反应池,通过投加絮凝剂或者助凝剂,使废水中悬浮絮状或固体颗粒晶状;所述一沉池用于使混凝池中悬浮絮状或晶状固体颗粒物沉淀,固液分离;所述好氧池用于分解废水中的有机物;所述活性砂过滤池用于去除水中的悬浮物质颗粒,进一步去除二沉池出水中未下沉的活性污泥颗粒物。本实用新型采用混凝沉淀的物化固液分离对各项污染物的去除效果均可以达到80%以上,投资小、处理效果好。

标签:
废水处理
广西 - 南宁 来源:中冶有色网 2023-03-19
用于高氨氮浓度废水的环流式短程反硝化反应器及系统

本发明公开了一种用于高氨氮浓度废水的环流式短程反硝化反应器,包括:厌氧池,厌氧池设置有推流器和第一探测头;缺氧池,缺氧池设置有曝气装置;第一过水口,第一过水口为设置在缺氧池和厌氧池之间的单向通道;第二过水口,第二过水口为设置在缺氧池和后续的处理单元之间的单向通道;控制器,第一探测头检测的信号触发控制器控制推流器的转速。本发明提供一种用于高氨氮浓度废水的环流式短程反硝化反应器,以推流器动能形成环流式水循环,一部分高氨氮废水在推流器的作用下回流到厌氧池,另一部分流向后续的处理单元,不仅能够提高高氨氮废水的短程反硝化回流比,有效提高废水脱氮效率,而且降低能耗减少运行成本。

标签:
废水处理
广西 - 桂林 来源:中冶有色网 2023-03-19
危险废物处置中心废水处理系统

本实用新型公开了一种危险废物处置中心废水处理系统,连接在生产废水输出口和回用水池之间,包括依次连接的物化处理系统、生化处理系统、集水池和深度处理系统,以及与物化处理系统连接的污泥处理系统;物化处理系统包括预处理系统和重金属去除系统,生化处理系统包括中间水池、DC曝气生物滤池、N曝气生物滤池和曝气系统,深度处理系统包括砂过滤器、活性炭过滤器和观察消毒池,污泥处理系统包括污泥储存池、污泥浓缩池和板框压滤机。本实用新型适用于处理重金属含量高、水质和水量波动大、污染物成分复杂、可生化性差、含有有毒有害物质的危险废物处置中心废水,废水处理效果好,可以稳定达到回用水标准或排放标准。

标签:
废水处理
广西 - 南宁 来源:中冶有色网 2023-03-19
木薯淀粉厂废水结合城市垃圾养殖蚯蚓的方法

本发明公开了一种木薯淀粉厂废水结合城市垃圾养殖蚯蚓的方法,木薯淀粉厂废水先沉淀,清水作为生产用水循环使用,沉淀部分含有部分木薯渣和黄浆,将沉淀部分抽出到水泥池,加入适量干的木屑和树叶;城市垃圾经过分拣,将含有瓜果和废食品渣的部分放入水泥池;沉淀部分与城市垃圾按3:1的重量配比用搅拌器搅拌均匀;再加入重量百分比为1~3%的复合益生菌,发酵半个月以上,调节pH值在6.5~7.5,用来作为蚓床基质养殖蚯蚓。采用蚯蚓的生物作用对木薯淀粉厂废水和城市垃圾进行处理,蚯蚓在不断增殖的同时,木薯淀粉厂废水和城市垃圾中的物质不断被消耗和转化,即可实现废弃物滤泥的减量化、无害化和资源化。

标签:
废水处理
广西 - 来宾 来源:中冶有色网 2023-03-19
从电解锰厂废水中回收锰并减排二氧化碳的方法

本发明公开了一种从电解锰厂废水中回收锰并减排二氧化碳的方法,其具体工艺包括四个步骤:调pH值、收集二氧化碳、锰回收反应、回收碳酸锰。本发明属于节能减排、废物回收利用及资源化技术领域,其工艺原理是利用二氧化碳和废水中的锰反应,生成碳酸锰沉淀,不仅能同时回收生产废水中的锰,并实现二氧化碳减排,保护环境。对比传统工艺,该技术是一种低成本、高性能、高附加值的从电解锰厂废水中回收锰并减排二氧化碳的方法,处理成本低、处理效果可靠,易推广;其具有广阔的市场前景、可观的经济效益和社会效益。

标签:
废水处理
广西 - 崇左 来源:中冶有色网 2023-03-19
木薯淀粉生产废水ABIC-生物接触氧化法-混凝处理组合工艺

一种木薯淀粉生产废水ABIC-生物接触氧化法-混凝处理组合工艺,工艺步骤为:木薯清洗废水和木薯渣压滤水经过滤沉淀、一次和二次分离废水经回收轻质淀粉和蛋白质后均进入调节池调节pH值及温度,再先后进入ABIC和生物接触氧化池进行厌氧处理和好氧处理,在混凝沉淀池静置、沉淀、除杂,上层清液可达标排放或回用;ABIC内进行厌氧反应的溶解氧浓度低于0.2mg/L,水力停留时间为12~48h;生物接触氧化池中溶解氧浓度高于2mg/L,水力停留时间为12~24h。使用本技术出水稳定达标、工程投资小、运行成本低廉、可回收生物质能源、管理简单,便于工程化推广应用,为木薯淀粉行业废水治理提供了新的技术途径。

标签:
废水处理
广西 - 南宁 来源:中冶有色网 2023-03-19
焦化废水深度处理吸附树脂脱附液的处理方法

本发明公开了一种焦化废水深度处理吸附树脂脱附液的处理方法,涉及吸附树脂脱附液的处理技术领域,包括将焦化废水深度处理吸附树脂脱附液输送到调节池内,调节pH值为7~8的中间液;然后将中间液输送到反应池,向反应池内加入硫酸亚铁溶液和双氧水进行曝气反应,反应6小时~8小时后,检测反应池内溶液的化学需氧量小于500mg/L,色度小于850PCU。与现有技术相比,本发明加入硫酸亚铁溶液和双氧水进行芬顿反应,产生强氧化性物质,将难生物降解的有机污染物氧化为易生物降解的物质,大幅度降低焦化废水深度处理吸附树脂脱附液所含的化学需氧量和色度,提高可生化性,其处理成本低。

标签:
废水处理
广西 - 柳州 来源:中冶有色网 2023-03-19
碳酸钙改性硅藻土从电解锌漂洗废水中回收Pb2+的方法

本发明公开了一种用碳酸钙改性硅藻土从电解锌漂洗废水中回收Pb2+的方法。(1)取10g硅藻土精土加入到50mL浓度为0.4-0.5mol/L的Na2CO3溶液中,放入回旋式恒温水浴振荡器中,搅拌,滴加5-5.2mL饱和CaCl2;搅拌后取出,除去上层溶液,真空抽滤,再用纯水洗涤至中性,离心使固液分离,烘干,粉碎过200目筛子,制备出碳酸钙改性硅藻土吸附剂;(2)将10mL浓度为0.1g/L的步骤(1)制得的碳酸钙改性硅藻土吸附剂放入250mL具塞锥形瓶中,加入100mLpH值为4.83-4.85的含Pb2+电解锌漂洗废水溶液,吸附时间为120-125分钟,吸附温度为25-30℃,加盖后在回旋式水浴恒温振荡器中以150r/min的转速振荡至吸附平衡。本发明从电解锌漂洗废水中回收Pb2+,提高了回收率。

标签:
废水处理
广西 - 桂林 来源:中冶有色网 2023-03-19
利用高岭土选矿废水制备钠明矾的方法

本发明公开了一种利用高岭土选矿废水制备钠明矾的方法,属于废水处理及无机盐制备技术领域。本发明是利用高岭土选矿废水与高岭土多次循环,使溶解在其中的硫酸铝达到饱和,再与硫酸钠进行反应,两次结晶制得纯度达到99.84%以上的钠明矾。本发明可有效处理高岭土选矿废水,使高岭土选矿废水中的铝元素得到充分利用,达到节能减排、变废为宝的目的。

标签:
废水处理
广西 - 南宁 来源:中冶有色网 2023-03-19
缫丝厂高浓度有机废水处理装置

本实用新型公开了一种缫丝厂高浓度有机废水处理装置,包括沉渣池、水力筛、调节池、厌氧罐、沉降罐、达标处理一体化设备以及生物砂滤塔;所述沉渣池的入水端用于排入反冲洗废水,沉渣池的沉渣出口与水力筛的入水端管道连接;所述水力筛的出水端与调节池的入水端管道连接,该调节池的入水端还用于排入副产品高浓度废水;所述调节池的出水端与厌氧罐的入水端管道连接;所述沉降罐的入水端与厌氧罐的出水端管道连接;所述达标处理一体化设备的入水端与沉降罐的出水端连接,该设备用于对废水进好氧处理并在好氧处理后沉降污泥。该实用新型处理后的缫丝厂高浓度有机废水可以直接排放,具有启动时间短、有机物去除率高、运行成本低、易操作管理的优点。

标签:
废水处理
广西 - 南宁 来源:中冶有色网 2023-03-19
用于造纸废水的臭氧-双氧水联合处理装置及处理工艺

本发明公开一种用于造纸废水的臭氧‑双氧水联合处理装置及处理工艺,并公开该工艺中的臭氧反应器。该工艺采用两级臭氧‑双氧水联合氧化对废水进行处理,能够有效去除废水中COD和有机污染物。一级、二级臭氧反应器根据水质状况适当调整通入臭氧和双氧水的量,对污染物进行高级氧化处理,经过一级处理后的废水,污染物浓度下降,二级反应器的臭氧、双氧水投加浓度可以适当减少,在整体上达到节约成本的目的。臭氧反应器主要包含顶盖、罐体外壳、填料、承托层、曝气盘和底座等结构,通过曝气盘的微孔扩散作用形成微气泡,增加臭氧在水中的溶解效率。罐体中的填料有利于水流扰动,保证废水中的污染物和臭氧、羟基自由基得到充分的接触反应。

标签:
废水处理
广西 - 南宁 来源:中冶有色网 2023-03-19
废水处理剂
废水处理剂 1113     
 0

本发明公开了一种废水处理剂,按重量份数计,主要由以下原料制成:聚硅硫酸铝15‑30份、硫酸铁15‑30份、聚丙烯酰胺1‑5份、微生物1‑5份、玉米淀粉15‑30份、聚乙烯亚胺3‑13份、明矾7‑17份、单宁5‑10份、高锰酸钾4‑11份、改性火山石20‑40份、氢氧化钙10‑20份、活性炭10‑20份和醋酸钠5‑20份。本废水处理剂的制作原料来源广泛,能有效去除水中的污染物,处理污水处理彻底、处理成本低,无毒性、无污染,处理后的废水满足国家污水综合排放标准的要求。

标签:
废水处理
广西 - 南宁 来源:中冶有色网 2023-03-19
基于湿地及增氧槽构建的缫丝废水深度处理系统

本实用新型公开了一种基于湿地及增氧槽构建的缫丝废水深度处理系统,包括废水槽、曝气机和安装在废水槽内的若干级湿地;所述的湿地包括填料层以及安装在填料层两侧的陶粒墙,填料层和陶粒墙分别设有用于降解废水的微生物菌种;所述的湿地之间设有增氧槽;所述的增氧槽内设有若干曝气管道;所述的曝气管道连接曝气机;本实用新型综合应用了“生物吸收+微生物降解”协同处理的方式,脱氮除磷效果好,增加增氧槽,通过强制增氧提高湿地植物和填料中微生物的活性,增强污染物的去除效率,实现废水高效降解,杜绝了尾水的返黑返臭、运行成本低,提高水资源利用率,增加企业效益,处理过程无化学药剂投加。

标签:
废水处理
广西 - 南宁 来源:中冶有色网 2023-03-19
氰化镀镉电镀废水处理系统

本实用新型公开了一种氰化镀镉电镀废水处理系统,该系统包括氰镉废水调节池、破氰反应池、尾气吸收塔、一次硫化曝气罐、镉渣斜板沉淀槽、镉渣压滤机、二次硫化曝气罐、锌渣斜板沉淀槽、锌渣压滤机、陶瓷膜过滤器、有机膜过滤器和pH调节池,破氰反应池顶部的尾气出口经管道与尾气吸收塔下部的尾气入口相连接,破氰反应池搅拌口经管道与尾气吸收塔上部的喷淋装置相连接;破氰反应池设有二氧化氯和氢氧化钠的投加口;一次硫化曝气罐和二次硫化曝气罐的底部均安装有曝气管,曝气管连接硫化氢气体和压缩空气的混合气输入管。采用本实用新型处理氰镉废水效果好,可减少破氰氧化剂、碱性沉淀剂的使用及用酸量,降低废水中的Na盐等含盐量,减少废水排放。

标签:
废水处理
广西 - 南宁 来源:中冶有色网 2023-03-19
吸附-高温气流氧化处理难降解有机废水的方法与装置

本发明公开了一种吸附-高温气流氧化处理难降解有机废水的方法与装置,该装置主要由吸附柱、高温气流产生机构、控温、测温机构、废气处理机构,经气液管道和阀门连接组成,有机废水通过该装置用吸附柱吸附废水中的难降解物质,然后再用高温气流氧化,去除COD,并使吸附剂再生,吸附剂再生后开始新一轮的“吸附-高温气流氧化再生-吸附”。本发明的积极效果是:可以在利用高温气流彻底氧化吸附剂上的污染物的同时,高效再生该吸附剂,高温气流来源可利用工厂生产过程中产生的高温废气,废热利用,结构简单,低成本,为难生化降解有机废水的处理提供新途径,COD去除率为90.24%;吸附剂的再生率可达75%左右。

标签:
废水处理
广西 - 桂林 来源:中冶有色网 2023-03-19
处理废水中氯酚类污染物的方法

本发明涉及废水处理技术领域,具体涉及一种处理废水中氯酚类污染物的方法,包括以下步骤:在废水中加入POM(磷钼酸)、双氧水混合物,使其摩尔浓度比为1:2~1:5,在一定的温度下反应,经过上述处理60min后,废水中的氯酚去除率达99%以上。本发明技术方案中由于磷钼酸能够与氯酚快速的反应同时激活双氧水产生自由基,磷钼酸与自由基的协同作用加快了氯酚类物质的降解,实现本发明的技术目的。

标签:
废水处理
广西 - 南宁 来源:中冶有色网 2023-03-19
超声、磁场、脉冲电絮凝和膜复合处理废水的方法及装置

本发明公开了一种超声、磁场、脉冲电絮凝和膜复合处理废水的方法及装置,该方法的工艺流程是,采用升流式将废水用泵送入内设有超声波发生器、电极板和永磁铁的电絮凝反应器中,电絮凝电压:5-30V,电流:5-40A,超声频率:20-100KHz,超声功率:100-400W,磁场强度:0.1-0.3T;水样从极板间流过,并由外循环泵进行循环流动,废水经超声、磁场协同脉冲电絮凝处理5-12min后,再由泵送入沉淀池,再由泵将上清液送入膜组件过滤进一步将泥和水分离,泥浓缩处理回收,水达标排放。本发明方法具有适合处理多种废水、出水水质好且稳定的优点。

标签:
废水处理
广西 - 南宁 来源:中冶有色网 2023-03-19
造纸废水处理方法
造纸废水处理方法 996     
 0

本发明公开一种造纸废水处理方法,其特征在于,包括以下步骤:将二级生化处理后的造纸废水,用酸调节pH值至5~7;将调过pH值的废水排入氧化反应池,依次加入重量百分浓度5~15%铁氧酶和5~20%过氧化氢,搅拌反应15~30min;将反应后的废水排入高密度絮凝澄清池,用碱调节pH值至6~9,并加入重量百分浓度0.1~0.5%的聚丙烯酰胺,混凝沉淀一段时间;混凝后废水经沉淀澄清后达标排放或根据需要将沉淀上清液过滤回用。本发明具有反应启动快、反应条件温和、设备简单、能耗小节约运行费用、COD及色度去除率高、氧化性强、运行过程稳定可靠、操作也很简便、污泥易脱水和经济效益可观等优点。

标签:
废水处理
广西 - 来宾 来源:中冶有色网 2023-03-19
上一页 25 26 27 28 29 ... 42 下一页
共42页    到第

中冶有色为您提供最新的广西有色金属废水处理技术理论与应用信息,涵盖发明专利、权利要求、说明书、技术领域、背景技术、实用新型内容及具体实施方式等有色技术内容。打造最具专业性的有色金属技术理论与应用平台!

全国热门有色金属设备推荐
展开更多 +
全国热门有色金属技术推荐
展开更多 +

 

江西省隆恩特环保设备有限公司
宣传

报名参会
更多+

报告下载

有色专家
更多+

鞍钢集团有限公司
中国工程院院士
武汉理工大学
外籍院士/教授
长沙有色冶金设计研究院有限公司
党委书记、董事长
中国铝业股份有限公司
总裁 党委副书记
清华大学
研究员
赤泥综合利用研究报告2025
推广

热门技术
更多+

推荐企业
更多+

福建省金龙稀土股份有限公司
宣传

发布

在线客服

公众号

电话

顶部
咨询电话:
010-88793500-807