青岛垚鑫智能科技有限公司
宣传

位置:中冶有色 >

有色技术频道 >

> 新能源材料技术

分类:
全部
矿山技术
冶金技术
材料制备及加工技术
环境保护技术
分析检测技术
 
全部
功能材料技术
复合材料技术
新能源材料技术
合金材料技术
加工技术
地区:
全部
北京
天津
上海
重庆
河北
山西
辽宁
吉林
黑龙江
江苏
浙江
安徽
福建
江西
山东
河南
湖北
湖南
广东
海南
四川
贵州
云南
陕西
甘肃
青海
内蒙
广西
西藏
宁夏
新疆
其他
其他
展开
 
全部
杭州
宁波
温州
绍兴
湖州
嘉兴
金华
衢州
台州
丽水
舟山

浙江杭州有色金属新能源材料技术理论与应用

免费发布技术信息>>
宽频带多方向振动能量采集器

本发明涉及一种宽频带多方向振动能量采集器,属于新能源和发电技术领域。壳体由6块金属板和上盖板、下盖板构成,金属板上端和下端分别用直角型固定片和螺钉固定在上盖板和下盖板之间。所述的金属板设有用于固定压电振子的连接座,压电振子用螺钉固定在所述的连接座上;所述的压电振子由一个水平悬臂梁和两个垂直悬臂梁组成的T型结构,每个悬臂梁由金属基板和压电晶片粘接而成,水平悬臂梁的一端通过螺钉固定在金属板连接座上,另一端安装有金属质量块,两个垂直悬臂梁的一端固定在水平悬臂梁末端金属块上,另一端安装有磁铁;壳体的上盖板和下盖板上安装有磁铁;所述的两个垂直悬臂梁末端的磁铁和壳体上盖板、下盖板上的磁铁的同性磁极相对安装。优点在于:可实现宽频带、多方向及低频的振动能量采集。

标签:
新能源
浙江 - 杭州 来源:中冶有色网 2023-03-18
双功能风力发电机
双功能风力发电机 1207     
 0

本发明公开一种双功能风力发电机,属于新能源供电系统设备技术领域,包括:主机与球托连接,主轴固定在机架上,上端通过防雨罩支承风轮,机架安置在机座上,以及控制盒、止动器、太阳能光伏电池板为主要部件组成;特征是:在主机内设有恒速驱动装置,该装置由导磁铁芯、铁芯、绕组,通过导线连接控制盒构成,克服风力发电机在低风速下难以启动或高风速中发电效率低、输出不稳定、噪音大等问题,缩小和减轻了发电机的重量和体积,降低了制造成本,一机多能、节能环保、免费通风换气、免费供电照明,对于缓解目前与日俱增的城市用电量来说,具有事半功倍的效果。

标签:
新能源
浙江 - 杭州 来源:中冶有色网 2023-03-18
利用复合储能技术平抑风光发电系统输出功率波动的方法

本发明公开了一种利用复合储能技术平抑风光发电系统输出功率波动的方法。该方法在平抑功率波动过程中提出了可变时间常数滤波控制,实时优化低通滤波器的时间常数,实现了对储能系统充放电功率的灵活、快速控制,改善储能系统的运行,减小储能使用容量;同时提出最大输出功率控制保证储能运行在合理的范围。本发明应用复合储能技术,将具有快速响应特性的储能系统和具有大容量储能特性的储能系统联合使用以平抑功率波动,两种储能设备互相弥补自身的不足,从而达到更好的平抑效果和更大的经济效益。该方法迎合了储能技术应用于新能源发电的趋势,可为新能源并网问题提供借鉴。

标签:
新能源
浙江 - 杭州 来源:中冶有色网 2023-03-18
丙烯腈聚合物基中孔炭的制备方法

本发明公开了一种丙烯腈聚合物基中孔炭的制备方法,方法的步骤为:(1)用氨水调节纳米氧化硅水溶胶的pH值至9~12,加入2,2’-偶氮(2-脒基丙烷)二氢氯化物得到改性纳米氧化硅水溶胶;(2)将改性纳米氧化硅水溶胶、丙烯腈或丙烯腈与第二单体的混合物、非离子型乳化剂加入反应器中,升温进行乳液聚合,得到丙烯腈聚合物/纳米氧化硅复合物;(3)将丙烯腈聚合物/纳米氧化硅复合物高温炭化,得到炭/纳米氧化硅复合物;(4)用氢氟酸刻蚀去除炭/氧化硅复合物中的纳米氧化硅,制得中孔炭。采用本方法制备的中孔炭具有中孔率高、孔径分布均匀、比表面积大等优点,在新能源、环境保护、工业催化等领域具有良好的应用前景。

标签:
新能源
浙江 - 杭州 来源:中冶有色网 2023-03-18
具有灾难应对功能的波浪能发电系统

本发明涉及新能源利用技术,公开了具有灾难应对功能的波浪能发电系统,其包括波浪能俘获装置和发电设备,发电设备为磁流体发电机,磁流体发电机包括流体泵(1)、导流管(2)和发电机(3),流体泵(1)的输入端与波浪能俘获装置相连,流体泵(1)的输出端通过导流管(2)与发电机(3)相连。波浪能俘获装置(4)包括撑臂(41)和浮筒(42),撑臂(41)下端铰接于海底(5),撑臂(41)上端连接有浮筒(42),浮筒(42)上端露出海平面(6)。本发明转换效率高,结构紧凑,可靠性好,解决了波浪能俘获装置灾害应对问题,适合于我国波浪能密度小、海水含沙量高、经常受到台风影响的海况条件。?

标签:
新能源
浙江 - 杭州 来源:中冶有色网 2023-03-18
多中心无铁芯线圈的永磁电机

本发明公开一种多中心无铁芯线圈的永磁电机,属于新能源或节能电机技术领域,包括:永磁体、动盘、×个中动盘,n个静盘;按第一动盘-静盘-中动盘-静盘……第二动盘的顺序叠加组合固定在主轴5上,每个静盘内设置定子绕组,通过导线连接后,引出与控制器连接;特征是:每极由漆包线绕制成2+y个中心线圈横向并列的线圈片,24个或24+e个线圈片串联为1层,1层一相,三相电机为3层或3k层,按电相角均匀分布固定在静盘的圆面积内,通过改变每极中2+y个线圈片的串联或并联的连接方式以扩展所需电压或电流的适应范围,增加了每对磁极2+y倍的线圈匝数和感应磁通量,使同等直径的电机输出功率提高了2+y倍。

标签:
新能源
浙江 - 杭州 来源:中冶有色网 2023-03-18
垂直轴恒速风力发电机

本发明公开了一种垂直轴恒速风力发电机,属于新能源风力发电机技术领域,包括:N个静盘、N+1个动盘、主轴、端盖、永磁体、线圈、霍尔元件、恒速驱动盘为主要部件组成;特征是:发电机中设置由:矽钢片铁芯、绕组、导磁体铁芯、霍尔元件、构成的恒速驱动装置;克服了风力发电机在低风速下难以启动,高风速中发电效率低、输出不稳定、噪音大等问题,确保了发电机的安全运行;同时,采用了永磁叠加的设计思路和计算机自动控制恒速驱动装置以及大口径钢管制作主轴的方法,缩小和减轻了发电机的重量和体积,减少了风力发电机的部件,降低了制造成本,提高了发电效率,具有输出稳定、运行安全、使用寿命长、体积小、无噪音、适用范围广的优点。

标签:
新能源
浙江 - 杭州 来源:中冶有色网 2023-03-18
风力发电广场灯及路灯
风力发电广场灯及路灯 1195     
 0

本发明公开了一种风力发电广场灯及路灯,属于新能源供电系统设备技术领域,包括:发电机外转子与球托连接,主轴固定在机架上,通过主轴承支承风轮和助动风轮,顶部设有助动风口,机架套接在灯柱上,灯柱中设有风道、进风口、灯架、灯具以及设置在机架上的止动器、控制盒、光敏电阻为主要部件组成;特征是:发电机设有通风冷却装置、自动监控调速系统;助动风口装置、防冻加热装置,大口径钢管制作主轴的方法以及采用超高功率型大功率LED灯,具有亮度高、射程远、体积小、节能环保、稳定性好等优点;将灯柱内部的通风、散热、引风力和外界自然风力与发电机内部结构的设计溶于一体,加以综合利用,以求更科学地发挥风能潜力和发电效果。

标签:
新能源
浙江 - 杭州 来源:中冶有色网 2023-03-18
充电系统
充电系统 1118     
 0

本实用新型提供的一种充电系统,包括至少一个进行功率传递的能量传递模块和多个向所述新能源交通工具提供电量的充电子系统,两个所述充电子系统通过一个所述能量传递模块相连;本实用新型采用一个能量传递模块连接两个充电子系统的结构实现充分利用充电站资源的目的,同时,针对两个充电子系统在其中一个供电功率不足,另一个有多余供电功率的情况下,通过能量传递模块进行两个充电子系统之间的供电功率的传递,不仅提高了各个充电子系统的电能利用率,还节约了新能源交通工具的充电时间,以及提高了新能源交通工具的充电效率。

标签:
新能源
浙江 - 杭州 来源:中冶有色网 2023-03-18
基于边缘计算的电池安全预警系统及方法

本发明提供了基于边缘计算的电池安全预警系统及方法,系统包括:传感器:安装在新能源汽车上;传感器用于采集新能源汽车上电池的运行数据,并将运行数据实时传输给边缘计算平台;边缘计算平台:用于对接收到的运行数据进行分析,以获得分析结果,并将分析结果发送给车载终端;车载终端:安装在新能源汽车上;车载终端用于显示所述分析结果。该系统提高数据传输、数据处理、信息反馈效率,从而提升数据分析到预警的及时性,从而及时地提醒驾乘人员。

标签:
新能源
浙江 - 杭州 来源:中冶有色网 2023-03-18
防止汽油车抢占电动车车位的装置

本发明公开了一种防止汽油车抢占电动车车位的装置,包括装置壳体,一种防止汽油车抢占电动车车位的装置,包括装置壳体,所述装置壳体中设有壳体空间,所述装置壳体上侧面为停放汽车的承重面,所述壳体空间中为本装置的主体传动结构,所述装置壳体上侧设有用于阻挡汽油车停入车位的阻挡装置,所述滑杆上侧面固定连接有挡板,所述挡板中固定连接有识别单元,本装置设置两级识别系统以保证车位不被汽油车所抢占,即第一级为识别汽车的车牌是否为新能源汽车车牌,若汽油车利用新能源车牌通过第一级识别系统,在停车时由于汽油车的质量远大于新能源汽车,通过判断装置以阻止隔板下降,还设有挡雨门保护充电桩,以延长充电桩的使用寿命。

标签:
新能源
浙江 - 杭州 来源:中冶有色网 2023-03-18
增程式混合动力汽车
增程式混合动力汽车 988     
 0

本发明提供了一种增程式混合动力汽车,涉及新能源汽车技术领域。该增程式混合动力汽车包括前悬架、后悬架、太阳能动力系统和气动驱动系统;前悬架和后悬架中的一个设置有太阳能动力系统,另一个设置有气动驱动系统。本发明的增程式混合动力汽车,采用太阳能对汽车进行充电增程,以及车体本身振动能量回收转换为气体动力能源的两种供能方式,解决了当前新能源汽车特别是纯电动汽车存在的续航里程短、充电时间长、充电设备不健全、充电站工程巨大且设备成本高等问题,为新能源汽车提供了一种环保、高效、廉价、零污染的动力供应方案和全新的混合动力汽车产品。

标签:
新能源
浙江 - 杭州 来源:中冶有色网 2023-03-18
轮边电机桥横梁结构
轮边电机桥横梁结构 919     
 0

本发明提供了一种轮边电机桥横梁结构,涉及新能源汽车驱动技术领域。所述桥横梁结构包括:横梁;所述横梁的两端设置有下陷的容纳槽,所述容纳槽为弧形凹槽,所述横梁的端面开设有定位孔和安装孔,所述定位孔将减速器定位便于固定,所述安装孔将减速器固定连接在横梁的端面。本发明实施例采用的桥横梁结构提供了用于放置轮边电机的容纳槽和用于安装减速器的定位孔和安装孔,适用于采用轮边电机的新能源商用车,满足市场上多数新能源中巴车型、中型货车轮边驱动使用,提高了通用性。

标签:
新能源
浙江 - 杭州 来源:中冶有色网 2023-03-18
考虑不确定性的能量流和物料流建模耦合方法

本发明公开了一种考虑不确定性的能量流和物料流的建模及耦合方法。方法包括:将分布式新能源发电设备、多能转换设备、能源存储设备、工业生产流水线负荷和物料存储仓库进行关联构建获得能量‑物料流耦合关联图系统;构建能量‑物料流耦合模型;将各个分布式新能源发电设备、多能转换设备、能源存储设备、工业生产流水线负荷和物料存储仓库的能量物料参数的预设量输入并输出调整量,实现考虑不确定性的能量流和物料流的耦合。本发明方法统一了工业生产中分布式新能源发电设备、能量转换设备和工业生产流水线负荷的不同建模方式,可以应用于工业的生产安排、设备投建等多个领域,进而辅助工业生产的精细化安排、生产数据矫正和节能提效等。

标签:
新能源
浙江 - 杭州 来源:中冶有色网 2023-03-18
生产模拟仿真方法及系统

本发明提供一种生产模拟仿真方法及系统,所述方法包括:获取任意区域电网在预设时间范围内的时序生产数据;将时序生产数据输入至预先建立的生产模拟仿真系统进行全网小时级生产模拟时序仿真,输出不同抽蓄方案在所述区域电网中的系统运行状态结果;根据不同抽蓄方案在区域电网中的系统运行状态结果,得到不同抽蓄方案下的区域电网的新能源消纳水平和火电调峰情况;比较不同抽蓄方案下的区域电网的新能源消纳水平和火电调峰情况,得到不同抽蓄方案的差异结果。通过上述方法能够为提高系统新能源消纳水平,减少火电深度调峰的潜在效益,以及变速抽蓄项目在电网应用的技术经济效益评估提供参考。

标签:
新能源
浙江 - 杭州 来源:中冶有色网 2023-03-18
蓄电储能部件动态结构
蓄电储能部件动态结构 1137     
 0

本发明提供一种蓄电储能部件(包括新能源电池包)的电池组结构,该结构可以实现蓄电储能部件的标称电压可以动态变化,以适应不同的充电电压需求,和适应不同的放电电压需求。本发明技术方案将为新能源储能部件的技术格局提供另外一个方向,即“动态储能结构”,以对比现有的“静态储能结构”。“动态储能结构”将实现更高的能源效率,以及为新能源汽车提供足以替代燃油车所需的更高的充电功率。

标签:
新能源
浙江 - 杭州 来源:中冶有色网 2023-03-18
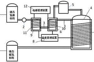
基于液态氢源和燃料电池的智能电源系统及供电方法

本发明涉及氢能源技术领域,提供了一种基于液态氢源和燃料电池的智能电源系统及供电方法。所述的基于液态氢源和燃料电池的智能电源系统,用于新能源汽车的车载动力系统中,包括用于提供氢气的有机液态氢源装置、用于将氢能转换为电能的氢能转换装置和用于管理电能的电源管理装置,以及温度管理装置,其中,所述氢能转换装置为燃料电池。本发明的电源系统,是一种清洁环保、使用方便的电源系统,用于新能源汽车,不仅解决了充电时间和续航里程的问题,更重要的是避免了现有的高压储氢罐与锂电池在同一车上的安全隐患,大大提高了系统的安全性,使采用该电源系统的新能源汽车能够进行大规模商业应用,带来巨大的社会效益和经济效益。

标签:
新能源
浙江 - 杭州 来源:中冶有色网 2023-03-18
智慧停车场管理系统
智慧停车场管理系统 767     
 0

本发明公开了一种智慧停车场管理系统,包括控制中心(1),控制中心(1)分别连接有车牌识别计时计费单元(2)、燃油车位管理单元(3)和新能源充电车位管理单元(4);所述新能源充电车位管理单元(3)包括设置在充电车位上的自动开闭地锁(5),自动开闭地锁(5)上设有子控制器(6),子控制器(6)连接有固定于自动开闭地锁(5)上端的升降式新能源车牌识别摄像头(7)、红外传感器(8)和语音提示播放器(9)。本发明具有能够对充电车位进行有效管理的特点。

标签:
新能源
浙江 - 杭州 来源:中冶有色网 2023-03-18
基于调峰系数的特高压受端电网调峰能力充裕度判断方法

本发明公开了一种基于调峰系数的特高压受端电网调峰能力充裕度判断方法。初始化特高压受端电网区外来电和各类发电机组的调峰率以及各时刻发电机组的开机容量;初始化特高压受端电网各时刻的负荷值和新能源发电功率;根据开机容量和调峰率,计算特高压受端电网各时刻的调峰系数,归一化处理调峰系数,再根据负荷值和新能源发电功率处理获得特高压受端电网的等效负荷值,进而计算各时刻的等效负荷系数;计算调峰系数与等效负荷系数的偏差,判断特高压受端电网是否满足调峰能力充裕度。本发明考虑了特高压受端电网区外来电和各类发电机组的作用和新能源发电功率的影响,能够更准确地对特高压受端电网调峰能力充裕度进行判断。

标签:
新能源
浙江 - 杭州 来源:中冶有色网 2023-03-18
充电系统及充电控制方法

本发明提供的一种充电系统及充电控制方法,该充电系统包括至少一个进行功率传递的能量传递模块和多个向所述新能源交通工具提供电量的充电子系统,两个所述充电子系统通过一个所述能量传递模块相连;本发明采用一个能量传递模块连接两个充电子系统的结构实现充分利用充电站资源的目的,同时,针对两个充电子系统在其中一个供电功率不足,另一个有多余供电功率的情况下,通过能量传递模块进行两个充电子系统之间的供电功率的传递,不仅提高了各个充电子系统的电能利用率,还节约了新能源交通工具的充电时间,以及提高了新能源交通工具的充电效率。

标签:
新能源
浙江 - 杭州 来源:中冶有色网 2023-03-18
基于液态氢源和中高温燃料电池的智能电源及供电方法

本发明涉及氢能源技术领域,提供了一种基于液态氢源和中高温燃料电池的智能电源及供电方法。所述的基于液态氢源和中高温燃料电池的智能电源,用于新能源汽车的车载动力系统中,包括用于提供氢气的有机液态氢源装置、用于将氢能转换为电能的氢能转换装置和用于管理电能的电源管理装置,以及温度管理装置;其中,氢能转换装置为中高温燃料电池电堆。本发明的智能电源,是一种清洁环保、使用方便的电源系统,用于新能源汽车,不仅解决了充电时间和续航里程的问题,更重要的是避免了现有的高压储氢罐与锂电池在同一车上的安全隐患,大大提高了系统的安全性,使采用该智能电源的新能源汽车能够进行大规模商业应用,带来巨大的社会效益和经济效益。

标签:
新能源
浙江 - 杭州 来源:中冶有色网 2023-03-18
可防止车内窒息的汽车热泵智能管理系统

一种可防止车内窒息的汽车热泵智能管理系统,该系统由新能源汽车混合工质循环系统,辅助冷源冷却充电电池、发动机、汽车制动器部件系统,压缩混合工质冷却系统,车内环境温度调节及空气净化系统四部分构成;所述新能源汽车混合工质循环系统部分至少包括混合工质压缩机,两位四通电磁换向阀,高压混合工质节流阀,所述两位四通电磁换向阀翻转混合工质循环方向,它具有将高压富氧液态空气作为新能源汽车热泵管理系统的辅助冷源,一方面可减少新能源汽车热泵管理系统混合工质压缩功量,降低每百公里油耗和提高电池使用时间,提升整车续航里程等特点。

标签:
新能源
浙江 - 杭州 来源:中冶有色网 2023-03-18
考虑价格型需求响应的独立型微网优化配置方法

一种考虑价格型需求响应的独立型微网优化配置方法,包括如下步骤:S1:将一天连续24h的时间进行离散化处理,均分为T个时段,对于任意第t时段,第t时段的时长为Δt,绘制微网内常规负荷曲线;S2:绘制短期新能源发电功率曲线,根据新能源发电功率曲线和常规负荷曲线,制定面向微网用户的实时电价,当新能源发电功率曲线大于常规负荷曲线的时段为低电价,当新能源发电功率曲线小于常规负荷曲线的时段为高电价;S3:建立需求响应优化模型,引导用户的用电行为;S4:确定风光柴储等微电源发电模型,以微网全寿命周期等年值成本为目标建立微网优化配置模型;S5:求解建立的微网优化配置模型,得到优化配置方案。本发明经济效益较好。

标签:
新能源
浙江 - 杭州 来源:中冶有色网 2023-03-18
考虑中长期调度的多周期协调电力平衡系统及方法

本发明公开了一种考虑中长期调度的多周期协调电力平衡系统及方法,平衡系统包括:数据获取模块、不确定性因素建模模块、模型建立模块和模型求解模块,方法包括:获取电网的基本数据,包括省外来电数据、机组数据、负荷数据、新能源数据和负荷、新能源预测误差数据;基于机会约束的方法对系统不确定性因素建模,设置相应的置信区间;根据电网的基本数据、负荷、新能源预测误差数据及设置的置信区间,建立电力平衡多周期协调的调度模型;求解电力平衡多周期协调的调度模型,并按照所述电力平衡多周期协调模型的结果进行电力调度。本发明明确了不同时间尺度调度之间的衔接关系,通过多周期协调滚动调度能有效提高新能源的消纳水平。

标签:
新能源
浙江 - 杭州 来源:中冶有色网 2023-03-18
智能充电系统
智能充电系统 710     
 0

本发明公开了一种智能充电系统,涉及新能源汽车充电技术领域。包括:共享数据平台、移动终端、行车平台和充电小车,所述共享数据平台分别与所述移动终端、行车平台和充电小车通讯连接。其中共享数据平台包括数据处理模块、通讯模块和定位模块,充电小车包括机械系统以及设置在机械系统上的人机交互系统、感知系统、控制系统和驱动单元。本发明提供了一种能够在新能源汽车行驶过程中及时补给电量,使新能源汽车能够突破单次行程限制的智能充电系统。为新能源汽车在电量不足时,能够像人饿了时叫外卖一样,为其完成自主充电的服务。整个充电过程中可以将人的劳动完全解放出来,并且人工也可以随时进行干预。

标签:
新能源
浙江 - 杭州 来源:中冶有色网 2023-03-18
水电参与的灵活性爬坡市场交易的方法和系统

本发明公开了一种水电参与灵活性爬坡市场的方法和系统,方法包括以下步骤:获取电网的基本数据和负荷、新能源预测误差数据,所述电网的基本数据包括水电机组数据、火电机组数据、负荷数据和新能源数据;根据负荷、新能源预测误差数据,计算电力系统的灵活性需求;根据电网的基本数据及负荷、新能源预测误差数据,建立考虑水电参与的灵活性爬坡市场交易模型。本发明在灵活性爬坡市场交易中考虑了水电资源,提升水电资源参与灵活性爬坡市场的积极性,保障了系统中的灵活性充裕度,有利于系统的安全稳定运行。

标签:
新能源
浙江 - 杭州 来源:中冶有色网 2023-03-18
考虑差异化场景的220kV电网网架结构规划方法

一种考虑差异化场景的220kV电网网架规划方法,涉及一种网架规划方法。本发明包括以下步骤:1)根据电网可靠性水平差异和新能源接入比例差异,生成多个规划场景;2)以综合投资最小为规划的目标函数,对规划的目标函数进行数学建模;3)对于不同规划方案,生成不同的导纳矩阵;4)获取最优网架序列所述220kV电网规划方法中,根据电网可靠性水平差异、新能源接入比例差异生成多个规划场景。本技术方案以综合投资最小为目标函数进行数学建模,对于不同规划方案,生成不同的导纳矩阵,并应用遗传算法进行求解。与现有技术相比,本发明综合考虑了电力系统规划中约束条件的差异性。在不同场景各项约束指标波动范围较大时,本发明有更好的适应性。

标签:
新能源
浙江 - 杭州 来源:中冶有色网 2023-03-18
面向碳减排的用能管控方法、计算设备及介质

本说明书实施例提供了面向碳减排的用能管控方法、计算设备及介质,其中面向碳减排的用能管控方法包括:基于柔性耗能设备的数据信息对柔性耗能设备在下一预测时间段内的耗能量进行预测,预测的耗能量符合柔性耗能设备的实际耗能情况,基于新能源供能设备的数据信息对新能源供能设备在下一预测时间段内的供能量进行预测,预测的供能量符合新能源供能设备的实际供能情况,因此,根据针对指定地域范围内的柔性耗能设备的控制策略和预测得到的耗能量、供能量,利用碳减排模型,选择下一预测时间段内目标碳排放量最优的控制策略,在有效提高新能源利用率的同时,控制策略的选择可以保证最优的碳排放量,实现了降低整体碳排放的目的。

标签:
新能源
浙江 - 杭州 来源:中冶有色网 2023-03-18
基于热电协同的长距离区域供热系统及热电协同方法

本发明公开了一种基于热电协同的长距离区域供热系统及热电协同方法,具体包括主供热热源、主供热热网系统、辅助蓄热供热系统模块、协同发电系统模块。本发明通过采用蓄热技术和新能源发电技术与区域供热热网协同配合,利用蓄热与热网结合一方面解决长距离区域供热系统在低负荷工况下的全网运行造成的热损大和安全性问题,另一方面解决峰值供热情况下的热网供热负荷不足问题,一定程度上减小热网在投资成本,提高经济性。本发明利用新能源发电与蓄热结合,解决了新能源发电与电网协同的经济性问题和蓄热的用电成本问题,充分发挥了新能源发电的经济性和热网蓄热供热的经济性。

标签:
新能源
浙江 - 杭州 来源:中冶有色网 2023-03-18
补偿虚拟同步机负阻尼特性的虚拟电力系统稳定器设计方法

本发明公开了一种补偿虚拟同步机负阻尼特性的虚拟电力系统稳定器设计方法。在VSG主电路拓扑中,可再生能源和储能装置构成直流侧,在三相逆变器输出端接滤波电感,后经过输电线路接入电网,在控制回路中设置虚拟PSS装置对虚拟同步机负阻尼特性进行补偿;所述的补偿虚拟同步机负阻尼特性的虚拟电力系统稳定器设计方法为:以角频率偏差作为输入信号,通过虚拟电力系统稳定器处理角频率偏差,并将处理后的信号反馈到虚拟励磁调节器中,从而补偿虚拟励磁引入虚拟同步机控制回路的等效阻尼转矩。本发明方法适应于分布式新能源发电的三相逆变电路中,由可再生新能源或储能装置并联电容构成直流侧,交流侧后接单电感滤波器,并通过线路接入电网的场合。

标签:
新能源
浙江 - 杭州 来源:中冶有色网 2023-03-18
上一页 23 24 25 26 27 ... 71 下一页
共71页    到第

中冶有色为您提供最新的浙江杭州有色金属新能源材料技术理论与应用信息,涵盖发明专利、权利要求、说明书、技术领域、背景技术、实用新型内容及具体实施方式等有色技术内容。打造最具专业性的有色金属技术理论与应用平台!

全国热门有色金属设备推荐
展开更多 +
全国热门有色金属技术推荐
展开更多 +

 

江西省隆恩特环保设备有限公司
宣传

报名参会
更多+

报告下载

有色专家
更多+

西北稀有金属材料研究院宁夏有限公司
党委书记 / 董事长
中国瑞林工程技术有限公司
中国工程院院士
国家钨与稀土产品质量检验检测中心
主任
中南大学
教授
长沙矿山研究院有限责任公司
高级工程师
赤泥综合利用研究报告2025
推广

热门技术
更多+

推荐企业
更多+

福建省金龙稀土股份有限公司
宣传

发布

在线客服

公众号

电话

顶部
咨询电话:
010-88793500-807