青岛垚鑫智能科技有限公司
宣传

位置:中冶有色 >

有色技术频道 >

> 复合材料技术

分类:
全部
矿山技术
冶金技术
材料制备及加工技术
环境保护技术
分析检测技术
 
全部
功能材料技术
复合材料技术
新能源材料技术
合金材料技术
加工技术
地区:
全部
北京
天津
上海
重庆
河北
山西
辽宁
吉林
黑龙江
江苏
浙江
安徽
福建
江西
山东
河南
湖北
湖南
广东
海南
四川
贵州
云南
陕西
甘肃
青海
内蒙
广西
西藏
宁夏
新疆
其他
其他
展开
 
全部
长春
吉林
四平
辽源
通化
白山
松原
白城
延边朝鲜族自治州

吉林有色金属复合材料技术理论与应用

免费发布技术信息>>
双尺寸硬质颗粒增强的铜基复合材料及其制备方法

本发明公开了一种双尺寸硬质颗粒增强的铜基复合材料,其组分及质量分数如下:陶瓷颗粒1%~5%,高碳铬铁颗粒6%~12%,天然鳞片石墨8%~12%,余量为电解铜粉;其中,所述陶瓷颗粒为:镀铜SiC颗粒,镀铜B4C颗粒,镀铜TiC颗粒,镀铜A1203颗粒,镀铜Cr203颗粒,镀铜Si02颗粒,镀铜Si3N4颗粒,镀铜AlN颗粒中的一种或几种。本发明还提供了一种双尺寸硬质颗粒增强的铜基复合材料的制备方法。

标签:
复合材料
吉林 - 长春 来源:中冶有色网 2023-03-18
基于仿生互锁的Z-pin、复合材料及其制备方法

本发明公开一种基于仿生互锁的Z‑pin、复合材料及其制备方法,所述Z‑pin包括Z‑pin主体,所述Z‑pin主体为下部设有尖端的圆柱体;凸脊,所述凸脊呈矩阵排列围绕设置在所述圆柱体上;所述凸脊的上部的切线与所述Z‑pin轴线之间的夹角大于所述凸脊的下部的切线与所述Z‑pin轴线之间的夹角。本发明通过在Z‑pin主体的上部设置呈矩阵排列的特定凸脊;使形成的Z‑pin与基体摩擦和粘结的同时,可与基体进行钩连与锁合形成互锁结构,该互锁结构提供额外的锁合力来抵御两者形成的复合材料的层间失效;此外,具有下部设有尖端的圆柱体结构的Z‑pin主体有利于本发明的Z‑pin快速植入基体。

标签:
复合材料
吉林 - 长春 来源:中冶有色网 2023-03-18
变厚度碳纤维复合材料轮辋结构及其铺层设计方法

本发明公开了一种变厚度碳纤维复合材料轮辋结构,包括:外铺层块,其铺设在所述轮辋结构的外侧,为等厚度的多层结构;上铺层块,其铺设在所述轮辋结构的内侧上部,为变厚度的差层结构;下铺层块,其铺设在所述轮辋结构的内侧下部,为变厚度的差层结构;填充铺层块,其铺设在所述外铺层块、所述上铺层块以及所述下铺层块之间;其中,所述上铺层块和所述下铺层块的一端向内延伸,形成环形的连接凸缘;所述上铺层块的另一端向上延伸、所述下铺层块的另一端向下延伸后,与所述外铺层块形成辋环。通过三段对称堆叠式结构,采用差层的变厚度设计,使轮辋的重量轻、强度高。本发明还提供一种变厚度碳纤维复合材料轮辋结构的铺层设计方法。

标签:
复合材料
吉林 - 长春 来源:中冶有色网 2023-03-18
环保硅藻泥复合材料及其制备方法

一种环保硅藻泥复合材料及其制备方法,属于建筑用复合材料技术领域。按质量和100%计算,由硅藻土30~50%、重钙粉3~12%、石英砂8~20%、pH调节剂10~15%、煅烧高岭土6~10%、滑石粉4~10%、海泡石5~10%、颜料2~5%、预糊化淀粉2~4%、羟丙基甲基纤维素1~3%、可分散性乳胶1~2%、淀粉醚1~2%、三聚磷酸钠0.5~2%、六偏磷酸钠0.5~2%、聚乙烯醇0.5~1%、瓜尔胶0.1~0.5%和纳米二氧化钛0.1~3%组成。本发明制备方法简单,施工容易,硅藻土为多孔物质,可以吸附和分解甲醛、甲苯等有害物质,同时具有调湿功能,去除异味功能。

标签:
复合材料
吉林 - 长春 来源:中冶有色网 2023-03-18
还原氧化石墨烯/导电高分子/金属硫化物三元复合材料、制备方法及其应用

一种还原氧化石墨烯/导电高分子/金属硫化物三元复合材料、制备方法及其在作为类过氧化物酶催化剂方面的应用,属于石墨烯基复合纳米材料可控制备技术领域。本发明先以氧化石墨为载体负载金属氧化物纳米粒子,再利用导电高分子作为还原剂,以硫脲作为硫源,通过简单的水热方法,一锅制备出还原氧化石墨烯/导电高分子/金属硫化物三元复合材料。金属硫化物与还原氧化石墨、导电聚合物之间的协同作用提升了金属硫化物的类酶催化性质。本方法得到的三元复合纳米材料,具有制备方法简单,形貌稳定的优点,另外对类过氧化物酶的催化氧化具有很好的催化活性,我们制备的材料对于促进类酶催化剂的发展和商业化进程将具有十分重要的意义。

标签:
复合材料
吉林 - 长春 来源:中冶有色网 2023-03-18
高效的物理-化学协同阻燃硅橡胶复合材料的制备方法

本发明设计一种高效的物理‑化学协同阻燃硅橡胶复合材料的制备方法,并对其燃烧性能进行了研究;首先将无卤阻燃剂进行改性制备改性无卤阻燃剂使得改性后的无卤阻燃剂具有更好的热稳定性及在硅橡胶中的相容性和分散性,增强了阻燃剂的成炭能力。再与物理膨胀阻燃剂混合制备协同阻燃剂,构筑了一种高效的物理‑化学协同阻燃体系,并应用于阻燃硅橡胶复合材料的制备。本方法制备的协同阻燃剂具有原料易制得,成本低、无卤无毒无烟、绿色高效等优点,可以实现对自然资源的有效利用和转化,提升材料附加值,拓宽了硅橡胶的应用渠道,因而具有较好的应用潜力。

标签:
复合材料
吉林 - 长春 来源:中冶有色网 2023-03-18
陶瓷颗粒增强铝基复合材料的成型方法

本发明涉及一种陶瓷颗粒增强铝基复合材料的3D打印成型方法,包括以下步骤:(1)粉体混合;(2)Al‑Ti‑B4C体系的3D打印成型;(3)Al‑Ti‑B4C体系成型样件的烧结。本发明中,通过3D打印技术成型制备出陶瓷颗粒增强铝基复合材料(TiC‑TiB2)/Al,简单高效、节约原料、节省成本、精确度高,不需要使用模具就能成型出很多复杂结构,具有重要的实际应用价值。

标签:
复合材料
吉林 - 长春 来源:中冶有色网 2023-03-18
基于组合仿生的纤维增强复合材料构件及其多点模具成型方法

本发明公开一种基于组合仿生的纤维增强复合材料构件及其多点模具成型方法,所述组合仿生的纤维增强复合材料构件仿照红耳滑龟龟壳的三明治结构,由中间层与上、下蒙皮构成;所述中间层仿照红耳滑龟龟壳松质骨结构,采用具有孔隙结构的泡沫金属材料或三维纤维织物;所述上、下蒙皮采用仿龟壳腹侧皮层与背侧皮层、仿螳螂虾螯棒、仿鱼类鱼鳞及其组合仿生的胶原纤维铺排结构,上、下蒙皮中的纤维层数可以相等或不等;本发明通过对龟壳,螳螂虾螯棒、鱼类鳞片等自然界抗冲击结构进行组合仿生,有效提升了构件的力学性能,实现了构件结构、功能一体化,使构件能够更好地适应实际工况中的复杂应力状态。

标签:
复合材料
吉林 - 长春 来源:中冶有色网 2023-03-18
调整Ag-ITO复合材料近红外区吸收峰波长的方法

一种调整Ag‑ITO复合材料近红外区吸收峰波长的方法,属于纳米光吸收材料技术领域,本发明方法中Ag‑ITO复合材料的结构是结合模板法,以聚苯乙烯小球阵列为模板,Ag和ITO经磁控溅射的方法获得。本发明方法根据金属半导体载流子浓度可调的性质,通过增大ITO溅射功率,增加ITO含量,减小载流子浓度等手段,不仅提高了近红外区的吸收效率,还能够控制半导体ITO的含量进而使吸收峰在从1079nm红移至1214nm的范围内精确调控,有望开发新型的生物芯片和光电器件等材料。

标签:
复合材料
吉林 - 四平 来源:中冶有色网 2023-03-18
基于异山梨醇的生物基复合材料制备方法

本发明公开了一种基于异山梨醇的生物基复合材料制备方法,制备方法包括以下步骤:S1、准备以下重量份的原料:异山梨醇26~43份,1,3‑丙二醇21~37份,二元羧酸5~14份,对苯二酚5~14份,阻聚剂2~8份,阻燃剂2~8份,亚磷酸2~5份,催化剂1~4份,偶联剂0.5~2份;S2、将以上重量份的异山梨醇和二元羧酸在常压、反应温度为100~140℃的条件下进行脱水反应2~5h,然后在压力为1200~1600Pa、反应温度为120~160℃的条件下进行真空缩聚反应2~4h。本发明制备得到的生物基复合材料力学性能稳定,阻燃、耐磨效果好,实现聚合物由半结晶的原料转变为柔软的弹性体,且对环境友好。

标签:
复合材料
吉林 - 长春 来源:中冶有色网 2023-03-18
Keggin型杂多酸或杂多酸盐和碳分子筛的复合材料、其制备方法及应用

本发明提供了一种Keggin型杂多酸或杂多酸盐和碳分子筛的复合材料、其制备方法及应用。在所述复合材料中,Keggin型杂多酸或杂多酸盐分子原位生长于碳分子筛的孔道内部。其中,所述Keggin型杂多酸或杂多酸盐的结构通式为H(Na,K)n[XM12O40],X表示中心杂原子且X=P、Si、Ge、As,M表示配原子且M=Mo、W,n为3或4;所述碳分子筛通过在惰性气体保护下煅烧沸石咪唑酯类配位聚合物ZIF‑8得到。本发明利用直接在惰性气体保护下煅烧沸石咪唑酯类配位聚合物ZIF‑8得到的碳分子筛作为载体而使Keggin型杂多酸或杂多酸盐分子原位生长于碳分子筛的孔道内部,且利用碳分子筛的孔道尺寸还限制了Keggin型杂多酸或杂多酸盐分子在反应过程中的流失。

标签:
复合材料
吉林 - 长春 来源:中冶有色网 2023-03-18
高性能锂离子电池负极Co(OH)2与Co3O4复合材料的制备方法

本发明提供一种锂离子动力电池用负极Co(OH)2复合材料的制备方法,属于电化学能源材料技术领域。本发明采用Co(NO3)2·6H2O溶于乙醇中,加入氨水,将沉淀物离心洗涤后分散在适当溶剂中,将溶液放于反应釜中进行水热反应,自然冷却至室温,沉淀物离心洗涤,干燥后即得到Co(OH)2与Co3O4复合材料。本发明的目的在于克服纳米片之间的堆叠,电极材料与电解液接触不充分等缺点,提供了一种Co(OH)2与Co3O4复合结构。Co3O4纳米颗粒嵌入在片层Co(OH)2上,有效抑制了层与层的堆叠,提高了电解液与电极材料的浸润性,作为锂离子电池负极材料,表现出较好的电化学性能。

标签:
复合材料
吉林 - 长春 来源:中冶有色网 2023-03-18
铁酸铋负载石墨烯复合材料的制备及应用

本发明公开了铁酸铋负载石墨烯复合材料的制备及应用;其制备方法的具体包括以下步骤:将铁酸铋加入至改性石墨烯溶液中超声处理,得到悬浊液;在上述悬浊液中加入碱液,并不断搅拌,加热过程中温度低于37℃;其中改性石墨烯由松萝酸对氧化石墨烯改性制备得到。制备得到的铁酸铋负载石墨烯复合材料具有优良的光催化降解性能,同时降解稳定性高且具有一定的抑菌性,也能促使废水中的pH、COD值以及色度明显降低,其在工业废水与废气中具有较好的应用。

标签:
复合材料
吉林 - 吉林 来源:中冶有色网 2023-03-18
碳量子点和金属有机骨架复合材料的制备方法

本发明涉及一种碳量子点‑金属有机骨架复合材料的制备方法,属于新能源材料领域。其制备特点是以N,N‑二甲基甲酰胺(DMF)为溶剂,依次加入氯化铪,4,4’‑联苯二甲酸,冰醋酸和碳点超声使其完全溶解,最后经过过滤干燥,制得一种碳量子点‑金属有机骨架复合材料。本发明我们基于碳量子点和金属有机骨架构建荧光探针,成功地建立了一种新颖、简单、快速的有机物检测方法。与传统的单发射荧光探针相比具有更高的灵敏度和选择性,具有巨大的应用潜力。

标签:
复合材料
吉林 - 长春 来源:中冶有色网 2023-03-18
硅藻土复合材料及其制备方法

本发明提供了一种硅藻土复合材料的制备方法,包括:S1)将硅酸溶液与硅藻土混合,超声分散后,加入氨水,缩聚反应后,得到混合物;S2)将所述混合物经胶凝、陈化、溶剂交换与表面改性及干燥后,得到硅藻土复合材料。与现有技术相比,本发明利用机械强度较高的硅藻土作为骨架支撑二氧化硅气凝胶基体,硅藻土孔隙被纳米气凝胶填充或覆盖,通过与强度很高且多孔性硅藻土复合,气溶胶在硅藻土表面或孔隙内部转变为凝胶,在硅藻土骨架保护下,二氧化硅气凝胶的强度得到显著提高;同时,利用多孔性纳米二氧化硅气凝胶改性硅藻土,使硅藻土原有开放孔隙结构变为闭孔结构,解决了硅藻土吸水率大和导热系数较高的缺陷。

标签:
复合材料
吉林 - 长春 来源:中冶有色网 2023-03-18
制备立方氮化硼复合材料的方法

本发明涉及一种制备立方氮化硼复合材料的方法,是将立方氮化硼颗粒与合金钎料粉末及粘结剂混合均匀后涂覆在钢基体表面上,通过真空钎焊加热,在钢基体的表面形成一立方氮化硼耐磨复合层,所述的合金钎料由以下成分按重量百分比组成:Ti 5-15,Sn 6-12,Cu余量。本发明方法所制备的立方氮化硼复合层,与钢基体的结合强度较高,可承载更高的工作温度并具有较高的综合机械性能,制造成本低廉。

标签:
复合材料
吉林 - 长春 来源:中冶有色网 2023-03-18
去除水中重金属的生物纳米复合材料

本发明属于水净化技术领域,具体涉及一系列能够高效去除水中重金属元素的以真菌为连续相基体、纳米材料为分散相的生物纳米复合材料。该材料既能够治理工业排放的重金属污水,也能够清除天然水中的重金属元素。本发明通过使分散相和连续相的有机复合,制备出克服其各自弊端、且兼具有二者优点且的生物纳米复合材料,达到高效率、低成本、可回收、无二次污染的去除水中重金属的目的。

标签:
复合材料
吉林 - 长春 来源:中冶有色网 2023-03-18
超声波辅助模压成型纤维复合材料装置

本实用新型涉及一种超声波辅助模压成型纤维复合材料装置,属于机械加工工程领域。本实用新型包括:模具套装,可调整顶杆,超声变幅杆,底座,超声波发生器,注胶口以及温控口;模具套装由至少四个可调顶杆支撑,超声变幅杆与模具套装接触,可调整顶杆与超声变幅杆固定在底座上,超声波发生器安装在底座下方,超声波发生器与超声变幅杆通过导线连接;所述的注胶口和温控口与模具套装连接。本实用新型优点是结构新颖,也可以应用于纤维浸胶的过程中,超声波有促使胶料流动。可以采用较低的温度进行浇注,成形过程中可以降低浇注中出现的孔洞等缺陷,可以通过超声波的形式增加胶与纤维的结合力,提高纤维复合材料的成形质量。

标签:
复合材料
吉林 - 长春 来源:中冶有色网 2023-03-18
COOLMAX复合材料功能袜
COOLMAX复合材料功能袜 1509     
 0

本实用新型涉及一种COOLMAX复合材料功能袜,其特征在于:袜子主体形状为左右脚设计,袜子主体上脚背到脚掌处有一圈双伸缩环结构,袜子主体底部为防滑层,袜子主体的袜筒处有数条加厚毛圈,袜子主体的袜口处双层高弹力纤维结构,袜子主体底部的防滑层和袜筒上的加厚毛圈上开有透气纹;其利用COOLMAX材料与传统纺织原料进行复合,使复合材料兼备天然纺织材料和新型功能材料的优点。

标签:
复合材料
吉林 - 辽源 来源:中冶有色网 2023-03-18
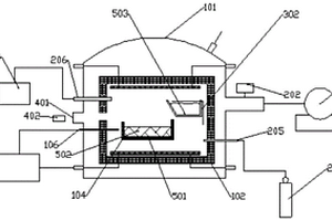
无压浸渗炉和制备颗粒增强铝基复合材料的方法

本发明提供了一种无压浸渗炉,包括密封炉体、保温层、加热元件、热电偶、浇注系统、浸渗坩埚、进排气系统、真空系统、控制系统、观察系统;保温层设置在密封炉体内,围成的空间为工作区;加热元件设置在保温层内,并与控制系统连接;浇注系统包括坩埚架、熔化坩埚、旋转控制机构,浸渗坩埚位于熔化坩埚的浇注口下方;热电偶一端靠近浸渗坩埚,另一端与控制系统连接;进排气系统与密封炉体连接并穿过保温层与工作区连通,真空系统与密封炉体连通;观察系统用于观察浸渗过程和控制浇注操作。本发明还提供了使用无压浸渗炉制备颗粒增强铝基复合材料的方法,可应用于大尺寸颗粒增强铝基复合材料的制备,且可实时观察浸渗过程,便于优化工艺。

标签:
复合材料
吉林 - 长春 来源:中冶有色网 2023-03-18
交联型聚芳醚砜基介电复合材料及其制备方法和用途

本发明公开了一种交联型聚芳醚砜基介电复合材料及其制备方法和用途,所述方法采用了具有良好热学和力学性能且含有活性官能团(烯丙基侧基)的聚芳醚砜作为聚合物的基体材料;同时采用无机纳米陶瓷粒子作为无机纳米填料,并对纳米填料表面进行有机功能化改性,引入苯并环丁烯,形成具有可反应性官能团的具有核壳结构的无机纳米陶瓷粒子,并作为交联点,与具有活化官能团的聚芳醚砜聚合物基体发生交联反应,形成三维网络结构,制备出具有良好耐热性、柔性和高储能密度的交联型聚芳醚砜基介电复合材料。制备得到的聚芳醚砜基介电复合薄膜具备较高的介电常数,较宽的温度适用范围,同时其击穿场强也有明显提升,从而获得高温下较高的储能密度。

标签:
复合材料
吉林 - 长春 来源:中冶有色网 2023-03-18
交联型聚芳醚酮基介电复合材料及其制备方法和用途

本发明公开了一种交联型聚芳醚酮基介电复合材料及其制备方法和用途,所述方法采用了具有良好热学和力学性能且含有活性官能团(烯丙基侧基)的聚芳醚酮作为聚合物的基体材料;同时采用具有高绝缘性的无机陶瓷粒子作为无机填料,并对填料表面进行有机功能化改性,引入苯并环丁烯,形成具有可反应性官能团的具有核壳结构的无机陶瓷粒子,并作为交联点,与具有活化官能团的聚芳醚酮聚合物基体发生交联反应,形成三维网络结构,制备出具有良好耐热性、柔性和耐高电压的交联型聚芳醚酮基介电复合材料。制备得到的聚芳醚酮基介电复合薄膜具备较低的介电损耗,较宽的温度适用范围,同时其击穿场强也有明显提升,从而获得高温下较高的耐高电压性。

标签:
复合材料
吉林 - 长春 来源:中冶有色网 2023-03-18
锂电池用硅镍复合材料及其制备方法

本发明涉及一种锂离子电池用具有高容量的复合材料,其特征在于:该材料主要包含Si、NiO和无形碳,其中Si含量为18~35%,NiO含量为18~25%,无定形碳含量为40~60%;所述NiO来源于镍盐的高温分解,所述无定形碳来源于有机高分子的高温碳化。在传统Si/C材料中添加具有一定电化学活性的NiO材料,来进一步提高材料的充放电放电容量。此外,针对该材料的制备我们采用的是静电纺丝法,通过该方法制备出的Si/NiO/C复合材料具有纤维状结构,Si和NiO均匀地分布在C纤维上,有效地提高了材料的综合电化学性能。

标签:
复合材料
吉林 - 长春 来源:中冶有色网 2023-03-18
纳米多孔炭/磷酸铝复合材料及其制备方法

本发明的一种纳米多孔炭/磷酸铝复合材料及其制备方法属于无机材料技术领域。该材料由纳米多孔炭和磷酸铝构成,其中磷酸铝与纳米多孔炭的质量比为(0~9)∶1;具有石墨相孔壁和纳米孔结构。制备方法是:首先将铝盐和磷酸溶解在水中,制得澄清溶液;然后在溶液中加入有机添加剂,充分搅拌使其溶解,加入氨水或有机胺调节PH值,加热除去挥发物,得到固体产物;将固体产物经预处理和高温炭化得到纳米多孔炭/磷酸铝复合材料。还可以酸洗过滤除去磷酸铝得到纳米多孔炭材料。本发明方法简单易行,制得材料在吸附、催化、电子等领域具有良好的应用前景。

标签:
复合材料
吉林 - 长春 来源:中冶有色网 2023-03-18
二氧化钛-贝壳粉复合材料及其制备方法与应用

本发明公开了一种二氧化钛‑贝壳粉复合材料及其制备方法,包括TiO2和贝壳粉,所述TiO2和贝壳粉的质量比为1:0.5‑2,所述复合材料光催化性能优异,贝壳粉作为二氧化钛的载体,起到了抑制纳米TiO2团聚的作用,且与TiO2光催化纳米材料复合后双管齐下,既能吸附又能分解污染物。同时也为废弃贝壳资源的开发和利用提供新途径,兼具显著的社会、经济和环境效益,所述材料适用于涂料领域。

标签:
复合材料
吉林 - 长春 来源:中冶有色网 2023-03-18
纤维增强仿生复合材料及其制备方法

本发明提供了一种纤维增强仿生复合材料及其制备方法,包括:依次纵向交替设置的第一纤维树脂层和第二纤维树脂层;设置在第一纤维树脂层与第二纤维树脂层之间,与第一纤维树脂层和第二纤维树脂层呈层状连接的弯曲纤维树脂层;与弯曲纤维树脂层垂直交叉连接的交叉纤维树脂层;交叉纤维树脂层由交叉编织的斜纹布组成。本申请纤维增强仿生复合材料由于弯曲纤维树脂层按曲线的形状多层铺排,具有均化应力,防止局部应力过大的作用;交叉纤维树脂层由交叉编织的斜纹布组成,且与弯曲纤维树脂层垂直交叉连接,斜纹布中纤维与斜纹布轴线之间存在预设角度,具有防止弯曲纤维树脂层层间剥离的作用,大大提高了材料的抗扭性能。

标签:
复合材料
吉林 - 长春 来源:中冶有色网 2023-03-18
低成本复合材料大型舱一体成型方法

本发明公开了一种低成本复合材料大型舱一体成型方法,属于复合材料大型舱领域,采用以下方法:大型金属模具制备;模具密封处理;外蒙皮成型,抽真空固化;帽型加强筋成型,抽真空固化;内蒙皮成型,抽真空固化;产品脱模与修整。克服了分段成型后拼接成一体的方式或者传统金属骨架式方舱结构工序复杂,拼接处力学性能薄弱的缺陷,一体成型的舱体气密性、耐久性更好,质量更加轻量化,同时通过硬质聚氨酯泡沫作为填充材料保温性能更好功能性更强,能更好的满足军民两用大型舱的更高性能需求。

标签:
复合材料
吉林 - 长春 来源:中冶有色网 2023-03-18
生物质基纳米二氧化硅/炭复合材料的制备方法

生物质基纳米二氧化硅/炭复合材料的制备方法,属于生物质能源化工领域,本发明是以稻壳为原料,热解制备热解气和热解炭,热解炭经双螺杆粉碎机粉碎,再经碾压揉搓粉碎机碾压揉搓粉碎、纳米二氧化硅磨球粉碎、风选分级、粘合改性、接枝活性官能团制备出生物质基纳米碳/二氧化硅复合材料。本发明通过改变颗粒表面的微观结构,大幅度提高了颗粒在橡胶基底中的分散性和界面相互作用,提高了橡胶的宏观力学性能。

标签:
复合材料
吉林 - 长春 来源:中冶有色网 2023-03-18
长纤维复合材料乘用车后排座椅骨架初始材料设计方法

本发明属于汽车用复合材料研究领域,涉及一种长纤维复合材料乘用车后排座椅骨架初始材料设计方法。包括以下步骤:1、确定乘用车后排座椅抗撞性要求;2、推导LFT平板最小穿透能量表达式;3、研究基于冲击能量要求下LFT平板材料设计方法;4、设计座椅背板骨架初始材料;5、验证初始设计结果有限元和试验;本发明以LFT平板最小穿透能量建立起能量吸收能力与材料参数及试验约束条件参数联系的桥梁,一方面估计LFT平板极限冲击能量,另一方面指导LFT材料初始设计和选择;本发明工程实际意义的应用是假设在确定冲击工况下,从安全系数的角度设定LFT平板需要吸收冲击能量的大致范围,计算得到LFT材料纤维体积分数及对应的平板厚度,实现材料初始设计。

标签:
复合材料
吉林 - 长春 来源:中冶有色网 2023-03-18
钨酸铋-二硫化钼/石墨烯复合材料的制备方法

本发明的一种钨酸铋‑二硫化钼/石墨烯复合材料的制备方法属于催化降解染料的催化剂制备方法的技术领域。首先,将氧化石墨烯与钼酸钠和硫脲分散液混合搅拌均匀,通过210℃条件下水热反应24h制备二硫化钼/石墨烯纳米复合物,然后与钨酸钠和硝酸铋的分散液混合并搅拌均匀,最后通过180℃条件下水热反应10h,离心分离,干燥,即得钨酸铋‑二硫化钼/石墨烯光催化剂。本发明制备过程简单方便,未引入贵金属成本低,且原材料无毒环境友好,制得的复合材料在可见光的条件下对染料降解具有较强的降解能力,光催化效率相比以往的材料具有明显的提高。

标签:
复合材料
吉林 - 长春 来源:中冶有色网 2023-03-18
上一页 23 24 25 26 27 ... 62 下一页
共62页    到第

中冶有色为您提供最新的吉林有色金属复合材料技术理论与应用信息,涵盖发明专利、权利要求、说明书、技术领域、背景技术、实用新型内容及具体实施方式等有色技术内容。打造最具专业性的有色金属技术理论与应用平台!

全国热门有色金属设备推荐
展开更多 +
全国热门有色金属技术推荐
展开更多 +

 

江西省隆恩特环保设备有限公司
宣传

报名参会
更多+

报告下载

有色专家
更多+

郑州大学
副院长/教授
赣州有色冶金研究所有限公司
副主任/高级工程师
中国有色金属工业协会
副会长兼秘书长
重庆理工大学
教授
中南大学、中国工程院
院士
赤泥综合利用研究报告2025
推广

热门技术
更多+

推荐企业
更多+

福建省金龙稀土股份有限公司
宣传

发布

在线客服

公众号

电话

顶部
咨询电话:
010-88793500-807