青岛垚鑫智能科技有限公司
宣传

位置:中冶有色 >

有色技术频道 >

分类:
全部
矿山技术
冶金技术
材料制备及加工技术
环境保护技术
分析检测技术
 
全部
废水处理技术
大气治理技术
固/危废处置技术
土壤修复技术
地区:
全部
北京
天津
上海
重庆
河北
山西
辽宁
吉林
黑龙江
江苏
浙江
安徽
福建
江西
山东
河南
湖北
湖南
广东
海南
四川
贵州
云南
陕西
甘肃
青海
内蒙
广西
西藏
宁夏
新疆
其他
其他
展开
 
全部

有色金属环境保护技术理论与应用

免费发布技术信息>>
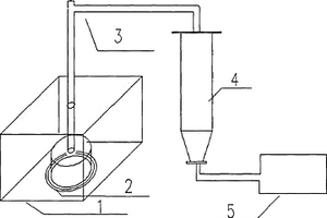
具有环形喷动流化床的设备及其操作方法

本发明涉及一种具有环形喷动流化床的设备及其操作方法。根据本发明,该设备可用于执行在流化床设备中进行的大多数技术过程,尤其是用于净化气体混合物、干燥材料、热解、气化和燃烧固体燃料,例如工业废料、农业废料、城市固体废弃物、煤炭、污水污泥以及好氧和厌氧消化反应器废料,还用于进行在流化床中进行的其他化学反应。具有旋转的环形喷动流化床的设备的反应室在其高度的至少一部分上具有向下倾斜的漏斗形状,其具有台阶状结构的内表面。反应室的形状以及流化气体和其他气体的切向进入可以在反应室中创建可调节的环形流化床,在其中可以在水平和竖直平面上对要处理的材料颗粒的旋转速度进行调节,并且还可以控制反应区域中不同大小的颗粒的停留时间、材料的处理强度以及其他工艺参数。

标签:
固废
其他 - 其他 来源:中冶有色网 2023-03-19
超细氧化锌粉体的制备方法

本发明公开了一种超细氧化锌粉体的制备方法,以粗颗粒氧化锌或金属锌为原料,通过有机酸溶解生成有机酸锌盐溶液,加入草酸生成草酸锌沉淀。过滤得到草酸锌固体和有机酸,有机酸套用作为下批次溶解粗颗粒氧化锌或金属锌的原料,草酸锌经煅烧得到颗粒均匀的氧化锌粉体。本发明方法制备过程无废液、废固排放,得到的氧化锌粉体粒子平均粒径在30-200nm范围内可以通过原料配比调节。

标签:
固废
江苏 - 南京 来源:中冶有色网 2023-03-19
光合成过氧化氢用碳氮催化剂及其制备方法

本发明公开了一种光合成过氧化氢用碳氮催化剂及其制备方法,该催化剂的制备方法为:将含碳、氮的有机物粉末在空气或惰性气氛下焙烧得到C3N4固体粉末;再将C3N4研磨后与糖溶液混合,于水热反应釜中进行碳化反应,得到无定形碳修饰的C3N4;然后在惰性气氛下焙烧,得到碳氮催化剂(CxNy)。本发明所采用的原料来源丰富、无毒,具有绿色、可持续、成本低的特点,适合规模化生产。该催化剂用于以水、氧气和少量醇为原料、利用太阳光作为能源供体生产H2O2,整个过程不使用任何有毒试剂、有毒溶剂、无废物、废水排放,反应条件温和,绿色环保。

标签:
固废
北京 - 北京 来源:中冶有色网 2023-03-19
左旋甲基多巴中间体的回收方法及应用

本发明公开了一种左旋甲基多巴中间体的回收方法及应用,回收方法包括将L?3?(3, 4?二甲氧基苯基)?2?氨基?2?甲基丙腈盐酸盐利用盐酸水解,过滤,得到L?3?(3, 4?二甲氧基苯基)?2?甲基丙氨酸盐酸盐和母液,向母液中加入卤盐或者铵盐,真空蒸馏,浓缩至原体积的1/3以下,过滤,滤饼为回收的3?(3, 4?二甲氧基苯基)?2?甲基丙氨酸盐酸盐固体。本发明不但能够从3?(3, 4?二甲氧基苯基)?2?甲基丙氨酸盐酸盐生产废液中回收得到左旋甲基多巴,而且还能降低废水中的氨氮及COD,符合绿色化学的理念。

标签:
固废
浙江 - 金华 来源:中冶有色网 2023-03-19
垃圾连续焚烧炉内消烟除尘毒气分解及灰渣利用方法

垃圾无害化处理及灰渣利用是将垃圾入炉连续 焚烧。技术特征是强化通风, 暗火煅烧。炉内消烟、除尘是(湿 式法)通过一定厚度湿料层吸附。毒气分解炉温保持1000℃以 上。废气再经炉外化学处理达标排放, 无二次污染。灰渣全部用 于建材, 是在垃圾焚烧事先经科学配比, 使灰渣中含一定量的硅, 铝酸盐水硬性物质。本方法既彻底消灭污染源, 又增加社会财富, 设备投资省, 上马快, 增收节支效益好, 具有普遍推广意义。垃圾 包括生活垃圾, 工业废渣, 固体废弃物, 屠宰场、养殖场污染物, 动物尸体残骸, 医院、车站、码头等各种固体废弃物。

标签:
固废
浙江 - 台州 来源:中冶有色网 2023-03-19
多核无机混凝剂的制备方法

本发明涉及一种用于处理油田废水的多核无机混凝剂的制备方法。它解除油田废水污染环境,保护农田。其技术方案是:先在反应容器中加入水,再加入Al2(SO4)3固体,搅拌使其溶解;再向其中加入MgO,搅拌溶解,混合均匀;最后加入NaOH固体,充分搅拌,待硫酸铝和氧化镁强烈水解后,制得本多核无机混凝剂产品。本制备方法制得的多核无机混凝剂用于处理钻井废液、压裂液返排液、滑溜水,测其COD、色度、SS、重金属离子,去除率达80%以上,去除效果均好;与单一的Al2(SO4)3或MgO、或两者混合对比处理废水,去除率均高于单一的或混合的效果。本制备方法形成铝盐多羟基络合物、高分子聚合物和氢氧化镁,去除效率更好。

标签:
固废
四川 - 成都 来源:中冶有色网 2023-03-19
聚合双酸铝及其制造方法

一种聚合双酸铝及其制造方法,涉及一种无机絮凝剂即水处理药剂。本聚合双酸铝所用的原材料主要为盐酸、硫酸、软质高岭土及轻质碳酸钙;制造方法:将软质高岭土煅烧后,加入盐酸和硫酸酸浸;酸浸后过滤;在滤液中加入轻质碳酸钙进行聚合;二次过滤后即制得本聚合双酸铝液体。液体产品经烘干后可得固体产品。第一次过滤的滤渣再用硫酸进行酸溶,并加入催化剂反应,过滤后烘干,可以得到白炭黑,滤液可重复用于酸浸反应。第二次过滤的滤渣主要成份为硫酸钙。本发明使用我国广泛分布的高岭土和碳酸钙做原料,而且将原产品单一使用盐酸改为使用盐酸和硫酸的混合酸,降低了产品的成本。反应废渣还可以用来生产白炭黑,因而整个生产过程中都没有废物排出。

标签:
固废
内蒙 - 呼和浩特 来源:中冶有色网 2023-03-19
生活垃圾清洁化处理技术

本发明属固体废弃物处理及资源化综合利用领 域,本发明公开了生活垃圾清洁化处理技术,生活垃圾暂存时, 采用除臭剂和微波灭菌相结合的方法杀菌除臭,渗滤液循环处 理。分选出的有机物进行高温高压降解处理,杀灭全部微生物, 制造出供综合利用的清洁化原料。分选出的塑料同竹木及无机 物制成燃料块,供燃气发生炉进行气化处理,提供清洁能源。 所产生的飞灰,经稳定化处理后,同炉渣一起制建筑材料。烟 气脱硫后循环利用。清洗废水,生活污水经磁强化曝气生物滤 池和磁强化化学絮凝滤池联合处理后,水再生循环回用;污泥 回收利用。整个处理厂为清洁化处理;不外排污染物。

标签:
固废
上海 - 上海 来源:中冶有色网 2023-03-19
利用生物质配制调湿墙体材料

本发明是涉及一种利用生物质配制调湿墙体材料;本发明的原料配比以重量百分比计是农作物废弃物15%~50%,多孔添加剂10%~25%,水泥40%~65%。农作物废弃物为稻壳、壳稻秆、玉米秆、谷壳、麦秆等;多孔添加剂为海泡石,硅藻土,天然沸石等多孔矿物质等;将生物质、添加剂和水泥按比例混合,加入水,水的比例控制在与固体质量比在2~3之间,然后参照普通墙体材料的制备过程进行搅拌、成型,利用产品的水化热进行常温养护;通过对该墙体材料的测试,当空间湿度大时调湿墙体材料可以吸收水分,降低空间湿度;而当空间干燥时调湿墙体材料可逐渐放出吸附水,达到调节湿度的作用,提供更加舒适的生活和工作环境。

标签:
固废
天津 - 天津 来源:中冶有色网 2023-03-19
人造土壤技术
人造土壤技术 900     
 0

本发明涉及一种用于农业、种植业的人工土壤制造技术。该技术乃是利用岩石、工矿及建筑业产生的固体废弃物、各种有机物为原料,经过分选、粉碎、研磨并按一定比例混合后发酵制成造土堆肥,然后将造土堆肥与无机原料粉(即造土母质)按一定比例混合制成具有一定蓄水、蓄热、透气、肥力、达到植物生长所需基本条件的人造土壤。该技术易于实施,且可工业化大规模生产,利用它可以将发展农业经济与治理工矿废弃物、江河湖海污染、处理城市生活垃圾和环境保护结合、协调起来,形成良性循环,尤其对贫瘠山区、沙化地区、海岛等土壤缺乏地区的开发更具重要意义,宜于推广应用。

标签:
固废
辽宁 - 盘锦 来源:中冶有色网 2023-03-19
白色砌筑水泥及其生产方法

本发明提供一种白色砌筑水泥及其生产方法,本发明的白色砌筑水泥是由白色高炉矿渣微粉:15~40%;石灰石粉:30~70%;白水泥:10~40%组成。本发明的方法是将上述原料分别粉磨之后,按上述比例混合均匀。本发明利用现有的钢铁厂固体废弃物白色高炉矿渣微粉的优异性能,生产优质白色砌筑水泥,本方法具有环保利废、节能、降低成本的效果。

标签:
固废
上海 - 上海 来源:中冶有色网 2023-03-19
农用硫酸镁肥及其制备方法和专用混合反应器

本发明公开了一种农用硫酸镁肥(MgSO4·nH2O混合物,以下简称硫酸镁肥) 及其制备方法和专用混合反应器,其中制备工艺包括如下步骤:氧化镁矿粉经 镁矿粉进口管(1)被连续加入混合反应器一,同时从水进口支管(21)和硫酸 进口支管(22)分别加入水和浓硫酸,所述水和浓硫酸在水酸混合入口主管(2) 汇合流入所述混合反应器一与所述氧化镁矿粉进行混合反应形成混合料浆,混 合反应过程的反应温度被控制在121℃~155℃之间;反应后的混合料浆被送入 回转化成室内进一步反应熟化,并利用所述混合料浆自身的反应热烘烤蒸发出 物料中的水分使之干燥固化。本发明农用硫酸镁肥的制备方法简单、生产效率 高、机械化程度高、且无废水和固体废物排放、污染小。

标签:
固废
广东 - 深圳 来源:中冶有色网 2023-03-19
城市生活垃圾处理装置及处理方法

本发明公开了一种城市生活垃圾处理装置及处理方法,该装置包括发酵池(1)及盖板(2)、喷淋系统、气体管理系统,发酵池(1)内部设置有沥水孔洞的隔板(3)。该处理方法预分拣、发酵、降温冷却、提炼制成固体燃料等工艺步骤。将经过分拣后的垃圾放入发酵池(1)内,垃圾在池中停留若干天时间,在此过程中,有机垃圾分解产生的热量能灭菌、干燥垃圾,使处理后的垃圾含水率低于15%,这种干燥的垃圾能提炼出固体燃料,可出售给发电厂和水泥厂,或通过热能转换系统变为电能、热能。配备的独特的气体管理系统,能自动调节发酵池内的温度和含氧率,配备的废气和废水处理系统,使整个生产期内无废水排除,废气排放量少且能达到国家规定的排放标准。

标签:
固废
江苏 - 常州 来源:中冶有色网 2023-03-19
过氧化氢酶分离提取的清洁生产工艺

本发明属生物活性物质的分离提取技术领域。具体涉及一种过氧化氢酶分离提取的清洁生产工艺。它提供了一种环境友好型的过氧化氢酶分离提取工艺,可在不影响过氧化氢酶的得率和品质的前提下,实现过氧化氢酶加工生产过程的废渣废水零排放,彻底根除现行过氧化氢酶加工生产工艺的环境污染问题。本工艺适用于以经过自溶处理的猪、牛、羊、鸡、鸭、鹅、鱼类等各种动物的肝脏为原料的过氧化氢酶的加工生产,也适用于以微生物经发酵培养所得到的含有过氧化氢酶的发酵液为原料的过氧化氢酶加工生产。按照本发明进行操作,以猪肝为例,每加工1KG猪肝能够获得50,000U/ML的过氧化氢酶液2KG,水的耗用量降低至2.2KG以下,同时获得蛋白含量高达60%以上的固体230G。

标签:
固废
江苏 - 无锡 来源:中冶有色网 2023-03-19
改性硫酸钙晶须造纸填料的制备方法

本发明公开了一种改性硫酸钙晶须造纸填料的制备方法,其特征在于:包括如下步骤:(1)晶须煅烧;(2)有机溶解抑制改性;(3)干燥;(4)研磨解絮。本发明方法利用的硫酸钙晶须原料来源广、条件宽,可以有效解决多种工业石膏废渣或金属废渣带来的固体污染;制得的改性硫酸钙晶须填料具有白度高、磨耗低、留住率高等特性,能够有效替代目前的碳酸钙填料或植物纤维;同时制得的改性硫酸钙晶须填料溶解度得到有效控制,且在抄纸水性浆料中易分散,解决了硫酸钙晶须存在的水溶性高,用作造纸填料时留着率低、白水垃圾离子含量高、管道易结垢等难题,拓展了晶须应用领域,提高了晶须附加值。

标签:
固废
湖南 - 长沙 来源:中冶有色网 2023-03-19
耐用且无需燃烧的煤灰砖块制造方法

本发明涉及制造耐用且无需燃烧的煤灰砖块、石块、空心砖以及其他建筑产品。通过使用本发明中的特定方法,可将煤灰制成耐用砖块和其他产品,而不必在高温下加热砖窑内的毛坯产品,从而减少了传统粘土砖制造中所需的能耗与成本。用来制造砖块和其他建筑产品的煤灰,通常是作为固体废弃物来处理掉的,因而降低了燃煤发电厂所产生的废弃物。而且,往后采用这种无需燃烧(无烧结)的煤灰产品会减少烧结粘土产品的使用,这些粘土产品需要使用矿物燃料对砖窑内物品进行加热,从而产生空气污染和二氧化碳,而后者更会导致温室效应和全球变暖。

标签:
固废
其他 - 其他 来源:中冶有色网 2023-03-19
利用冶金脱硫渣无害化处理六价铬离子的方法

本发明公开了利用冶金脱硫渣无害化处理六价铬离子的方法,所述方法以低成本的冶金固体废弃物为原料,并采用兰炭对冶金脱硫渣进行改性,改性后的冶金脱硫渣具有多孔结构的硅酸钙和钙铝硅酸盐。与现有技术相比,本发明具有以下优点:(1)本发明所述方法采用改性后的冶金脱硫渣对六价铬离子的吸附率最高可达86.7%;(2)所述方法不但解决了六价铬离子对环境的污染问题,同时大大提高了钢铁企业冶金固体废弃物的综合回收利用率,体现了“以废治废”的新环境治理理念;(3)所述方法几乎不受温度影响,在任何季节的室温条件下均可达到良好的吸附效率。

标签:
固废
江苏 - 镇江 来源:中冶有色网 2023-03-19
发酵液回用处理工艺
发酵液回用处理工艺 907     
 0

本发明涉及发酵液回收处理技术领域,公开了一种发酵液回用处理工艺,包括如下步骤:(1)升温处理,将发酵后的废液通过离心泵导入换热器中进行升温加工得到高温废液A;(2)固液分离处理,将高温废液A通过离心泵导入固液离心机进行固液分离处理取出固体物质,将离心后的上清液经离心泵打入过滤器出去所有不溶性固体物质,得到澄清溶液B;(3)脱碳处理,将澄清容器导入吸附除碳器中脱出可溶性代谢产物,并且经过高温消杀处理够得到发酵液。本发明适用于一种发酵液回用处理工艺,经过本专利工艺处理后的发酵液可以直接回用到发酵系统循环利用,从而达到环保、节能、降耗的目的,及节约了废水处理费用而且减少了重新配置无机盐的费用。

标签:
固废
宁夏 - 银川 来源:中冶有色网 2023-03-19
妇产科护理换药架
妇产科护理换药架 943     
 0

本发明公开了一种妇产科护理换药架,包括换药架本体,换药架本体由横向支撑板分割成两部分,靠近换药架本体的底端的一部分设置为冷藏室,冷藏室内设有制冷器;另一部分从左到右依次设置有消毒液室、液体废弃物容置室和固体废弃物容置室,换药架本体的顶部设有支撑腿,支撑腿上设有置物架,置物架内可拆卸地设有多个相互垂直相交设置的横板和竖板。如此设置,将液体废弃物和固体废弃物分开收集,需要更换的新的药物、与污物分开,避免交叉感染,通过消毒液室对污物进行初次消毒处理,避免造成大量污染,置物架的储物格可对药物进行分类,避免混淆,还可对一些药品进行冷藏,从而解决了换药架功能单一、使用不便、易造成大量感染的问题。

标签:
固废
山东 - 潍坊 来源:中冶有色网 2023-03-19
用于从空气中分离甲醛的吸附剂及其制备方法

本发明提供一种用于从空气中分离甲醛的吸附剂及其制备方法,该吸附剂以拜耳法冶铝工艺所产生的赤泥做前体物,经过化学改性及高温焙烧后得到的,该吸附剂为红色颗粒物,该吸附剂的内部微观孔径分布范围为0.9~2.7nm,外观尺寸大小为0.45~0.9mm,有利于对空气中微量甲醛的捕捉去除。本发明提出的用于从空气中分离甲醛的吸附剂与现有甲醛吸附和催化净化材料相比,在高空速下,能高效吸附分离气相低浓度甲醛,而且吸附容量大,使用寿命长,且其使用的原材料来源于铝工业炼铝过程中产生的固体废渣赤泥,来源广泛,价格低廉,制成吸附剂后能够达到以废治害的目的,有利于实现清洁生产。

标签:
固废
北京 - 北京 来源:中冶有色网 2023-03-19
薯蓣属原料的汽爆初级炼制多联产的方法

本发明公开了一种薯蓣属原料的汽爆初级炼制多联产的方法,整个生产过程无需使用强酸、强碱,也无废水产生,是一个节水、节能、环保及组分全利用的方法。将粗碎后的黄姜、穿山龙、黄山药等薯蓣属原料进行低压汽爆预处理后加入糖化酶、纤维素酶、营养盐以及发酵微生物进行固态发酵,发酵后的剩余物二次汽爆处理后直接提取薯蓣皂素。短时间的汽爆预处理替代了淀粉高能耗的糊化,固态发酵方式提高了产物浓度,降低了蒸馏的能耗,减少了后续废水的处理过程;在得到皂素的同时,原料中淀粉、纤维素组分固态发酵得到乙醇、乳酸、丁醇等,而提取皂素后的固体渣可作为生产肥料或活性炭的原料使用。

标签:
固废
北京 - 北京 来源:中冶有色网 2023-03-19
等离子焚烧处理有机卤化物的方法及工业装置

一种等离子焚烧处理有机卤化物的方法及工业 装置。包括等离子引弧、有机卤化物预热气(雾)化、裂解氧化、 中和急冷等步骤, 有机卤化物最终全部转变为CO2、卤化氢及少量CO, 没有有毒物质和固体颗粒碳产生。其反应条件详见说明书。本发明工艺可靠, 反应彻底, 工作效率高, 是理想的环保节能方法及装置。本发明特别适用于氟氯烃、含卤高沸残液、多氯联苯等含卤有机废气、废液的处理。

标签:
固废
浙江 - 衢州 来源:中冶有色网 2023-03-19
粉煤灰基地质聚合物稻壳保温砂浆

本发明提供了一种粉煤灰基地质聚合物稻壳保温砂浆,包括重量比为5:1~2的干粉混合物和水,所述干粉混合物按质量份数计包括:稻壳粉20~40份、粉煤灰36~48份、硅灰15~20份、固体硅酸钠6~8份、工业纯氢氧化钠3~4份和三聚磷酸钠0.24~0.32份。使用时将干粉混合物加水拌制成施工要求的稠度即可进行抹面施工。本保温砂浆容重轻,保温性能好,导热系数为0.08~0.18W/m·K,抗压强度较高。本保温砂浆充分利用大米加工产生的废料稻壳粉、火力发电站固体废弃物粉煤灰,不仅变废为宝,实现了废物利用,并且充分发挥了稻壳粉本身特点,做到物尽其用,极大程度提升了墙体保温性能。生产成本低,且对人体无害,不污染环境,具有节能环保的特点。

标签:
固废
浙江 - 温州 来源:中冶有色网 2023-03-19
从含砷尾矿砂中快速脱砷的绿色冶炼方法

本发明涉及一种微波加热含砷尾矿砂收集砷或砷化物的方法。其具体步骤为:将尾矿砂放入密闭耐高温非金属容器,置于微波炉腔中,按序分别开启回收系统、冷凝系统和微波发生器、当尾矿砂温度在360±130℃出现稳定值后再次升温时,关闭微波发生器,至温度降至90℃以下,关闭冷凝系统和回收系统,收集砷或砷化物。本发明的优点在于实现了无二次污染且快速脱砷操作,本方法对现有的尾矿砂除砷进行显著的改进,相比现有的高温燃料加热式尾矿砂除砷方法或强酸强碱加热加压等湿法除砷方法,本方法除砷时间大幅缩短几十至几百倍)、没有砷等二次污染物产生、脱出的砷化物被收集后成为有用的产品,残留的尾矿砂被脱砷毒后成为无砷污染的可利用的材料,有效的将含砷固体废弃物变废为宝。

标签:
固废
广东 - 广州 来源:中冶有色网 2023-03-19
农用硫酸镁肥及其制备方法

本发明公开了一种农用硫酸镁肥及其制备方法,其中制备方法包括如下步骤:(1)将氧化镁矿粉和水在调浆器内搅拌均匀调制成氧化镁浆;(2)将调好的氧化镁浆送入混合反应器中与连续加入该混合反应器的硫酸进行混合反应,调节硫酸的加入量使得该混合反应器出口处的混合料浆的反应温度被控制在121℃~155℃之间;(3)将反应后的混合料浆送入回转化成室内进一步反应熟化,并利用混合料浆自身的反应热烘烤蒸发出物料中的水分使之干燥固化;(4)将熟化好的混合物料经整形包装后即成农用硫酸镁肥成品。本发明农用硫酸镁肥的制备方法生产效率高、机械化程度高、且无废水和固体废物排放、污染小。

标签:
固废
广东 - 深圳 来源:中冶有色网 2023-03-19
变温吸附方法
变温吸附方法 766     
 0

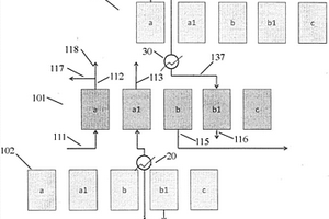
一种用于从气态混合物(111)中除去目标组分的变温吸附(TSA)方法,所述方法在多个反应器(101、102、103)中进行,其中每个反应器(101)执行以下步骤:吸附步骤(a),其中使所述气态混合物的输入流(111)与针对所述目标组分选择的固体吸附剂接触,以产生贫化目标组分的第一废物流(112);加热步骤(b),用于使负载的吸附剂再生,以产生含有目标组分的第一输出流(115);冷却再生的吸附剂的冷却步骤(c);所述TSA方法还包括:i)在所述冷却步骤(c)之前的预冷却步骤(b1),其中使再生的吸附剂与由另一个反应器(103)的吸附步骤(a)产生的废物流(137)接触并产生目标组分的第二输出流(116);ii)在所述吸附步骤(a)之后且在所述加热步骤(b)之前的预加热步骤(a1),其中使负载的吸附剂与由另一个反应器(102)的预冷却步骤产生的冲洗流(126)接触。

标签:
固废
其他 - 其他 来源:中冶有色网 2023-03-19
吸附材料及其制备方法和应用

本发明涉及废水治理技术领域,具体而言,涉及一种吸附材料及其制备方法和应用,主要由固体催化剂经过碱和镧离子改性得到;所述固体催化剂主要成分包括:SiO2、Al2O3和Fe3O4。所述吸附材料的原材料为费托合成废催化剂,改性后可作为吸附剂再利用于废水处理,吸附成本低,能够有效吸附煤化工废水中的氟离子。

标签:
固废
北京 - 北京 来源:中冶有色网 2023-03-19
等离子体物理矿石分选处理方法及其系统

本发明公开了一种等离子体物理矿石分选处理方法,采用等离子体物理方法,利用矿石各组分电性差异及电子吸附能力差异,对矿石中金属化合物、金属化合物簇集体、电性特征差异较大非金属矿物成分、矿石胶质部分等进行物理分选处理。综合考虑矿物形成过程、矿物组合、矿石胶结物及矿石空隙结构等因素,分选处理过程包括预处理、激发等离子体状态、等离子体分选等步骤。该方法安全卫生,无废液、固体废弃物、污染气体产生,分选效率较高。本发明还公开了一种等离子体物理矿石分选系统,包括预处理子系统、激发等离子体状态子系统、等离子体分选子系统、出仓装置等装置。该系统结构简单,安全卫生,无废液、固体废弃物、污染气体产生,分选效率高。

标签:
固废
广东 - 深圳 来源:中冶有色网 2023-03-19
载能复合气体介质烧结的协同减排方法

本发明公开了一种载能复合气体烧结协同减排的方法,将烧结料面从烧结机的机头到机尾依次分成点火段、保温段、中间段、烟气升温段和机尾段,根据不同区段烟气组成和温度特征以及热量需求,在点火段导入热废气进行点火,在保温段导入热废气并同步梯级喷加富氢燃气,中间段在喷加富氢燃气的基础上耦合梯级喷加水蒸汽,将机尾段高温烟气与点火段和/或保温段的烟气循环至升温段。采用载能复合气体烧结协同减排的方法后,能够同步实现烧结过程固体化石燃料更大程度降耗和抑制污染物生成/分解生成污染物,相对常规空气烧结,可实现减排CO215~25%、CO40~50%、NOX20~40%、SOX5~20%、二噁英50~80%。

标签:
固废
湖南 - 长沙 来源:中冶有色网 2023-03-19
高纯度氰尿酸的环境良好清洁生产工艺

本发明提供一种高纯度氰尿酸的环境良好清洁生产工艺,将尿素和复合催化剂混合,于温度120~270℃,压力‑0.01~‑0.2Mpa的条件下进行反应得氰尿酸粗品;所述复合催化剂为氯化铵、硝酸铵、硝酸钠和硝酸钾组成的混合物;将得到的氰尿酸粗品经粉碎后与硫酸水溶液混合,于60‑170℃进行反应,过滤得氰尿酸固体;所得氰尿酸固体经水洗、离心、干燥得精品氰尿酸。本发明制备步骤简单,生产过程中无有害气体和废液的排放,并且能够实现废液、废气和废热的再利用,提高了能源利用率;所获得的氰尿酸粗品本身含量高,使得目标产物收率和纯度较高;粗品氰尿酸后处理精制方法简单,节约成本,利于氰尿酸的工业化生产。

标签:
固废
山东 - 德州 来源:中冶有色网 2023-03-19
上一页 1997 1998 1999 2000 2001 ... 5000 ... 5981 下一页
共5981页    到第

中冶有色为您提供最新的有色金属环境保护技术理论与应用信息,涵盖发明专利、权利要求、说明书、技术领域、背景技术、实用新型内容及具体实施方式等有色技术内容。打造最具专业性的有色金属技术理论与应用平台!

全国热门有色金属设备推荐
展开更多 +
全国热门有色金属技术推荐
展开更多 +

 

江西省隆恩特环保设备有限公司
宣传

报名参会
更多+

2025年10月15日 ~ 17日
2025年10月17日 ~ 19日
2025年10月31日 ~ 11月02日
2025年11月07日 ~ 09日

报告下载

有色专家
更多+

长春黄金研究院有限公司
总经理
昆明理工大学
校长
中国矿业大学
副院长/教授
矿冶科技集团
中国工程院院士
中铝检测科技(郑州)有限公司/国家轻金属质量检验检测中心
正高级工程师
赤泥综合利用研究报告2025
推广

热门技术
更多+

推荐企业
更多+

福建省金龙稀土股份有限公司
宣传

发布

在线客服

公众号

电话

顶部
咨询电话:
010-88793500-807