青岛垚鑫智能科技有限公司
宣传

位置:中冶有色 >

有色技术频道 >

分类:
全部
矿山技术
冶金技术
材料制备及加工技术
环境保护技术
分析检测技术
 
全部
废水处理技术
大气治理技术
固/危废处置技术
土壤修复技术
地区:
全部
北京
天津
上海
重庆
河北
山西
辽宁
吉林
黑龙江
江苏
浙江
安徽
福建
江西
山东
河南
湖北
湖南
广东
海南
四川
贵州
云南
陕西
甘肃
青海
内蒙
广西
西藏
宁夏
新疆
其他
其他
展开
 
全部

有色金属环境保护技术理论与应用

免费发布技术信息>>
利用垃圾焚烧飞灰为原料的陶粒及其制备方法

本发明公开了一种利用垃圾焚烧飞灰为原料的陶粒及其制备方法,其原料组成及重量百分比含量为:飞灰20%~80%,其余为粘土;经配料、造粒、高温煅烧制成陶粒产品;所述高温煅烧的烧结温度为1000℃~1400℃。本发明将危险废弃物——垃圾焚烧飞灰作为陶粒原料再生利用,实现了对固体废弃物飞灰无害化、资源化处理,避免了二次污染,减少了资源浪费,既可安全处置垃圾焚烧飞灰,又经济、可行地利用城市垃圾焚烧飞灰制备陶粒产品,也减少了陶粒工业对天然原料的需求量。

标签:
固废
天津 - 天津 来源:中冶有色网 2023-03-19
利用剩余污泥生产生物絮凝剂的工艺

一种利用剩余污泥生产生物絮凝剂的工艺,属于环境工程中的大宗固体废物处理处置技术领域。其特征是通过投加碱性药剂,使剩余污泥中有机体细胞水解破碎,释放絮凝活性的物质(如蛋白质、多糖等),得到的水解胶体混合液具有絮凝活性,可以作为生物絮凝剂应用到污水处理系统中。将水解胶体混合液进行不同的后处理,可以得到不同种类的生物絮凝剂。将剩余污泥视为一种资源加以有效利用,与其他剩余活性污泥资源化利用途径相比,具有较高的资源化利用附加值。生产的生物絮凝剂对废水的除浊、去除毒性有机物和毒性无机物等具有良好的絮凝效果,可以应用到不同污水处理系统中。

标签:
固废
辽宁 - 大连 来源:中冶有色网 2023-03-19
聚合氯化铝与二甲基二烯丙基氯化铵聚合物复合混凝剂及其制造方法与应用

本发明提供一种聚合氯化铝与二甲基二烯丙基氯化铵聚合物复合混凝剂的制备方法,包括下列步骤:先将聚合氯化铝固体溶解形成PAC溶液或直接采用PAC溶液,然后在搅拌及加热的条件下在PAC溶液中加入二甲基二烯丙基氯化铵聚合物溶液,熟化直至获得稳定的均相溶液;由本方法制备的复合混凝剂广泛适用于各行业的工业废水及生活污水的混凝处理过程中,如可适用于工矿企业、酒楼食肆、生活小区、部队营房和工厂医院等污水或废水的混凝处理;本发明相对于现有混凝剂具有制造工艺简单、易于实现工业化生产、处理效率高、去除速度快、使用成本低的优点,应用范围广,经济效益好。

标签:
固废
广东 - 广州 来源:中冶有色网 2023-03-19
轻质泡沫陶瓷材料及其制备方法

一种轻质泡沫陶瓷材料及其制备方法,其特征在于:按以下质量百分比称取粉煤灰20%‑70%,废陶瓷10%‑60%,高岭土10%‑40%,硅酸钠1%‑20%,聚氨酯泡沫球颗粒3%‑35%,余量水;将称取的废陶瓷破碎后,球磨,过100目筛,然后与粉煤灰、高岭土、硅酸钠和水球磨混合后,加入聚氨酯泡沫球搅拌均匀,成型干燥后,置于高温电炉内,升温1‑3 小时至400 摄氏度,再升温2‑5 小时升至800‑1000摄氏度,然后升温1‑3 小时升至1050‑1200摄氏度,保持温度10‑60分钟,自然降至室温,出窑,即得。本发明充分利用了两种工业固体废渣进行泡沫陶瓷材料的制备,固体废渣总引入量达70~80%。

标签:
固废
河北 - 唐山 来源:中冶有色网 2023-03-19
卧式放射性碘-131蒸馏装置

本发明提供了一种卧式放射性碘-131蒸馏装置,所述的蒸馏装置包括台架、蒸馏器、碘捕集器、真空泵、升降台、控制器。所述的蒸馏器置于台架上并与台架固定连接,所述蒸馏器、碘捕集器、真空泵通过管路依次连接,升降台置于蒸馏器的下方,控制器与蒸馏器、真空泵、升降台分别电连接。本发明的装置能够熔化反应堆辐照活化的TeO2并在其缓慢流动过程中将放射性碘-131高效蒸出,并将蒸馏残渣自动收集到废料瓶中。本发明的装置结构紧凑,放射性固体废物产量较小,能够在不停机条件下连续加料,适用于有效操作空间较小的屏蔽工作箱内的Na131I大批量干馏生产,操作的稳定性和安全性好。

标签:
固废
四川 - 绵阳 来源:中冶有色网 2023-03-19
具有分解蛋白质性能的棒状杆菌、生产方法及其应用

本发明公开了一种具有分解蛋白质性能的棒状杆菌,为棒状杆菌(Corynebacterium sp.)SPH6 CGMCC No.12827,所述菌株SPH6的核苷酸序列为SEQ ID NO : 1所示。所述棒状杆菌(Corynebacterium sp.)SPH6是从污泥中取样,经驯化、分离及纯化制得。所述的具有分解蛋白质性能的棒状杆菌(Corynebacterium sp.)SPH6用于在碱性条件下进行蛋白质的分解,还可用于分解废水或废物中的蛋白质,可以在缺厌氧条件下同时实现蛋白质的有效去除和固体减量,且成本低,效率稳定。

标签:
固废
四川 - 成都 来源:中冶有色网 2023-03-19
从粉煤灰和煤矸石中提取镓的生产工艺

本发明公开了一种从粉煤灰和煤矸石中提取镓的生产工艺,该工艺基于对煤系固体废弃物中氧化铝、硅胶提取的基础上,进一步深度利用工艺中产出的废液,进行镓的回收。本发明采取中温煅烧、水浸、碳分、上柱吸附、洗脱等工艺环节之后,获得氯化镓,解决了现有技术中残渣量大以及残渣利用附加值低的难题,粉煤灰和煤矸石中镓的提取率可达到80%以上;本发明整个工艺过程均在常压条件下进行,因此对设备要求条件低,整个工艺过程实现了资源的有效利用,不会对周边环境造成新的污染。

标签:
固废
陕西 - 西安 来源:中冶有色网 2023-03-19
以稻壳灰为原料制备疏水性二氧化硅气凝胶的方法

以稻壳灰为原料制备疏水性二氧化硅气凝胶的方法,涉及疏水性二氧化硅气凝胶的制备方法,属于化工材料制备技术领域。用稻壳燃烧后的废料稻壳灰,经过无机强碱水溶液浸取水溶胶的制备、无机强酸中和碱性溶液静置生成二氧化硅水凝胶的过滤及酸处理过程、水凝胶经老化、水洗、有机溶剂置换水凝胶中的水分、超临界干燥、表面修饰后,制得白色的疏水性二氧化硅气凝胶。本发明用废料稻壳灰代替昂贵的有机硅化合物作为原料,采用超临界干燥和表面修饰的方法,制得纳米多孔结构的疏水性二氧化硅气凝胶固体材料,大大降低了生产成本,制备的气凝胶高比表面积、高孔容、低表观密度,基本不吸附水;工艺简单、易操作,适合于化工材料规模化生产和应用。

标签:
固废
北京 - 北京 来源:中冶有色网 2023-03-19
用于回收蛋白质的新型絮凝剂

本发明公开了一种能够从食品加工行业产生的废水中回收蛋白质的新型絮凝剂。它以海藻类植物为原料,经过洗净、晾干、破碎后,在一定浓度的碳酸钠溶液中浸泡一定时间,放置在均质器下,以10000转/分的高速剪切成糊状物,经稀释即可使用,为了运输和放置方便也可制成固体状,此种絮凝剂无毒、无害、加在含有蛋白质的废水中,可使蛋白质沉淀回收。

标签:
固废
北京 - 北京 来源:中冶有色网 2023-03-19
天然混合厌氧产氢微生物的筛选方法

本发明提供了从天然产氢菌源中筛选天然混合厌氧产氢微生物的有效方法。用物理方法对天然产氢菌源进行处理,抑制非产氢微生物和病源微生物的活性,其特征在于:对天然产氢菌源通过强制曝气法或红外线加热法使非产氢微生物和病源微生物失去活性,强制曝气法是将天然产氢菌源和水的悬浮液在室温~40℃的温度条件下,通过用空气泵进行强制曝气;红外线加热烘干法是通过红外线加热干燥的方法将天然产氢菌源烘干,烘干至无水份状态将其作为产氢微生物用于生物制氢,可实现持续、稳定、高效、经济生产氢气的目的。本发明广泛适用于含碳水化合物的有机废水,农作物秸秆、农副产品下脚料及其它农业固体废弃物的生物制氢。

标签:
固废
河南 - 郑州 来源:中冶有色网 2023-03-19
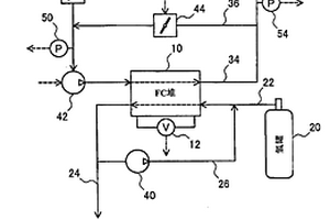
燃料电池系统
燃料电池系统 1074     
 0

在配备有固体聚合物电解质燃料电池的燃料电池系统(100)中,将从燃料电池堆(10)的阴极排出的包含湿气的阴极废气供应到阴极。当已经在燃料电池堆(10)中发生溢流时,控制空气泵(42)、循环节流阀(44)、供应节流阀(46)、和背压控制阀(38),并且增加阴极废气的循环量以排出多余湿气。通过这么做,在该燃料电池系统中,能够在维持电解质膜处于湿润状态的同时消除溢流。

标签:
固废
其他 - 其他 来源:中冶有色网 2023-03-19
无机铝硅酸盐聚合物与有机高分子复合胶凝材料的制备方法

本发明公开了一种无机铝硅酸盐聚合物与有机高分子复合胶凝材料的制备方法,该方法利用可提供无机铝硅酸盐成分的磷渣或矿渣,与苯乙烯/丙烯酸甲酯共聚物乳液,在激发剂硅酸钠的作用下,生成磷渣或矿渣无机铝硅酸盐聚合物与有机高分子复合胶凝材料;其中,苯乙烯/丙烯酸甲酯共聚物乳液的用量为磷渣或矿渣重量的5%~25%,碱性激发剂硅酸钠的用量为磷渣或矿渣重量的13%。本发明的无机铝硅酸盐聚合物与有机高分子复合胶凝材料28天龄期的抗折强度均高于无机铝硅酸盐聚合物,其28D的最高抗折强度是无机铝硅酸盐聚合物的2.08倍。制备过程无三废排放,无需加热,绿色环保,节能降耗,是工业固体废弃物资源化规模利用的有效途径之一。

标签:
固废
陕西 - 西安 来源:中冶有色网 2023-03-19
三氟化硼络合物的制备工艺方法

本发明涉及应用于头孢类制品生产工艺中的催化剂。其特点是:首先向反应罐中加入硫酸或发烟酸,然后加入硼酐或硼酸,通入三氧化硫,最后通入氟化氢;其份数比例是:2~5硫酸或3~5发烟酸、0.4~1.5硼酐或0.4~1.5硼酸、2~4三氧化硫、2~7氟化氢,若生产三氟化硼碳酸二甲酯络合物,三氟化硼和碳酸二甲酯的份数是1.25~1.5三氟化硼、5~10碳酸二甲酯,通过离心分离固体三氟化硼碳酸二甲酯络合物装入运输袋中,母液返回络合罐重新络合;若生产三氟化硼乙腈络合物,0.8~1份三氟化硼、4~5份乙腈,直接打入包装桶中。本发明的优点是:反应温度低,反应温和,安全性高。无废渣、废液产生避免环境污染、绿色环保节约能源;本发明生产的产品稳定,收率高。操作简单。适合规模化生产。

标签:
固废
黑龙江 - 哈尔滨 来源:中冶有色网 2023-03-19
高速堆肥法及装置
高速堆肥法及装置 827     
 0

本发明涉及一种高速堆肥法及设备,包括将有机固体废弃物送入分选设备中进行分离、回收,再加工成颗粒后送入物化预处理槽中,加入湿润剂、键离剂及超过物料饱和状态的水,搅拌后送入高速稳定釜中加温、加压,并维持反应釜中物料在液、固状态,加入氧化剂及重金属去除剂,随后通过压力降低容器减压后送入高速活化釜中加入松软剂及活化剂,在加温加压的条件下进行活化反应,随后进行蒸汽瞬间爆发操作,将物料导入产品精炼炉,并控制堆肥产品的湿度、粒度、肥分在需要的范围内。用本发明方法可在一小时内将有机废弃物转化为高品质的堆肥,并能很大程度地提高堆肥的吸水性、持水性、氮磷钾(N、P、K)及植物所需的微量元素的吸附性、透气性、隔热性、耐涝及抗沙化作用,能完全杀灭细菌及寄生虫,同时可分解有毒有机化合物,并可稳定或去除物料中所含超量的重金属。

标签:
固废
北京 - 北京 来源:中冶有色网 2023-03-19
从磷酸钙盐生产工艺的尾气中回收二氧化碳的方法

从磷酸钙盐生产工艺的尾气中回收二氧化碳的方法,属于工业废气治理并资源化的技术领域。提供了一种针对磷酸钙盐生产中二氧化碳尾气的组分特点,进行废气的收集和杂质的去除和提纯得到食品级二氧化碳产品的方法。该工艺投资较少,可行性较好,能达到减排温室气体和提高经济效益的目的。基本方法为:利用气水分离器干燥气体,通过固体炭酸(氢)盐吸收柱和可溶性碳酸(氢)盐溶液洗涤塔吸收酸性物质,采用过渡金属氧化物催化氧化除去有机杂质,通过活性碳吸附器和分子筛干燥器深度净化后,经压缩冷凝得到高纯度的食品级二氧化碳产品。回用工艺对磷酸钙产品质量没有影响。

标签:
固废
浙江 - 杭州 来源:中冶有色网 2023-03-19
低温酸析法β盐母液的处理方法

本发明提供一种β盐母液处理方法,β盐母液贮存槽连接浓缩装置,浓缩装置连酸化反应池,酸化反应池连接冷却器,冷却器的出水进入结晶罐,结晶罐连接固液分离装置,分离后所得固体转入固体贮存区,分离后所得液体进入废酸贮存罐,废酸贮存罐与电渗析装置连接,电渗析装置所得废水进入废水池,电渗析装置所得浓硫酸进入浓硫酸贮存槽。本发明处理β盐母液,实现污染物的资源化和减量化,同时实现经济、社会和环境效益。

标签:
固废
湖北 - 荆州 来源:中冶有色网 2023-03-19
利用铁尾矿制备高强结构材料的方法

一种利用铁尾矿制备高强结构材料的方法,属于建筑材料领域,涉及一种以铁尾矿为主要原料制备胶凝材料和以铁尾矿为细骨料制备细骨料混凝土的高强结构材料的方法,利用固体废弃物作为骨料和替代部分水泥生产生态型结构材料。通过对铁尾矿进行一定的机械粉磨,同时加入一定量矿渣替代部分水泥熟料,经过“磨—混磨”工艺制备出性能优良的生态型混合胶凝材料,再与作为骨料的粗粒铁尾矿混合后制备成高强结构材料,通过蒸养或蒸压条件得到最高抗压强度达到100MPA以上的高强结构材料。本发明方法制备的高强结构材料,节约天然砂石资源,废物利用率高,环境污染危害小,生产成本低,工艺简单。可制备成具有高强度等级要求的各种混凝土预制件。

标签:
固废
北京 - 北京 来源:中冶有色网 2023-03-19
钛酸镁催化臭氧氧化水处理的方法

本发明涉及水处理技术领域,公开一种钛酸镁催化臭氧氧化水处理的方法,包括步骤:将有机废水装入反应器中,通入臭氧,并投入钛酸镁,催化臭氧降解有机废水中的污染物,所用的钛酸镁为MgTiO3、Mg2TiO4或其混合物。该方法解决了现有技术中臭氧氧化水处理方法的臭氧利用率低、pH使用范围窄的问题,采用的钛酸镁诱发臭氧分解能力强,水处理效率高且pH使用范围。由于钛酸镁为固体,避免在水质中引入新的污染源,易于回收和运输,可重复多次利用,节约成本。

标签:
固废
浙江 - 杭州 来源:中冶有色网 2023-03-19
具有核壳结构的赤泥-钢渣高强轻集料及其制备方法

本发明公开一种具有核壳结构的赤泥‑钢渣高强轻集料及制备方法。所述高强轻集料,包含内核与外壳两部分,其中内核和外壳的质量比为3:1~4:1;内核包括以下质量分数的原料:赤泥微粉为15~50wt%;钢渣微粉为15~40wt%;煤系高岭土为8~22wt%;粉煤灰为3~18wt%;碳粉2~18wt%。外壳包括以下质量分数的原料:混凝土搅拌站废浆为40~85wt%;混凝土搅拌站收集扬尘为15~35wt%;钢渣微粉为5~15wt%。本发明以赤泥、钢渣、煤系高岭土、粉煤灰以及混凝土搅拌站产生的废浆为主要原料,不仅可解决固体废弃物的处理问题,同时制备的轻集料力学强度高、吸/释水率性能优异,能够促进轻质超高性能混凝土发展,实现了大宗工业固体废弃物的综合利用,保护了环境,具有推广价值。

标签:
固废
广西 - 桂林 来源:中冶有色网 2023-03-19
加压排气脱硫垃圾焚烧池

本发明公开了一种加压排气脱硫垃圾焚烧池,包括机身,所述机身内中间设有焚烧腔,所述焚烧腔内设有对垃圾进行架空焚烧的焚烧机构,所述焚烧腔右内壁内设有对燃烧后残留物进行排出的残留物排出机构,该设备工作时能够通过漏网将垃圾进行悬空,以增大垃圾与空气的接触面积提高焚烧的全面性,架空垃圾的同时会将焚烧腔进行封闭仅留下废气排出口,扇叶辅助吹风将废气加速排出并通过滤网将固体颗粒进行过滤,废气最终通过反应腔进行脱硫脱硝后排出,焚烧结束后能够对焚烧腔进行加压推送,以将废气处理完全,焚烧后留在承接板和漏网上的残留物以及滤网上的固体颗粒会被排出清理,以便后期继续使用还设备进行垃圾焚烧。

标签:
固废
浙江 - 绍兴 来源:中冶有色网 2023-03-19
环保型酸液净化方法和系统

本发明公开了一种环保型酸液净化方法,其包括步骤:(1)向连续酸洗机组的废酸酸液中加入助凝剂溶液,混合搅拌后反应一段时间,以中和废酸溶液中固体颗粒上的电荷,其中控制废酸酸液的温度为70‑90℃;(2)向废酸酸液中加入絮凝剂,沉淀后得到污泥沉淀和酸液清液;(3)将污泥沉淀中和,以使污泥沉淀的pH值为6‑8;然后对污泥沉淀进行干燥。此外,本发明还公开了一种环保型酸液净化系统,其包括:储酸罐、加热器、混合搅拌罐、助凝剂罐、絮凝剂罐、中和罐以及干燥器。利用该环保型酸液净化方法可以将酸液中的固体颗粒控制在在较低的水平,以保证连续酸洗机组中酸液的流量,减缓系统设备和管道表面结垢。

标签:
固废
上海 - 上海 来源:中冶有色网 2023-03-19
脱酸剂组合物、脱酸剂、其制备方法及应用

一种脱酸剂组合物、脱酸剂、其制备方法及应用。其中,该脱酸剂组合物包括:第一组分60~90重量份;第二组分6~20重量份;第三组分4~16重量份;其中,第一组分为石灰回转窑除尘灰、粉煤灰和/或活性石灰粉;第二组分为矿石冶炼炉水渣和/或矿石冶炼炉除尘灰;第三组分为绿矾。本发明的脱酸剂的制备原料全部来源于一般固体废物,易得廉价,为废弃物的再利用拓展了领域和方向,同时,本发明的脱酸剂在去酸效果、二次污染等方面也较传统脱酸剂有较大的优势。

标签:
固废
北京 - 北京 来源:中冶有色网 2023-03-19
橡胶硫化促进剂四硫化双五甲撑秋兰姆的制备方法

本发明涉及一种橡胶硫化促进剂四硫化双五甲撑秋兰姆的制备方法,其中所述方法以水为溶剂,所使用的原料及其摩尔比为:六氢吡啶∶二硫化碳∶硫磺∶双氧水=1∶1~1.3∶1.8~2.5∶0.4~0.7,该方法的具体工艺过程为:在常压下,在搅拌状态下向盛有水的反应釜内依次加入六氢吡啶和硫磺,添加完毕后控制温度在20℃~30℃的范围内,随后滴加二硫化碳液体,控制滴加时间2~3小时,滴加完毕后测量反应液的PH值,待反应液的PH值在6.5~7.5的范围内稳定后,控制反应液的温度在30℃~40℃,开始滴加双氧水进行氧化反应,氧化反应的时间为3~4小时;待氧化反应结束后,再保温反应1小时,之后进行固液分离,将所得固体烘干、粉碎、过筛、包装即可获得产品。本发明的方法生产周期短、安全系数高、几乎没有废气排放,所得产品的熔点高、外观好、收率高,明显优于其它的制备方法,综合成本低,采用本发明的方法可提高产品质量,节能降耗,减少“三废”污染。

标签:
固废
河南 - 濮阳 来源:中冶有色网 2023-03-19
混凝土用复合掺合料的制备方法

一种混凝土用复合掺合料的制备方法,解决了工业固体废弃物大量堆放,造成土地资源被占,严重污染环境的问题,其特点是复合掺合料原料主要有粉煤灰、矿渣、锂渣、脱硫石膏等多种工业固体废弃物,它们经共同粉磨协同作用,能在混凝土中替代一定量水泥,同时消耗了废弃物,有效改善环境,使上述工业废弃物无害化、资源化成为可能,混凝土用复合掺合料的制备是采取共同经球磨机粉磨的方法,获取产品,获取绿色复合建材产品,本发明具有粉磨工艺简单,不需要复杂设备,生产效率高,生产成本低,有较好的经济效益和社会效益的优点,适应于替代一定量水泥,制成混凝土的建材产品。

标签:
固废
山西 - 阳泉 来源:中冶有色网 2023-03-19
液相/固相萃取的制备方法

本发明公开了一种液相/固相萃取的制备方法,首先将固体原料粉碎成颗粒或片状并用水按比例进行混合,对混合后的原料和水的混合物进行微波加热、并保温,最后进行萃取液和原料料渣分离。本发明的方法与传统的原料萃取方法相比,它具有萃取效率高;耗能底,制成品的质量高;用电作为能源,最大限度减少了废水和废气产生。

标签:
固废
上海 - 上海 来源:中冶有色网 2023-03-19
磁性球形填料及其制备方法

本发明涉及磁性球形填料及其制备方法。属于水处理技术领域。填料最外层为粉煤灰和水泥混合层,内部为锯木屑小球,中间为磁性铁氧体层,填料中心到表面有一条可供永久磁铁进出的通道。其制备方法是:采用常温铁氧体法处理重金属离子废水,在形成沉渣后的陈化阶段,向混合液中加入内含永久磁铁的锯木屑小球。当锯木屑小球表面吸附了一定量的磁性铁氧体后,将锯木屑小球从混合液中取出干燥,在其表面涂覆粉煤灰水泥浆,然后取出永久磁铁;并将永久磁铁进出的通道用锯木屑及粉煤灰水泥浆或只用粉煤灰水泥浆填补,室温下养护,即形成磁性球形填料。本发明磁性球形填料具有比表面积大、生物挂膜效果好等优点,且原料多为固体废弃物,成本低。

标签:
固废
江苏 - 镇江 来源:中冶有色网 2023-03-19
碳载金属催化剂的再生方法

本发明提供了一种碳载金属催化剂的再生方法,包括:步骤(1),用有机溶剂和水的混合液对废催化剂进行清洗;步骤(2),将清洗后的废催化剂置于去离子水中,搅拌状态下通入H2,待充分吸附后加入镍盐,继续搅拌使镍负载在废催化剂上,所述镍的负载量是废催化剂中贵金属负载量0.8‑1.5倍;然后进行抽滤,将抽滤后的固体洗涤至中性;步骤(3),将洗涤成中性的固体进行真空干燥处理;步骤(4),将干燥后的催化剂装入管式反应器内,通入H2反应;步骤(5),反应后的催化剂用稀盐酸洗涤,直至滤液中检测不到镍离子;继续用去离子水洗涤至中性;最后真空干燥后得再生催化剂。本发明可将催化剂的催化活性恢复至初始活性的95%以上,寿命延长至初次寿命的90%以上。

标签:
固废
浙江 - 杭州 来源:中冶有色网 2023-03-19
煤化工高浓污水的除油处理方法

本发明涉及一种煤化工高浓度污水的除油处理方法;其具体步骤如下:先将煤化工高浓污水进入除油破乳单元投加破乳剂和助凝剂,使废水中的油类物质破乳达到去除效果;然后将除油破乳后的废水进入吸附单元,通过吸附剂进一步去除废水中的固体悬浮颗粒和油类物质。废水经本项发明水中的油类物质和固体悬浮颗粒的去除率分别高达97%、95%以上,COD去除率高达到40%以上。本发明处理工艺简单、效果好、处理费用低等特点,具有广阔的应用前景。

标签:
固废
江苏 - 南京 来源:中冶有色网 2023-03-19
新型杀螨剂的关键中间体2,4,6-三甲基苯乙酸的生产工艺

新型杀螨剂的关键中间体2,4,6-三甲基苯乙酸的生产工艺。本发明涉及一种2,4,6-三甲基苯乙酸的环保生产工艺,属于化工生产工艺领域。该工艺在氯甲基化时采用了固体甲醛,并且将反应中产生的废水分离并回收后通入氯化氢气体进行再循环利用,既减少了污水处理的能耗,也大大减少了废水的处理量。在氰基化使用液体氰化钠并减少氰化钠使用量,避免了固体氰化钠使用的危险性以及氰化钠过量使用产生的次生风险与危害,另外将反应液多次水洗处理,避免了酸化后产生氰氢酸而造成安全隐患。最后采用酸性水解,减少了含盐废水的排放。本方法克服了传统工艺中的缺陷,实现了生产废水的多次套用,最大程度的减少生产时的能耗,大大提高了反应收率及产品纯度,降低了生产的成本,保证了生产安全性,使得生产更加绿色环保。

标签:
固废
江苏 - 常州 来源:中冶有色网 2023-03-19
改性煤渣吸附剂及制备方法及应用

本发明公开了一种改性煤渣吸附剂及制备方法及应用,制备方法为:1)褐煤渣水洗,干燥,与黄铁矿烧渣,混合,粉碎;2)将步骤1)获得的混合物浸于无机酸水溶液中,酸化改性处理;过滤,滤液回收,固体用水洗涤,干燥,焙烧,得到改性煤渣吸附剂。本发明利用褐煤渣和黄铁矿烧渣制备改性煤渣吸附剂,其粒度分布均匀、分散性好;对废液中的重金属离子的吸附性强,吸附效率高,具有操作简便、成本低廉、效果较好等优势,可用于多种工业废水的重金属处理;褐煤渣和黄铁矿烧渣是残渣废弃物。两种原料来源广泛,便宜易得,用于制造改性煤渣吸附剂,具有明显的价格优势。且本发明采用褐煤渣和黄铁矿烧渣属于固体废弃物的回收利用,极大减轻了环境负担。

标签:
固废
天津 - 天津 来源:中冶有色网 2023-03-19
上一页 1995 1996 1997 1998 1999 ... 2000 ... 5000 ... 5981 下一页
共5981页    到第

中冶有色为您提供最新的有色金属环境保护技术理论与应用信息,涵盖发明专利、权利要求、说明书、技术领域、背景技术、实用新型内容及具体实施方式等有色技术内容。打造最具专业性的有色金属技术理论与应用平台!

全国热门有色金属设备推荐
展开更多 +
全国热门有色金属技术推荐
展开更多 +

 

江西省隆恩特环保设备有限公司
宣传

报名参会
更多+

2025年10月15日 ~ 17日
2025年10月17日 ~ 19日
2025年10月31日 ~ 11月02日
2025年11月07日 ~ 09日

报告下载

有色专家
更多+

江西理工大学
副校长
中南大学
常务副校长
鞍钢集团有限公司
中国工程院院士
广东省科学院资源利用与稀土开发研究所
教授
任灵宝金源矿业股份有限公司
技术发展部经理
赤泥综合利用研究报告2025
推广

热门技术
更多+

推荐企业
更多+

福建省金龙稀土股份有限公司
宣传

发布

在线客服

公众号

电话

顶部
咨询电话:
010-88793500-807