青岛垚鑫智能科技有限公司
宣传

位置:中冶有色 >

有色技术频道 >

> 固/危废处置技术

分类:
全部
矿山技术
冶金技术
材料制备及加工技术
环境保护技术
分析检测技术
 
全部
废水处理技术
大气治理技术
固/危废处置技术
土壤修复技术
地区:
全部
北京
天津
上海
重庆
河北
山西
辽宁
吉林
黑龙江
江苏
浙江
安徽
福建
江西
山东
河南
湖北
湖南
广东
海南
四川
贵州
云南
陕西
甘肃
青海
内蒙
广西
西藏
宁夏
新疆
其他
其他
展开
 
全部
广州
韶关
深圳
珠海
汕头
佛山
江门
湛江
茂名
肇庆
惠州
梅州
汕尾
河源
阳江
清远
东莞
中山
潮州
揭阳
云浮

广东东莞有色金属固/危废处置技术理论与应用

免费发布技术信息>>
陶瓷废料用于制备高强轻集料的用途及其制备的高强轻集料

本发明属于环保建筑、建材以及固体废弃物处理及资源化利用技术领域,具体涉及一种陶瓷废料用于制备高强轻集料的用途,并进一步公开一种利用陶瓷废料和粉煤灰制备的高强轻集料,并进一步公开其制备方法。本发明所述轻集料以粉煤灰和陶瓷生产过程中各阶段产生的陶瓷废料等固体废弃物为原料;利用不同阶段产生的陶瓷废料的特性的相互作用,以不同的添加剂制作高强轻集料并取得了较好的性能优势,有助于降低轻集料的生产成本,使固废利用最大化,从而得到一种轻质、高强、导热系数低、耐火度高,化学稳定性好、耐久性和保温隔音性能好的建筑陶粒。

标签:
固废
广东 - 东莞 来源:中冶有色网 2023-03-19
超声波催化生化废液处理反应器及其废液处理方法

本发明涉及污水处理技术领域,特别是涉及一种超声波催化生化废液处理反应器及其废液处理方法,其包括壳体和超声波发生器,壳体的内部设有中空的导流筒,导流筒的中心线与壳体的中心线位于同一直线上,超声波发生器装设于导流筒的内壁;壳体的下部铺设有固体催化剂;壳体的内部设有负载微生物的微生物载体,微生物载体的表面覆盖有生物膜;壳体的上端设有出液口,壳体的下端设有物料进口,头部的下部还设有污泥出口,污泥出口位于固体催化剂的上方。与现有技术相比,本发明将超声协同催化的化学氧化反应和生物降解反应共存于一个反应系统中,两种反应协同作用,进一步加快有机物降解速率,有机物降解率高、污水净化效果。

标签:
固废
广东 - 东莞 来源:中冶有色网 2023-03-19
焚烧废气塔废气处理装置

本实用新型公开了一种焚烧废气塔废气处理装置,包括伸缩支撑装置、支撑底板、集气装置箱和废气处理装置,废气进管出口通过连接管固定安装在废气处理装置的进口处,废气处理装置左端固定安装支撑板,支撑板为圆形结构,支撑板圆心处设有通孔,通孔内固定安装轴承,轴承内圈与废气中和釜左端进口固定连接,废气处理装置中段内壁固定安装环形支撑板,环形支撑板与废气中和釜外壁转动连接,废气处理装置内部底面固定安装第二电机,第二电机输出端固定安装主动轮,主动轮通过皮带与从动轮传动连接,从动轮圆心处固定安装开口,废气中和釜右端出口与开口固定连接。该实用新型具有的过滤废气中的固体杂质、废气处理效率高和废气降温的优点。

标签:
固废
广东 - 东莞 来源:中冶有色网 2023-03-19
用染料废渣制备单质铜,氢氧化铜和氯化钠的方法

本发明提供了用染料废渣制备单质铜,氢氧化铜和氯化钠的方法,所述染料废渣为活性艳蓝K-NA染料的废渣和碱性紫染料废渣,将两种废渣按照的=质量比为1∶1混合并均匀的搅拌,于600-700摄氏度焙烧2-4小时,剩余固体与过量盐酸混合反应,将反应液过滤,得到铜滤饼和滤液一,铜滤饼洗涤后得到单质铜滤液一与碳酸钠反应,生产氢氧化铜和氯化钠和二氧化碳,经过滤,得到氢氧化铜产品和氯化钠溶液;氯化钠溶液经减压蒸馏为氯化钠的过饱和溶液,使氯化钠结晶析出,过滤,得到氯化钠和滤液三,滤液三与下一轮步骤(2)所得的反应液混合并重复利用。

标签:
固废
广东 - 东莞 来源:中冶有色网 2023-03-19
应用Magneli相介孔亚氧化钛Ti<sub>4</sub>O<sub>7</sub>处理重金属废液的方法

本发明涉及重金属废水处理技术领域,具体涉及一种应用Magneli相介孔亚氧化钛Ti4O7处理重金属废液的方法,该方法包括如下步骤:将Magneli相介孔亚氧化钛Ti4O7置于重金属废液中,并采用光照射所述Magneli相介孔亚氧化钛Ti4O7,与重金属废液中的重金属离子反应后在所述Magneli相介孔亚氧化钛Ti4O7的表面生成含重金属的固体。本发明以光催化材料Magneli相介孔亚氧化钛Ti4O7处理废液中重金属离子,利用Magneli相介孔亚氧化钛Ti4O7的光催化活性将重金属离子光致氧化还原成低度或无毒的无机物,实现去除重金属离子的效果,其操作简单,可用于大规模废液处理。

标签:
固废
广东 - 东莞 来源:中冶有色网 2023-03-19
城市固体生活垃圾燃烧发电系统

本发明涉及一种城市固体生活垃圾燃烧发电系统,首先垃圾原料前期处理系统将城市固体生活垃圾依次通过卸料大厅,垃圾池,灭菌室,筛选平台,切割系统,混合粉碎搅拌机,干燥室,造粒机制备成焚烧炉燃烧的原料;通过空气分离系统产生的高浓度的氧气与城市固体生活垃圾在焚烧炉内作燃烧反应,同时,焚烧炉尾部出口部分再循环烟气与空气分离系统产生的高浓度的氧气相混合后循环进入垃圾焚烧炉内参与燃烧,焚烧产生的余热通过余热锅炉制备高温蒸汽,进行蒸汽发电,产生的废气经过烟气净化处理系统进行净化处理,能有效抑制氮的氧化物的生成并有效回收二氧化碳温室气体。

标签:
固废
广东 - 东莞 来源:中冶有色网 2023-03-19
用硼泥滤渣制备固体硅酸的方法

一种用硼泥滤渣制备固体硅酸的方法,包括如下步骤:将硼泥用蒸汽加热到60~80度维持1~2小时,用离心机甩干,获得滤饼硼泥,将滤饼硼泥与盐酸反应,生成氯化镁的水合物,将氯化镁的水合物过滤,获得二氧化硅滤渣,将二氧化硅滤渣与碳酸钠反应,生成九水偏硅酸钠水溶液,过滤除去不溶性的杂质,获得澄清的滤液;将澄清的滤液与硫酸溶液反应,生成硅酸和硫酸钠混合液,过滤,获得滤饼硅酸胶状物和澄清的滤液,硅酸胶状物经洗涤、甩干、冷冻、粉碎、包装获得硅酸粉体产品;其滤液经蒸浓,出现结晶,将其洗涤、甩干、粉碎、包装得到硫酸钠晶体产品。本发明对硼泥废料的再次污染废料进行处理,获得固体硅酸,既避免了二次污染又创造了经济效益。

标签:
固废
广东 - 东莞 来源:中冶有色网 2023-03-19
利用固体激光器无损剥离GaN与蓝宝石衬底的方法

本发明公开了一种利用固体激光器无损剥离GaN与蓝宝石衬底的方法,是以固体激光器为激光光源,使用周长为3~1000微米,且两个最远角距离或最长直径不超过400微米的小光斑进行逐点逐行激光扫描,其中小光斑内部的能量分布情况是:光斑中心能量最强,向四周能量逐渐变弱。本发明实现了小光斑无损激光剥离,改进了激光剥离扫描方式,从而实现了无需对版的盲打剥离方法,简化了激光剥离工艺过程,提高了效率,降低了废品率,为激光剥离工艺产业化扫清了障碍。

标签:
固废
广东 - 东莞 来源:中冶有色网 2023-03-19
可减少有机固体垃圾所排放渗滤液的设备

本实用新型涉及废水处理领域,特别是指一种可减少有机固体垃圾所排放渗滤液的设备,包括有处理室,本实用新型具有如下优点:在结构上设有滚筒,有机固体垃圾倒入滚筒内,利用电机在转轴的作用下,转轴通过连接体带动滚筒转动,在滚筒转动的过程中,滚筒内的有机固体垃圾在离心力的作用下,使有机固体垃圾内残留的废水在此过程被甩出,并且废水利用过过滤网在排水孔的作用下排到处理室,然后废水从排水管排出,垃圾内残留的废水处理完以后再把垃圾进行填埋,可减少填埋完的垃圾的渗滤液的排放,防止渗滤液的大量排放影响环境。

标签:
固废
广东 - 东莞 来源:中冶有色网 2023-03-19
降低反渗透水固体含量的处理系统

本实用新型公开一种降低反渗透水固体含量的处理系统,包括浓水罐、污泥池、管式微滤处理设备和反渗透处理设备,该浓水罐上设有废水输入端,而污泥池的输入端连接浓水罐下端的输出端,该浓水罐上端的输出端连接到管式微滤处理设备的输入端中,并于浓水罐和管式微滤处理设备的连接管路上设有动力泵,该管式微滤处理设备具有过滤液输出端和浓水输出端,浓水输出端直接与浓水罐连接,过滤液输出端连接至反渗透处理设备中。藉此,通过浓水罐、污泥池和管式微滤处理设备对废水进行沉淀和固液分离处理,降低污水中固体颗粒的含量,污染物的去除效率高,处理效果好;另外,通过管式微滤处理设备将废水的固体颗粒筛分出,避免传统需要对废水进行稀释等前处理带来操作繁琐、水资源浪费的弊端。

标签:
固废
广东 - 东莞 来源:中冶有色网 2023-03-19
固体物沉降装置
固体物沉降装置 1056     
 0

本实用新型公开了一种固体物沉降装置,包括容器和两振动装置,容器上设置有用于容纳废水的容腔,容器上设置进水口和出水口,进水口通过容腔与出水口连通;两振动装置分别设置在容器相对的两侧上,两振动装置用于在容腔内的废水中产生驻波而使废水中的固体物随驻波运动以实现沉降。本实用新型处理的废水可自流并可将污泥、絮体等固体物有效分离,有利于降低水处理成本和能耗。

标签:
固废
广东 - 东莞 来源:中冶有色网 2023-03-19
生活污水固体垃圾快速收集分离设备

本实用新型公开了一种生活污水固体垃圾快速收集分离设备,属于污水处理领域,所述箱体,所述箱体的底部表面焊接有排污箱,所述箱体的内壁上安装有排泥斗,所述箱体在进水管道周边的内壁上安装有滤笼,所述箱体在排泥斗上方的内壁上安装有挡板,所述滤笼的一端与挡板的顶部连通,所述箱体在挡板与排泥斗之间的内壁上通过轴承活动安装有第一碾压辊与第二碾压辊,所述第一碾压辊与第二碾压辊的一端分别穿过箱体表面并通过联轴器与第一步进电机和第二步进电机的输出端传动连接。本实用新型在过滤机构中增设由碾压辊配合电机组成的固废处理装置,能够有效确保对污水中固废的收集效率,同时确保了对固废的隔离效果。

标签:
固废
广东 - 东莞 来源:中冶有色网 2023-03-19
固体物沉降装置及固体物沉降方法

本发明公开了一种固体物沉降装置,包括容器和两振动装置,容器上设置有用于容纳废水的容腔,容器上设置进水口和出水口,进水口通过容腔与出水口连通;两振动装置分别设置在容器相对的两侧上,两振动装置用于在容腔内的废水中产生驻波而使废水中的固体物随驻波运动以实现沉降。本发明还公开了一种固体物沉降方法。本发明处理的废水可自流并可将污泥、絮体等固体物有效分离,有利于降低水处理成本和能耗。

标签:
固废
广东 - 东莞 来源:中冶有色网 2023-03-19
固废全过程监控系统
固废全过程监控系统 794     
 0

本实用新型涉及监控系统技术领域,尤其涉及固废全过程监控系统。其技术方案包括:安装载板与顶盖,安装载板的底部转动连接有转盘,转盘的底部固定安装有监控摄像头,安装载板的顶部安装有伺服电机,伺服电机的输出轴固定连接有转轴,转盘的顶部固定连接有转接杆,且转接杆通过查传动机构a和转轴传动连接,安装载板的顶部转动连接有转动杆,且转动杆通过传动机构b和转轴传动连接,转动杆的顶端固定连接有太阳能板,所述安装载板的底部固定连接有螺纹安装环,螺纹安装环的内部螺纹连接有玻璃外罩,所述顶盖的圆周外壁固定连接有安装块。本实用监控系统不仅监控范围广,而且可以高效利用太阳能进行自我供电,节能环保。

标签:
固废
广东 - 东莞 来源:中冶有色网 2023-03-19
河道固废在海绵土上的应用及海绵土的制备方法

本发明公开了一种河道固废在海绵土上的应用及海绵土的制备方法,其海绵土的配方按照重量比包括:尾泥50~60%、椰糠20~30%、蚯蚓粪10~15%、腐殖土5~10%、细砂5~10%、粉粒5~10%;其中,尾泥为含水率低于50%的泥饼;该泥饼经过以下步骤的工艺进行处理:经过氧化曝气处理后的0.075mm以下粒径的泥砂随着泥浆水泵送进入泥水分离系统中,加入絮凝剂在斜板的作用下快速沉淀,沉淀后10%含固率的泥浆通过泥浆泵再加聚合氯化铝和聚丙烯酰胺通过管道混合器反应后,进入压滤机脱水压榨成所述的泥饼。本发因地制宜、循环利用河道湖泊淤泥对避免带来二次污染、资源再循环利用并应用代替传统的海绵土、建设节约型社会具有重要的意义。

标签:
固废
广东 - 东莞 来源:中冶有色网 2023-03-19
河道固废在环保免烧实心砖上的应用及制备方法

本发明公开了一种河道固废在环保免烧实心砖上的应用及制备方法,环保免烧实心砖的配方按照重量比包括:尾泥40~60%、石粉40~60%、砂5~10%、水泥10~25%和固化剂0.1~0.3‰,其中,尾泥为含水率低于50%的泥饼;该泥饼经过以下步骤的工艺进行处理:经过氧化曝气处理后的0.075mm以下粒径的泥砂随着泥浆水泵送进入泥水分离系统中,加入絮凝剂在斜板的作用下快速沉淀,沉淀后10%含固率的泥浆通过泥浆泵再加聚合氯化铝和聚丙烯酰胺通过管道混合器反应后,进入压滤机脱水压榨成所述的泥饼。本发明不但具有很好的抗压、抗折强度,而且具有十分突出的“水稳定性”及优秀的抗渗能力,抗渗系数可达到10‑5~‑8。

标签:
固废
广东 - 东莞 来源:中冶有色网 2023-03-19
滚筒式固废分离器
滚筒式固废分离器 773     
 0

本实用新型公开了一种滚筒式固废分离器,其包括:外筒、内滚筒、后盖、前盖,所述外筒包括外圆筒,外圆筒底部设有底盒,底盒一侧设有出料管,外圆筒后端设有后法兰,外圆筒前端设有前法兰,前法兰上均匀分布有活结螺栓组件;所述内滚筒包括内圆筒,内圆筒后端设有后支撑板,后支撑板中心孔位置设有支撑轴套,所述支撑轴套设于内圆筒内部,内圆筒前端设有内滚筒导向环,所述内滚筒导向环上设有密封圈,密封圈一侧与内滚筒导向环连接,密封圈另一侧与外筒前法兰连接;所述前盖包括前门盖板,前门盖板上设有进料管和人孔盖,前盖通过活结螺栓组件与前法兰连接,前门盖板内设有O型密封圈。

标签:
固废
广东 - 东莞 来源:中冶有色网 2023-03-19
河道固废在路基材料上的应用

本发明公开了一种河道固废在路基材料上的应用,路基材料的配方按照重量比包括:尾泥40~60%、石子和/粗砂40~60%、水泥5~10%、石灰1~3%和固化剂0.1~0.3‰,其中,尾泥为含水率低于50%的泥饼;该泥饼经过以下步骤的工艺进行处理:经过氧化曝气处理后的0.075mm以下粒径的泥砂随着泥浆水泵送进入泥水分离系统中,加入絮凝剂在斜板的作用下快速沉淀,沉淀后10%含固率的泥浆通过泥浆泵再加聚合氯化铝和聚丙烯酰胺通过管道混合器反应后,进入压滤机脱水压榨成所述的泥饼。本发明有效解决筑路材料污染问题;替代传统的筑路材料,从而降低筑路成本经济效益和生态环境效益特别明显。

标签:
固废
广东 - 东莞 来源:中冶有色网 2023-03-19
利用河道固废制备环保免烧实心砖备料的生产线

本实用新型公开了一种利用河道固废制备环保免烧实心砖备料的生产线,其包括三斗配料机及其汇料槽、第一运输设备、第一搅拌设备、辅料添加设备、第二运输设备、混粉机、第三运输设备、第一备料储存槽、砂储料斗、第四运输设备、色料添加设备、第二搅拌设备、第五运输设备和第二备料储存槽;所述三斗配料机由三组配料斗组成,该三组配料斗分别用于备用料、骨料、沙泥的进料。本实用新型是将河湖清淤后固化余泥通过干化、混合搅拌、破碎、筛分后,达到进入环保免烧免烧砖生产线的使用标准。整体结构简单而可靠性强,以及生产效率高。

标签:
固废
广东 - 东莞 来源:中冶有色网 2023-03-19
固废智能化滚筒筛
固废智能化滚筒筛 1023     
 0

本实用新型涉及垃圾处理设备技术领域,尤其涉及一种固废智能化滚筒筛,包括滚筒筛本体,所述滚筒筛本体表面对称设有开设有两个导轨,且所述导轨表面通过通孔嵌设有滑轮,所述导轨表面设有支撑组件,所述滚筒筛本体左侧表面设有传动组件,所述滚筒筛本体内部设有扬沙组件,所述扬沙组件由法兰盘、钢板、抄板、后端传动齿环、后端连接齿轮和第一电机组成。本实用新型通过将垃圾放置在有限长度的滚筒筛本体内部,加装了抄板,当滚筒筛本体转动时,抄板与滚筒筛本体保持相对或相向运动,从而将垃圾抄起,使垃圾在滚筒筛本体内部扬起,细沙经过滚筒筛本体转动分离,细沙从滚筒筛本体表面小孔漏下完成筛选。

标签:
固废
广东 - 东莞 来源:中冶有色网 2023-03-19
固废收集用具有自动压缩功能的环保设备

本发明公开了一种固废收集用具有自动压缩功能的环保设备,包括主体、旋转杆、第一活动杆、滑杆和第二传动杆,所述主体的底部安装有万向轮,所述主体左侧内表面安装有第一推杆,所述主体的右侧表面安装有滑槽,所述主体的内侧顶部安装有隔板,所述旋转杆安装于主体的右侧内表面,所述旋转杆的表面安装有拉杆,所述固定块的侧面安装有第一传动杆,所述第一传动杆的侧面安装有压缩杆,所述第一活动杆位于固定块的侧面,所述皮带的内侧表面安装有皮带固定圈,所述滑杆位于压缩杆的侧面,所述斜面块的侧面安装有第二推杆,通过手柄和传动齿轮的设置,当使用者向下按压手柄时,顶杆会在传动齿轮的作用向上推送,将箱盖顶起来,使得使用时更加的便捷。

标签:
固废
广东 - 东莞 来源:中冶有色网 2023-03-19
螺旋挤压式固废分离器

本实用新型涉及污水处理设备技术领域,尤其是指一种螺旋挤压式固废分离器,包括装置本体,所述装置本体上端设置有进料管,所述装置本体前端可活动安装有前门盖,所述装置本体后端设置有后盖;所述装置本体为双层筒结构,所述装置本体外层结构为外筒,所述装置本体内层结构为内筒,所述内筒设置有多个滤水孔,所述内筒设置有与进料管配合使用的通孔;所述内筒设置有螺旋装置;所述装置本体下端设置有沉沙装置,所述沉沙装置一端设置有出料管,所述沉沙装置与装置本体贯通,本实用新型利用螺旋装置在固定内筒里匀速旋转,将生活污水里的垃圾通过螺旋装置的旋转向沉沙装置输送,达到分离垃圾的效果。

标签:
固废
广东 - 东莞 来源:中冶有色网 2023-03-19
再生混凝土固废资源回收设备

本申请公开了一种再生混凝土固废资源回收设备,涉及混凝土设备技术领域,包括箱体,所述箱体的内部上端开设有下料槽,所述下料槽的内壁转动连接有两个破碎辊,所述箱体的下端内壁活动连接有过滤板,所述箱体的一侧固定连接有固定板,所述固定板的顶部一侧固定连接有挡座,所述挡座的一侧固定安装有电动推杆,所述电动推杆贯穿箱体的内壁,所述电动推杆的输出端开设有矩形槽。通过启动电动推杆,推动连接杆下的刮板和清洁刷移动,刮板将材料中钢筋金属件推至放置箱中,其中清洁刷对过滤板上的灰尘杂质进行清理,便于不同回收资源的收集,启动伺服电机,带动凸轮转动,从而凸轮上下带动固定块,使得过滤板上下移动,提高过滤的效率。

标签:
固废
广东 - 东莞 来源:中冶有色网 2023-03-19
河道固废在种植土上的应用

本发明公开了一种河道固废在种植土上的应用,种植土的配方按照重量比包括:尾泥80~90%和腐殖土10~20%、水泥5~10%、石灰1~3%和固化剂0.1~0.3‰,其中,尾泥为含水率低于50%的泥饼;该泥饼经过以下步骤的工艺进行处理:经过氧化曝气处理后的0.075mm以下粒径的泥砂随着泥浆水泵送进入泥水分离系统中,加入絮凝剂在斜板的作用下快速沉淀,沉淀后10%含固率的泥浆通过泥浆泵再加聚合氯化铝和聚丙烯酰胺通过管道混合器反应后,进入压滤机脱水压榨成所述的泥饼。本发明有效解决解决河道淤泥应用在种植上出现的不匹配性,增加河道底泥的资源化可行性路径,大大增加了资源回收再利用的有效性,以优化的技术为植物种植业生产出性质优良的营养土。

标签:
固废
广东 - 东莞 来源:中冶有色网 2023-03-19
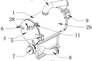
用于固废综合回收利用的驮车式金属分离器

本实用新型属于资源和能量回收利用技术领域,具体涉及一种用于固废综合回收利用的驮车式金属分离器。其包括驮车底盘10、第一磁滚筒20、第二磁滚筒30、同步带40、驱动机构50、悬吊机构60和电控模块。本申请提供的驮车式金属分离器能够以交叉作业的模式连续进行固废中磁性金属的回收,具有自动化程度高以及回收效率高等技术优势。

标签:
固废
广东 - 东莞 来源:中冶有色网 2023-03-19
便于清洗的工业固废处理装置

本实用新型公开了一种便于清洗的工业固废处理装置,包括壳体,所述壳体的底端固定安装有底座,所述壳体和底座的内部固定安装有粉碎装置,所述壳体和底座的内部贯穿安装有清洗装置,所述壳体的顶端固定连接有进料板,所述进料板左端固定连接有进料装置。解决了现有的工业固废处理清洗困难,需要单独拿出对其清洗,浪费人力浪费工作时间,大大降低工作效率的问题。

标签:
固废
广东 - 东莞 来源:中冶有色网 2023-03-19
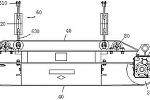
用于高温固废综合回收利用的连续作业渣包翻转台

本实用新型属于资源和能量回收利用技术领域,具体涉及一种用于高温固废综合回收利用的连续作业渣包翻转台。其包括旋转翻包装置和旋转驱动装置,旋转翻包装置设置在旋转驱动装置上,能够在旋转驱动装置的作用下任意旋转。本申请提供的用于高温固废综合回收利用的连续作业渣包翻转台,通过对旋转驱动装置、第一渣包翻包机构和第二渣包翻包机构的控制,可以自动化的实现第一渣包和第二渣包的连续作业,有利于改善现有产线的生产效率,稳定工业指标,对于促进废渣的综合回收利用和环境保护也具有十分积极的意义。

标签:
固废
广东 - 东莞 来源:中冶有色网 2023-03-19
固废处理用具有粉碎功能的环保设备

本发明公开了一种固废处理用具有粉碎功能的环保设备,包括电动机、弹簧和推板,所述电动机的左端设置有齿轮组,且齿轮组的下端设置有支撑架,所述支撑架的中部设置有主轴,且主轴的下端设置有旋转板,所述旋转板的下端设置有半圆块,且半圆块的下端设置有轨道板,所述轨道板的内部设置有轨道槽,且轨道槽的内部设置有凸块,所述弹簧的下端设置有研磨斗,且弹簧位于轨道板的下端,所述研磨斗的周围连接有研磨块,该固废处理用具有粉碎功能的环保设备,与现有的普通废料收集装置相比,本装置在进行收集之前进行研磨粉碎,减低废料占有的空间,同时使得废料更容易分解,随后从中提取有益物质,且自动化程度较高。

标签:
固废
广东 - 东莞 来源:中冶有色网 2023-03-19
绿色印刷用固废收集处理一体设备

本实用新型公开了一种绿色印刷用固废收集处理一体设备,包括废纸收集箱,所述废纸收集箱边侧的上端固定连接有上控制阀的一端,所述收集管的另一端安装有吸风罩,所述边侧的下端固定连接有上连接块,所述上连接块的下端固定连接有支撑杆,所述支撑杆的下端安装有下连接块,所述下连接块之间固定连接有漂白制浆箱,所述漂白制浆箱的边侧的下端固定连接有支撑底座,所述漂白制浆箱的下端固定连接有下控制阀。该绿色印刷用固废收集处理一体设备,可将印刷机产生的边纸进行通过风力进行收集,同时能对纸张进行脱色处理,以及既能起到搅拌的作用,也能将纸张进行充分切割,进而使得纸张能被快速制浆,降低了资源的浪费以及环境的污染。

标签:
固废
广东 - 东莞 来源:中冶有色网 2023-03-19
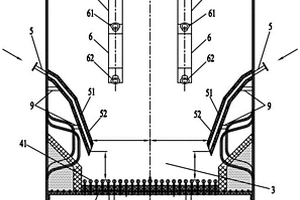
适应于多种固废燃料的循环流化床锅炉给料系统

本实用新型涉及固废利用技术领域,具体涉及一种适应于多种固废燃料的循环流化床锅炉给料系统,包括循环流化床锅炉炉膛,炉膛包括水冷壁前墙、水冷壁右侧墙、水冷壁后墙和水冷壁左侧墙组成,炉膛内的燃烧区域通过布风板分隔分为一次风室和炉膛密相区,水冷壁左侧墙和水冷壁右侧墙均设有炉内播料管道,炉内播料管道延伸至炉膛内,水冷壁前墙设有播料溜槽,播料溜槽的上端侧壁向上设有落料管,落料管与所述播料溜槽连通。本实用新型采用的该循环流化床锅炉给料系统能够同时处理兰炭、除尘灰和净化灰,并解决循环流化床锅炉处理净化灰时出现的净化灰延后燃烧、炉膛上部超温,水冷壁、过热器积灰严重问题,可有效提高锅炉热效率。

标签:
固废
广东 - 东莞 来源:中冶有色网 2023-03-19
上一页 17 18 19 20 21 ... 22 下一页
共22页    到第

中冶有色为您提供最新的广东东莞有色金属固/危废处置技术理论与应用信息,涵盖发明专利、权利要求、说明书、技术领域、背景技术、实用新型内容及具体实施方式等有色技术内容。打造最具专业性的有色金属技术理论与应用平台!

全国热门有色金属设备推荐
展开更多 +
全国热门有色金属技术推荐
展开更多 +

 

江西省隆恩特环保设备有限公司
宣传

报名参会
更多+

报告下载

有色专家
更多+

西北稀有金属材料研究院宁夏有限公司
党委书记 / 董事长
武汉理工大学
副主任/研究员
长沙矿冶研究院有限责任公司
中国工程院院士
矿冶科技集团有限公司
所长/研究员级高工
湖南科技大学
所长/教授
赤泥综合利用研究报告2025
推广

热门技术
更多+

推荐企业
更多+

福建省金龙稀土股份有限公司
宣传

发布

在线客服

公众号

电话

顶部
咨询电话:
010-88793500-807