青岛垚鑫智能科技有限公司
宣传

位置:北方有色 >

有色技术频道 >

> 加工技术

分类:
全部
矿山技术
冶金技术
材料制备及加工技术
环境保护技术
分析检测技术
 
全部
功能材料技术
复合材料技术
新能源材料技术
合金材料技术
加工技术
地区:
全部
北京
天津
上海
重庆
河北
山西
辽宁
吉林
黑龙江
江苏
浙江
安徽
福建
江西
山东
河南
湖北
湖南
广东
海南
四川
贵州
云南
陕西
甘肃
青海
内蒙
广西
西藏
宁夏
新疆
其他
其他
展开
 
全部
沈阳
大连
鞍山
抚顺
本溪
丹东
锦州
营口
阜新
辽阳
盘锦
铁岭
朝阳
葫芦岛

辽宁大连有色金属加工技术理论与应用

免费发布技术信息>>
特殊助威板
特殊助威板 1098     
 0

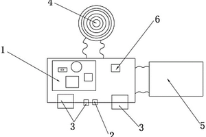
一种特殊助威板,包括外壳、LED显示屏、单片机、数据输入器、手感输入器显示屏、扬声器、特效变换按钮、充电锂电池、外接电源口、电源开关、声音开关、导线,所述LED显示屏、单片机、数据输入器、手感输入器显示屏、扬声器、特效变换按钮、充电锂电池、外接电源口、电源开关、声音开关、导线都在外壳内,LED显示屏通过导线与单片机、特效变换按钮相连接,数据输入器通过导线与单片机相连接,手感输入器显示屏通过导线与单片机相连接,扬声器通过导线与单片机、声音开关相连接,充电锂电池通过导线与单片机、电源开关相连接,外接电源口通过导线与单片机相连接。本发明可以让使用者可以自由变换助威形式,而且助威文字可以多样变化,效果更加多样化,特殊助威板壳体十分坚固。

标签:
加工技术
辽宁 - 大连 来源:北方有色网 2023-03-18
聚合物分散液及其应用
聚合物分散液及其应用 1013     
 0

本发明涉及一种聚合物分散液及其应用,分散液由溶剂、锂盐和聚合物组成;其中聚合物以分子的形式分散在溶剂中,包括聚二氧戊环、聚乙二醇、聚偏氟乙烯、聚甲基硅氧烷、苯乙烯脂肪烯烃共聚物中的一种或两种以上,该聚合物分散液的制备方法简单,聚合物含量可控,聚合物的种类可调,容易实现大批量生产。制备的聚合物分散液提高了锂电池负极界面膜(SEI)的机械稳定性,通过本身的柔韧性有效的阻止了该界面膜的破碎脱落,大幅提高了锂电池的循环寿命。

标签:
加工技术
辽宁 - 大连 来源:北方有色网 2023-03-18
沉积硫单质的碳纤维材料及其制备方法和应用

本发明涉及一种沉积硫单质的碳纤维材料及其制备方法和应用,属于电池材料领域。一种沉积硫单质的碳纤维材料,所述材料由相互缠绕或/和交织的氧化钴修饰的碳纤维和沉积在碳纤维上硫单质构成。本发明所述沉积硫单质的碳纤维材料可用作锂硫正极材料,其采用相互缠绕或交织的氧化钴修饰的三维碳纤维作为束硫材料,三维的碳纤维网络提供连续的电子传输通道,具有降低电池内阻,有利于电化学反应进行的特点,可有效提高电池的能量密度及循环寿命。而且氧化钴修饰物具有对过硫化锂的束缚能力,可以有效降低多硫化锂的流失,从而提高电池的能量密度,提升充放电循环性能。该制备方法简便,原料廉价易得。

标签:
加工技术
辽宁 - 大连 来源:北方有色网 2023-03-18
含有极性苯乙烯嵌段的热塑弹性体及其制备方法

本发明公开了一种含有极性苯乙烯嵌段的热塑弹性体及其制备方法。该弹性体的特征在于,它是以线型苯乙烯类热塑弹性体聚合物为主链,苯乙烯嵌段接有极性支链的聚合物。其制备方法为:通过阴离子偶联技术合成含有可锂化单元的主链,再对主链进行锂化反应,最后加入极性单体,利用生成的锂化点进行环氧乙烷侧链的链增长反应。极性支链使热塑弹性体极性增加,克服了以SBC为基质的胶黏剂对极性材料粘结效果不理想的缺点。

标签:
加工技术
辽宁 - 大连 来源:北方有色网 2023-03-18
空气预热溴冷机火管群冷剂蒸汽再生方法和装置

空气预热溴冷机火管群冷剂蒸汽再生方法和装 置属于空气预热溴化锂直燃型吸收式制冷领域。空气预热溴冷 机高温再热器采用多孔陶瓷平面火焰燃烧器直接加热布置于 炉膛内的管束,管束受热均匀,传热效率提高,使得直燃机结 构紧凑化,而且管束的排列方式也有利于降低 NOx、CO含量;同时,采用烟 气回收再利用加热稀溶液、预热空气,直燃机热效率进一步得 到提高,降低了烟气排放造成得环境热污染。空气预热火管群 高再溴化锂吸收式直燃机,相对于目前溴化锂直燃型吸收式制 冷机体积减小1/2,燃烧排放NOx 含量低于30ppm,CO含量也被降低到很低水平。适用于各类 大、中、小型建筑和建筑群中央空调系统中。

标签:
加工技术
辽宁 - 大连 来源:北方有色网 2023-03-18
高首效硬碳负极材料及其制备方法、钠离子电池

本发明属于钠电池技术领域,具体涉及一种高首效硬碳负极材料及其制备方法、钠离子电池。该高首效硬碳负极材料包括:硬碳材料;第一层,为第一碳膜层,所述第一碳膜层基本上包覆所述硬碳材料的外表面;第二层,为预锂化层,所述预锂化层基本上包覆所述第一碳膜层的外表面;第三层,为第二碳膜层,所述第二碳膜层基本上包覆所述预锂化层的外表面。本发明提供的硬碳负极材料,具有较高的首次效率和循环寿命。

标签:
加工技术
辽宁 - 大连 来源:北方有色网 2023-03-18
高分子量苯乙烯/二烯烃/苯乙烯热塑弹性体及其制备方法

本发明公开了一种高分子量苯乙烯系热塑弹性体及其制备方法。该弹性体的特征在于它是以线型苯乙烯类热塑弹性体聚合物为主链,苯乙烯嵌段具有苯乙烯支链的聚合物。其制备方法为:通过阴离子偶联技术合成含有可锂化单元的主链,再对主链进行锂化反应,最后加入苯乙烯单体,利用生成的锂化点进行苯乙烯侧链的链增长反应。本发明所述弹性体主链的数均分子量为15×104~30×104,其中共轭二烯烃嵌段分子量大,可提供良好的粘附性能,同时通过苯乙烯嵌段中的苯乙烯侧链来保证该弹性体仍具有热塑的性质,得到了一种对压力更敏感,粘附性能更强的压敏胶基质。

标签:
加工技术
辽宁 - 大连 来源:北方有色网 2023-03-18
复合硫正极材料及其制备方法和应用

本发明公开了一种复合硫正极材料及其制备方法和应用,采用层状金属磷酸盐作为硫正极反应促进剂,设计并制备了一种硫正极。层状金属磷酸盐是一类阳离子层状化合物,具有离子交换、质子导电、吸附、催化性能。所用的层状金属磷酸盐对多硫化物具有良好的吸附作用,促进了多硫化物向硫化锂的转化反应。复合硫正极材料由含硫活性物质和硫正极反应促进剂组成,硫电极中包含复合硫正极材料、导电剂和粘结剂等。将硫电极应用于锂硫电池的正极,电池表现出更高的容量保持率、循环性能和倍率性能。采用本技术研制的锂硫电池可应用于规模储能、移动和无线电子设备、电动工具、混合动力和电动交通工具等领域。

标签:
加工技术
辽宁 - 大连 来源:北方有色网 2023-03-18
高性能硫@炭/碳化钼复合材料及其制备方法

本发明提供一种高性能硫@炭/碳化钼复合材料及其制备方法。以硫化锌为模板和硫源,在其外侧均匀包覆聚合物壳,炭化形成硫化锌@炭/碳化钼,再通过氯化铁将硫化锌原位转化为硫,获得硫@炭/碳化钼复合材料。原位化学转化策略简化合成步骤,保证所有纳米硫被将封装在炭/碳化钼空腔中。炭/碳化钼初级粒子内硫的均匀分布提高硫的利用率并促进反应动力学。微孔炭/碳化钼壳物理/化学限域多硫化锂,同时加速多硫化锂向硫化锂的催化转化。硫化锌到硫的体积收缩有助于缓解充放电过程的体积膨胀。炭/碳化钼炭/碳化钼壳壁相互连接,形成导电网络增强导电性。硫@炭/碳化钼正极材料可以实现高放电比容量、良好的循环稳定性和高倍率性能。

标签:
加工技术
辽宁 - 大连 来源:北方有色网 2023-03-18
复合材料、其制备方法及应用

本发明提供了一种复合材料、其制备方法及应用,复合材料为纳米碳层包覆单晶H‑Nb2O5的核壳结构,其中,核为单晶H‑Nb2O5颗粒,最长方向尺寸为2~10μm,壳为纳米碳层,厚度为10~20nm。根据本发明的制备方法得到的纳米碳层包覆单晶H‑Nb2O5的复合材料具有高达270mAh/g的可逆容量;且单晶H‑Nb2O5具有本征高锂离子扩散能力,均匀的纳米碳层改善材料电子导电性,保证了材料超高倍率充放电能力和长循环稳定性,纳米碳层包覆的单晶H‑Nb2O5具有适宜的嵌锂电位,在大电流密度下不会出现析锂,因此安全性好。

标签:
加工技术
辽宁 - 大连 来源:北方有色网 2023-03-18
水系高压电解液、其制备方法及其应用

本申请公开了一种水系电解液,其特征在于,包括锂盐、添加剂和水;所述添加剂选自脲及其衍生物、硫脲及其衍生物中的至少一种。该水系电解液具有绿色环保、成本低廉、阻燃的特点,在锂离子超级电容器、锂电池等领域有着重要的应用前景。

标签:
加工技术
辽宁 - 大连 来源:北方有色网 2023-03-18
制备环戊烯/环己烯-1-硼酸频哪醇酯的方法

本发明公开了一种制备环戊烯/环己烯-1-硼酸频哪醇酯的方法,采用原料1-氯-环戊烯/环己烯,在单磷配体和钯催化剂的作用下,以醋酸钾作碱,在有机溶剂A中于发生偶联反应生成环戊烯/环己烯-1-硼酸频哪醇酯。本发明的创新性在于对于避免了文献使用的正丁基锂超低温条件下的锂化反应,而是用钯催化剂催化,并且降低了催化剂的用量,在可接受的温度下较高收率制得产物环戊烯/己烯-1-硼酸频哪醇酯,将硼化试剂由正丁基锂/异丙氧基硼酸频哪醇酯体系改为的钯催化剂/双联频哪醇硼酸酯体系,原材料成本大大降低,反应条件相对容易达到,易于放大,工艺操作更加简便。

标签:
加工技术
辽宁 - 大连 来源:北方有色网 2023-03-18
磷硫/碳复合材料及其制备和应用

本发明公开了一种磷硫/碳复合材料及其制备和应用,所述磷硫/碳复合材料包括混合均匀的:作为电化学活性储锂材料及辅助催化剂的硫,具有电子导电性和锂离子导电性的碳材料以及作为主要活性中心的磷。本发明所构建并制备的磷硫/碳复合材料具有良好的电化学循环性能,发明涉及的制备方法非常简单,采用这种方法制备而成的复合材料具有优异的相容性和结构稳定性,能够发挥组分间良好的协同效应。材料具有高的批次稳定性,很容易实现规模生产,可在锂离子电池等领域广泛推广。

标签:
加工技术
辽宁 - 大连 来源:北方有色网 2023-03-18
电动飞机能源控制系统

本发明涉及一种电动飞机能源控制系统,包括总控制模块、燃料电池模块、锂电池模块、DC/DC模块、冷却模块和数据采集模块,各模块通过导线连接,总控制模块通过RS232总线和飞机任务计算机连接;总控制模块包括对燃料电池模块的启动、运行、关闭进行监控,控制继电器的开合和对系统各电压、电流进行数据采集;DC/DC模块输出24V、52V和310V电源,锂电池模块包括52V锂电池组。本发明的突出特点是:能源控制系统的控制实时可靠,能充分保证飞机的能源供应和正常工作;燃料电池系统能够根据负载实时工况高效率的输出功率,满足飞机系统运行需求,具有可靠性高,成本低和易实现等优点。

标签:
加工技术
辽宁 - 大连 来源:北方有色网 2023-03-18
亲油硫电极的制备方法
亲油硫电极的制备方法 1061     
 0

本发明涉及一种亲油硫电极的制备方法,将硅油渗透至正极多孔电极内部,干燥后制得多孔的亲油硫电极,亲油硫电极中硅油的质量含量为0.2~30%;利用硅油的亲油性,使电解液均匀浸润至电极内部,尤其在高载量硫电极中有效地实现锂离子的传导,从而保证了高载量单质硫的电化学性能的发挥。并且,硅油中含有的硅氧键能在放电过程中有效地结合多硫化锂,抑制由于多硫化物溶解穿梭引起的自放电现象,从而实现了提高锂硫电池库仑效率及循环稳定性地目的。

标签:
加工技术
辽宁 - 大连 来源:北方有色网 2023-03-18
碳化硅陶瓷基纳米复合材料的制备方法及其应用

一种碳化硅陶瓷基纳米复合材料的制备方法及其应用,属于纳米材料制备技术及应用领域。使用自动控制直流电弧等离子体设备,以工业硅块为阳极,石墨棒作为阴极,通入惰性气体和氢气的混合气氛后,再通入气态碳源甲烷、乙炔或乙醇,蒸发原料获得碳化硅陶瓷基纳米复合材料;并将其与导电剂,粘结剂混合制备电极,作为锂离子电池负极材料,组装成扣式锂离子电池进行电化学性能测试,能够表现出优异的电化学性能。本发明制备过程简单,可实现工业化生产;将其应用于锂离子电池负极材料,能够实现了电化学循环性能的稳定性和大电流充放电的能力;通过电流、电压、气氛种类及其气压比、钝化、筛分等工艺,实现对纳米粉体尺寸、分布、以及形貌的控制。

标签:
加工技术
辽宁 - 大连 来源:北方有色网 2023-03-18
车载甲醇燃料电池管理系统及方法

本发明涉及一种车载甲醇燃料电池管理系统及方法,包括燃料电池连接DC‑DC,将燃料的化学能转化为电能;DC‑DC连接负载,用于将燃料电池输出的电压转化为负载所需的电压;DC‑DC连接二次电池充电;二次电池连接负载,用于为负载供电;电能控制模块连接二次电池、燃料电池和DC‑DC;电能控制模块连接通讯模块,通过通讯模块与汽车终端通信;空气供给装置将过滤后的空气送入燃料电池;甲醇供给装置将过滤后的甲醇与水按比例混合后送入燃料电池。本发明通过比较车辆位置以及道路情况确定最大时速,通过学习驾驶员驾驶习惯,计算汽车所需平均功率,根据锂电池剩余容量以及锂电池性能确定需要为锂电池充电功率,实现对燃料电池系统运行功率预测。

标签:
加工技术
辽宁 - 大连 来源:北方有色网 2023-03-18
Si-Ti合金纳米粉体的制备方法及应用

本发明属于锂离子电池技术领域,提供了一种Si‑Ti合金纳米粉体负极材料制备方法及应用。本发明基于直流电弧等离子体法,首先将纯硅块和纯钛块在真空熔炼炉熔炼均匀,制备Si‑Ti合金块体材料,之后以Si‑Ti合金块体材料作为阳极,以钨棒作为阴极置于直流电弧等离子体放电设备腔体内,并抽真空至‑0.1MPa,通入一定量氩气和氢气,起弧蒸发合金块,得到粒径在20~120nm范围的Si‑Ti纳米粉体材料。该方法操作过程省时、低成本,能够简单、高效地制备锂离子电池负极材料,且该方法制备得到Si‑Ti合金纳米粉体纯度高、分散性好。该发明制备的锂离子电池比容量高、循环稳定性好。

标签:
加工技术
辽宁 - 大连 来源:北方有色网 2023-03-18
含三氟甲基的C<Sub>3</Sub>*-TunePhos配体及其合成方法

本发明公开一类含三氟甲基的C3*‑TunePhos配体,从手性的二醇出发,然后与2‑氟‑4‑溴三氟甲苯发生芳基亲核取代反应得到醚,随后在锂试剂的作用下发生锂溴交换,与二苯基氯化磷反应,随后用双氧水进行氧化。之后在锂试剂的作用下与碘作用发生碘代,然后乌尔曼偶联,最后经过还原得到了在其对称轴上引入三氟甲基的缺电子配体。

标签:
加工技术
辽宁 - 大连 来源:北方有色网 2023-03-18
三步法制备碳包覆二磷化锌复合材料的制备方法及应用

本发明涉及三步法制备碳包覆二磷化锌复合材料的制备方法及应用,属于锂离子电池技术领域。目的是解决二磷化锌产量低和作为锂离子电池负极材料循环性能差的问题。制备方法如下:首先基于直流电弧等离子体法,将锌块蒸发为纳米锌粉;然后利用纳米锌粉和磷经高温固相反应法合成二磷化锌粉末;最后通过机械球磨法制备碳包覆二磷化锌复合材料。该方法合成温度低、周期短,低成本、产量高。本发明复合材料制备的锂离子电池在200mA/g电流密度下循环200圈后,可逆循环比容量为629mAh/g。

标签:
加工技术
辽宁 - 大连 来源:北方有色网 2023-03-18
改性氟化炭材料的制备方法及其应用

本申请公开了一种改性氟化炭材料的制备方法,将氟化炭和氮化锂在有机溶剂中反应一定时间,去除溶剂后得到所述改性氟化炭材料。与改性前的相比,该材料表面的氟含量减少,表面氟含量的降低能够在一定程度上避免锂/氟化炭电池的自放电行为,其自放电得到有效降低,可以有效提高锂/氟化炭电池的高温搁置稳定性,这对其实际应用具有重要意义。

标签:
加工技术
辽宁 - 大连 来源:北方有色网 2023-03-18
余热回收及控制发酵罐温度的系统

本实用新型属于余热回收利用技术领域,提供一种余热回收及控制发酵罐温度的系统,包括管束干燥机、除尘过滤装置、溴化锂吸收式制冷机、冷水系统循环泵、发酵罐、污水处理装置;管束干燥机的蒸汽管路出口与除尘过滤装置相连,除尘过滤装置分别与发酵罐的蒸汽入口和溴化锂吸收式制冷机的蒸汽入口相连,溴化锂吸收式制冷机的冷水出口与冷水系统循环泵相连,冷水系统循环泵与发酵罐相连,污水处理装置分别与管束干燥机和溴化锂吸收式制冷机相连。不仅可有效控制二次废热的排放污染,解决蒸汽余热回收的难题,而且可从中获取用于发酵罐罐体冷却的冷源,降低加工生产系统的额外消耗,实现能源的充分利用,从而提高生产效率,降低生产成本。

标签:
加工技术
辽宁 - 大连 来源:北方有色网 2023-03-18
多功能围巾
多功能围巾 1100     
 0

本实用新型涉及一种多功能围巾,在围巾内部设有夹层,夹层表面为绝缘导热材料制成,在夹层内部铺设由网状电热丝组成的加热电路,且加热电路的两块接电金属片透过夹层设置在围巾外表面;在围巾外部另设锂电池,锂电池的导电金属片与接电金属片位置对应、形状配套。天气寒冷时,使用者佩戴前把锂电池固定在围巾表面,保证锂电池的导电金属片与加热电路的接电金属片连通,为加热电路提供电能,通过电热丝消耗电能而转化成热能进行热传递后提升围巾表面的温度,增加保暖性。本实用新型具有功能奇特、工艺简单、操作简便等优点。

标签:
加工技术
辽宁 - 大连 来源:北方有色网 2023-03-18
溴冷机火管群高温再热器

溴冷机火管群高温再热器属于直燃型溴化锂吸 收式制冷领域。溴化锂直燃型吸收式制冷机采用多孔陶瓷燃烧 器平面火焰燃烧,直接加热布置于炉膛的管束,不仅能够提高 高温再热器本体的传热效率,而且水管的排列方式可以降低 NOx、CO的含量,也就是采用 火管群高温再热器。火管群高再溴化锂吸收式直燃机,COP可 以达到1.5左右,相对于目前溴化锂直燃型吸收式制冷机体积 减小1/2,燃烧排放NOx含量低 于30ppm,CO含量也被降低到很低水平。适用于各类大、中、 小型建筑和建筑群中央空调系统中。

标签:
加工技术
辽宁 - 大连 来源:北方有色网 2023-03-18
基于吸收式热泵的污泥烘干除湿系统

本实用新型提供一种基于吸收式热泵的污泥烘干除湿系统,包括干燥机、空气降温除湿装置、空气循环风机、空气加热装置、溴化锂吸收式热泵;干燥机、空气降温除湿装置、空气循环风机、空气加热装置依次串联;空气降温除湿装置及空气加热装置分别与溴化锂吸收式热泵相连;还设置有冷却装置,当溴化锂吸收式热泵需要停机检修时备用。用溴化锂吸收式热泵作为污泥烘干除湿的动力热源和动力冷源,可以实现污泥烘干除湿的同时,回收污泥冷凝除湿过程中的热量,降低污泥烘干除湿过程中的能源消耗,且提高了污泥烘干除湿的效率,系统运行经济,未造成空气的二次污染。

标签:
加工技术
辽宁 - 大连 来源:北方有色网 2023-03-18
无线充电宝
无线充电宝 889     
 0

一种无线充电宝,属于充电宝技术领域,技术方案:包括:充电宝模块、电源输入模块、电源输出模块、无线充模块、聚合物锂电池、锂电池保护模块,所述充电宝模块分别连接所述电源输入模块、电源输出模块、无线充模块,所述聚合物锂电池通过所述锂电池保护模块与所述充电宝模块连接。有益效果:本实用新型具有移动充电功能,解决了线充的数据线长度限制和家用电源限制的问题;无线充电不需要繁琐的操作步骤,两种充电方式满足不同的使用需求;解决了USB口种类多不通用的问题;通过无线充电减少了USB口和数据线的损耗,延长了使用寿命;通过充电宝模块的主控芯片和电感,实现了10W的无线输出,18W的有线输出,有效提高了充电效率。

标签:
加工技术
辽宁 - 大连 来源:北方有色网 2023-03-18
方便携带的化妆刷
方便携带的化妆刷 1211     
 0

本实用新型公开了一种方便携带的化妆刷,包括外壳,所述外壳的内部设有电机,所述电机的下部固定连接有锂电池,所述锂电池的下部设有凹槽,所述凹槽的下部固定连接有弹簧,所述外壳的内部固定连接有隔板,本实用新型带有外壳的内部设有电机,所述电机的下部设有用于供电的锂电池,锂电池的下部设有凹槽,所述凹槽的下部固定连接有弹簧,能够起到顶起电机的作用,电机的输出轴上端连接有毛刷辊筒,能够起到在化妆中涂刷的作用,节省体力,隔板的下部连接有三节伸缩杆,所述伸缩杆的下部固定连接有塑料块,所述塑料块的内部设有磁铁,能够在收缩后吸附在金属制造的外壳下端,塑料块的下部固定连接有散粉刷头,能够起到化妆作用。

标签:
加工技术
辽宁 - 大连 来源:北方有色网 2023-03-18
磁棒的调节装置
磁棒的调节装置 881     
 0

本实用新型涉及锂电池隔膜生产技术领域,具体来说涉及一种磁棒的调节装置,用于锂电池隔膜生产中膜表面金属粉末清除。该装置装置包括气缸、直线导轨、连接座、横梁和磁棒,气缸与连接座相连,为连接座提供沿直线导轨上下移动的动能并限定行程,通过设置直线导轨,可根据生产现场需求灵活调整磁棒与锂电池隔膜的垂直方向的距离,使磁棒对膜上的金属粉末吸附效率达到最高;而且磁棒可拆卸安装在横梁上,便于磁棒安装及拆卸,始终保持高磁吸附最佳效果。本装置结构简单,易于操作,金属粉末清除彻底,锂电池隔膜显著质量提高。

标签:
加工技术
辽宁 - 大连 来源:北方有色网 2023-03-18
低谷电储能供热系统
低谷电储能供热系统 708     
 0

一种低谷电储能供热系统,包括储能设备、板式换热器、溴化锂热泵机组、水源热泵机组;储能设备与储电电源相连,储能设备的出口连接循环水泵入口端,循环水泵出口端连接到板式换热器高温水入口,板式换热器高温水出口连接溴化锂热泵机组的冷媒水入口,溴化锂热泵机组的冷媒水出口连接到储能设备的入口;板式换热器的冷却水出入口通过管路连接到热用户;溴化锂热泵机组的冷却水出口和入口通过管路连接到热用户;水源热泵机组冷却水出入口通过管路连接到热用户,水源热泵机组冷媒水出入口通过管路连接到地下水源;用于解决现有技术中存在的谷电储能系统蓄热效率不高且水源热泵在北方冬季严寒地区很难满足供暖需求的问题。

标签:
加工技术
辽宁 - 大连 来源:北方有色网 2023-03-18
多功能如厕提醒器
多功能如厕提醒器 1141     
 0

本实用新型公开了一种多功能如厕提醒器,包括:微处理器单片机、人体红外感应器、超声波测距模块、MP3语音播放模块、RGB LED模块、按键设定及调节模块、双输出DC‑DC升压模块、锂电池及锂电池充电模块;所述人体红外感应器、超声波测距模块、MP3语音播放模块、RGB LED模块、按键设定及调节模块、双输出DC‑DC升压模块均与微处理器单片机相连,所述双输出DC‑DC升压模块还与RGB LED模块、MP3语言播放模块相连,所述锂电池及锂电池充电模块的输出端与双输出DC‑DC升压模块的输入端相连。该装置避免了因如厕时间过长,而引起的一系列疾病,提高了人们健康意识。

标签:
加工技术
辽宁 - 大连 来源:北方有色网 2023-03-18
上一页 15 16 17 18 19 ... 42 下一页
共42页    到第

北方有色为您提供最新的辽宁大连有色金属加工技术理论与应用信息,涵盖发明专利、权利要求、说明书、技术领域、背景技术、实用新型内容及具体实施方式等有色技术内容。打造最具专业性的有色金属技术理论与应用平台!

全国热门有色金属设备推荐
展开更多 +
全国热门有色金属技术推荐
展开更多 +

 

江西省隆恩特环保设备有限公司
宣传

报名参会
更多+

报告下载

有色专家
更多+

矿冶科技集团有限公司
所长/研究员级高工
中冶沈勘秦皇岛工程技术有限公司
原矿山院院长/教授级高工
西安建筑科技大学
教授
北京科技大学
副院长/教授
武汉科技大学
院长 / 教授
赤泥综合利用研究报告2025
推广

热门技术
更多+

推荐企业
更多+

福建省金龙稀土股份有限公司
宣传

发布

在线客服

公众号

电话

顶部
咨询电话:
010-88793500-807