青岛垚鑫智能科技有限公司
宣传

位置:中冶有色 >

有色技术频道 >

> 复合材料技术

分类:
全部
矿山技术
冶金技术
材料制备及加工技术
环境保护技术
分析检测技术
 
全部
功能材料技术
复合材料技术
新能源材料技术
合金材料技术
加工技术
地区:
全部
北京
天津
上海
重庆
河北
山西
辽宁
吉林
黑龙江
江苏
浙江
安徽
福建
江西
山东
河南
湖北
湖南
广东
海南
四川
贵州
云南
陕西
甘肃
青海
内蒙
广西
西藏
宁夏
新疆
其他
其他
展开
 
全部
合肥
芜湖
蚌埠
淮南
马鞍山
淮北
铜陵
安庆
黄山
阜阳
宿州
滁州
六安
宣城
池州
亳州

安徽芜湖有色金属复合材料技术理论与应用

免费发布技术信息>>
聚氯乙烯复合材料的制备方法

本发明提供了一种聚氯乙烯的制备方法,其是以秸秆先进行纳米改性;再将纳米改性秸秆进行偶联剂表面处理,然后将其作为阻燃填料加入到聚氯乙烯的制备中。本发明采用偶联剂处理的纳米改性秸秆替代了有毒有害的卤系阻燃剂。由于偶联剂处理的纳米改性秸秆是以纳米颗粒状态分散在聚氯乙烯基体中,其在遇热分解时会生成氧化物和水蒸气,水蒸气冲淡稀释了可燃性气体,而氧化物的生成有助于使燃烧中断,起到了抑制燃烧的作用,生成了保护层覆盖于聚合物本体表面(偶联剂的使用使覆盖更牢固),从而隔离了火源和氧气,因此使复合材料具有了良好的阻燃性能。同时本发明有效利用了农业废弃物秸秆,使其变废为宝,创造了新的应用价值。

标签:
复合材料
安徽 - 芜湖 来源:中冶有色网 2023-03-18
用于复合材料胶接修理的机械加压及拆除工装

本实用新型涉及机械加压及拆除工装领域,具体是一种用于复合材料胶接修理的机械加压及拆除工装,包括两边能够伸缩具有一定量程的支撑杆、与支撑杆旋转配合便于立面施压的中杆、设置在中杆用于立面施压的压板,所述的支撑杆两端设置有对飞机结构高发故障部位框体进行夹持的夹持端,针对飞机典型框结构,多为立面且修理空间狭小,采用本实用新型来施加持续稳定的胶接压力,满足立面加工,相对于普通工装只能竖直加工,本实用新型能够满足飞机框结构的加工需求。

标签:
复合材料
安徽 - 芜湖 来源:中冶有色网 2023-03-18
热固性碳纤维玻璃纤维混合设计的复合材料控制臂及其制作方法

本发明提供了一种热固性碳纤维玻璃纤维混合设计的复合材料控制臂及其制作方法,该控制臂包括碳纤维制成的控制臂本体,控制臂本体上设置有玻璃纤维制成的加强板,控制臂本体和加强板通过模压复合成型。本发明通过提供由碳纤维/玻璃纤维复合而成的控制臂,在保证强度的同时,有效减重,同时降低了材料成本。

标签:
复合材料
安徽 - 芜湖 来源:中冶有色网 2023-03-18
高耐热阻燃聚丙烯复合材料及其制备方法

本发明公开了一种高耐热阻燃聚丙烯复合材料及其制备方法,包括原料聚丙烯树脂、耐热增亮功能母粒、复合阻燃剂、滑石粉、聚丙烯接枝马来酸酐相容剂、润滑剂、硅烷偶联剂和抗氧剂A,各原料的重量份数为:聚丙烯树脂70~80份,耐热增亮功能母粒20~40份,复合阻燃剂20~40份,滑石粉10~30份,聚丙烯接枝马来酸酐相容剂3~5份,润滑剂2~3份,硅烷偶联剂1~3份,抗氧剂A1~2份,耐热增亮功能母粒包括原料有机硅树脂、无碱玻璃纤维、沉淀硫酸钡、云母粉、硅烷偶联剂、硅酮粉、钛白粉、磷酸系成核剂和抗氧剂B。本发明旨在解决现有技术中聚丙烯材料的耐热性能、阻燃性能和光泽度有待进一步提升等技术问题。

标签:
复合材料
安徽 - 芜湖 来源:中冶有色网 2023-03-18
耐用型复合材料托盘及其生产方法

本发明公开了一种耐用型复合材料托盘,其原料按重量份重量计如下:高密度聚乙烯50‑60份、共聚型聚丙烯40‑50份、混合纤维30‑40份、塑料再生料20‑30份、人工沸石5‑9份、硬脂酸锌1‑2份、硬脂酸钙1‑2份、聚乙二醇二硬脂酸脂6‑13份、不饱和聚酯树脂12‑15份、乙烯基三乙氧基硅烷0.4‑0.6份、抗氧剂0.3‑0.4份、防老剂0.4‑0.6份、发泡调节剂8‑10份、偶联剂4‑8份、氧化聚乙烯蜡25‑30份、润滑剂0.2‑0.3份、氯化聚氯乙烯8‑12份、半补强炭黑3‑4份。本发明通过高密度聚乙烯、共聚型聚丙烯、混合纤维、塑料再生料等原料的加入,融合更充分,力学能优异,同时对植物秸秆进行回收利用,不仅实现资源节约,且能够有效的降低建筑建造的成本。

标签:
复合材料
安徽 - 芜湖 来源:中冶有色网 2023-03-18
热塑性树脂连续纤维复合材料的模压和注塑工艺

本发明提供了一种热塑性树脂连续纤维复合材料的模压和注塑工艺,包括以下步骤,(1)连续碳纤维经纱架均布引出,导向后,先进压辊牵引机牵引压平,然后经过多道分散辊进行分散,将每束玻纤展开为7.5mm,并使其紧密展开排列,保证每束玻纤表面张力一致并无间隙,并达到预定宽度;(2)展开后的碳纤维进入预浸装置,玻纤带与聚丙烯基材在模具外浸渍复合;然后进入三辊浸渍辊压装置,在辊压作用下,使聚丙烯基材完全浸渍到玻纤带内部;(3)完全浸渍的玻纤带进入双辊牵引机,在牵引的同时,挤压到预定厚度,然后通过卷取装置收取纤维,本发明提供的产品密度小,耐腐蚀能力强,生产成本低。

标签:
复合材料
安徽 - 芜湖 来源:中冶有色网 2023-03-18
汽车仪表板装饰件用阻燃复合材料的制备方法

本发明提供一种汽车仪表板装饰件用阻燃复合材料的制备方法,按照重量份计,原料组成为:由增强剂玻璃纤维5份、次磷酸盐2份、含氮阻燃剂3份、聚醚多元醇20份、聚酯多元醇20份、增塑剂5份、聚氨酯硅油2份、异丁基乙烯基醚0.5份、水5份;制备预混料,将聚醚多元醇、聚酯多元醇、增塑剂、聚氨酯硅油、异丁基乙烯基醚和水放入反应釜中反应,然后将反应产物过滤,烘干得预混料A;依次向搅拌器中投入预混料A、增强剂玻璃纤维、次磷酸盐、含氮阻燃剂,于室温下搅拌混合,得预混料B;将预混料B加热,经熔融共混,再经挤出、拉条、冷却、切粒和烘干。工艺简单、易于工业化生产,具有广阔的市场应用前景。

标签:
复合材料
安徽 - 芜湖 来源:中冶有色网 2023-03-18
高抗冲尼龙PA66复合材料及其制备方法及在汽车上的应用

本发明公开了一种高抗冲尼龙PA66复合材料,由改性的尼龙PA66的A料和B料混合后挤出造粒而得,本发明还公开了所得的改性的尼龙PA66粒子料在汽车零部件上的应用,其主要是将干燥后的改性料加入到已经升温的注塑机里,通过设定注塑机不同段的注射压力、速度、注射时间及注射胶量,同时设定好最后的保压压力及保压速度已达到最佳的注塑工艺,得到最终合格产品。用本发明的改性的尼龙PA66粒子料注塑成型的用于汽车的塑料连接器,具有冲击强度高,韧性好,阻燃性好等特点,同时注塑工艺稳定,产品质量稳定,合格率高,提高了生产效率,降低了生产成本。

标签:
复合材料
安徽 - 芜湖 来源:中冶有色网 2023-03-18
复合材料高效自动成型装置及方法

本发明公开了一种复合材料高效自动成型装置,包括安装架,模具上模和两个模具下模,在安装架上设置有校位压模机构,在校位压模机构的压模方向上设置有驱动轨道;驱动轨道用于带动两个模具下模周期性交替移动至校位压模机构的正下方,校位压模机构用于将模具上模下压至模具下模以完成合膜动作,本发明通过采用一个模具上模和两个模具下模,实现交错进行材料成型的动作,以使材料成型效率更高,其实施时,驱动轨道会周期性往复驱动两个模具下模运动至模具上模正下方,此时校位压模机构会推动模具上模下压并对模具下模的位置进行校正以确定模具下模位于模具上模的正下方,整个操作过程中能极大的节省成本同时还可提高装置成型材料的效率。

标签:
复合材料
安徽 - 芜湖 来源:中冶有色网 2023-03-18
多孔四氧化三钴/碳化微胶囊复合材料及其制备方法和应用

本发明提供了一种多孔四氧化三钴/碳化微胶囊复合材料及其制备方法和应用,将2‑甲基咪唑和六水合硝酸钴分别溶解在甲醇中制得ZIF‑67,煅烧后得到四氧化三钴,再分散在聚乙烯醇溶液中得到内相液体A;将2‑羟基‑2‑甲基苯丙酮与三甲醇丙烷乙氧酯三丙烯酸酯分散于无水乙醇中,混合溶液B;再将内相液体A、混合溶液B、聚乙烯醇水溶液分别作为内相、外相、驱动相,利用液体驱动同轴流聚焦技术得到微胶囊,最后碳化,得到四氧化三钴/碳化微胶囊。与现有技术相比,液体驱动同轴流聚焦技术制备的微胶囊可以有效的控制尺寸,碳化后的微胶囊外壳导电性好,比表面面积较大。这种微胶囊结构有利于电子传输和提高离子电导率。

标签:
复合材料
安徽 - 芜湖 来源:中冶有色网 2023-03-18
用于振动抛光复合材料层压零件的装置

本发明公开了用于振动抛光复合材料层压零件的装置,其结构包括搅拌顶盖、高耐磨层环、固定支架座、新型搅拌装置、搅拌研磨箱体,基于现有技术而言,本发明采用槽轴的特性,能够在不需要人工控制的情况下实现对于搅拌转轴的不同方向的规律旋转,从而实现对于研磨抛光零件的全面性,只需要启动电动机装置带动滑动机构以及旋转机构,能够使升降机构作用与带动结构上,从而主转轴开始对其箱体内的研磨材料以及零件进行搅拌,而经过振动结构能够经过主转轴的带动下实现箱体振动且提供缓冲力,能够更好地研磨零件提高装置运行的稳定性,不需要人工控制就能够改变搅拌方向使抛光效果提高,减少了工作时间,提高了效率。

标签:
复合材料
安徽 - 芜湖 来源:中冶有色网 2023-03-18
碳纤维增强复合材料的电降解回收方法

本发明公开了一种碳纤维增强复合材料的电降解回收方法,本发明采用电催化氧化使得热固性树脂氧化成低分子量热塑性聚合物并快速溶解于混合溶剂中,从而分离回收碳纤维,实现资源再利用。混合溶剂的导电性和高分子聚合物溶解性能好,可明显提高纤维增强材料的催化氧化效率,纤维回收率可达95%以上,热固性交联环氧树脂电催化氧化降解为低分子量热塑性聚合物后溶于混合溶剂中也可分离回收再利用;电催化氧化后,水和有机溶剂均可以直接从电降解液中蒸馏回收,将减压蒸馏回收的电降解液和水洗液混合后作为电降解液可再次使用。本发明的电降解回收方法具有降解条件温和、工艺操作简单、无腐蚀、三废量少,环境优化等优点。

标签:
复合材料
安徽 - 芜湖 来源:中冶有色网 2023-03-18
复合材料汽车后地板及其制作方法

本发明公开了一种复合材料汽车后地板及其制作方法,汽车后地板材质为:依次层叠设置的树脂层(102)、玻璃纤维层(103)、碳纤维层(104)、玻璃纤维层(103)和树脂层(102),其中,所述玻璃纤维层(103)和碳纤维层(104)浸润树脂,在满足刚度/强度/载荷的情况下,可以实现40%~60%的轻量化效果。

标签:
复合材料
安徽 - 芜湖 来源:中冶有色网 2023-03-18
阻燃保温的玻化微珠‑聚氨酯泡沫复合材料及其制备方法

本发明公开了一种阻燃保温的玻化微珠‑聚氨酯泡沫复合材料,及其制备工艺,其特征在于,以小麦秸秆、玻化微珠、聚乙烯醇、石蜡、乳化剂OP‑10、丙烯酸单体、K2S2O8溶液、聚磷酸铵、三聚氰胺甲醛树脂、膨胀石墨、聚醚、辛酸亚锡、硅油、PAPI等为原料。用聚乙烯醇(PVA)对石蜡进行改性,PVA均匀的分布在石蜡中,形成立体的交联网状隔水膜,达到防水效果;以丙烯酸单体为改性介体,以K2S2O8为引发剂,以OP‑10为乳化剂,复合制备石蜡‑丙烯酸‑聚乙烯醇防水剂。用三聚氰胺甲醛树脂对聚磷酸铵进行包覆,得到不完全包覆的微胶囊化聚磷酸铵,将其与玻化微珠、膨胀石墨混合球磨,制得复合阻燃剂。

标签:
复合材料
安徽 - 芜湖 来源:中冶有色网 2023-03-18
硅灰石粉改性环氧树脂复合材料及其制作方法

本发明公开了一种硅灰石粉改性环氧树脂复合材料,其特征在于,由下列重量份的原料制成:E-51环氧树脂55-65、硅灰石粉2-3、乙二醇二缩水甘油醚20-25、马来酸酐9-12、正丁醇10-13、氧化铍1-2、乙氧基化三羟甲基丙烷三丙烯酸酯15-18、单硬脂酸甘油酯8-10、二月桂酸二丁基锡1.2-2.3、聚偏二氯乙烯2.3-4.3、间苯二甲胺4-7、助剂3-6;本发明采用硅灰石粉填料并对其进行表面处理,同时添加其他有效成分加以混合后添加到原料中,制得的环氧树脂固化后可以钝化裂纹,并能提高环氧树脂韧性、玻璃化转变温度及抗冲击性能。

标签:
复合材料
安徽 - 芜湖 来源:中冶有色网 2023-03-18
聚四氟乙烯/硫酸钡复合材料及其制备方法

本发明公开了一种聚四氟乙烯/硫酸钡复合材料及其制备方法,其特征在于,不仅使用钢纤维、碳纤维来提高聚四氟乙烯的抗拉伸强度、摩擦性能,同时利用改进过的熔融法将细的填料如SiO2、Al粉等在高温下烧结到聚四氟乙烯表面,改善了聚四氟乙烯的表面烧结状态,使胶接强度得到明显提高。此外,还应用芥酸酰胺、硫酸钡改善了材料的光泽和生物相容性,为材料在医学领域的应用奠定了基础。

标签:
复合材料
安徽 - 芜湖 来源:中冶有色网 2023-03-18
阻燃纳米复合材料
阻燃纳米复合材料 788     
 0

本发明提供一种阻燃纳米复合材料,由以下重量份数的原料制成:树脂40?50份、阻燃剂15?20份、抗氧剂1?3份、增韧剂1?3份、陶瓷纤维10?20份、硫酸钡20?30份、纳米二氧化钛5?8份、纳米二氧化硅5?8份、玻璃纤维5?8份和去离子水适量。本发明通过对现有阻燃剂及其辅助材料进行合理配置,通过有机硅阻燃剂生成裂解炭层和提高炭层的抗氧化性实现其阻燃功效。

标签:
复合材料
安徽 - 芜湖 来源:中冶有色网 2023-03-18
基于ZIF-67衍生的空心双金属MOF/氮掺杂碳复合材料电催化剂制备方法及其应用

本发明公开了一种基于ZIF‑67衍生的空心双金属MOF/氮掺杂碳复合材料电催化剂制备方法及其应用,制备方法包括以下步骤:通过钴盐、金属盐和二甲基咪唑反应得到CoM‑ZIF‑67;将CoM‑ZIF‑67和单宁酸反应得到CoM‑ZIF‑67‑TA;将CoM‑ZIF‑67‑TA在保护气氛下煅烧碳化得到目的产物;其为三维正十二面体构型,内部是空心的结构,其具有优异的OER和HER电催化性能,在电解水中有良好的应用,同时,本发明提供的制作方法非常简单、成本低且反应条件温和。

标签:
复合材料
安徽 - 芜湖 来源:中冶有色网 2023-03-18
无污染清洁型环氧树脂复合材料及其制作方法

本发明公开了一种无污染清洁型环氧树脂复合材料,其特征在于,由下列重量份的原料制成:环氧树脂45-55、凹凸棒土1-2、纳米碳化硅2-3、三乙醇胺4-7、异氰脲酸三缩水甘油酯4-6、三聚氰酸三烯丙酯6-8、环烷酸钴0.6-1.2、聚酯硅油7-9、马来酰胺酸8-10、巯基丁二酸5-8、二乙二醇乙醚10-14、邻苯二甲酸酐5.6-8.9、助剂3-6;本发明采用凹凸棒土、纳米碳化硅作为填料并对其进行表面处理,同时添加其他有效成分加以混合后添加到原料中,制得的环氧树脂防腐抗老化、硬度高、防辐射,利用本发明的生产工艺和配方制得的环氧树脂在液晶中的溶解性小且可防止液晶污染。

标签:
复合材料
安徽 - 芜湖 来源:中冶有色网 2023-03-18
刚性碳纤维复合材料
刚性碳纤维复合材料 855     
 0

本发明提供一种刚性碳纤维复合材料,材料成分包括基材、碳纤维以及助剂,所述基材成分为聚氯丙烯,所述碳纤维为直径在1-30nm的纳米级石墨颗粒,所述助剂成分包括增塑剂、增韧剂、热稳定剂、增强剂及发泡剂,本发明的有益效果是:本材料既具备一般碳纤维材料的比重小、刚性好、强度高、抗疲劳等优良性能,而且在较大的温度跨度范围内热膨胀系数较小,产品在低温下不变形,高温下不易裂化,具有良好的化学稳定性,是一种有推广价值的新材料。

标签:
复合材料
安徽 - 芜湖 来源:中冶有色网 2023-03-18
团状模塑料复合材料及其制备方法

本发明涉及一种团状模塑料复合材料,由按重量份计的如下组分混合而成:不饱和树脂70~90份;低收缩添加剂10~30份;聚乙烯醇纤维2~10份;填料60~240份;增稠剂0.8~2份;引发剂1~2份;内脱模剂3~6份;颜料0.1~5份;色片5~20份;其中,所述不饱和树脂为邻苯型不饱和树脂或间苯型不饱和树脂。本发明通过用聚乙烯醇纤维代替玻璃纤维,使得产品刚性在满足要求的同时,产品韧性大幅度上升;并且具有耐污染性能好,切割打磨过程中不易磨损刀具,打磨过程中灰尘少,打磨后耐污染性好,有利于工业化生产。

标签:
复合材料
安徽 - 芜湖 来源:中冶有色网 2023-03-18
玻璃纤维增强的阻燃耐热聚乳酸复合材料的制备方法

本发明涉及一种玻璃纤维增强的阻燃耐热聚乳酸复合材料的制备方法,能够有效实现利用玻璃纤维进行聚乳酸的增强耐热改性。技术方案:将玻璃纤维用硅烷偶联剂进行改性处理;将聚乳酸和阻燃剂进行真空干燥;将干燥后的聚乳酸和阻燃剂与增塑剂、增容剂、抗氧剂混合均匀后,在双螺杆挤出机中进行反应,得到阻燃聚乳酸;将前述阻燃聚乳酸与前述改性玻璃纤维加入到双螺杆挤出机中进行复合加工。

标签:
复合材料
安徽 - 芜湖 来源:中冶有色网 2023-03-18
多元复合材料汽车吸能盒

本实用新型公开了一种多元复合材料汽车吸能盒,包括第一级吸能发泡结构和第二级吸能结构;第一级吸能发泡结构包括具有弹性恢复力的弹性体,以及设置在弹性体内部的弹性材料;第二级吸能结构包括塑料软球,以及全包裹在塑料软球外表面的碳纤维预浸布,塑料软球和碳纤维预浸布共同组成碳纤维内胆,弹性材料完全包围在碳纤维预浸布的外表面;本实用新型利用第一级吸能发泡结构的弹性恢复力以及其内部弹性材料优良的弹性恢复力和可塑性先进行一次吸能,当碰撞能量导致弹性材料变形到极限后,碰撞能量传递至碳纤维内胆中,待碳纤维内胆的能量积聚到极限时发生爆破,实现对撞击能量的第二次吸收,有效的提高汽车的安全性,且增加的吸能效果≥8%。

标签:
复合材料
安徽 - 芜湖 来源:中冶有色网 2023-03-18
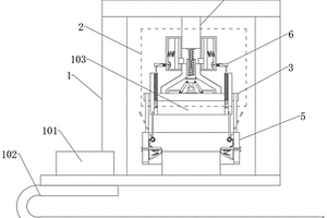
用于复合材料试片加工快速装夹吸附装置

本实用新型涉及一种用于复合材料试片加工快速装夹吸附装置,包括设备工作台、承载装置、两个连接在承载装置的上左和上右的第一固定装置、两个连接在承载装置的左侧和右侧的第二固定装置,承载装置上设有吸附装置;承载装置包括矩形板,矩形板上设有凹槽、限位槽、容屑槽;第一固定装置包括T型压板A、下压板A、支撑螺栓A、限位螺栓A;第二固定装置包括固定块、固定螺栓、方型压板、支撑螺栓B和限位螺栓B、方形限位销、T型压板B、下压板B、支撑螺栓C、支撑垫片。本实用新型解决了不易拆卸的问题,大大减少装夹时间和加工准备时间;可吸附切削过程中的切屑,降低对设备和人身的伤害,提高加工效率高。

标签:
复合材料
安徽 - 芜湖 来源:中冶有色网 2023-03-18
热固性树脂复合材料的阻燃耐高温橡套软电缆

本发明公开了一种热固性树脂复合材料的阻燃耐高温橡套软电缆,属于电缆领域,包括动力芯导体、动力芯绝缘、金属编织屏蔽、内护套和外护套,所述动力芯导体外表面由内到外依次包覆有动力芯绝缘和金属编织屏蔽,所述内护套和外护套之间设有阻燃耐高温层,所述阻燃耐高温层内侧呈环形设有弧形吸水棉,所述弧形吸水棉上设有集水架,所述集水架任意一个相邻之间均设有支撑件,所述支撑件外侧嵌有柔性胶条。本发明通过设置集水架、疏水槽、弧形吸水棉和支撑件,能够有效避免了水份渗入电缆的缆芯,而导致电缆的使用寿命降低的情况发生,能够起到提高电缆防水性能的效果。

标签:
复合材料
安徽 - 芜湖 来源:中冶有色网 2023-03-18
3D打印用的ABS复合材料及其制备方法

本发明公开了一种3D打印用的ABS复合材料及其制备方法,涉及3D打印技术领域,由以下重量份的原料制成:ABS树脂70‑80份、马来酸酐接枝增韧剂7‑15份、腰果酚10‑20份、润滑剂1‑3份、色粉1‑3份、抗氧剂0.2‑1份,本发明采用马来酸酐接枝增韧剂和腰果酚配合作用对ABS树脂进行增强增韧,还能改善ABS的加工流动性,将这三种材料密炼后挤出造粒,使得混合均匀,再与润滑剂、色粉、抗氧剂其它成分的合理配比,合理优化工艺中的温度,进行挤出拉丝,制得的3D打印耗材产品性能好,增韧效果明显。

标签:
复合材料
安徽 - 芜湖 来源:中冶有色网 2023-03-18
竹纤维增强型塑钢型材用复合材料

本发明公开了一种竹纤维增强型塑钢型材用复合材料,包括如下质量份数的组分:纳米结晶纤维50‑70份,尼龙纤维5‑10份,竹纤维3‑5份,碳纤维3‑8份,碳酸钙晶须20‑35份、纳米铝粉10‑15份,助剂3‑5份,六甲基磷酰三胺 5‑10份,受阻胺类光稳定剂3‑6份,脂肪醇聚氧乙烯醚2‑5份,硬脂酸钙20‑30份,硬脂酸20‑35 份、HDPE10‑20份,偏苯三酸三辛酯10‑20份,癸二酸 5‑8份等。本发明塑钢型材添加了竹纤维等纤维材料,增加了型材的抗弯强度;通过添加纳米结晶纤维素,增加了型材的刚度;通过使用本发明的增强助剂,能够增加塑钢型材的强度、韧性和耐老化性能。

标签:
复合材料
安徽 - 芜湖 来源:中冶有色网 2023-03-18
汽车复合材料后备箱盖的制备方法

本发明涉及一种汽车复合材料后备箱盖的制备方法,步骤1:成型汽车后备箱盖的内板、外板,内板开有发泡入胶孔、发泡出胶孔;步骤2:以内板、外板的表面为阳模分别翻制成内板玻璃钢模具、外板玻璃钢模具,对应内板发泡入胶孔、发泡出胶孔位置,内板玻璃钢模具相应开有发泡入胶口、发泡出胶口;步骤3:将内板、外板分别贴合放入内板玻璃钢模具、外板玻璃钢模具,内板、外板的边缘涂抹结构胶;将内板玻璃钢模具与外板玻璃钢模具合模,内板与外板胶接,形成密封腔室;步骤4:通过内板玻璃钢模具上的发泡入胶口,向密封腔室内注入发泡材料。

标签:
复合材料
安徽 - 芜湖 来源:中冶有色网 2023-03-18
高热稳定性环氧树脂复合材料及其制作方法

本发明公开了一种高热稳定性环氧树脂复合材料,其特征在于,由下列重量份的原料制成:E20环氧树脂48-54、葡萄藤1-3、尾矿1-2、氯化石蜡油6-9、铝酸酯偶联剂DL-4111.2-2.5、脂肪缩水甘油醚19-23、烯丙醇5-8、琥珀酸酐7-10、N,N-二乙基苯胺2-、间苯二胺4-6、10%醋酸溶液10-15、氢氧化镁0.5-0.9、磷酸三丁酯6-8、助剂4-7;本发明制备工艺简单操作简便,原料来源简单,有效解决了现有传统环氧树脂性能单一的问题,本发明制得的环氧树脂具有耐高温、稳定性好、耐酸碱防静电等优点。

标签:
复合材料
安徽 - 芜湖 来源:中冶有色网 2023-03-18
型材用聚氯乙烯木塑复合材料颗粒料的制备方法

本发明公开了一种型材用聚氯乙烯木塑复合材料颗粒料的制备方法,包括下述步骤:首先将木粉浸泡于质量分数为8‑10%的NaOH溶液中处理。然后放入含有4‑6%甲基丙烯酸甲酯、0.2%十二烷基硫酸钠的水体系中,在通氮气条件下超声波辐照作用30分钟。取上述处理过的木粉30‑50份,与PVC树脂100份,轻钙粉20份,钙锌稳定剂2~3份,氯化聚乙烯0.8份,硬脂酸0.5份,增塑剂1.0份,ACR加工助剂2~3份混合。然后混合后的物料送入锥行双螺杆造粒机造粒,所得即为颗粒状产品。

标签:
复合材料
安徽 - 芜湖 来源:中冶有色网 2023-03-18
上一页 14 15 16 17 18 ... 39 下一页
共39页    到第

中冶有色为您提供最新的安徽芜湖有色金属复合材料技术理论与应用信息,涵盖发明专利、权利要求、说明书、技术领域、背景技术、实用新型内容及具体实施方式等有色技术内容。打造最具专业性的有色金属技术理论与应用平台!

全国热门有色金属设备推荐
展开更多 +
全国热门有色金属技术推荐
展开更多 +

 

江西省隆恩特环保设备有限公司
宣传

报名参会
更多+

报告下载

有色专家
更多+

昆明理工大学
副校长
东北大学
院长/教授
蒙纳士苏州校区
中国工程院外籍院士/校长
湖南有色金属研究院
教授级高工/原总工程师
任灵宝金源矿业股份有限公司
技术发展部经理
赤泥综合利用研究报告2025
推广

热门技术
更多+

推荐企业
更多+

福建省金龙稀土股份有限公司
宣传

发布

在线客服

公众号

电话

顶部
咨询电话:
010-88793500-807