青岛垚鑫智能科技有限公司
宣传

位置:中冶有色 >

有色技术频道 >

> 加工技术

分类:
全部
矿山技术
冶金技术
材料制备及加工技术
环境保护技术
分析检测技术
 
全部
功能材料技术
复合材料技术
新能源材料技术
合金材料技术
加工技术
地区:
全部
北京
天津
上海
重庆
河北
山西
辽宁
吉林
黑龙江
江苏
浙江
安徽
福建
江西
山东
河南
湖北
湖南
广东
海南
四川
贵州
云南
陕西
甘肃
青海
内蒙
广西
西藏
宁夏
新疆
其他
其他
展开
 
全部
广州
韶关
深圳
珠海
汕头
佛山
江门
湛江
茂名
肇庆
惠州
梅州
汕尾
河源
阳江
清远
东莞
中山
潮州
揭阳
云浮

广东广州有色金属加工技术理论与应用

免费发布技术信息>>
表面修饰锂离子电池高镍层状正极材料及其制备方法

一种橄榄石型结构LiNxPO4表面修饰锂离子电池高镍层状正极材料及其制备方法。该锂离子电池富高镍层状正极材料的化学式为:LiNiaCobM1‑a‑bO2,LiNxPO4为表面修饰层橄榄石型材料,制备方法是:先通过液相共沉淀法和高温固相烧结法制备出纯相锂离子电池高镍层状正极材料,然后利用溶胶凝胶法和低温烧结法相结合的方法将橄榄石型结构的LiNxPO4均匀地包覆和掺杂到高镍层状正极材料表面。本发明通过利用橄榄石型结构LiNxPO4对锂离子电池高镍层状正极材料进行表面修饰,可有效提高其长期循环稳定性和高温性能,制材料在循环过程中的不可逆形变,且制备方法操作简单,环境友好,适合工业生产。

标签:
加工技术
广东 - 广州 来源:中冶有色网 2023-03-18
锰基包碳纳米富锂氧化物及其制备方法与应用

本发明属于锂电池材料技术领域,公开了一种锰基包碳纳米富锂氧化物及其制备方法与应用。所述制备方法为:搅拌条件下,将PVP溶解于DMF中,然后加入摩尔比为1.26:0.54:0.13:0.13的二水合乙酸锂、四水合乙酸锰、四水合乙酸镍和四水合乙酸钴,搅拌溶解均匀,得到金属盐溶液;然后将金属盐溶液升温至60~120℃恒温处理10~24h,得凝胶状物;所得凝胶物在空气中加热至400~500℃恒温处理3~8h,自然降温后取出压片,然后在800~1000℃下烧结处理7~12h,得到产物。本发明制备方法简单,无过渡金属离子的水解团聚等问题,所得产物用于锂离子电池正极材料的电化学性能良好。

标签:
加工技术
广东 - 广州 来源:中冶有色网 2023-03-18
用于锂离子电池的含硫成膜功能电解液及制备方法与应用

本发明提供了一种用于锂离子电池的含硫成膜功能电解液及制备方法与应用。该含硫成膜功能电解液是在普通电解液中加入相当于普通电解液质量1~5%的功能添加剂得到;普通电解液由环状碳酸酯溶剂、线型碳酸酯溶剂和导电锂盐构成;功能添加剂为1,3-丙磺酸内酯或丙烯基-1,3-磺酸内酯中的一种或两种。本发明使用的功能添加剂具有较高的还原电位,在首次充电过程中能够形成一层致密、稳定的SEI膜,可以有效的抑制环状碳酸酯向石墨电极的共嵌,扩大环状碳酸酯的应用范围,有效提高电池的初始放电容量、循环寿命和高低温性能。将该含硫成膜功能电解液应用于制造锂离子电池,得到的锂离子电池具有良好的充放电性能。

标签:
加工技术
广东 - 广州 来源:中冶有色网 2023-03-18
基于神经网络的锂电池正极材料元素掺杂/包覆量的调控方法

本发明公开了一种基于神经网络的锂电池正极材料元素掺杂/包覆量的调控方法,包括以下步骤:S1、确定与锂离子电池性能直接相关的参数,利用所述相关参数建立初始数据集;S2、建立用于预测锂电池正极材料元素掺杂/包覆量的神经网络模型,利用已构建的数据集对模型进行训练集评估,得到符合预设精度的神经网络模型;S3、利用得到的神经网络模型对不同元素掺杂/包覆量的材料进行预测,得到锂离子电池的稳定性数据。本发明通过对锂离子电池高镍正极材料中元素最佳掺杂/包覆量预测,得到最佳的循环圈数,节省了测试资源,提高了测试效率。

标签:
加工技术
广东 - 广州 来源:中冶有色网 2023-03-18
电解液、负极界面膜的构筑方法及锂离子电池

本发明涉及一种电解液、负极界面膜的构筑方法及锂离子电池。所述电解液包含以下组分:亚硫酸二甲酯、有机溶剂和导电锂盐;所述有机溶剂包含碳酸乙烯酯。所述电解液能在低温下,通过至少一次充放电过程,在石墨负极表面构筑稳定的SEI膜,有效促进锂离子在低温下的传输速率,改善锂二次电池的电极/电解液界面性质,从而提高锂二次电池的低温下的电化学性能。

标签:
加工技术
广东 - 广州 来源:中冶有色网 2023-03-18
梭状铁酸锰/碳锂离子电池纳米复合负极材料及其制备方法与应用

本发明公开了一种梭状铁酸锰/碳锂离子电池纳米复合负极材料及其制备方法与应用,该纳米复合负极材料为梭状结构,由碳骨架复合二级铁酸锰纳米颗粒构成,其中铁酸锰含量为该纳米复合负极材料质量的75‑90%。该材料制备方法为:运用有机金属框架作为链接剂和碳源,与金属盐混合进行水热反应,离心洗涤后干燥获得前躯体再经过退火反应得到梭状铁酸锰/碳锂离子电池纳米复合负极材料;本发明所制备的梭状铁酸锰/碳锂离子电池纳米复合负极材料结构稳定,导电性能良好,作为锂离子电池负极材料具有优异的循环稳定性和倍率性能,且制备方法操作简单,控制方便,成本低廉,环境友好,能够适用工业化规模生产,实现锂离子电池的实际应用。

标签:
加工技术
广东 - 广州 来源:中冶有色网 2023-03-18
含铍且单相β的镁锂合金及其加工工艺

本发明公开了一种含铍且单相β的镁锂合金及其加工工艺,按重量百分比计,合金的组成为:Li:12.0‑19.0wt.%,Be:0.1‑0.3wt.%,Ni:0.2‑0.4wt.%,Cu:1.0‑3.0wt.%,Ge:0.2‑0.4wt.%,Hf:0.1‑0.2wt.%,Sb:0.2‑0.4wt.%,Al:0.6‑0.8wt.%,余量为镁。通过优选多元微合金化元素配方和随后的进一步优化熔炼工艺和热处理参数,实现镁锂合金中高温相和强化相的完美匹配,最终获得一种多元微合金化新型高强耐热镁锂合金材料。室温下该镁锂合金的性能:屈服强度为118‑142MPa,抗拉强度为175‑194MPa,延伸率为7‑16%。100度时,该镁锂合金的性能:屈服强度为115‑136MPa,抗拉强度为160‑174MPa,延伸率为17‑20%。该合金冶炼加工方法简单,生产成本比较低,便于工业化大规模应用。

标签:
加工技术
广东 - 广州 来源:中冶有色网 2023-03-18
高导热阻燃Al‑Li‑Fe‑Se铝锂合金

本发明公开了一种在700‑800度之间熔炼的高热导阻燃Al‑Li‑Fe‑Se铝锂合金及其加工工艺。按重量百分比计,合金的化学成分为:Li:10.0‑18.0wt.%,Fe:1.0‑4.0wt.%,Se:0.5‑1.5wt.%,Sr:2.0‑6.0wt.%,Ca:1.0‑3.0wt.%,Ag:1.0‑2.0wt.%,Pd:0.1‑0.5wt.%,B:0.5‑2.0wt.%,S:0.5‑1.0wt.%,余量为铝。本专利针对目前高温下铝锂合金在熔炼时需要进行保护熔炼的现状提供了一种新颖的解决方案。通过优选的合金化办法,不仅可以大大降低合金元素使用量的缺点,还可以获得非常好的阻燃效果。在阻燃元素含量明显降低的同时,合金燃点却大幅上升。所得合金表面氧化膜都有非常好的塑性和粘度,能够完整地铺展和覆盖住合金表面,有效阻挡氧气侵入合金液内。在保证常见铝锂合金力学性能的同时,具有传统铝锂合金不具备的高导热性能:传热系数为120‑140W/m.K,传统铝锂合金为85W/m.K左右。

标签:
加工技术
广东 - 广州 来源:中冶有色网 2023-03-18
基于神经网络和UKF的锂电池组SOC预测方法

本发明公开了一种基于神经网络和UKF的锂电池组SOC预测方法,包括:S1、采集电动汽车锂电池组的历史充放电数据以及对应的SOC数据;S2、建立BP神经网络;S3、对电动汽车锂电池组的历史充放电数据以及对应的SOC数据进行归一化处理;S4、对建立的BP神经网络进行训练;S5、获取预设时间内的电动汽车锂电池组的充放电数据作为BP神经网络的输入,采用训练后的BP神经网络对锂电池组的SOC数据进行预测;S6、采用UKF滤波算法对BP神经网络预测获得的SOC数据进行滤波处理后获得最后的预测结果。本发明可以准确地获得SOC的在线预测值,而且预测精度高、误差小,预测成本低,可广泛应用于电动汽车的控制行业中。

标签:
加工技术
广东 - 广州 来源:中冶有色网 2023-03-18
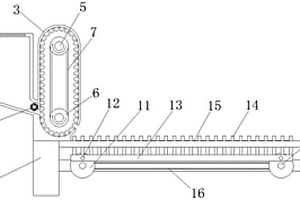
锂电池生产用传送装置
锂电池生产用传送装置 1092     
 0

本实用新型涉及锂电池生产技术领域,尤其涉及一种锂电池生产用传送装置,解决了现有锂电池生产缺少结构简单,操作方便,制作成本低传送装置的缺点,包括装置底座,所述装置底座的顶部一侧安装有分料桶,所述分料桶的一侧安装有加料箱,分料桶的内部通过轴承连接有两个第一轮轴,所述第一轮轴的外侧套接有皮带轮,所述皮带轮的外侧绕设有分料皮带,装置底座的底部内侧设有横架,通过第一电机带动第二轮轴转动,在第二轮轴的一端套接转盘,在转盘的表面通过转轴连接连轴,在连轴的外侧套接支板,支板通过转盘顺时针转动,从而带动推板在装置底座的顶部伸缩并向一侧推动,带动锂电池进行逐个等距输送。

标签:
加工技术
广东 - 广州 来源:中冶有色网 2023-03-18
锂电池用外壳
锂电池用外壳 732     
 0

本实用新型公开了一种锂电池用外壳,包括壳体和上盖;所述的壳体具有容置腔,在壳体的后侧壁上设有向上延伸的抵挡壁,在壳体的两相对侧壁上设有向内延伸的抵挡边,抵挡边的一侧为锂电池容置腔;在壳体的底部位于抵挡边的另一侧设有电极容置孔,在电极容置孔内设有电极片,电极片自电极容置孔向锂电池容置腔方向延伸后向上翘曲延伸,在电极片上压制有压板;在抵挡壁的内侧壁上设有卡槽,在壳体的前侧壁上设有卡口;所述的上盖包括上盖本体、设在上盖本体后侧的卡置部、设在上盖本体底部的卡扣和设在上盖本体底部的压制部;卡置部卡置到卡槽内,卡扣与卡口配合,压制部压制在压板上。该结构能更好的实现对锂电池的定位,让电连接性能好。

标签:
加工技术
广东 - 广州 来源:中冶有色网 2023-03-18
薄型锂离子电池
薄型锂离子电池 1177     
 0

本实用新型提供的一种薄型锂离子电池属于二次电池领域。一种薄型锂离子电池包括正极片,负极片,电解质、隔膜、极耳胶和包装膜组成,其特征是正极片包括正极集流体,正极膏,正极极耳组成,正极集流体采用钛箔或钛合金箔或铬箔,正极膏黏结在正极集流体上,正极集流体直接引伸出正极极耳,负极片包括负极集流体,负极膏,负极极耳组成,负极集流体采用不锈钢箔,负极膏黏结在负极集流体上,负极集流体直接引出负极极耳。采用钛箔做正极集流体,其抗氧化能力强,所做薄型锂离子电池在高电压下自放电小,储存和使用稳定可靠,使用寿命长;箔材熔点高,强度大,可以减薄箔材厚度,直接从集流体引出极耳,热封时不断裂,可以做出更薄的薄型锂离子电池。

标签:
加工技术
广东 - 广州 来源:中冶有色网 2023-03-18
新型锂电池组
新型锂电池组 1091     
 0

本实用新型公开了一种新型锂电池组,包括外壳,所述锂电池组由若干电压相同的单体锂电池通过串联和并联形成,并设于所述外壳内,所述外壳兼具有自行车受力大梁结构,所述锂电池组由至少4个锂电池模块并联组成,所述锂电池模块由至少10个单体锂电池串联组成,所述单体锂电池通过六角蜂窝排列方式排列成锂电池组。其整体强度高,安全性好,密度大,外观美观。

标签:
加工技术
广东 - 广州 来源:中冶有色网 2023-03-18
箱体式的锂电池散热系统

本实用新型公开了一种箱体式的锂电池散热系统,涉及锂电池技术领域。该实用新型包括锂电池本体,锂电池本体外侧固定有防护壳,防护壳一侧固定有散热器,散热器包括调节壳,调节壳两侧均开有调节孔,调节孔内部贯穿有调节杆,调节杆一端固定有把手,调节杆远离把手一端固定有活动块,活动块一侧固定有连接杆,连接杆一端固定有调节板,两调节板之间固定有伸缩杆,伸缩杆外侧套接有拉簧,调节板外侧固定有活动杆,活动杆一端固定有加固板。本实用新型通过散热器的作用,该装置可以灵活的对电机进行固定或者安装,在对锂电池本体进行进行散热的同时,也可以及时的对电机进行检查和维修,以此保障该装置的散热效果。

标签:
加工技术
广东 - 广州 来源:中冶有色网 2023-03-18
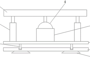
具有减震功能的锂电池销售架

本实用新型涉及锂电池销售技术领域,尤其涉及一种具有减震功能的锂电池销售架,包括安装板,所述安装板的顶端固定安装有固定盒,安装板的顶端还固定安装有分设于固定盒两侧的缓冲装置,缓冲装置包括固定管,固定管的内部套设有T形杆,T形杆延伸至固定管内部的一端连接有弹簧,弹簧的一端与固定管的底端内壁粘接,固定盒的顶端开设有半球形凹槽,且固定盒在半球形凹槽处转动连接有转动球,转动球的顶端通过连接杆固定连接有安置架,安置架的底端对称开设有两组与T形杆相适配的T形滑槽。本实用新型能够较好的在展示锂电池的同时保持锂电池的稳定性,进而使得锂电池得到保护。

标签:
加工技术
广东 - 广州 来源:中冶有色网 2023-03-18
电容型镍钴锰三元材料锂离子电池

本实用新型公开了一种电容型镍钴锰三元材料锂离子电池,包括正极片、负极片和隔膜,正极片、负极片和隔膜相互间隔卷绕或层叠设计,隔膜设置在正极片和负极片之间,正极片为电容型正极片,电容型正极片为三层复合结构,正极极片包括超级电容器正极层、锂离子电池正极层和正极集流体层,超级电容器正极层和锂离子电池正极层分别涂覆在正极集流体的阴面和阳面,超级电容器正极层为活性炭电极材料层,锂离子电池正极层为镍钴锰三元材料正极材料层,负极材料层为天然石墨、人造石墨、软碳和硬碳的混合物,软碳和硬碳质量分数为混合物的50?95%。本实用新型的电容型镍钴锰三元材料锂离子电池具有设备适用性强、性能优异、品质温蒂、加工方便、生产效率高和成本低廉的特点。

标签:
加工技术
广东 - 广州 来源:中冶有色网 2023-03-18
碳包覆的磷酸铁锰锂正极材料及其制备方法

本发明属于电池材料技术领域。本发明提供了一种碳包覆的磷酸铁锰锂正极材料的制备方法,本发明将锂源、铁源、锰源、钛源、磷源和溶剂在超声条件下混合得到混合体系A。本发明通过超声的方法将各种原料混合均匀,从而在后续获得的材料中颗粒细化,避免团聚,从而减小了锂离子的扩散距离。本发明将碳源和溶剂混合,得到混合体系B,将混合体系A和混合体系B采用静电纺丝的方式获得纤维体,经过后续的煅烧即得碳包覆的磷酸铁锰锂正极材料。在后期的煅烧过程中,可以形成均匀、致密的碳包覆层,提高材料的电子电导率,改善了正极材料性能。本发明提供的正极材料,锂离子脱嵌速度快,扩散速率高,电导率高,是一种性能优异的磷酸铁锰锂正极材料。

标签:
加工技术
广东 - 广州 来源:中冶有色网 2023-03-18
锂离子电池负极材料及其制备方法和应用

本发明公开了一种锂离子电池负极材料及其制备方法和应用,所述锂离子电池负极材料含有SnFe2O4微米粒子和二维多孔碳,所述SnFe2O4微米粒子具有立方形反尖晶石结构。本发明的锂离子电池负极材料具有分散性好、尺寸均匀、比表面积大、孔隙发达、密度小、结晶性强、结构稳定等优点,表现出稳定的充放电循环性能和倍率性能。立方形反尖晶石结构SnFe2O4微米粒子均匀的分散在二维多孔碳材料中,提高导电能力,可以有效缓冲SnFe2O4在充放电过程的体积膨胀,解决了铁基和锡基材料因体积膨胀导致的结构稳定性差和导电性问题。

标签:
加工技术
广东 - 广州 来源:中冶有色网 2023-03-18
高性能水性复配锂离子电池负极粘结剂及制备方法与应用

本发明公开了一种高性能水性复配锂离子电池负极粘结剂及制备方法与应用,所述制备方法包括以下步骤:(1)改性聚丙烯酸得甘氨酰胺改性的聚丙烯酸PAA‑GA;(2)配制锂离子电池负极粘结剂:将步骤(1)得到的PAA‑GA和水性聚氨酯混合均匀,得锂离子电池负极粘结剂。所述锂离子电池负极粘结剂可用于锂离子电池负极的制备,利用所述负极组装的锂离子电池综合电化学性能良好,具有循环容量高、循环稳定性好等特点。

标签:
加工技术
广东 - 广州 来源:中冶有色网 2023-03-18
氧化镁@镍钴铝酸锂正极材料及其制备方法与应用

本发明公开一种氧化镁@镍钴铝酸锂正极材料及其制备方法与应用。该方法是将镍盐、钴盐、铝盐和锂盐溶于去离子水,在惰性气体下搅拌,滴入碱液控制溶液pH值为9~13,制得镍钴铝酸锂正极材料前驱体,加入适量镁盐混合后超声振荡均匀混合后进行球磨,然后将所得镍钴铝酸锂正极前驱体/镁盐复合材料在450℃~900℃煅烧,得到氧化镁@镍钴铝酸锂正极材料。本方法工艺简单,采用高能球磨能使原料充分混合,在2.8V~4.3V,0.1C下,首次放电比容量为201.3mAh/g,0.2C循环100次容量保持率高达98%。解决了镍钴铝酸锂的热稳定性差、循环性能差和存储性能欠佳等问题。

标签:
加工技术
广东 - 广州 来源:中冶有色网 2023-03-18
磷酸铁锂材料的回收修复方法

本发明公开了一种磷酸铁锂材料的回收修复方法。本发明以电池生产过程中的正极边角料、不良品电池拆解后得到的正极片和/或废旧电池回收拆解后得到的正极片为原料,经过加热保温,将集流体铝箔分离后得到回收的磷酸铁锂材料,再通过添加元素源的方式修复磷酸铁锂材料。本发明方法通过添加比化学计量比更多的元素,使再合成修复反应充分进行,回收修复后的磷酸铁锂材料为纯物相磷酸铁锂材料,可以达到普通商业化磷酸铁锂材料水平。本发明包括了电池生产过程及回收阶段的磷酸铁锂,具有可实现闭式循环的优点。

标签:
加工技术
广东 - 广州 来源:中冶有色网 2023-03-18
基于蒙脱土的锂电池固态电解质及其制备方法

本发明提供了一种基于蒙脱土的锂电池固态电解质及其制备方法,所述锂电池固态电解质包括以下组分:离子液体、锂盐和蒙脱土,所述锂电池固态电解质经配制加热得到。本发明的锂电池固态电解质是具备液态电解质优点又具备固态电解质优点的新型电解质,具有与正负极接触好,离子电导率高达6×10‑4S/cm,因其界面的特点,能够有效降低电极与固态电解质之间的界面阻力,有利于提高锂离子运输速度,能量密度高,成本低,工业化可行性高,同时具备不易燃不易爆的高安全性特征,本发明的基于蒙脱土的锂电池固态电解质的制备方法简单,成本低。

标签:
加工技术
广东 - 广州 来源:中冶有色网 2023-03-18
含锂碳酸熔融盐传热蓄热介质及其制备方法与应用

本发明公开了一种含锂碳酸熔融盐传热蓄热介质及其制备方法与应用。所述含锂碳酸熔融盐传热蓄热介质包括碳酸钾、碳酸钠和添加剂,其中,所述添加剂由氯化钠和碳酸锂组成。本发明制备的含锂碳酸熔融盐传热蓄热介质能够满足太阳能高温热利用,尤其是太阳能超临界热发电、太阳能热化学反应器进行太阳能制氢和甲烷重整所要求的工作温度范围,热稳定性好,相变潜热很大,使用温度下限低,对系统的尺寸和能量的要求不高,能量利用率高,节能效果好。

标签:
加工技术
广东 - 广州 来源:中冶有色网 2023-03-18
利用撞击流设备制备锂离子电池正极材料的方法

本发明公开了一种利用撞击流设备制备锂离子电池正极材料的方法,该方法是:将锂的氢氧化物或可溶性盐、过渡金属的可溶性盐,分别溶于去离子水中制成溶液,然后将这两种溶液以2~30M/S的速度在撞击流设备中互相撞击并发生反应,得到的沉淀经洗涤干燥后移入高温炉中,在300~700℃下煅烧3~15H,冷却后得到锂离子电池正极材料。本发明方法工艺简单,可有效缩短反应的时间,提高生产效率;本发明方法得到的锂离子电池正极材料,颗粒均匀,粒径小,电化学容量高。

标签:
加工技术
广东 - 广州 来源:中冶有色网 2023-03-18
调频用锂离子电池液冷式热管控方法及储能系统

本发明公开了一种调频用锂离子电池液冷式热管控方法及储能系统,涉及锂离子电池储能系统领域,所述方法用于管控调频用锂离子电池储能系统,其通过调频曲线和电池物性,预估电池发热曲线曲线来计算出冷却需求,确定调频期间内制冷功率及泵功率。通过调整制冷功率及泵功率比例,获取最低功耗方案。所述调频用锂离子电池储能系统包括包括控制单元、储能锂电池单元、第一电动阀门、换热器、储液罐、循环水泵、制冷单元和第二电动阀门,本发明可以使储能系统在高倍率下电池控制合理的温度范围,并保证电池的一致性。同时根据调频工况,预先调节循环水泵和制冷系统,有效提升系统能量效率。

标签:
加工技术
广东 - 广州 来源:中冶有色网 2023-03-18
锂硫电池复合正极材料及其制备方法与应用

本发明属于电化学领域,公开了一种多壁碳纳米管/硫/聚苯胺复合正极材料及其制备方法与其在制备锂硫电池正极片中的应用。所述锂硫电池复合正极材料为多壁碳纳米管/硫/聚苯胺复合正极材料,具有三明治结构;本发明采用原位聚合法在多壁碳纳米管/硫复合材料上包覆导电聚苯胺,形成多壁碳纳米管/硫/聚苯胺复合正极材料;所述多壁碳纳米管/硫复合材料采用化学共沉积法制备。所述制备方法工艺简单,成本低,产物一致性、稳定性高。所得锂硫电池复合正极材料电子和离子导电性强,载硫量高,可用于制备锂电池复合正极片;所得锂电池复合正极片循环稳定性和容量保持率高。

标签:
加工技术
广东 - 广州 来源:中冶有色网 2023-03-18
密封式热管理结构及锂离子电池电芯

本实用新型涉及锂电池散热技术领域,公开了一种密封式热管理结构及锂离子电池电芯,密封式热管理结构包括相变材料层和高分子薄膜,高分子薄膜包覆在相变材料层外形成密封结构。锂离子电池电芯包括电极片和密封式热管理结构,密封式热管理结构粘结于电极片的电极集流体的空白表面上,可设置任意数目及位置。本实用新型提出了一种密封式热管理结构,其设于锂电池电芯内部进行散热工作时,相变材料不会与电池电芯及电解液接触,因而不仅能够提高电芯内结构的热传导,达到更好的散热效果,并且有效增加了热管理结构自身的工作循环次数和使用寿命,同时有效避免因相变材料物质的干扰导致的电池储能特性衰减或安全隐患,有效保障电池安全性。

标签:
加工技术
广东 - 广州 来源:中冶有色网 2023-03-18
汽车混合动力锂电池系统

本实用新型公开了一种汽车混合动力锂电池系统,包括壳体,所述壳体的左侧面开设有两组通孔,所述壳体的左侧面固定连接有密封罩,所述密封罩的内壁固定连接有滤网,所述密封罩的内壁固定连接有出风机,所述密封罩的左侧面固定连通有弯管,所述弯管的外表面固定连通有电磁阀,所述壳体的内底壁固定连接有两组支撑柱。本实用新型设计结构合理,它能够通过设有单片机和温度传感器可以通过温度传感器感应壳体内部的温度,使壳体内部温度达到一定值时,启动出风机,使出风机对外界空气抽取,并且使空气吹向电池组,加快电池组的散热,解决了锂电池散发的热量难以排出,以至于锂电池长时间处于高温状态,导致锂电池使用寿命下降的问题。

标签:
加工技术
广东 - 广州 来源:中冶有色网 2023-03-18
聚合物锂离子电池正极
聚合物锂离子电池正极 1159     
 0

一种聚合物锂离子电池正极,包括集流体,集流体的两面各涂敷有一锂钴氧层,所述锂钴氧层背对集流体的一面涂敷有一锂钴镍锰氧层。本实用新型结构紧密,加工性能好,并且极大提高电池工作时的稳定性。

标签:
加工技术
广东 - 广州 来源:中冶有色网 2023-03-18
锂电池防护装置
锂电池防护装置 706     
 0

本实用新型涉及锂电池技术领域,且公开了一种锂电池防护装置,包括锂电池本体,所述锂电池本体的底部活动连接有防护垫,所述防护垫的外壁固定连接有放置块,所述放置块的底部固定连接有减震弹簧,所述减震弹簧的底部固定连接有防护外壳,所述防护外壳的一侧固定连接有液压缸,所述液压缸的输出轴固定连接有液压杆。该锂电池防护装置,通过设置的防护垫、放置块、减震弹簧、防护外壳、连线口、液压缸、液压杆、顶块、插入块、卡扣垫和卡扣块,可以使锂电池的防护效果更好,解决了一般锂电池会因为意外的碰撞或碰到水与火等不可控因素时造成损坏的问题,从而保障了人们的经济利益,给人们带来极大便利,满足了人们的使用需求。

标签:
加工技术
广东 - 广州 来源:中冶有色网 2023-03-18
上一页 151 152 153 154 155 ... 172 下一页
共172页    到第

中冶有色为您提供最新的广东广州有色金属加工技术理论与应用信息,涵盖发明专利、权利要求、说明书、技术领域、背景技术、实用新型内容及具体实施方式等有色技术内容。打造最具专业性的有色金属技术理论与应用平台!

全国热门有色金属设备推荐
展开更多 +
全国热门有色金属技术推荐
展开更多 +

 

江西省隆恩特环保设备有限公司
宣传

报名参会
更多+

报告下载

有色专家
更多+

矿冶科技集团有限公司
党委书记 / 董事长
中南大学
中国工程院 院士
赣州江钨钨合金有限公司
工程师
中国矿业大学(北京)
教授
北京科技大学
副院长/教授
赤泥综合利用研究报告2025
推广

热门技术
更多+

推荐企业
更多+

福建省金龙稀土股份有限公司
宣传

发布

在线客服

公众号

电话

顶部
咨询电话:
010-88793500-807